Крупнейшая бесплатная информационно-справочная система онлайн доступа к полному собранию технических нормативно-правовых актов РФ. Огромная база технических нормативов (более 150 тысяч документов) и полное собрание национальных стандартов, аутентичное официальной базе Госстандарта. GOSTRF.com - это более 1 Терабайта бесплатной технической информации для всех пользователей интернета. Все электронные копии представленных здесь документов могут распространяться без каких-либо ограничений. Поощряется распространение информации с этого сайта на любых других ресурсах. Каждый человек имеет право на неограниченный доступ к этим документам! Каждый человек имеет право на знание требований, изложенных в данных нормативно-правовых актах!

  


 

ГОСТ Р 52004-2003

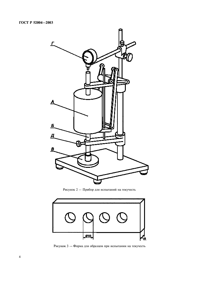
Воск зуботехнический базисный. Технические требования. Методы испытаний

Обозначение:ГОСТ Р 52004-2003
Текущий статус документа: действующий
Название документа рус.:Воск зуботехнический базисный. Технические требования. Методы испытаний
Название документа англ.:Dental baseplate wax. Technical requirements. Test methods
Дата актуализации текста:01.12.2013
Дата издания:05.03.2003
Дата введения:01.01.2004
Дата последнего изменения:22.05.2013
Дата окончания срока действия:01.01.2015
Область применения:Настоящий стандарт распространяется на зуботехнический базисный воск и устанавливает технические требования к базисному воску, состоящему из натуральных и синтетических восков, применяемых в основном для моделирования съемных, полных и частичных, пластиночных зубных протезов, а также методы испытаний
Список изменений:№0 от 01.01.2015 (рег. 01.11.2012) «Текстовое изменение; Изменено заглавие»
ГОСТ Р 52004-2003ГОСТ Р 52004-2003ГОСТ Р 52004-2003ГОСТ Р 52004-2003ГОСТ Р 52004-2003ГОСТ Р 52004-2003ГОСТ Р 52004-2003ГОСТ Р 52004-2003ГОСТ Р 52004-2003ГОСТ Р 52004-2003ГОСТ Р 52004-2003
 




ГОСТЫ, СТРОИТЕЛЬНЫЕ и ТЕХНИЧЕСКИЕ НОРМАТИВЫ.
Некоммерческая онлайн система, содержащая все Российские Госты, национальные Стандарты и нормативы.
В Системе содержится более 150000 файлов нормативно-технической документации, действующей на территории РФ.
Система предназначена для широкого круга инженерно-технических специалистов.

Рейтинг@Mail.ru Яндекс цитирования

Copyright © www.gostrf.com, 2008 - 2026