Крупнейшая бесплатная информационно-справочная система онлайн доступа к полному собранию технических нормативно-правовых актов РФ. Огромная база технических нормативов (более 150 тысяч документов) и полное собрание национальных стандартов, аутентичное официальной базе Госстандарта. GOSTRF.com - это более 1 Терабайта бесплатной технической информации для всех пользователей интернета. Все электронные копии представленных здесь документов могут распространяться без каких-либо ограничений. Поощряется распространение информации с этого сайта на любых других ресурсах. Каждый человек имеет право на неограниченный доступ к этим документам! Каждый человек имеет право на знание требований, изложенных в данных нормативно-правовых актах!

  


 

ГОСТ Р 52082-2003

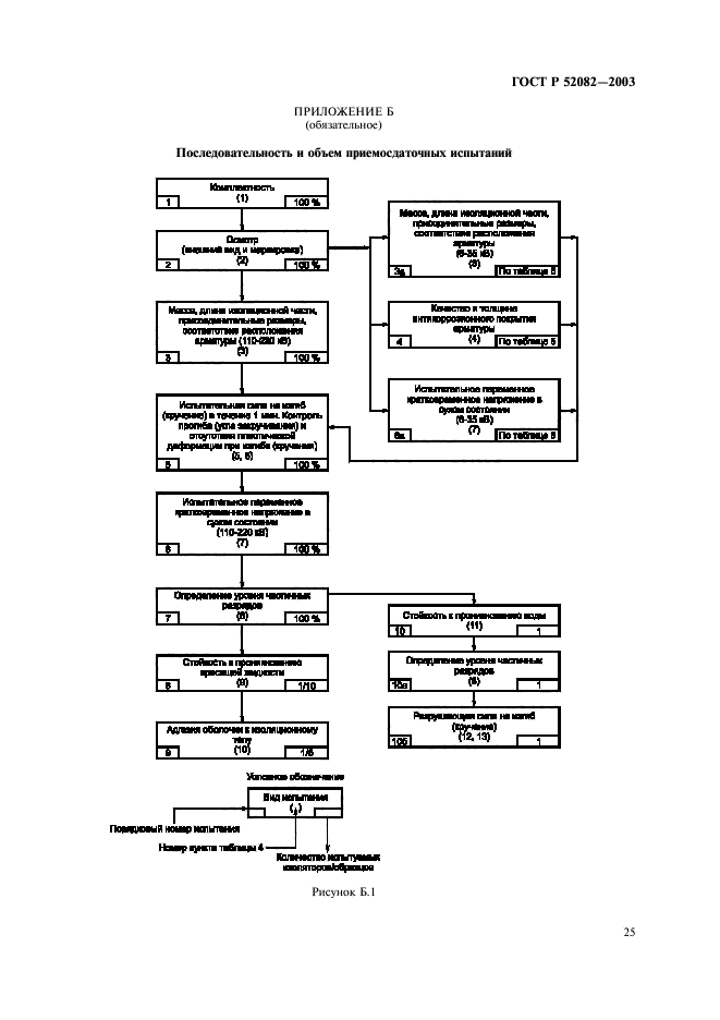
Изоляторы полимерные опорные наружной установки на напряжение 6-220 кВ. Общие технические условия

Обозначение:ГОСТ Р 52082-2003
Текущий статус документа: действующий
Название документа рус.:Изоляторы полимерные опорные наружной установки на напряжение 6-220 кВ. Общие технические условия
Название документа англ.:Support polymeric outdoor insulators for voltage 6-220 kV. General specifications
Дата актуализации текста:01.12.2013
Дата издания:22.09.2003
Дата введения:01.01.2004
Дата последнего изменения:22.05.2013
Область применения:Настоящий стандарт распространяется на опорные полимерные изоляторы наружной установки, предназначенные для изоляции и крепления токоведущих частей в электрических аппаратах и распределительных устройствах электрических станций и подстанций переменного тока напряжением 6-220 кВ частотой до 100 Гц
ГОСТ Р 52082-2003ГОСТ Р 52082-2003ГОСТ Р 52082-2003ГОСТ Р 52082-2003ГОСТ Р 52082-2003ГОСТ Р 52082-2003ГОСТ Р 52082-2003ГОСТ Р 52082-2003ГОСТ Р 52082-2003ГОСТ Р 52082-2003ГОСТ Р 52082-2003ГОСТ Р 52082-2003ГОСТ Р 52082-2003ГОСТ Р 52082-2003ГОСТ Р 52082-2003ГОСТ Р 52082-2003ГОСТ Р 52082-2003ГОСТ Р 52082-2003ГОСТ Р 52082-2003ГОСТ Р 52082-2003ГОСТ Р 52082-2003ГОСТ Р 52082-2003ГОСТ Р 52082-2003ГОСТ Р 52082-2003ГОСТ Р 52082-2003ГОСТ Р 52082-2003ГОСТ Р 52082-2003ГОСТ Р 52082-2003ГОСТ Р 52082-2003ГОСТ Р 52082-2003ГОСТ Р 52082-2003ГОСТ Р 52082-2003ГОСТ Р 52082-2003ГОСТ Р 52082-2003ГОСТ Р 52082-2003ГОСТ Р 52082-2003ГОСТ Р 52082-2003ГОСТ Р 52082-2003ГОСТ Р 52082-2003ГОСТ Р 52082-2003ГОСТ Р 52082-2003ГОСТ Р 52082-2003ГОСТ Р 52082-2003
 




ГОСТЫ, СТРОИТЕЛЬНЫЕ и ТЕХНИЧЕСКИЕ НОРМАТИВЫ.
Некоммерческая онлайн система, содержащая все Российские Госты, национальные Стандарты и нормативы.
В Системе содержится более 150000 файлов нормативно-технической документации, действующей на территории РФ.
Система предназначена для широкого круга инженерно-технических специалистов.

Рейтинг@Mail.ru Яндекс цитирования

Copyright © www.gostrf.com, 2008 - 2026