Крупнейшая бесплатная информационно-справочная система онлайн доступа к полному собранию технических нормативно-правовых актов РФ. Огромная база технических нормативов (более 150 тысяч документов) и полное собрание национальных стандартов, аутентичное официальной базе Госстандарта. GOSTRF.com - это более 1 Терабайта бесплатной технической информации для всех пользователей интернета. Все электронные копии представленных здесь документов могут распространяться без каких-либо ограничений. Поощряется распространение информации с этого сайта на любых других ресурсах. Каждый человек имеет право на неограниченный доступ к этим документам! Каждый человек имеет право на знание требований, изложенных в данных нормативно-правовых актах!

  


 

ГОСТ 8.027-2001

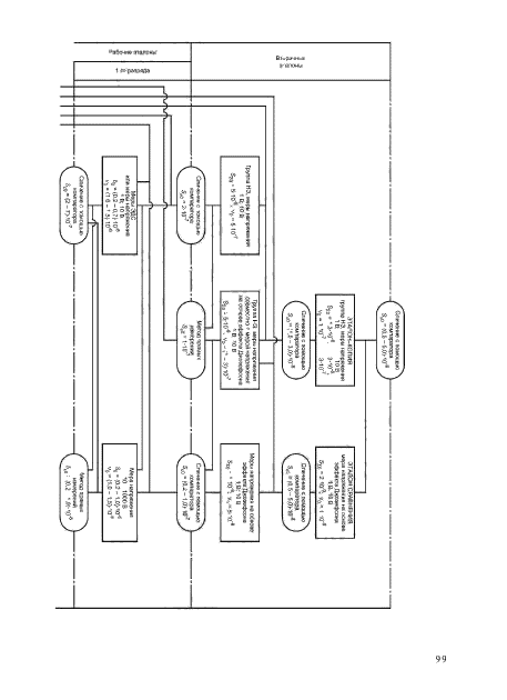
Государственная система обеспечения единства измерений. Государственная поверочная схема для средств измерений постоянного электрического напряжения и электродвижущей силы

Обозначение:ГОСТ 8.027-2001
Текущий статус документа: действующий
Название документа рус.:Государственная система обеспечения единства измерений. Государственная поверочная схема для средств измерений постоянного электрического напряжения и электродвижущей силы
Название документа англ.:State system for ensuring the uniformity of measurements. State verification schedule for measuring instruments of direct electrical vortage and electromotive force
Дата актуализации текста:01.12.2013
Дата издания:09.10.2001
Дата введения:30.06.2002
Дата последнего изменения:22.05.2013
Область применения:Настоящий стандарт распространяется на государственную поверочную схему для средств измерений постоянного электрического напряжения и электродвижущей силы в диапазоне до 1000 В и устанавливает порядок передачи размера единицы напряжения - вольта от государственного первичного эталона единицы напряжения с помощью вторичных и рабочих эталонов рабочим средствам измерений с указанием погрешностей и основных методов поверки
Список изменений:№1 от 01.01.2012 (рег. 25.11.2010) «Срок действия продлен»
Приложение №1:Изменение №1 к ГОСТ 8.027-2001
ГОСТ 8.027-2001ГОСТ 8.027-2001ГОСТ 8.027-2001ГОСТ 8.027-2001ГОСТ 8.027-2001ГОСТ 8.027-2001ГОСТ 8.027-2001ГОСТ 8.027-2001ГОСТ 8.027-2001ГОСТ 8.027-2001ГОСТ 8.027-2001ГОСТ 8.027-2001

Изменение №1 к ГОСТ 8.027-2001

Обозначение:Изменение №1 к ГОСТ 8.027-2001
Дата введения:01.01.2012


Изменение №1 к ГОСТ 8.027-2001Изменение №1 к ГОСТ 8.027-2001Изменение №1 к ГОСТ 8.027-2001
 




ГОСТЫ, СТРОИТЕЛЬНЫЕ и ТЕХНИЧЕСКИЕ НОРМАТИВЫ.
Некоммерческая онлайн система, содержащая все Российские Госты, национальные Стандарты и нормативы.
В Системе содержится более 150000 файлов нормативно-технической документации, действующей на территории РФ.
Система предназначена для широкого круга инженерно-технических специалистов.

Рейтинг@Mail.ru Яндекс цитирования

Copyright © www.gostrf.com, 2008 - 2026