Крупнейшая бесплатная информационно-справочная система онлайн доступа к полному собранию технических нормативно-правовых актов РФ. Огромная база технических нормативов (более 150 тысяч документов) и полное собрание национальных стандартов, аутентичное официальной базе Госстандарта. GOSTRF.com - это более 1 Терабайта бесплатной технической информации для всех пользователей интернета. Все электронные копии представленных здесь документов могут распространяться без каких-либо ограничений. Поощряется распространение информации с этого сайта на любых других ресурсах. Каждый человек имеет право на неограниченный доступ к этим документам! Каждый человек имеет право на знание требований, изложенных в данных нормативно-правовых актах!

  


 

ГОСТ Р 41.41-2001

Единообразные предписания, касающиеся официального утверждения мотоциклов в связи с производимым ими шумом

Обозначение:ГОСТ Р 41.41-2001
Текущий статус документа: действующий
Название документа рус.:Единообразные предписания, касающиеся официального утверждения мотоциклов в связи с производимым ими шумом
Название документа англ.:Uniform provisions concerning the approval of motor cycles with regard to noise
Дата актуализации текста:01.12.2013
Дата издания:25.10.2001
Дата введения:01.01.2002
Дата последнего изменения:22.05.2013
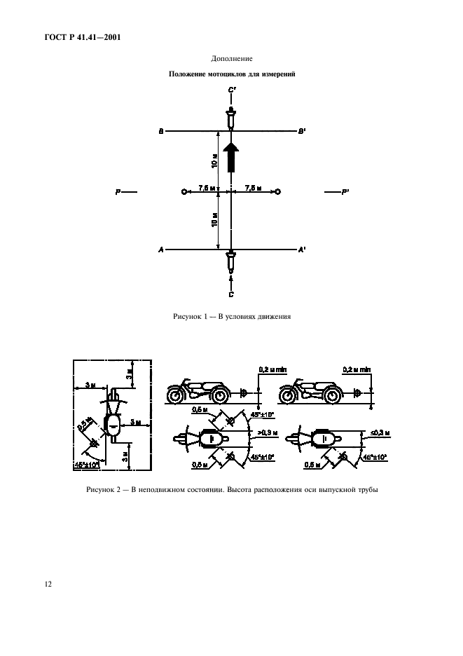
Область применения:Настоящие Правила касаются шума. производимого двухколесными мотоциклами, за исключением мотоциклов, максимальная конструктивная скорость которых не превышает 50 км/ч
Список изменений:№1 от 01.10.2002 (рег. 07.06.2002) «Текстовое изменение; Изменены ссылочные НД»
Приложение №1:Изменение №1 к ГОСТ Р 41.41-2001
ГОСТ Р 41.41-2001ГОСТ Р 41.41-2001ГОСТ Р 41.41-2001ГОСТ Р 41.41-2001ГОСТ Р 41.41-2001ГОСТ Р 41.41-2001ГОСТ Р 41.41-2001ГОСТ Р 41.41-2001ГОСТ Р 41.41-2001ГОСТ Р 41.41-2001ГОСТ Р 41.41-2001ГОСТ Р 41.41-2001ГОСТ Р 41.41-2001ГОСТ Р 41.41-2001ГОСТ Р 41.41-2001ГОСТ Р 41.41-2001ГОСТ Р 41.41-2001ГОСТ Р 41.41-2001ГОСТ Р 41.41-2001ГОСТ Р 41.41-2001ГОСТ Р 41.41-2001ГОСТ Р 41.41-2001ГОСТ Р 41.41-2001ГОСТ Р 41.41-2001ГОСТ Р 41.41-2001ГОСТ Р 41.41-2001ГОСТ Р 41.41-2001ГОСТ Р 41.41-2001ГОСТ Р 41.41-2001ГОСТ Р 41.41-2001ГОСТ Р 41.41-2001ГОСТ Р 41.41-2001ГОСТ Р 41.41-2001ГОСТ Р 41.41-2001ГОСТ Р 41.41-2001ГОСТ Р 41.41-2001ГОСТ Р 41.41-2001ГОСТ Р 41.41-2001ГОСТ Р 41.41-2001

Изменение №1 к ГОСТ Р 41.41-2001

Обозначение:Изменение №1 к ГОСТ Р 41.41-2001
Дата введения:01.10.2002


Изменение №1 к ГОСТ Р 41.41-2001Изменение №1 к ГОСТ Р 41.41-2001Изменение №1 к ГОСТ Р 41.41-2001Изменение №1 к ГОСТ Р 41.41-2001Изменение №1 к ГОСТ Р 41.41-2001Изменение №1 к ГОСТ Р 41.41-2001Изменение №1 к ГОСТ Р 41.41-2001Изменение №1 к ГОСТ Р 41.41-2001Изменение №1 к ГОСТ Р 41.41-2001Изменение №1 к ГОСТ Р 41.41-2001Изменение №1 к ГОСТ Р 41.41-2001Изменение №1 к ГОСТ Р 41.41-2001Изменение №1 к ГОСТ Р 41.41-2001Изменение №1 к ГОСТ Р 41.41-2001Изменение №1 к ГОСТ Р 41.41-2001Изменение №1 к ГОСТ Р 41.41-2001Изменение №1 к ГОСТ Р 41.41-2001Изменение №1 к ГОСТ Р 41.41-2001Изменение №1 к ГОСТ Р 41.41-2001Изменение №1 к ГОСТ Р 41.41-2001
 




ГОСТЫ, СТРОИТЕЛЬНЫЕ и ТЕХНИЧЕСКИЕ НОРМАТИВЫ.
Некоммерческая онлайн система, содержащая все Российские Госты, национальные Стандарты и нормативы.
В Системе содержится более 150000 файлов нормативно-технической документации, действующей на территории РФ.
Система предназначена для широкого круга инженерно-технических специалистов.

Рейтинг@Mail.ru Яндекс цитирования

Copyright © www.gostrf.com, 2008 - 2026