Крупнейшая бесплатная информационно-справочная система онлайн доступа к полному собранию технических нормативно-правовых актов РФ. Огромная база технических нормативов (более 150 тысяч документов) и полное собрание национальных стандартов, аутентичное официальной базе Госстандарта. GOSTRF.com - это более 1 Терабайта бесплатной технической информации для всех пользователей интернета. Все электронные копии представленных здесь документов могут распространяться без каких-либо ограничений. Поощряется распространение информации с этого сайта на любых других ресурсах. Каждый человек имеет право на неограниченный доступ к этим документам! Каждый человек имеет право на знание требований, изложенных в данных нормативно-правовых актах!

  


 

ГОСТ Р 51741-2001

Передатчики радиовещательные стационарные диапазона ОВЧ. Основные параметры, технические требования и методы измерений

Обозначение:ГОСТ Р 51741-2001
Текущий статус документа: действующий
Название документа рус.:Передатчики радиовещательные стационарные диапазона ОВЧ. Основные параметры, технические требования и методы измерений
Название документа англ.:Broadcasting transmitters, fixed Very High Frequency (VHF). Main parameters, technical requirements and methods of measurement
Дата актуализации текста:01.12.2013
Дата издания:01.08.2002
Дата введения:01.01.2002
Дата последнего изменения:22.05.2013
Переиздание:переиздание
Область применения:Настоящий стандарт распространяется на стационарные радиовещательные передатчики с частотной модуляцией, предназначенные для монофонического и стереофонического вещания в диапазоне очень высоких частот, рассчитанные на работу без постоянного обслуживающего персонала.
Стандарт устанавливает основные параметры, технические требования и методы измерений основных параметров передатчиков
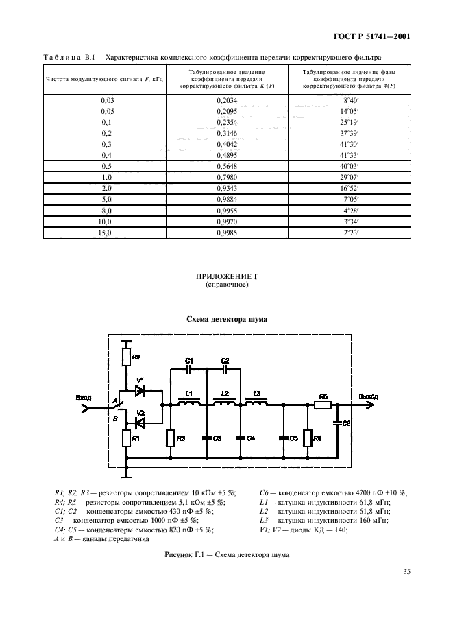
ГОСТ Р 51741-2001ГОСТ Р 51741-2001ГОСТ Р 51741-2001ГОСТ Р 51741-2001ГОСТ Р 51741-2001ГОСТ Р 51741-2001ГОСТ Р 51741-2001ГОСТ Р 51741-2001ГОСТ Р 51741-2001ГОСТ Р 51741-2001ГОСТ Р 51741-2001ГОСТ Р 51741-2001ГОСТ Р 51741-2001ГОСТ Р 51741-2001ГОСТ Р 51741-2001ГОСТ Р 51741-2001ГОСТ Р 51741-2001ГОСТ Р 51741-2001ГОСТ Р 51741-2001ГОСТ Р 51741-2001ГОСТ Р 51741-2001ГОСТ Р 51741-2001ГОСТ Р 51741-2001ГОСТ Р 51741-2001ГОСТ Р 51741-2001ГОСТ Р 51741-2001ГОСТ Р 51741-2001ГОСТ Р 51741-2001ГОСТ Р 51741-2001ГОСТ Р 51741-2001ГОСТ Р 51741-2001ГОСТ Р 51741-2001ГОСТ Р 51741-2001ГОСТ Р 51741-2001ГОСТ Р 51741-2001ГОСТ Р 51741-2001ГОСТ Р 51741-2001ГОСТ Р 51741-2001ГОСТ Р 51741-2001
 




ГОСТЫ, СТРОИТЕЛЬНЫЕ и ТЕХНИЧЕСКИЕ НОРМАТИВЫ.
Некоммерческая онлайн система, содержащая все Российские Госты, национальные Стандарты и нормативы.
В Системе содержится более 150000 файлов нормативно-технической документации, действующей на территории РФ.
Система предназначена для широкого круга инженерно-технических специалистов.

Рейтинг@Mail.ru Яндекс цитирования

Copyright © www.gostrf.com, 2008 - 2026