Крупнейшая бесплатная информационно-справочная система онлайн доступа к полному собранию технических нормативно-правовых актов РФ. Огромная база технических нормативов (более 150 тысяч документов) и полное собрание национальных стандартов, аутентичное официальной базе Госстандарта. GOSTRF.com - это более 1 Терабайта бесплатной технической информации для всех пользователей интернета. Все электронные копии представленных здесь документов могут распространяться без каких-либо ограничений. Поощряется распространение информации с этого сайта на любых других ресурсах. Каждый человек имеет право на неограниченный доступ к этим документам! Каждый человек имеет право на знание требований, изложенных в данных нормативно-правовых актах!

  


 

ГОСТ 30456-97

Металлопродукция. Прокат листовой и трубы стальные. Методы испытания на ударный изгиб

Обозначение:ГОСТ 30456-97
Текущий статус документа: действующий
Название документа рус.:Металлопродукция. Прокат листовой и трубы стальные. Методы испытания на ударный изгиб
Название документа англ.:Metal production. Rolled steel and tubes. Methods of blow bending tests
Дата актуализации текста:01.12.2013
Дата издания:01.10.2002
Дата введения:01.01.2000
Дата последнего изменения:22.05.2013
Переиздание:переиздание с поправкой
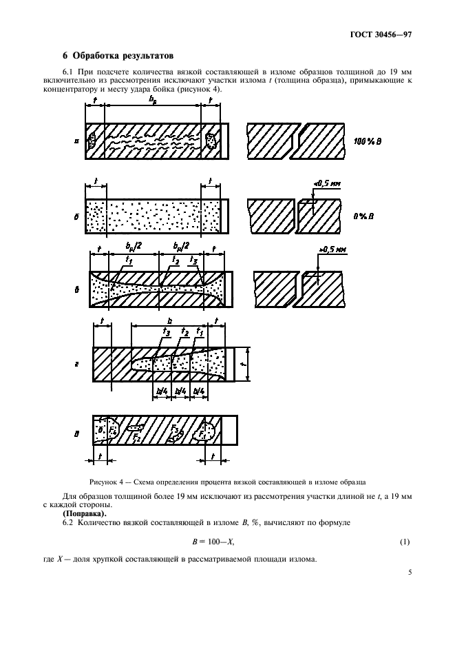
Область применения:Настоящий стандарт устанавливает методы испытания образцов из основного металла стальных труб диаметром 508 мм и более, толщиной стенки более 7,5 мм и листового проката такой же толщины для их производства
Список изменений:№0 от 15.09.2000 (рег. 15.09.2000) «Дата введения перенесена»
ГОСТ 30456-97ГОСТ 30456-97ГОСТ 30456-97ГОСТ 30456-97ГОСТ 30456-97ГОСТ 30456-97ГОСТ 30456-97ГОСТ 30456-97ГОСТ 30456-97ГОСТ 30456-97ГОСТ 30456-97
 




ГОСТЫ, СТРОИТЕЛЬНЫЕ и ТЕХНИЧЕСКИЕ НОРМАТИВЫ.
Некоммерческая онлайн система, содержащая все Российские Госты, национальные Стандарты и нормативы.
В Системе содержится более 150000 файлов нормативно-технической документации, действующей на территории РФ.
Система предназначена для широкого круга инженерно-технических специалистов.

Рейтинг@Mail.ru Яндекс цитирования

Copyright © www.gostrf.com, 2008 - 2026