Крупнейшая бесплатная информационно-справочная система онлайн доступа к полному собранию технических нормативно-правовых актов РФ. Огромная база технических нормативов (более 150 тысяч документов) и полное собрание национальных стандартов, аутентичное официальной базе Госстандарта. GOSTRF.com - это более 1 Терабайта бесплатной технической информации для всех пользователей интернета. Все электронные копии представленных здесь документов могут распространяться без каких-либо ограничений. Поощряется распространение информации с этого сайта на любых других ресурсах. Каждый человек имеет право на неограниченный доступ к этим документам! Каждый человек имеет право на знание требований, изложенных в данных нормативно-правовых актах!

  


 

ГОСТ 27218-87

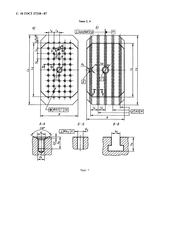
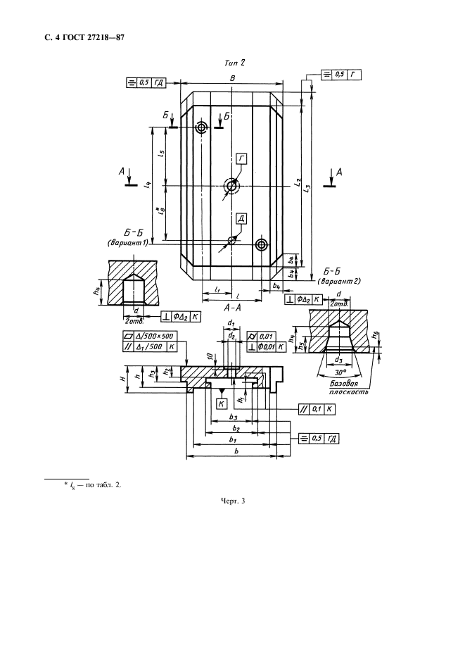
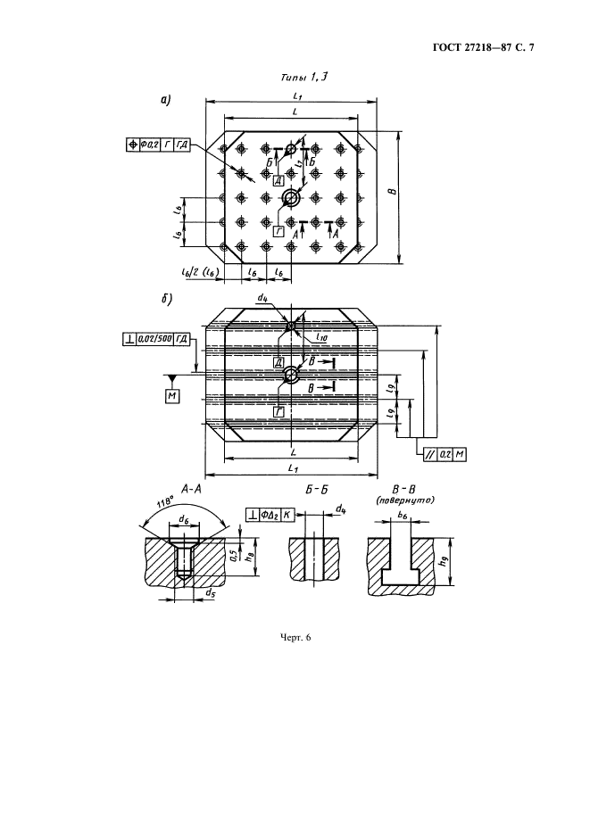
Гибкие производственные модули и многоцелевые станки. Столы-спутники для крепления обрабатываемой заготовки. Основные и присоединительные размеры

Обозначение:ГОСТ 27218-87
Текущий статус документа: действующий
Название документа рус.:Гибкие производственные модули и многоцелевые станки. Столы-спутники для крепления обрабатываемой заготовки. Основные и присоединительные размеры
Название документа англ.:Flexible manufacturing modules and machining centres. Workholding pallets. Basic and coupling dimensions
Дата актуализации текста:01.12.2013
Дата издания:01.05.2001
Дата введения:01.01.1989
Дата последнего изменения:22.05.2013
Переиздание:переиздание с изм. 1
Область применения:Настоящий стандарт распространяется на столы-спутники для крепления обрабатываемых заготовок корпусных и плоских (призматических) заготовок или технологической оснастки (ТО), применяемые на многоцелевых станках (МС), в гибких производственных модулях (ГПМ), и гибких производственных системах (ГПС), изготавливаемые для потребностей экономики страны и экспорта.
Стандарт не распространяется на столы-спутники для МС, ГПМ и ГПС, разработанные до 01.07.86
Список изменений:№1 от 01.01.1989 (рег. 18.08.1988) «Срок действия продлен»
ГОСТ 27218-87ГОСТ 27218-87ГОСТ 27218-87ГОСТ 27218-87ГОСТ 27218-87ГОСТ 27218-87ГОСТ 27218-87ГОСТ 27218-87ГОСТ 27218-87ГОСТ 27218-87ГОСТ 27218-87ГОСТ 27218-87ГОСТ 27218-87ГОСТ 27218-87ГОСТ 27218-87ГОСТ 27218-87ГОСТ 27218-87ГОСТ 27218-87ГОСТ 27218-87
 




ГОСТЫ, СТРОИТЕЛЬНЫЕ и ТЕХНИЧЕСКИЕ НОРМАТИВЫ.
Некоммерческая онлайн система, содержащая все Российские Госты, национальные Стандарты и нормативы.
В Системе содержится более 150000 файлов нормативно-технической документации, действующей на территории РФ.
Система предназначена для широкого круга инженерно-технических специалистов.

Рейтинг@Mail.ru Яндекс цитирования

Copyright © www.gostrf.com, 2008 - 2026