Крупнейшая бесплатная информационно-справочная система онлайн доступа к полному собранию технических нормативно-правовых актов РФ. Огромная база технических нормативов (более 150 тысяч документов) и полное собрание национальных стандартов, аутентичное официальной базе Госстандарта. GOSTRF.com - это более 1 Терабайта бесплатной технической информации для всех пользователей интернета. Все электронные копии представленных здесь документов могут распространяться без каких-либо ограничений. Поощряется распространение информации с этого сайта на любых других ресурсах. Каждый человек имеет право на неограниченный доступ к этим документам! Каждый человек имеет право на знание требований, изложенных в данных нормативно-правовых актах!

  


 

ГОСТ 21901-76

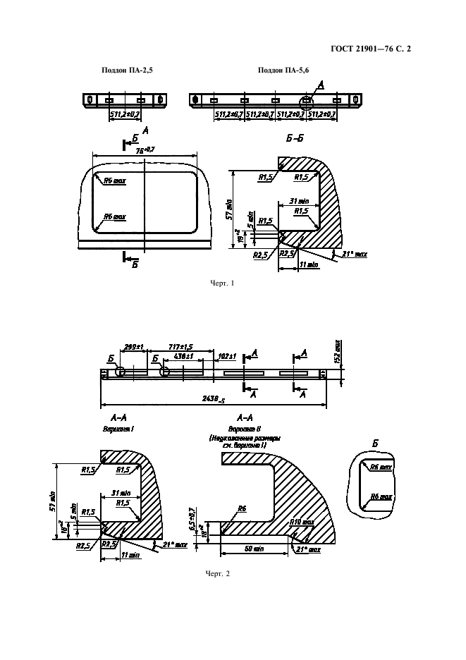
Поддоны авиационные типов ПА-5,6 и ПА-2,5. Общие технические условия

Обозначение:ГОСТ 21901-76
Текущий статус документа: действующий
Название документа рус.:Поддоны авиационные типов ПА-5,6 и ПА-2,5. Общие технические условия
Название документа англ.:Aircraft pallets type PA-5,6 and PA-2,5. General specifications
Дата актуализации текста:01.12.2013
Дата издания:01.11.2004
Дата введения:30.06.1977
Дата последнего изменения:22.05.2013
Переиздание:переиздание с изм. 1
Область применения:Настоящий стандарт распространяется на авиационные поддоны ПА-5,6 и ПА-2,5, предназначенные для перевозки штучных грузов в потребительской или облегченной таре авиационным транспортом, оборудованным по ГОСТ 21787-76 и специализированным автомобильным транспортом
Список изменений:№1 от 01.10.1982 (рег. 09.04.1982) «Срок действия продлен»
№2 от 01.07.1987 (рег. 29.12.1986) «Поправка»
ГОСТ 21901-76ГОСТ 21901-76ГОСТ 21901-76ГОСТ 21901-76ГОСТ 21901-76ГОСТ 21901-76ГОСТ 21901-76ГОСТ 21901-76
 




ГОСТЫ, СТРОИТЕЛЬНЫЕ и ТЕХНИЧЕСКИЕ НОРМАТИВЫ.
Некоммерческая онлайн система, содержащая все Российские Госты, национальные Стандарты и нормативы.
В Системе содержится более 150000 файлов нормативно-технической документации, действующей на территории РФ.
Система предназначена для широкого круга инженерно-технических специалистов.

Рейтинг@Mail.ru Яндекс цитирования

Copyright © www.gostrf.com, 2008 - 2026