Крупнейшая бесплатная информационно-справочная система онлайн доступа к полному собранию технических нормативно-правовых актов РФ. Огромная база технических нормативов (более 150 тысяч документов) и полное собрание национальных стандартов, аутентичное официальной базе Госстандарта. GOSTRF.com - это более 1 Терабайта бесплатной технической информации для всех пользователей интернета. Все электронные копии представленных здесь документов могут распространяться без каких-либо ограничений. Поощряется распространение информации с этого сайта на любых других ресурсах. Каждый человек имеет право на неограниченный доступ к этим документам! Каждый человек имеет право на знание требований, изложенных в данных нормативно-правовых актах!

  


 

ГОСТ 31251-2003

Конструкции строительные. Методы определения пожарной опасности. Стены наружные с внешней стороны

Обозначение:ГОСТ 31251-2003
Текущий статус документа: заменён
Название документа рус.:Конструкции строительные. Методы определения пожарной опасности. Стены наружные с внешней стороны
Название документа англ.:Building structures. Fire hazard determination methods. Facades of buildings
Дата актуализации текста:01.12.2013
Дата издания:07.05.2004
Дата введения:01.07.2003
Дата последнего изменения:22.05.2013
Дата окончания срока действия:01.03.2010
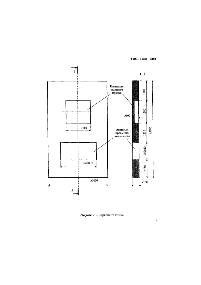
Область применения:Настоящий стандарт устанавливает классификацию по пожарной опасности:
- наружных стен зданий с внешней стороны, в том числе при наличии систем внешней теплоизоляции или отделки (шпатлевки и окраски горючими материалами общей толщиной более 0,5 мм; оклейки и облицовки);
- систем внешней теплоизоляции наружных стен зданий;
- отделки наружных стен с внешней стороны,
а также устанавливает методы определения класса их пожарной опасности.
Требования настоящего стандарта не распространяется на оценку пожарно-технических характеристик заполнения проемов в наружных стенах
ГОСТ 31251-2003ГОСТ 31251-2003ГОСТ 31251-2003ГОСТ 31251-2003ГОСТ 31251-2003ГОСТ 31251-2003ГОСТ 31251-2003ГОСТ 31251-2003ГОСТ 31251-2003ГОСТ 31251-2003ГОСТ 31251-2003ГОСТ 31251-2003ГОСТ 31251-2003ГОСТ 31251-2003ГОСТ 31251-2003ГОСТ 31251-2003ГОСТ 31251-2003ГОСТ 31251-2003ГОСТ 31251-2003ГОСТ 31251-2003ГОСТ 31251-2003ГОСТ 31251-2003ГОСТ 31251-2003ГОСТ 31251-2003ГОСТ 31251-2003ГОСТ 31251-2003ГОСТ 31251-2003ГОСТ 31251-2003ГОСТ 31251-2003ГОСТ 31251-2003ГОСТ 31251-2003ГОСТ 31251-2003ГОСТ 31251-2003
 




ГОСТЫ, СТРОИТЕЛЬНЫЕ и ТЕХНИЧЕСКИЕ НОРМАТИВЫ.
Некоммерческая онлайн система, содержащая все Российские Госты, национальные Стандарты и нормативы.
В Системе содержится более 150000 файлов нормативно-технической документации, действующей на территории РФ.
Система предназначена для широкого круга инженерно-технических специалистов.

Рейтинг@Mail.ru Яндекс цитирования

Copyright © www.gostrf.com, 2008 - 2026