Крупнейшая бесплатная информационно-справочная система онлайн доступа к полному собранию технических нормативно-правовых актов РФ. Огромная база технических нормативов (более 150 тысяч документов) и полное собрание национальных стандартов, аутентичное официальной базе Госстандарта. GOSTRF.com - это более 1 Терабайта бесплатной технической информации для всех пользователей интернета. Все электронные копии представленных здесь документов могут распространяться без каких-либо ограничений. Поощряется распространение информации с этого сайта на любых других ресурсах. Каждый человек имеет право на неограниченный доступ к этим документам! Каждый человек имеет право на знание требований, изложенных в данных нормативно-правовых актах!

  


 

ГОСТ Р МЭК 748-11-1-2001

Приборы полупроводниковые. Интегральные схемы. Часть 11. Раздел 1. Внутренний визуальный контроль полупроводниковых интегральных схем, за исключением гибридных схем

Обозначение:ГОСТ Р МЭК 748-11-1-2001
Текущий статус документа: действующий
Название документа рус.:Приборы полупроводниковые. Интегральные схемы. Часть 11. Раздел 1. Внутренний визуальный контроль полупроводниковых интегральных схем, за исключением гибридных схем
Название документа англ.:Semiconductor devices integrated circuits. Part 11. Section 1. Internal visual examination for semiconductor integrated circuits excluding hybrid circuits
Дата актуализации текста:01.12.2013
Дата издания:27.04.2001
Дата введения:01.07.2002
Дата последнего изменения:22.05.2013
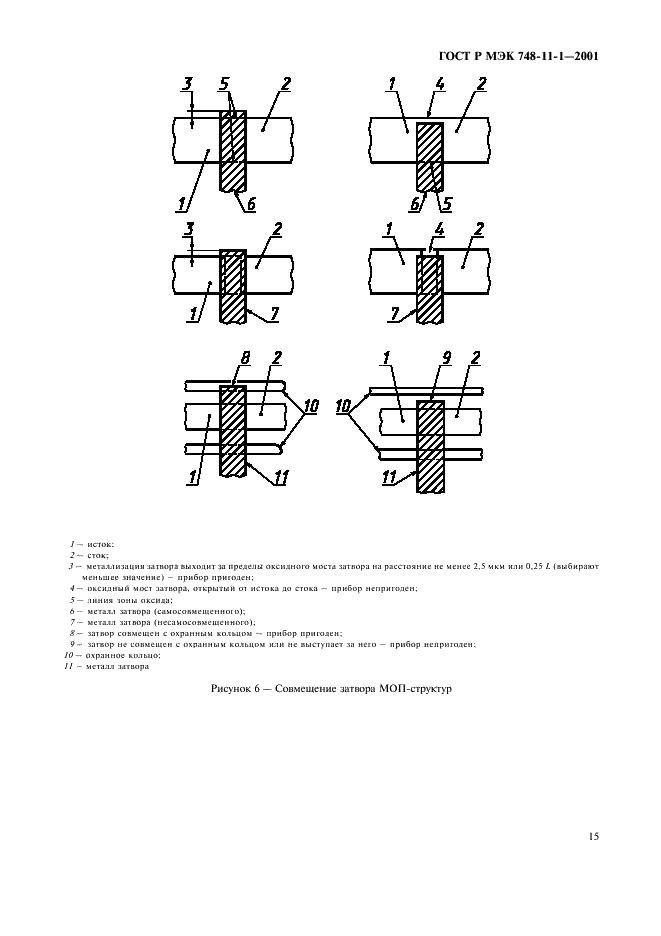
Область применения:Настоящий стандарт устанавливает испытания, которые проводят с целью проверки внутренних материалов, изготовления и сборки интегральных схем на соответствие требованиям применяемых технических условий на изделия конкретных типов
ГОСТ Р МЭК 748-11-1-2001ГОСТ Р МЭК 748-11-1-2001ГОСТ Р МЭК 748-11-1-2001ГОСТ Р МЭК 748-11-1-2001ГОСТ Р МЭК 748-11-1-2001ГОСТ Р МЭК 748-11-1-2001ГОСТ Р МЭК 748-11-1-2001ГОСТ Р МЭК 748-11-1-2001ГОСТ Р МЭК 748-11-1-2001ГОСТ Р МЭК 748-11-1-2001ГОСТ Р МЭК 748-11-1-2001ГОСТ Р МЭК 748-11-1-2001ГОСТ Р МЭК 748-11-1-2001ГОСТ Р МЭК 748-11-1-2001ГОСТ Р МЭК 748-11-1-2001ГОСТ Р МЭК 748-11-1-2001ГОСТ Р МЭК 748-11-1-2001ГОСТ Р МЭК 748-11-1-2001ГОСТ Р МЭК 748-11-1-2001ГОСТ Р МЭК 748-11-1-2001ГОСТ Р МЭК 748-11-1-2001ГОСТ Р МЭК 748-11-1-2001ГОСТ Р МЭК 748-11-1-2001ГОСТ Р МЭК 748-11-1-2001ГОСТ Р МЭК 748-11-1-2001ГОСТ Р МЭК 748-11-1-2001ГОСТ Р МЭК 748-11-1-2001ГОСТ Р МЭК 748-11-1-2001ГОСТ Р МЭК 748-11-1-2001
 




ГОСТЫ, СТРОИТЕЛЬНЫЕ и ТЕХНИЧЕСКИЕ НОРМАТИВЫ.
Некоммерческая онлайн система, содержащая все Российские Госты, национальные Стандарты и нормативы.
В Системе содержится более 150000 файлов нормативно-технической документации, действующей на территории РФ.
Система предназначена для широкого круга инженерно-технических специалистов.

Рейтинг@Mail.ru Яндекс цитирования

Copyright © www.gostrf.com, 2008 - 2026