Крупнейшая бесплатная информационно-справочная система онлайн доступа к полному собранию технических нормативно-правовых актов РФ. Огромная база технических нормативов (более 150 тысяч документов) и полное собрание национальных стандартов, аутентичное официальной базе Госстандарта. GOSTRF.com - это более 1 Терабайта бесплатной технической информации для всех пользователей интернета. Все электронные копии представленных здесь документов могут распространяться без каких-либо ограничений. Поощряется распространение информации с этого сайта на любых других ресурсах. Каждый человек имеет право на неограниченный доступ к этим документам! Каждый человек имеет право на знание требований, изложенных в данных нормативно-правовых актах!

  


 

ГОСТ 26602.1-99

Блоки оконные и дверные. Методы определения сопротивления теплопередаче

Обозначение:ГОСТ 26602.1-99
Текущий статус документа: действующий
Название документа рус.:Блоки оконные и дверные. Методы определения сопротивления теплопередаче
Название документа англ.:Windows and doors. Methods of determination of resistance of thermal transmission
Дата актуализации текста:01.12.2013
Дата издания:24.03.2000
Дата введения:01.01.2000
Дата последнего изменения:22.05.2013
Взамен: СТ СЭВ 4183-83
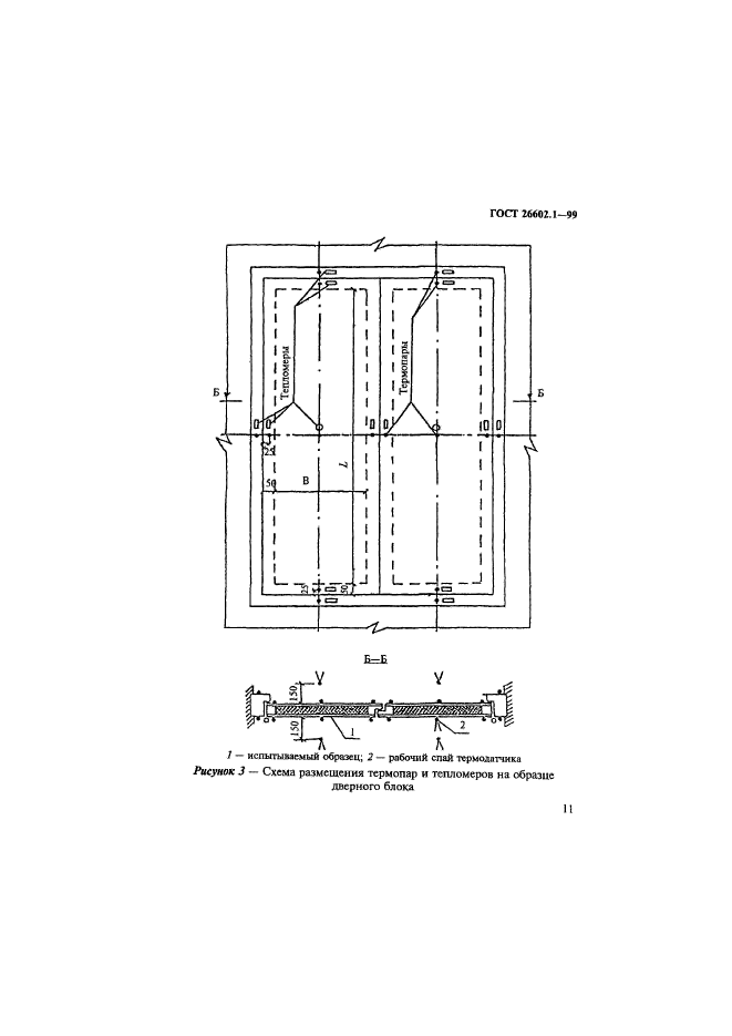
Область применения:Настоящий стандарт устанавливает методы определения сопротивления теплопередаче оконных и дверных остекленных блоков и их элементов, изготавливаемых из различных материалов, для отапливаемых зданий и сооружений различного назначения.
Методы, установленные в настоящем стандарте, применяют при проведении типовых, сертификационных и других периодических лабораторных испытаний.
Допускается использование методов настоящего стандарта для определения сопротивления теплопередаче глухих дверных блоков, зенитных фонарей, витражей и их фрагментов, а также стеклопакетов и профильных систем
ГОСТ 26602.1-99ГОСТ 26602.1-99ГОСТ 26602.1-99ГОСТ 26602.1-99ГОСТ 26602.1-99ГОСТ 26602.1-99ГОСТ 26602.1-99ГОСТ 26602.1-99ГОСТ 26602.1-99ГОСТ 26602.1-99ГОСТ 26602.1-99ГОСТ 26602.1-99ГОСТ 26602.1-99ГОСТ 26602.1-99ГОСТ 26602.1-99ГОСТ 26602.1-99ГОСТ 26602.1-99ГОСТ 26602.1-99ГОСТ 26602.1-99ГОСТ 26602.1-99ГОСТ 26602.1-99ГОСТ 26602.1-99ГОСТ 26602.1-99ГОСТ 26602.1-99ГОСТ 26602.1-99ГОСТ 26602.1-99ГОСТ 26602.1-99ГОСТ 26602.1-99ГОСТ 26602.1-99ГОСТ 26602.1-99ГОСТ 26602.1-99ГОСТ 26602.1-99
 




ГОСТЫ, СТРОИТЕЛЬНЫЕ и ТЕХНИЧЕСКИЕ НОРМАТИВЫ.
Некоммерческая онлайн система, содержащая все Российские Госты, национальные Стандарты и нормативы.
В Системе содержится более 150000 файлов нормативно-технической документации, действующей на территории РФ.
Система предназначена для широкого круга инженерно-технических специалистов.

Рейтинг@Mail.ru Яндекс цитирования

Copyright © www.gostrf.com, 2008 - 2026