Крупнейшая бесплатная информационно-справочная система онлайн доступа к полному собранию технических нормативно-правовых актов РФ. Огромная база технических нормативов (более 150 тысяч документов) и полное собрание национальных стандартов, аутентичное официальной базе Госстандарта. GOSTRF.com - это более 1 Терабайта бесплатной технической информации для всех пользователей интернета. Все электронные копии представленных здесь документов могут распространяться без каких-либо ограничений. Поощряется распространение информации с этого сайта на любых других ресурсах. Каждый человек имеет право на неограниченный доступ к этим документам! Каждый человек имеет право на знание требований, изложенных в данных нормативно-правовых актах!

  


 

ГОСТ Р 50345-99

Аппаратура малогабаритная электрическая. Автоматические выключатели для защиты от сверхтоков бытового и аналогичного назначения

Обозначение:ГОСТ Р 50345-99
Текущий статус документа: заменён
Название документа рус.:Аппаратура малогабаритная электрическая. Автоматические выключатели для защиты от сверхтоков бытового и аналогичного назначения
Название документа англ.:Electrical accessories. Circuit-breakers for overcurrent protection for household and similar installations
Дата актуализации текста:01.12.2013
Дата издания:01.11.2002
Дата введения:01.01.2001
Дата последнего изменения:22.05.2013
Дата окончания срока действия:01.01.2012
Переиздание:переиздание
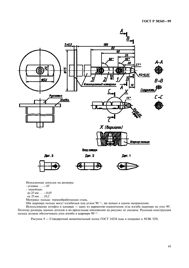
Область применения:Настоящий стандарт распространяется на воздушные автоматические выключатели переменного тока для работы при частоте 50 или 60 Гц с номинальным напряжением (между фазами ) не более 440 В, номинальным током не более 125 А и номинальной отключающей способностью более 25000 А.
Выключатели предназначены для защиты от сверхтоков систем в зданиях и аналогичных установок; они рассчитаны на использование специально необученными для этого людьми и не нуждаются в обслуживании
ГОСТ Р 50345-99ГОСТ Р 50345-99ГОСТ Р 50345-99ГОСТ Р 50345-99ГОСТ Р 50345-99ГОСТ Р 50345-99ГОСТ Р 50345-99ГОСТ Р 50345-99ГОСТ Р 50345-99ГОСТ Р 50345-99ГОСТ Р 50345-99ГОСТ Р 50345-99ГОСТ Р 50345-99ГОСТ Р 50345-99ГОСТ Р 50345-99ГОСТ Р 50345-99ГОСТ Р 50345-99ГОСТ Р 50345-99ГОСТ Р 50345-99ГОСТ Р 50345-99ГОСТ Р 50345-99ГОСТ Р 50345-99ГОСТ Р 50345-99ГОСТ Р 50345-99ГОСТ Р 50345-99ГОСТ Р 50345-99ГОСТ Р 50345-99ГОСТ Р 50345-99ГОСТ Р 50345-99ГОСТ Р 50345-99ГОСТ Р 50345-99ГОСТ Р 50345-99ГОСТ Р 50345-99ГОСТ Р 50345-99ГОСТ Р 50345-99ГОСТ Р 50345-99ГОСТ Р 50345-99ГОСТ Р 50345-99ГОСТ Р 50345-99ГОСТ Р 50345-99ГОСТ Р 50345-99ГОСТ Р 50345-99ГОСТ Р 50345-99ГОСТ Р 50345-99ГОСТ Р 50345-99ГОСТ Р 50345-99ГОСТ Р 50345-99ГОСТ Р 50345-99ГОСТ Р 50345-99ГОСТ Р 50345-99ГОСТ Р 50345-99ГОСТ Р 50345-99ГОСТ Р 50345-99ГОСТ Р 50345-99ГОСТ Р 50345-99ГОСТ Р 50345-99ГОСТ Р 50345-99ГОСТ Р 50345-99ГОСТ Р 50345-99ГОСТ Р 50345-99ГОСТ Р 50345-99ГОСТ Р 50345-99ГОСТ Р 50345-99ГОСТ Р 50345-99ГОСТ Р 50345-99ГОСТ Р 50345-99ГОСТ Р 50345-99ГОСТ Р 50345-99ГОСТ Р 50345-99ГОСТ Р 50345-99
 




ГОСТЫ, СТРОИТЕЛЬНЫЕ и ТЕХНИЧЕСКИЕ НОРМАТИВЫ.
Некоммерческая онлайн система, содержащая все Российские Госты, национальные Стандарты и нормативы.
В Системе содержится более 150000 файлов нормативно-технической документации, действующей на территории РФ.
Система предназначена для широкого круга инженерно-технических специалистов.

Рейтинг@Mail.ru Яндекс цитирования

Copyright © www.gostrf.com, 2008 - 2026