Крупнейшая бесплатная информационно-справочная система онлайн доступа к полному собранию технических нормативно-правовых актов РФ. Огромная база технических нормативов (более 150 тысяч документов) и полное собрание национальных стандартов, аутентичное официальной базе Госстандарта. GOSTRF.com - это более 1 Терабайта бесплатной технической информации для всех пользователей интернета. Все электронные копии представленных здесь документов могут распространяться без каких-либо ограничений. Поощряется распространение информации с этого сайта на любых других ресурсах. Каждый человек имеет право на неограниченный доступ к этим документам! Каждый человек имеет право на знание требований, изложенных в данных нормативно-правовых актах!

  


 

ГОСТ Р 51243-99

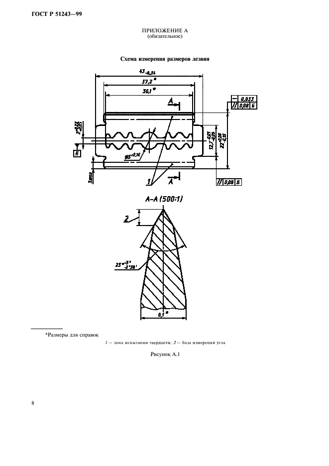
Бритвенные системы для влажного бритья. Общие технические условия

Обозначение:ГОСТ Р 51243-99
Текущий статус документа: действующий
Название документа рус.:Бритвенные системы для влажного бритья. Общие технические условия
Название документа англ.:Razor systems for damp shave. General specifications
Дата актуализации текста:01.12.2013
Дата издания:02.03.1999
Дата введения:30.06.1999
Дата последнего изменения:22.05.2013
Область применения:Настоящий стандарт распространяется на бритвенные системы для влажного бритья и их составные элементы ( аппараты для бритья, лезвия, кассеты), предназначенные для бритья лезвиями с одной или двумя бреющими сторонами или кассетами, и устанавливает требования к этим изделиям, правила и методы испытаний.
Настоящий стандарт не распространяется на клинковые бритвы.
Бритвенные системы и их составные элементы по климатическому исполнению должны соответствовать требованиям ГОСТ 15150 ( категория размещения 4.2). Конкретные требования должны быть установлены в нормативных документах на конкретные изделия
ГОСТ Р 51243-99ГОСТ Р 51243-99ГОСТ Р 51243-99ГОСТ Р 51243-99ГОСТ Р 51243-99ГОСТ Р 51243-99ГОСТ Р 51243-99ГОСТ Р 51243-99ГОСТ Р 51243-99ГОСТ Р 51243-99ГОСТ Р 51243-99ГОСТ Р 51243-99
 




ГОСТЫ, СТРОИТЕЛЬНЫЕ и ТЕХНИЧЕСКИЕ НОРМАТИВЫ.
Некоммерческая онлайн система, содержащая все Российские Госты, национальные Стандарты и нормативы.
В Системе содержится более 150000 файлов нормативно-технической документации, действующей на территории РФ.
Система предназначена для широкого круга инженерно-технических специалистов.

Рейтинг@Mail.ru Яндекс цитирования

Copyright © www.gostrf.com, 2008 - 2026