Крупнейшая бесплатная информационно-справочная система онлайн доступа к полному собранию технических нормативно-правовых актов РФ. Огромная база технических нормативов (более 150 тысяч документов) и полное собрание национальных стандартов, аутентичное официальной базе Госстандарта. GOSTRF.com - это более 1 Терабайта бесплатной технической информации для всех пользователей интернета. Все электронные копии представленных здесь документов могут распространяться без каких-либо ограничений. Поощряется распространение информации с этого сайта на любых других ресурсах. Каждый человек имеет право на неограниченный доступ к этим документам! Каждый человек имеет право на знание требований, изложенных в данных нормативно-правовых актах!

  


 

ГОСТ Р 51377-99

Конвекторы отопительные газовые бытовые. Требования безопасности и методы испытаний

Обозначение:ГОСТ Р 51377-99
Текущий статус документа: действующий
Название документа рус.:Конвекторы отопительные газовые бытовые. Требования безопасности и методы испытаний
Название документа англ.:Gas convection heaters for household use. Safety requirements and test methods
Дата актуализации текста:01.12.2013
Дата издания:11.02.2000
Дата введения:01.01.2001
Дата последнего изменения:22.05.2013
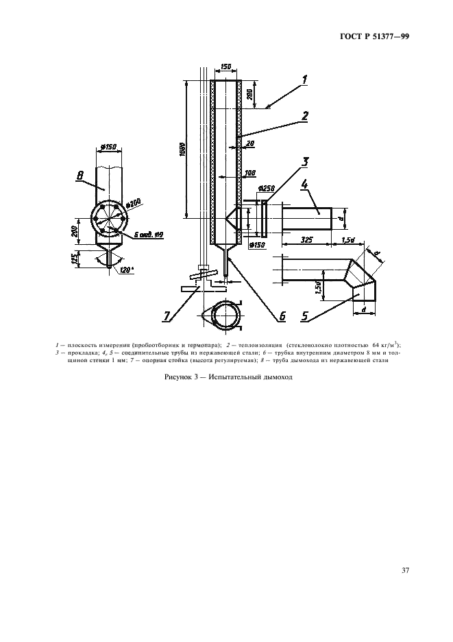
Область применения:Настоящий стандарт устанавливает основные конструктивные и эксплуатационные характеристики отопительных газовых бытовых конвекторов и определяет методы испытаний для оценки этих характеристик.
Стандарт распространяется на индивидуальные газовые конвекционные нагревательные аппараты:
- с атмосферными горелками;
- с удалением продуктов сгорания через дымоход;
- монтируемые на стене (автономное или встроенное исполнение);
- номинальной тепловой мощностью не более 25 кВт.
Стандарт не распространяется на:
- декоративное оформление аппаратов;
- комбинированные аппараты кондиционирования воздуха;
- аппараты с каталитическим горением;
- аппараты с принудительным отводом продуктов сгорания;
- аппараты с воздуховодами;
- аппараты с отводом продуктов сгорания в помещение;
- механические уплотнительные соединения
ГОСТ Р 51377-99ГОСТ Р 51377-99ГОСТ Р 51377-99ГОСТ Р 51377-99ГОСТ Р 51377-99ГОСТ Р 51377-99ГОСТ Р 51377-99ГОСТ Р 51377-99ГОСТ Р 51377-99ГОСТ Р 51377-99ГОСТ Р 51377-99ГОСТ Р 51377-99ГОСТ Р 51377-99ГОСТ Р 51377-99ГОСТ Р 51377-99ГОСТ Р 51377-99ГОСТ Р 51377-99ГОСТ Р 51377-99ГОСТ Р 51377-99ГОСТ Р 51377-99ГОСТ Р 51377-99ГОСТ Р 51377-99ГОСТ Р 51377-99ГОСТ Р 51377-99ГОСТ Р 51377-99ГОСТ Р 51377-99ГОСТ Р 51377-99ГОСТ Р 51377-99ГОСТ Р 51377-99ГОСТ Р 51377-99ГОСТ Р 51377-99ГОСТ Р 51377-99ГОСТ Р 51377-99ГОСТ Р 51377-99ГОСТ Р 51377-99ГОСТ Р 51377-99ГОСТ Р 51377-99ГОСТ Р 51377-99ГОСТ Р 51377-99ГОСТ Р 51377-99ГОСТ Р 51377-99ГОСТ Р 51377-99ГОСТ Р 51377-99ГОСТ Р 51377-99ГОСТ Р 51377-99
 




ГОСТЫ, СТРОИТЕЛЬНЫЕ и ТЕХНИЧЕСКИЕ НОРМАТИВЫ.
Некоммерческая онлайн система, содержащая все Российские Госты, национальные Стандарты и нормативы.
В Системе содержится более 150000 файлов нормативно-технической документации, действующей на территории РФ.
Система предназначена для широкого круга инженерно-технических специалистов.

Рейтинг@Mail.ru Яндекс цитирования

Copyright © www.gostrf.com, 2008 - 2026