Крупнейшая бесплатная информационно-справочная система онлайн доступа к полному собранию технических нормативно-правовых актов РФ. Огромная база технических нормативов (более 150 тысяч документов) и полное собрание национальных стандартов, аутентичное официальной базе Госстандарта. GOSTRF.com - это более 1 Терабайта бесплатной технической информации для всех пользователей интернета. Все электронные копии представленных здесь документов могут распространяться без каких-либо ограничений. Поощряется распространение информации с этого сайта на любых других ресурсах. Каждый человек имеет право на неограниченный доступ к этим документам! Каждый человек имеет право на знание требований, изложенных в данных нормативно-правовых актах!

  


 

ГОСТ 22247-96

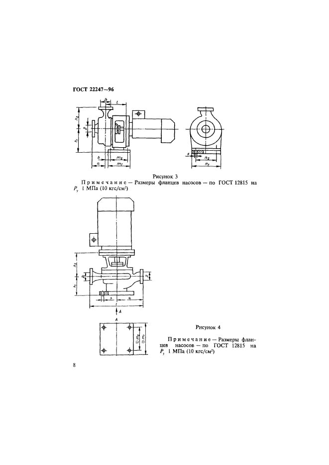
Насосы центробежные консольные для воды. Основные параметры и размеры. Требования безопасности. Методы контроля

Обозначение:ГОСТ 22247-96
Текущий статус документа: действующий
Название документа рус.:Насосы центробежные консольные для воды. Основные параметры и размеры. Требования безопасности. Методы контроля
Название документа англ.:Centrifugal and sectionpumps for handling water. Basic parameters and dimensions. Safety requirements. Control methods
Дата актуализации текста:01.12.2013
Дата издания:20.06.1997
Дата введения:01.01.1997
Дата последнего изменения:22.05.2013
Область применения:Настоящий стандарт распространяется на центробежные консольные насосы для воды с подачей от 5 до 400 куб. м/ч ( от 1,4 до 111 л/с) и напором от 10 до 90 м, предназначенные для перекачивания в стационарных условиях воды (кроме морской) с pH 6-9, содержащей механические примеси не более 0,1 % по объему и размером частиц не более 0,2 мм, и устанавливает основные параметры и размеры насосов
ГОСТ 22247-96ГОСТ 22247-96ГОСТ 22247-96ГОСТ 22247-96ГОСТ 22247-96ГОСТ 22247-96ГОСТ 22247-96ГОСТ 22247-96ГОСТ 22247-96ГОСТ 22247-96ГОСТ 22247-96ГОСТ 22247-96ГОСТ 22247-96ГОСТ 22247-96ГОСТ 22247-96ГОСТ 22247-96ГОСТ 22247-96ГОСТ 22247-96ГОСТ 22247-96
 




ГОСТЫ, СТРОИТЕЛЬНЫЕ и ТЕХНИЧЕСКИЕ НОРМАТИВЫ.
Некоммерческая онлайн система, содержащая все Российские Госты, национальные Стандарты и нормативы.
В Системе содержится более 150000 файлов нормативно-технической документации, действующей на территории РФ.
Система предназначена для широкого круга инженерно-технических специалистов.

Рейтинг@Mail.ru Яндекс цитирования

Copyright © www.gostrf.com, 2008 - 2026