Крупнейшая бесплатная информационно-справочная система онлайн доступа к полному собранию технических нормативно-правовых актов РФ. Огромная база технических нормативов (более 150 тысяч документов) и полное собрание национальных стандартов, аутентичное официальной базе Госстандарта. GOSTRF.com - это более 1 Терабайта бесплатной технической информации для всех пользователей интернета. Все электронные копии представленных здесь документов могут распространяться без каких-либо ограничений. Поощряется распространение информации с этого сайта на любых других ресурсах. Каждый человек имеет право на неограниченный доступ к этим документам! Каждый человек имеет право на знание требований, изложенных в данных нормативно-правовых актах!

  


 

ГОСТ 30428-96

Совместимость технических средств электромагнитная. Радиопомехи индустриальные от аппаратуры проводной связи. Нормы и методы испытаний

Обозначение:ГОСТ 30428-96
Текущий статус документа: действующий
Название документа рус.:Совместимость технических средств электромагнитная. Радиопомехи индустриальные от аппаратуры проводной связи. Нормы и методы испытаний
Название документа англ.:Electromagnetic compatibility of technical equipment. Man-made noise from wire communication equipment. Limits and test methods
Дата актуализации текста:01.12.2013
Дата издания:01.10.1997
Дата введения:01.01.1998
Дата последнего изменения:22.05.2013
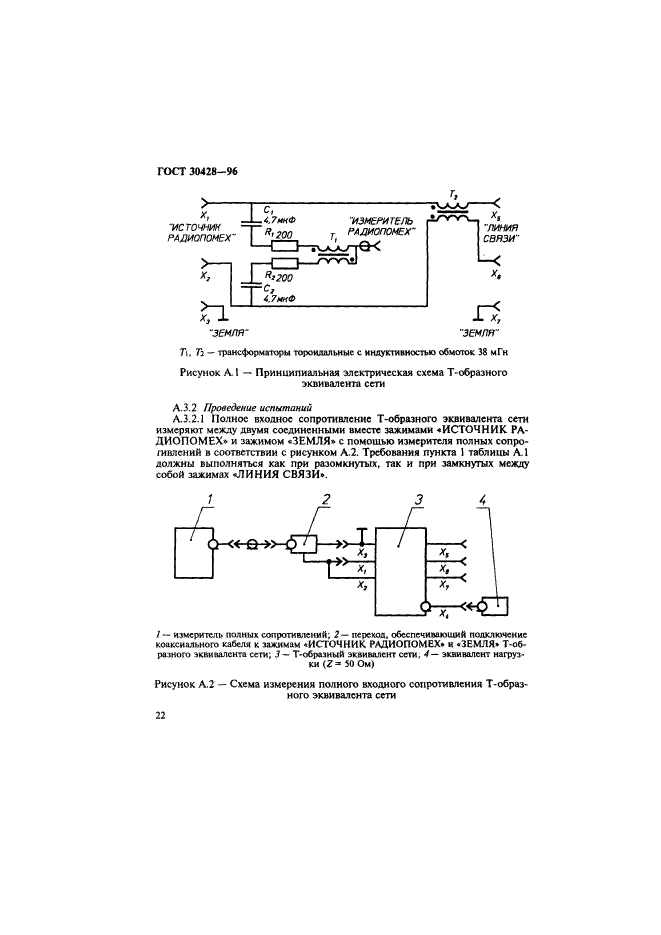
Область применения:Настоящий стандарт распространяется на технические средства оконечной абонентской аппаратуры проводной связи (ТС): телефонных устройств, телеграфного оборудования, факсимильной аппаратуры, аппаратуры передачи данных и др. Стандарт устанавливает нормы и методы измерения индустриальных радиопомех в полосе частот 0,15-1000 МГц.
Стандарт не распространяется на ТС, устанавливаемые на автоматических телефонных станциях и других объектах связи, расположенных на выделенных территориях; на ТС, устанавливаемые совместно со служебными радиоприемными устройствами гражданского назначения, а также на ТС охраной, пожарной и охранно-пожарной сигнализации
ГОСТ 30428-96ГОСТ 30428-96ГОСТ 30428-96ГОСТ 30428-96ГОСТ 30428-96ГОСТ 30428-96ГОСТ 30428-96ГОСТ 30428-96ГОСТ 30428-96ГОСТ 30428-96ГОСТ 30428-96ГОСТ 30428-96ГОСТ 30428-96ГОСТ 30428-96ГОСТ 30428-96ГОСТ 30428-96ГОСТ 30428-96ГОСТ 30428-96ГОСТ 30428-96ГОСТ 30428-96ГОСТ 30428-96ГОСТ 30428-96ГОСТ 30428-96ГОСТ 30428-96ГОСТ 30428-96ГОСТ 30428-96ГОСТ 30428-96ГОСТ 30428-96ГОСТ 30428-96ГОСТ 30428-96ГОСТ 30428-96
 




ГОСТЫ, СТРОИТЕЛЬНЫЕ и ТЕХНИЧЕСКИЕ НОРМАТИВЫ.
Некоммерческая онлайн система, содержащая все Российские Госты, национальные Стандарты и нормативы.
В Системе содержится более 150000 файлов нормативно-технической документации, действующей на территории РФ.
Система предназначена для широкого круга инженерно-технических специалистов.

Рейтинг@Mail.ru Яндекс цитирования

Copyright © www.gostrf.com, 2008 - 2026