Крупнейшая бесплатная информационно-справочная система онлайн доступа к полному собранию технических нормативно-правовых актов РФ. Огромная база технических нормативов (более 150 тысяч документов) и полное собрание национальных стандартов, аутентичное официальной базе Госстандарта. GOSTRF.com - это более 1 Терабайта бесплатной технической информации для всех пользователей интернета. Все электронные копии представленных здесь документов могут распространяться без каких-либо ограничений. Поощряется распространение информации с этого сайта на любых других ресурсах. Каждый человек имеет право на неограниченный доступ к этим документам! Каждый человек имеет право на знание требований, изложенных в данных нормативно-правовых актах!

  


 

ГОСТ 30324.10-95

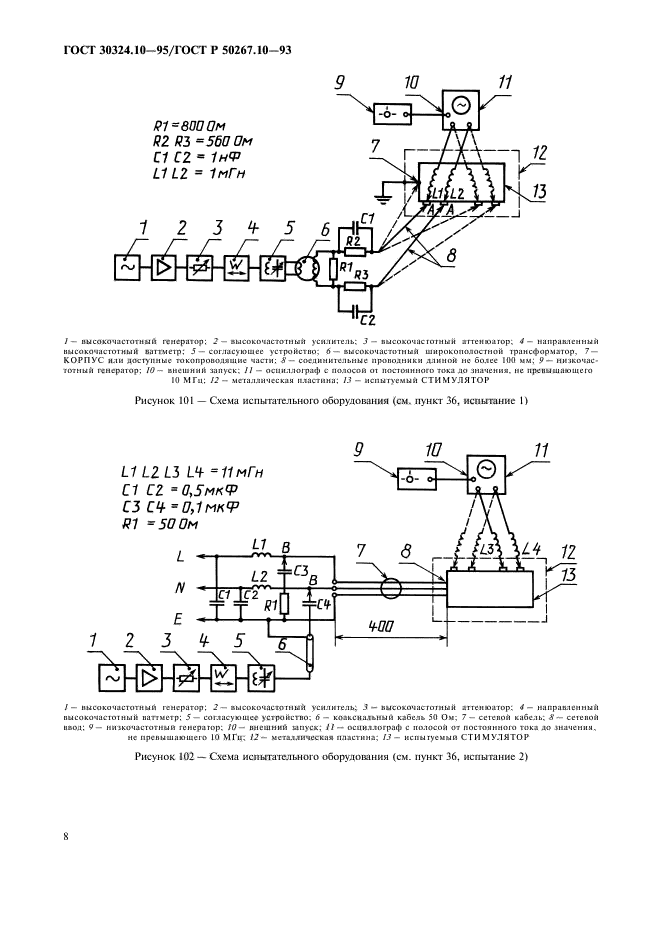
Изделия медицинские электрические. Часть 2. Частные требования безопасности к стимуляторам нервов и мышц

Обозначение:ГОСТ 30324.10-95
Текущий статус документа: действующий
Название документа рус.:Изделия медицинские электрические. Часть 2. Частные требования безопасности к стимуляторам нервов и мышц
Название документа англ.:Medical electrical equipment. Part 2. Particular requirements for the safety of nerve and muscle stimulators
Дата актуализации текста:01.12.2013
Дата издания:23.11.2000
Дата введения:30.06.1996
Дата последнего изменения:22.05.2013
Область применения:Настоящий стандарт устанавливает требования к стимуляторам нервов и мышц, предназначенным для использования в физиотерапии.
Требования стандарта не распространяются на:
- изделия, предназначенные для имплантирования или для подключения к имплантируемым электродам;
- изделия, предназначенные для стимуляции мозга (например, изделия для электрошоковой терапии);
- изделия, предназначенные для неврологических исследований;
- изделия, задающие сердечный ритм;
- изделия, носимые на теле;
- стимуляторы, предназначенные для использования во время хирургических операций;
- изделия, предназначенные для диагностики по усредненным вызванным потенциалам;
- изделия, предназначенные для электромиографии;
- изделия, предназначенные для кардиодефибрилляции;
- изделия, предназначенные для использования только в качестве чрезкожных стимуляторов нервов и мышц для облегчения боли
ГОСТ 30324.10-95ГОСТ 30324.10-95ГОСТ 30324.10-95ГОСТ 30324.10-95ГОСТ 30324.10-95ГОСТ 30324.10-95ГОСТ 30324.10-95ГОСТ 30324.10-95ГОСТ 30324.10-95ГОСТ 30324.10-95ГОСТ 30324.10-95ГОСТ 30324.10-95ГОСТ 30324.10-95ГОСТ 30324.10-95ГОСТ 30324.10-95
 




ГОСТЫ, СТРОИТЕЛЬНЫЕ и ТЕХНИЧЕСКИЕ НОРМАТИВЫ.
Некоммерческая онлайн система, содержащая все Российские Госты, национальные Стандарты и нормативы.
В Системе содержится более 150000 файлов нормативно-технической документации, действующей на территории РФ.
Система предназначена для широкого круга инженерно-технических специалистов.

Рейтинг@Mail.ru Яндекс цитирования

Copyright © www.gostrf.com, 2008 - 2026