Крупнейшая бесплатная информационно-справочная система онлайн доступа к полному собранию технических нормативно-правовых актов РФ. Огромная база технических нормативов (более 150 тысяч документов) и полное собрание национальных стандартов, аутентичное официальной базе Госстандарта. GOSTRF.com - это более 1 Терабайта бесплатной технической информации для всех пользователей интернета. Все электронные копии представленных здесь документов могут распространяться без каких-либо ограничений. Поощряется распространение информации с этого сайта на любых других ресурсах. Каждый человек имеет право на неограниченный доступ к этим документам! Каждый человек имеет право на знание требований, изложенных в данных нормативно-правовых актах!

  


 

ГОСТ Р 50913-96

Автомобильные транспортные средства для транспортирования и заправки нефтепродуктов. Типы, параметры и общие технические требования

Обозначение:ГОСТ Р 50913-96
Текущий статус документа: действующий
Название документа рус.:Автомобильные транспортные средства для транспортирования и заправки нефтепродуктов. Типы, параметры и общие технические требования
Название документа англ.:Road vehicles for transportation and fueling of petroleum products. Types, parameters and general technical requirements
Дата актуализации текста:01.12.2013
Дата издания:01.09.2009
Дата введения:01.01.1997
Дата последнего изменения:22.05.2013
Переиздание:переиздание с изм. 1
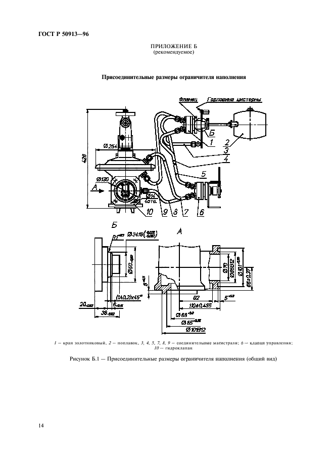
Область применения:Настоящий стандарт распространяется на автомобильные транспортные средства, предназначенные для заправки и транспортирования нефтепродуктов.
Стандарт не распространяется на автоцистерны, предназначенные для транспортирования сжатых и сжиженных газов и специальных жидкостей, и автотопливозаправщики для наземного обслуживания летательных аппаратов (самолетов и вертолетов) и водного транспорта, а также на передвижные автозаправочные станции для розничной торговли нефтепродуктами
Список изменений:№1 от 01.04.1999 (рег. 09.12.1998) «Срок действия продлен»
ГОСТ Р 50913-96ГОСТ Р 50913-96ГОСТ Р 50913-96ГОСТ Р 50913-96ГОСТ Р 50913-96ГОСТ Р 50913-96ГОСТ Р 50913-96ГОСТ Р 50913-96ГОСТ Р 50913-96ГОСТ Р 50913-96ГОСТ Р 50913-96ГОСТ Р 50913-96ГОСТ Р 50913-96ГОСТ Р 50913-96ГОСТ Р 50913-96ГОСТ Р 50913-96ГОСТ Р 50913-96ГОСТ Р 50913-96ГОСТ Р 50913-96ГОСТ Р 50913-96ГОСТ Р 50913-96ГОСТ Р 50913-96ГОСТ Р 50913-96
 




ГОСТЫ, СТРОИТЕЛЬНЫЕ и ТЕХНИЧЕСКИЕ НОРМАТИВЫ.
Некоммерческая онлайн система, содержащая все Российские Госты, национальные Стандарты и нормативы.
В Системе содержится более 150000 файлов нормативно-технической документации, действующей на территории РФ.
Система предназначена для широкого круга инженерно-технических специалистов.

Рейтинг@Mail.ru Яндекс цитирования

Copyright © www.gostrf.com, 2008 - 2026