Крупнейшая бесплатная информационно-справочная система онлайн доступа к полному собранию технических нормативно-правовых актов РФ. Огромная база технических нормативов (более 150 тысяч документов) и полное собрание национальных стандартов, аутентичное официальной базе Госстандарта. GOSTRF.com - это более 1 Терабайта бесплатной технической информации для всех пользователей интернета. Все электронные копии представленных здесь документов могут распространяться без каких-либо ограничений. Поощряется распространение информации с этого сайта на любых других ресурсах. Каждый человек имеет право на неограниченный доступ к этим документам! Каждый человек имеет право на знание требований, изложенных в данных нормативно-правовых актах!

  


 

ГОСТ 30047-93

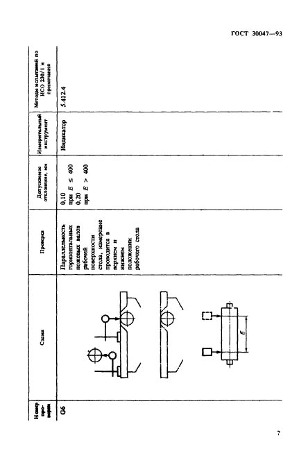
Деревообрабатывающее оборудование. Станки строгальные дву-, трех- и четырехсторонние (типа рейсмусовых с дополнительными шпинделями). Терминология и условия приемки

Обозначение:ГОСТ 30047-93
Текущий статус документа: действующий
Название документа рус.:Деревообрабатывающее оборудование. Станки строгальные дву-, трех- и четырехсторонние (типа рейсмусовых с дополнительными шпинделями). Терминология и условия приемки
Название документа англ.:Woodworking machines. Planing machines for two-, three- or four-side dressing. Nomenclature and acceptance conditions
Дата актуализации текста:01.12.2013
Дата издания:15.09.1995
Дата введения:30.06.1996
Дата последнего изменения:22.05.2013
Область применения:Настоящий стандарт распространяется на дву-, трех- и четырехсторонние строгальные станки (типа рейсмусовых с дополнительными шпинделями) и устанавливает терминологию основных деталей и узлов станков, обеспечивающую идентичность терминологических понятий, применяемых изготовителем и потребителем, а также условия испытаний станков (проверки геометрической точности) и допустимые отклонения. Стандарт пригоден для сертификации
ГОСТ 30047-93ГОСТ 30047-93ГОСТ 30047-93ГОСТ 30047-93ГОСТ 30047-93ГОСТ 30047-93ГОСТ 30047-93ГОСТ 30047-93ГОСТ 30047-93ГОСТ 30047-93ГОСТ 30047-93ГОСТ 30047-93ГОСТ 30047-93ГОСТ 30047-93
 




ГОСТЫ, СТРОИТЕЛЬНЫЕ и ТЕХНИЧЕСКИЕ НОРМАТИВЫ.
Некоммерческая онлайн система, содержащая все Российские Госты, национальные Стандарты и нормативы.
В Системе содержится более 150000 файлов нормативно-технической документации, действующей на территории РФ.
Система предназначена для широкого круга инженерно-технических специалистов.

Рейтинг@Mail.ru Яндекс цитирования

Copyright © www.gostrf.com, 2008 - 2026