Крупнейшая бесплатная информационно-справочная система онлайн доступа к полному собранию технических нормативно-правовых актов РФ. Огромная база технических нормативов (более 150 тысяч документов) и полное собрание национальных стандартов, аутентичное официальной базе Госстандарта. GOSTRF.com - это более 1 Терабайта бесплатной технической информации для всех пользователей интернета. Все электронные копии представленных здесь документов могут распространяться без каких-либо ограничений. Поощряется распространение информации с этого сайта на любых других ресурсах. Каждый человек имеет право на неограниченный доступ к этим документам! Каждый человек имеет право на знание требований, изложенных в данных нормативно-правовых актах!

  


 

ГОСТ 8519-93

Топливопроводы высокого давления дизелей и их соединения. Общие технические условия

Обозначение:ГОСТ 8519-93
Текущий статус документа: действующий
Название документа рус.:Топливопроводы высокого давления дизелей и их соединения. Общие технические условия
Название документа англ.:Jesel high-pressure fuel lines and connections. General specifications
Дата актуализации текста:01.12.2013
Дата издания:06.02.1995
Дата введения:01.01.1995
Дата последнего изменения:22.05.2013
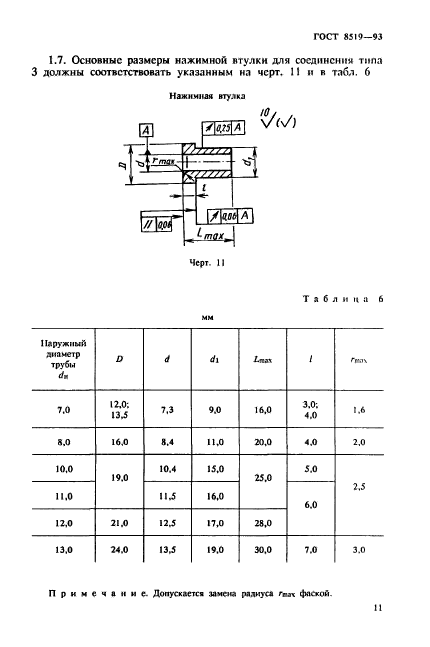
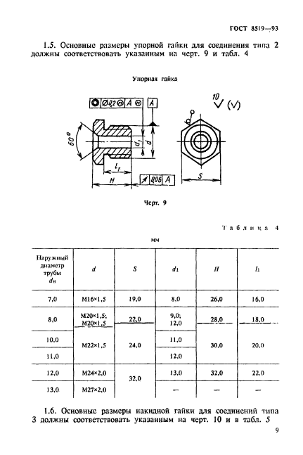
Область применения:Настоящий стандарт распространяется на топливопроводы высокого давления наружным диаметром не более 13 мм и внутренним диаметром не более 5 мм и их соединения с конусообразной уплотняющей поверхностью для дизелей всех назначений.
Стандарт не распространяется на топливопроводы и их соединения для судовых дизелей, поднадзорных Регистру и требующих внешней противопожарной защиты
ГОСТ 8519-93ГОСТ 8519-93ГОСТ 8519-93ГОСТ 8519-93ГОСТ 8519-93ГОСТ 8519-93ГОСТ 8519-93ГОСТ 8519-93ГОСТ 8519-93ГОСТ 8519-93ГОСТ 8519-93ГОСТ 8519-93ГОСТ 8519-93ГОСТ 8519-93ГОСТ 8519-93ГОСТ 8519-93ГОСТ 8519-93ГОСТ 8519-93ГОСТ 8519-93ГОСТ 8519-93
 




ГОСТЫ, СТРОИТЕЛЬНЫЕ и ТЕХНИЧЕСКИЕ НОРМАТИВЫ.
Некоммерческая онлайн система, содержащая все Российские Госты, национальные Стандарты и нормативы.
В Системе содержится более 150000 файлов нормативно-технической документации, действующей на территории РФ.
Система предназначена для широкого круга инженерно-технических специалистов.

Рейтинг@Mail.ru Яндекс цитирования

Copyright © www.gostrf.com, 2008 - 2026