Крупнейшая бесплатная информационно-справочная система онлайн доступа к полному собранию технических нормативно-правовых актов РФ. Огромная база технических нормативов (более 150 тысяч документов) и полное собрание национальных стандартов, аутентичное официальной базе Госстандарта. GOSTRF.com - это более 1 Терабайта бесплатной технической информации для всех пользователей интернета. Все электронные копии представленных здесь документов могут распространяться без каких-либо ограничений. Поощряется распространение информации с этого сайта на любых других ресурсах. Каждый человек имеет право на неограниченный доступ к этим документам! Каждый человек имеет право на знание требований, изложенных в данных нормативно-правовых актах!

  


 

ГОСТ Р 50668-94

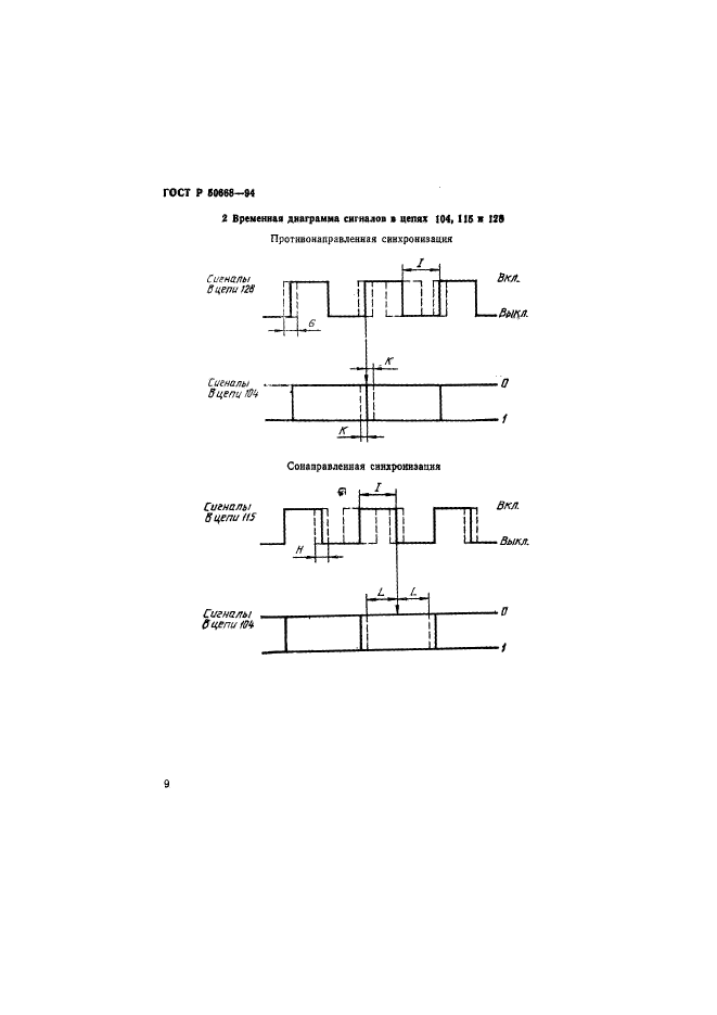
Цепи стыка С2 системы передачи данных. Требования к временным характеристикам сигналов при стартcтопной и синхронной передаче

Обозначение:ГОСТ Р 50668-94
Текущий статус документа: действующий
Название документа рус.:Цепи стыка С2 системы передачи данных. Требования к временным характеристикам сигналов при стартcтопной и синхронной передаче
Название документа англ.:Circuits of the interface C2 of the data transmission system. Requirements by temporary characteristics of signals by start-stop and synchronous transmissions
Дата актуализации текста:01.12.2013
Дата издания:05.08.1994
Дата введения:30.06.1995
Дата последнего изменения:22.05.2013
Область применения:Настоящий стандарт распространяется на цепи передачи данных и синхронизации стыка С2 между оконечным оборудованием данных (ООД) и аппаратурой передачи данных (АПД) по ГОСТ 18145 и ГОСТ 23675.
Стандарт устанавливает требования к временным характеристикам сигналов, определяющим качество синхронизации при стартстопной и синхронной передаче
ГОСТ Р 50668-94ГОСТ Р 50668-94ГОСТ Р 50668-94ГОСТ Р 50668-94ГОСТ Р 50668-94ГОСТ Р 50668-94ГОСТ Р 50668-94ГОСТ Р 50668-94ГОСТ Р 50668-94ГОСТ Р 50668-94ГОСТ Р 50668-94ГОСТ Р 50668-94ГОСТ Р 50668-94ГОСТ Р 50668-94
 




ГОСТЫ, СТРОИТЕЛЬНЫЕ и ТЕХНИЧЕСКИЕ НОРМАТИВЫ.
Некоммерческая онлайн система, содержащая все Российские Госты, национальные Стандарты и нормативы.
В Системе содержится более 150000 файлов нормативно-технической документации, действующей на территории РФ.
Система предназначена для широкого круга инженерно-технических специалистов.

Рейтинг@Mail.ru Яндекс цитирования

Copyright © www.gostrf.com, 2008 - 2026