Крупнейшая бесплатная информационно-справочная система онлайн доступа к полному собранию технических нормативно-правовых актов РФ. Огромная база технических нормативов (более 150 тысяч документов) и полное собрание национальных стандартов, аутентичное официальной базе Госстандарта. GOSTRF.com - это более 1 Терабайта бесплатной технической информации для всех пользователей интернета. Все электронные копии представленных здесь документов могут распространяться без каких-либо ограничений. Поощряется распространение информации с этого сайта на любых других ресурсах. Каждый человек имеет право на неограниченный доступ к этим документам! Каждый человек имеет право на знание требований, изложенных в данных нормативно-правовых актах!

  


 

ГОСТ Р МЭК 1029-1-94

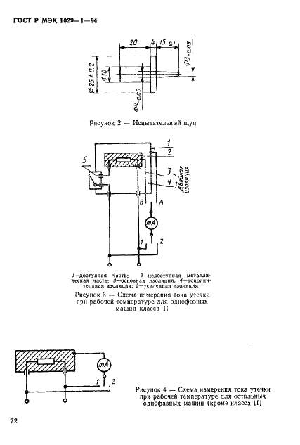
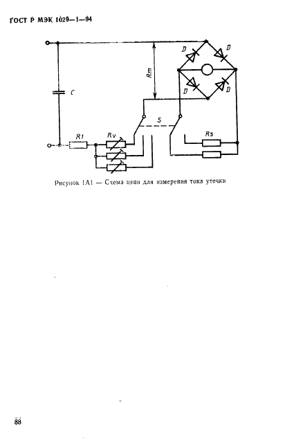
Машины переносные электрические. Общие требования безопасности и методы испытаний

Обозначение:ГОСТ Р МЭК 1029-1-94
Текущий статус документа: действующий
Название документа рус.:Машины переносные электрические. Общие требования безопасности и методы испытаний
Название документа англ.:Transrportable motor-operated electric tools. General safety requirements and testing methods
Дата актуализации текста:01.12.2013
Дата издания:12.08.1994
Дата введения:01.01.1995
Дата последнего изменения:22.05.2013
Дата окончания срока действия:01.01.2015
Область применения:Настоящий стандарт устанавливает требования безопасности и методы испытаний, являющиеся общими для всех электрических переносных машин.
Стандарт распространяется на электрические машины с приводом от электрического или электромагнитного двигателя, предназначенные для эксплуатации в помещениях и на открытом воздухе и имеющие все указанные ниже особенности:
а) легко перемещаются одним человеком;
б) используются в надежном стационарном положении без закрепления или с закреплением;
в) работают под контролем оператора;
г) не рассчитаны на работу при непрерывном производстве;
д) предназначены для подключения к электрическому источнику питания с помощью электрического шнура с вилкой;
е) работают при максимальном номинальном напряжении 250 В при переменном однофазном или постоянном токе и 440 В при переменном трехфазном токе;
ж) имеют максимальную номинальную потребляемую мощность 2500 Вт при переменном однофазном или постоянном токе и 4000 Вт при переменном трехфазном токе.
Стандарт не распространяется на:
- электроприборы бытового и подобного назначения по ГОСТ 27570.0;
- ручные электрические машины по ГОСТ 12.2.013.0;
- электрооборудование для станков промышленного назначения по ГОСТ 27487;
- низковольтные настольные станки, работающие от трансформатора и предназначенные для изготовления моделей, например, радиоуправляемых моделей самолетов, автомобилей и т.п.
Список изменений:№0 от 01.01.2015 (рег. 19.12.2012) «Текстовое изменение; Изменено заглавие»
ГОСТ Р МЭК 1029-1-94ГОСТ Р МЭК 1029-1-94ГОСТ Р МЭК 1029-1-94ГОСТ Р МЭК 1029-1-94ГОСТ Р МЭК 1029-1-94ГОСТ Р МЭК 1029-1-94ГОСТ Р МЭК 1029-1-94ГОСТ Р МЭК 1029-1-94ГОСТ Р МЭК 1029-1-94ГОСТ Р МЭК 1029-1-94ГОСТ Р МЭК 1029-1-94ГОСТ Р МЭК 1029-1-94ГОСТ Р МЭК 1029-1-94ГОСТ Р МЭК 1029-1-94ГОСТ Р МЭК 1029-1-94ГОСТ Р МЭК 1029-1-94ГОСТ Р МЭК 1029-1-94ГОСТ Р МЭК 1029-1-94ГОСТ Р МЭК 1029-1-94ГОСТ Р МЭК 1029-1-94ГОСТ Р МЭК 1029-1-94ГОСТ Р МЭК 1029-1-94ГОСТ Р МЭК 1029-1-94ГОСТ Р МЭК 1029-1-94ГОСТ Р МЭК 1029-1-94ГОСТ Р МЭК 1029-1-94ГОСТ Р МЭК 1029-1-94ГОСТ Р МЭК 1029-1-94ГОСТ Р МЭК 1029-1-94ГОСТ Р МЭК 1029-1-94ГОСТ Р МЭК 1029-1-94ГОСТ Р МЭК 1029-1-94ГОСТ Р МЭК 1029-1-94ГОСТ Р МЭК 1029-1-94ГОСТ Р МЭК 1029-1-94ГОСТ Р МЭК 1029-1-94ГОСТ Р МЭК 1029-1-94ГОСТ Р МЭК 1029-1-94ГОСТ Р МЭК 1029-1-94ГОСТ Р МЭК 1029-1-94ГОСТ Р МЭК 1029-1-94ГОСТ Р МЭК 1029-1-94ГОСТ Р МЭК 1029-1-94ГОСТ Р МЭК 1029-1-94ГОСТ Р МЭК 1029-1-94ГОСТ Р МЭК 1029-1-94ГОСТ Р МЭК 1029-1-94ГОСТ Р МЭК 1029-1-94ГОСТ Р МЭК 1029-1-94ГОСТ Р МЭК 1029-1-94ГОСТ Р МЭК 1029-1-94ГОСТ Р МЭК 1029-1-94ГОСТ Р МЭК 1029-1-94ГОСТ Р МЭК 1029-1-94ГОСТ Р МЭК 1029-1-94ГОСТ Р МЭК 1029-1-94ГОСТ Р МЭК 1029-1-94ГОСТ Р МЭК 1029-1-94ГОСТ Р МЭК 1029-1-94ГОСТ Р МЭК 1029-1-94ГОСТ Р МЭК 1029-1-94ГОСТ Р МЭК 1029-1-94ГОСТ Р МЭК 1029-1-94ГОСТ Р МЭК 1029-1-94ГОСТ Р МЭК 1029-1-94ГОСТ Р МЭК 1029-1-94ГОСТ Р МЭК 1029-1-94ГОСТ Р МЭК 1029-1-94ГОСТ Р МЭК 1029-1-94ГОСТ Р МЭК 1029-1-94ГОСТ Р МЭК 1029-1-94ГОСТ Р МЭК 1029-1-94ГОСТ Р МЭК 1029-1-94ГОСТ Р МЭК 1029-1-94ГОСТ Р МЭК 1029-1-94ГОСТ Р МЭК 1029-1-94ГОСТ Р МЭК 1029-1-94ГОСТ Р МЭК 1029-1-94ГОСТ Р МЭК 1029-1-94ГОСТ Р МЭК 1029-1-94ГОСТ Р МЭК 1029-1-94ГОСТ Р МЭК 1029-1-94ГОСТ Р МЭК 1029-1-94ГОСТ Р МЭК 1029-1-94ГОСТ Р МЭК 1029-1-94ГОСТ Р МЭК 1029-1-94ГОСТ Р МЭК 1029-1-94ГОСТ Р МЭК 1029-1-94ГОСТ Р МЭК 1029-1-94ГОСТ Р МЭК 1029-1-94ГОСТ Р МЭК 1029-1-94ГОСТ Р МЭК 1029-1-94ГОСТ Р МЭК 1029-1-94
 




ГОСТЫ, СТРОИТЕЛЬНЫЕ и ТЕХНИЧЕСКИЕ НОРМАТИВЫ.
Некоммерческая онлайн система, содержащая все Российские Госты, национальные Стандарты и нормативы.
В Системе содержится более 150000 файлов нормативно-технической документации, действующей на территории РФ.
Система предназначена для широкого круга инженерно-технических специалистов.

Рейтинг@Mail.ru Яндекс цитирования

Copyright © www.gostrf.com, 2008 - 2026