Крупнейшая бесплатная информационно-справочная система онлайн доступа к полному собранию технических нормативно-правовых актов РФ. Огромная база технических нормативов (более 150 тысяч документов) и полное собрание национальных стандартов, аутентичное официальной базе Госстандарта. GOSTRF.com - это более 1 Терабайта бесплатной технической информации для всех пользователей интернета. Все электронные копии представленных здесь документов могут распространяться без каких-либо ограничений. Поощряется распространение информации с этого сайта на любых других ресурсах. Каждый человек имеет право на неограниченный доступ к этим документам! Каждый человек имеет право на знание требований, изложенных в данных нормативно-правовых актах!

  


 

ГОСТ Р ИСО 7881-94

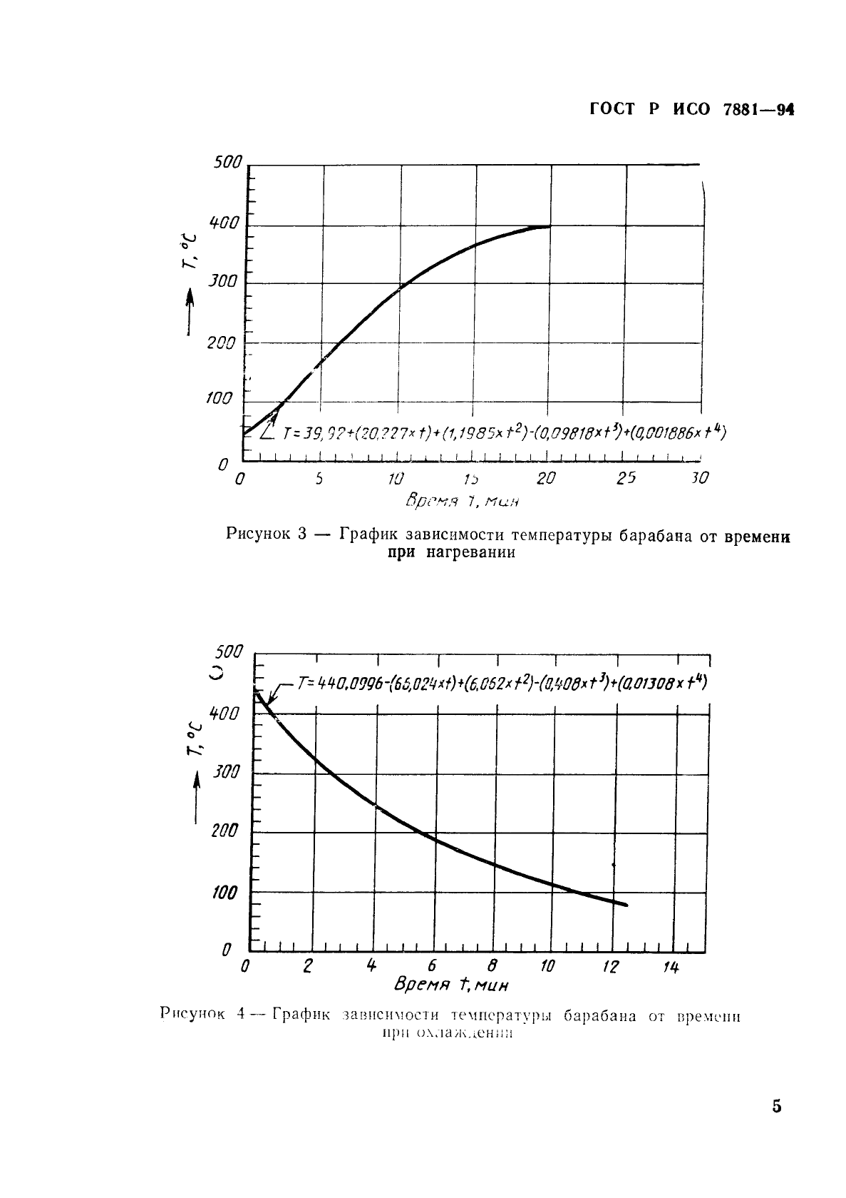
Транспорт дорожный. Накладки тормозные. Оценка характеристик фрикционного материала. Метод испытания малого образца на машине трения

Обозначение:ГОСТ Р ИСО 7881-94
Текущий статус документа: действующий
Название документа рус.:Транспорт дорожный. Накладки тормозные. Оценка характеристик фрикционного материала. Метод испытания малого образца на машине трения
Название документа англ.:Rood vehicles. Brake linings. Evaluation of friction material characteristics. Small sample bench test procedure
Дата актуализации текста:01.12.2013
Дата издания:06.02.1995
Дата введения:01.01.1996
Дата последнего изменения:22.05.2013
Область применения:Настоящий стандарт устанавливает метод испытания малых образцов материала тормозной накладки на испытательной машине, а также требования к оборудованию и метод оценки результатов испытаний.
Настоящий стандарт распространяется на материалы тормозных накладок барабанных и дисковых тормозов
ГОСТ Р ИСО 7881-94ГОСТ Р ИСО 7881-94ГОСТ Р ИСО 7881-94ГОСТ Р ИСО 7881-94ГОСТ Р ИСО 7881-94ГОСТ Р ИСО 7881-94ГОСТ Р ИСО 7881-94ГОСТ Р ИСО 7881-94ГОСТ Р ИСО 7881-94ГОСТ Р ИСО 7881-94ГОСТ Р ИСО 7881-94ГОСТ Р ИСО 7881-94ГОСТ Р ИСО 7881-94ГОСТ Р ИСО 7881-94ГОСТ Р ИСО 7881-94ГОСТ Р ИСО 7881-94ГОСТ Р ИСО 7881-94ГОСТ Р ИСО 7881-94ГОСТ Р ИСО 7881-94
 




ГОСТЫ, СТРОИТЕЛЬНЫЕ и ТЕХНИЧЕСКИЕ НОРМАТИВЫ.
Некоммерческая онлайн система, содержащая все Российские Госты, национальные Стандарты и нормативы.
В Системе содержится более 150000 файлов нормативно-технической документации, действующей на территории РФ.
Система предназначена для широкого круга инженерно-технических специалистов.

Рейтинг@Mail.ru Яндекс цитирования

Copyright © www.gostrf.com, 2008 - 2026