Крупнейшая бесплатная информационно-справочная система онлайн доступа к полному собранию технических нормативно-правовых актов РФ. Огромная база технических нормативов (более 150 тысяч документов) и полное собрание национальных стандартов, аутентичное официальной базе Госстандарта. GOSTRF.com - это более 1 Терабайта бесплатной технической информации для всех пользователей интернета. Все электронные копии представленных здесь документов могут распространяться без каких-либо ограничений. Поощряется распространение информации с этого сайта на любых других ресурсах. Каждый человек имеет право на неограниченный доступ к этим документам! Каждый человек имеет право на знание требований, изложенных в данных нормативно-правовых актах!

  


 

ГОСТ Р 50267.25-94

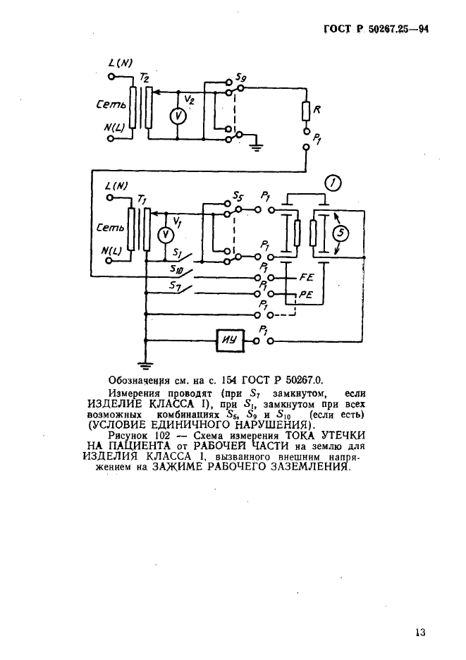
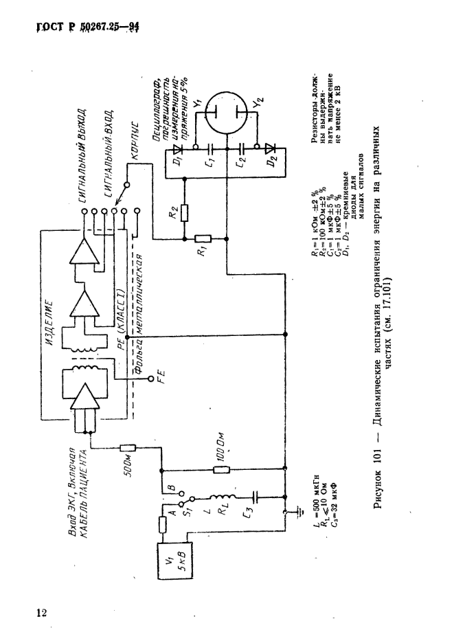
Изделия медицинские электрические. Часть 2. Частные требования безопасности к электрокардиографам

Обозначение:ГОСТ Р 50267.25-94
Текущий статус документа: действующий
Название документа рус.:Изделия медицинские электрические. Часть 2. Частные требования безопасности к электрокардиографам
Название документа англ.:Medical electrical equipment. Part 2. Particular requirements for safety of electrocardiographs
Дата актуализации текста:01.12.2013
Дата издания:08.06.1994
Дата введения:30.06.1995
Дата последнего изменения:22.05.2013
Область применения:Настоящий стандарт распространяется на безопасность МЕДИЦИНСКИХ ЭЛЕКТРИЧЕСКИХ ИЗДЕЛИЙ. Так как настоящий стандарт относится в основном к безопасности, он содержит некоторые требования, касающиеся надежной работы, если это связано с безопасностью.
Настоящий стандарт устанавливает частные требования безопасности к ЭЛЕКТРОКАРДИОГРАФАМ, предназначенным для снятия ЭЛЕКТРОКАРДИОГРАММ в диагностических целях. Он распространяется также на вектор-кардиографы и АППАРАТЫ, с помощью которых проводят исследования при стрессовых состояниях.
Настоящий стандарт не устанавливает специальные требования, относящиеся к применению аппаратов в машинах скорой помощи, к фонокардиографам, кардиографическим мониторам, полиграфам, телеметрическим приборам, для проведения специальных тестов, например с целью выявить нарушение функций пучка Гиса и др.
ГОСТ Р 50267.25-94ГОСТ Р 50267.25-94ГОСТ Р 50267.25-94ГОСТ Р 50267.25-94ГОСТ Р 50267.25-94ГОСТ Р 50267.25-94ГОСТ Р 50267.25-94ГОСТ Р 50267.25-94ГОСТ Р 50267.25-94ГОСТ Р 50267.25-94ГОСТ Р 50267.25-94ГОСТ Р 50267.25-94ГОСТ Р 50267.25-94ГОСТ Р 50267.25-94ГОСТ Р 50267.25-94ГОСТ Р 50267.25-94ГОСТ Р 50267.25-94ГОСТ Р 50267.25-94ГОСТ Р 50267.25-94ГОСТ Р 50267.25-94ГОСТ Р 50267.25-94ГОСТ Р 50267.25-94ГОСТ Р 50267.25-94ГОСТ Р 50267.25-94ГОСТ Р 50267.25-94ГОСТ Р 50267.25-94ГОСТ Р 50267.25-94ГОСТ Р 50267.25-94
 




ГОСТЫ, СТРОИТЕЛЬНЫЕ и ТЕХНИЧЕСКИЕ НОРМАТИВЫ.
Некоммерческая онлайн система, содержащая все Российские Госты, национальные Стандарты и нормативы.
В Системе содержится более 150000 файлов нормативно-технической документации, действующей на территории РФ.
Система предназначена для широкого круга инженерно-технических специалистов.

Рейтинг@Mail.ru Яндекс цитирования

Copyright © www.gostrf.com, 2008 - 2026