Крупнейшая бесплатная информационно-справочная система онлайн доступа к полному собранию технических нормативно-правовых актов РФ. Огромная база технических нормативов (более 150 тысяч документов) и полное собрание национальных стандартов, аутентичное официальной базе Госстандарта. GOSTRF.com - это более 1 Терабайта бесплатной технической информации для всех пользователей интернета. Все электронные копии представленных здесь документов могут распространяться без каких-либо ограничений. Поощряется распространение информации с этого сайта на любых других ресурсах. Каждый человек имеет право на неограниченный доступ к этим документам! Каждый человек имеет право на знание требований, изложенных в данных нормативно-правовых актах!

  


 

ГОСТ Р 50569.2-94

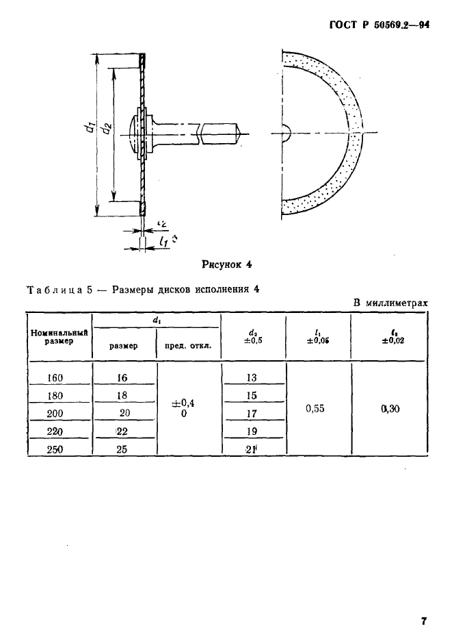
Инструменты стоматологические вращающиеся. Алмазные инструменты. Диски. Общие технические требования и методы испытаний

Обозначение:ГОСТ Р 50569.2-94
Текущий статус документа: заменён
Название документа рус.:Инструменты стоматологические вращающиеся. Алмазные инструменты. Диски. Общие технические требования и методы испытаний
Название документа англ.:Dental rotary instruments. Diamond instruments. Specifications. Test methods
Дата актуализации текста:01.12.2013
Дата издания:08.06.1994
Дата введения:01.07.1995
Дата последнего изменения:22.05.2013
Дата окончания срока действия:01.03.2012
Область применения:Настоящий стандарт распространяется на алмазные стоматологические плоские диски, предназначенные для обработки твердых тканей зуба, используемые с зубоврачебными наконечниками в клинических условиях, и устанавливает общие технические требования к дискам и методы их испытаний.
Стандарт не распространяется на алмазные круги, предназначенные для обработки зубных протезов
ГОСТ Р 50569.2-94ГОСТ Р 50569.2-94ГОСТ Р 50569.2-94ГОСТ Р 50569.2-94ГОСТ Р 50569.2-94ГОСТ Р 50569.2-94ГОСТ Р 50569.2-94ГОСТ Р 50569.2-94ГОСТ Р 50569.2-94ГОСТ Р 50569.2-94ГОСТ Р 50569.2-94ГОСТ Р 50569.2-94ГОСТ Р 50569.2-94ГОСТ Р 50569.2-94ГОСТ Р 50569.2-94ГОСТ Р 50569.2-94ГОСТ Р 50569.2-94ГОСТ Р 50569.2-94
 




ГОСТЫ, СТРОИТЕЛЬНЫЕ и ТЕХНИЧЕСКИЕ НОРМАТИВЫ.
Некоммерческая онлайн система, содержащая все Российские Госты, национальные Стандарты и нормативы.
В Системе содержится более 150000 файлов нормативно-технической документации, действующей на территории РФ.
Система предназначена для широкого круга инженерно-технических специалистов.

Рейтинг@Mail.ru Яндекс цитирования

Copyright © www.gostrf.com, 2008 - 2026