Крупнейшая бесплатная информационно-справочная система онлайн доступа к полному собранию технических нормативно-правовых актов РФ. Огромная база технических нормативов (более 150 тысяч документов) и полное собрание национальных стандартов, аутентичное официальной базе Госстандарта. GOSTRF.com - это более 1 Терабайта бесплатной технической информации для всех пользователей интернета. Все электронные копии представленных здесь документов могут распространяться без каких-либо ограничений. Поощряется распространение информации с этого сайта на любых других ресурсах. Каждый человек имеет право на неограниченный доступ к этим документам! Каждый человек имеет право на знание требований, изложенных в данных нормативно-правовых актах!

  


 

ГОСТ Р 50560-93

Фрезы, устанавливаемые на центрирующие оправки с конусом 7:24. Присоединительные размеры. Центрирующие оправки

Обозначение:ГОСТ Р 50560-93
Текущий статус документа: действующий
Название документа рус.:Фрезы, устанавливаемые на центрирующие оправки с конусом 7:24. Присоединительные размеры. Центрирующие оправки
Название документа англ.:Milling cutters mounted on centring arbors having a 7/24 taper. Fitting dimensions. Centring arbors
Дата актуализации текста:01.12.2013
Дата издания:11.08.1993
Дата введения:30.06.1994
Дата последнего изменения:22.05.2013
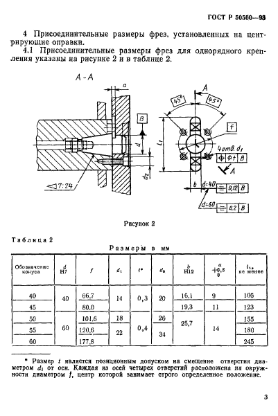
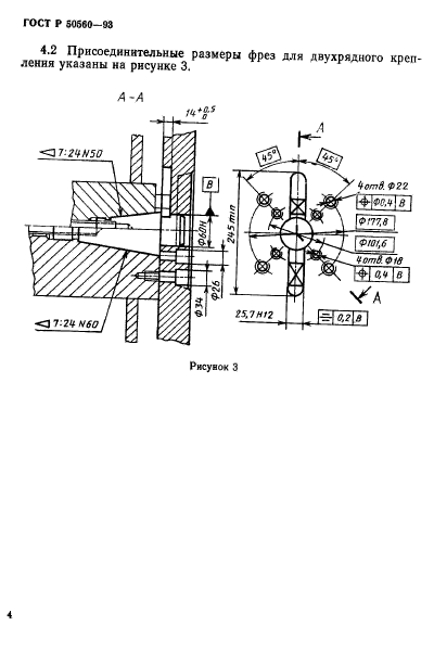
Область применения:Настоящий стандарт регламентирует присоединительные размеры фрез, устанавливаемых на центрирующих оправках, и размеры центрирующих оправок с конусом 7:24 для центрирования фрез на переднем конце шпинделя.
Стандарт распространяется на фрезы со вставными ножами из быстрорежущей стали или с напайными пластинами и на фрезы со сменными твердосплавными пластинами
ГОСТ Р 50560-93ГОСТ Р 50560-93ГОСТ Р 50560-93ГОСТ Р 50560-93ГОСТ Р 50560-93ГОСТ Р 50560-93ГОСТ Р 50560-93ГОСТ Р 50560-93
 




ГОСТЫ, СТРОИТЕЛЬНЫЕ и ТЕХНИЧЕСКИЕ НОРМАТИВЫ.
Некоммерческая онлайн система, содержащая все Российские Госты, национальные Стандарты и нормативы.
В Системе содержится более 150000 файлов нормативно-технической документации, действующей на территории РФ.
Система предназначена для широкого круга инженерно-технических специалистов.

Рейтинг@Mail.ru Яндекс цитирования

Copyright © www.gostrf.com, 2008 - 2026