Крупнейшая бесплатная информационно-справочная система онлайн доступа к полному собранию технических нормативно-правовых актов РФ. Огромная база технических нормативов (более 150 тысяч документов) и полное собрание национальных стандартов, аутентичное официальной базе Госстандарта. GOSTRF.com - это более 1 Терабайта бесплатной технической информации для всех пользователей интернета. Все электронные копии представленных здесь документов могут распространяться без каких-либо ограничений. Поощряется распространение информации с этого сайта на любых других ресурсах. Каждый человек имеет право на неограниченный доступ к этим документам! Каждый человек имеет право на знание требований, изложенных в данных нормативно-правовых актах!

  


 

ГОСТ Р МЭК 870-4-93

Устройства и системы телемеханики. Часть 4. Технические требования

Обозначение:ГОСТ Р МЭК 870-4-93
Текущий статус документа: отменён
Название документа рус.:Устройства и системы телемеханики. Часть 4. Технические требования
Название документа англ.:Telecontrol equipment and systems. Part 4. Performance requirements
Дата актуализации текста:01.12.2013
Дата издания:31.03.1994
Дата введения:01.01.1995
Дата последнего изменения:22.05.2013
Дата окончания срока действия:01.01.2013
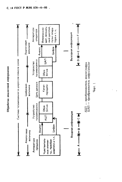
Область применения:Настоящий стандарт распространяется на устройства и системы телемеханики с последовательной кодированной передачей данных для контроля и управления территориально распределенными процессами
Список изменений:№0 от 01.01.2013 (рег. 22.12.2011) «Текстовое изменение; Изменено заглавие»
ГОСТ Р МЭК 870-4-93ГОСТ Р МЭК 870-4-93ГОСТ Р МЭК 870-4-93ГОСТ Р МЭК 870-4-93ГОСТ Р МЭК 870-4-93ГОСТ Р МЭК 870-4-93ГОСТ Р МЭК 870-4-93ГОСТ Р МЭК 870-4-93ГОСТ Р МЭК 870-4-93ГОСТ Р МЭК 870-4-93ГОСТ Р МЭК 870-4-93ГОСТ Р МЭК 870-4-93ГОСТ Р МЭК 870-4-93ГОСТ Р МЭК 870-4-93ГОСТ Р МЭК 870-4-93ГОСТ Р МЭК 870-4-93ГОСТ Р МЭК 870-4-93ГОСТ Р МЭК 870-4-93ГОСТ Р МЭК 870-4-93ГОСТ Р МЭК 870-4-93ГОСТ Р МЭК 870-4-93ГОСТ Р МЭК 870-4-93ГОСТ Р МЭК 870-4-93ГОСТ Р МЭК 870-4-93ГОСТ Р МЭК 870-4-93ГОСТ Р МЭК 870-4-93ГОСТ Р МЭК 870-4-93ГОСТ Р МЭК 870-4-93ГОСТ Р МЭК 870-4-93ГОСТ Р МЭК 870-4-93
 




ГОСТЫ, СТРОИТЕЛЬНЫЕ и ТЕХНИЧЕСКИЕ НОРМАТИВЫ.
Некоммерческая онлайн система, содержащая все Российские Госты, национальные Стандарты и нормативы.
В Системе содержится более 150000 файлов нормативно-технической документации, действующей на территории РФ.
Система предназначена для широкого круга инженерно-технических специалистов.

Рейтинг@Mail.ru Яндекс цитирования

Copyright © www.gostrf.com, 2008 - 2026