Крупнейшая бесплатная информационно-справочная система онлайн доступа к полному собранию технических нормативно-правовых актов РФ. Огромная база технических нормативов (более 150 тысяч документов) и полное собрание национальных стандартов, аутентичное официальной базе Госстандарта. GOSTRF.com - это более 1 Терабайта бесплатной технической информации для всех пользователей интернета. Все электронные копии представленных здесь документов могут распространяться без каких-либо ограничений. Поощряется распространение информации с этого сайта на любых других ресурсах. Каждый человек имеет право на неограниченный доступ к этим документам! Каждый человек имеет право на знание требований, изложенных в данных нормативно-правовых актах!

  


 

ГОСТ Р 34.90-93

Информационная технология. Передача данных и обмен информацией между системами. Протокольные комбинации для обеспечения и поддержки услуг сетевого уровня ВОС

Обозначение:ГОСТ Р 34.90-93
Текущий статус документа: действующий
Название документа рус.:Информационная технология. Передача данных и обмен информацией между системами. Протокольные комбинации для обеспечения и поддержки услуг сетевого уровня ВОС
Название документа англ.:Information technology. Telecommunications and information exchange between systems. Protocol combinations to provide and support the OSI Network Service
Дата актуализации текста:01.12.2013
Дата издания:01.04.1994
Дата введения:01.01.1995
Дата последнего изменения:22.05.2013
Область применения:Задача настоящего стандарта состоит в том, чтобы обеспечить единый справочный источник информации относительно способов возможного использования протоколов сетевого уровня для обеспечения услуг сетевого уровня ВОС в различных конфигурациях. В настоящем стандарте излагается применение архитектуры сетевого уровня, изложенной в ИСО 8648, а также стандартизованных в международном и национальном масштабах протоколов сетевого уровня для обеспечения услуг сетевого уровня в реальных применениях.
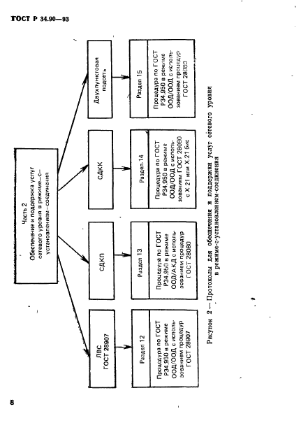
В 1-й части стандарта определяются способ обеспечения и поддержки услуг сетевого уровня, критерии для включения протокольных комбинаций, излагается формулировка принципов соответствия, которые упорядочивают конкретные требования к соответствию, определенные в двух других частях.
Во 2-й части описывается обеспечение и поддержка услуг сетевого уровня в режиме-с-установлением-соединения протоколами сетевого уровня.
В 3-й части описывается обеспечение и поддержка услуг сетевого уровня в режиме-без-установления-соединения.
В тех случаях, когда какая-либо конфигурация не поддерживает услуг сетевого уровня ВОС соответствующего режима, она не входит в область распространения настоящего стандарта
ГОСТ Р 34.90-93ГОСТ Р 34.90-93ГОСТ Р 34.90-93ГОСТ Р 34.90-93ГОСТ Р 34.90-93ГОСТ Р 34.90-93ГОСТ Р 34.90-93ГОСТ Р 34.90-93ГОСТ Р 34.90-93ГОСТ Р 34.90-93ГОСТ Р 34.90-93ГОСТ Р 34.90-93ГОСТ Р 34.90-93ГОСТ Р 34.90-93ГОСТ Р 34.90-93ГОСТ Р 34.90-93ГОСТ Р 34.90-93ГОСТ Р 34.90-93ГОСТ Р 34.90-93ГОСТ Р 34.90-93ГОСТ Р 34.90-93ГОСТ Р 34.90-93ГОСТ Р 34.90-93ГОСТ Р 34.90-93
 




ГОСТЫ, СТРОИТЕЛЬНЫЕ и ТЕХНИЧЕСКИЕ НОРМАТИВЫ.
Некоммерческая онлайн система, содержащая все Российские Госты, национальные Стандарты и нормативы.
В Системе содержится более 150000 файлов нормативно-технической документации, действующей на территории РФ.
Система предназначена для широкого круга инженерно-технических специалистов.

Рейтинг@Mail.ru Яндекс цитирования

Copyright © www.gostrf.com, 2008 - 2026