|
|
|
ГОСТ 9581-80 МЕЖГОСУДАРСТВЕННЫЙ СТАНДАРТ НАКОНЕЧНИКИ КАБЕЛЬНЫЕ КОНСТРУКЦИЯ И РАЗМЕРЫ ИПК ИЗДАТЕЛЬСТВО СТАНДАРТОВ Москва МЕЖГОСУДАРСТВЕННЫЙ СТАНДАРТ
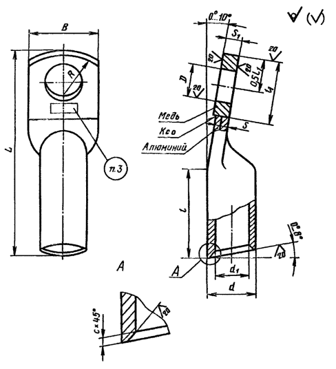
Дата введения 01.01.83 1. Настоящий стандарт распространяется на алюминиевые и медно-алюминиевые кабельные наконечники, закрепляемые опрессовкой и предназначенные для оконцевания проводов и кабелей с алюминиевыми жилами сечением от 16 до 300 мм2 на напряжение до 35 кВ. 2. Конструкция, основные размеры, условное обозначение с указанием вида климатического исполнения по ГОСТ 15150, коды ОКП, предельные отклонения и расчетная масса алюминиевых наконечников и место нанесения маркировки должны соответствовать указанным на черт. 1 и в табл. 1. Кабельные наконечники могут изготавливаться с защитным металлическим покрытием Н6 или Ц6 или с покрытием контактной поверхности зажимной части наконечника медью, никелем или цинком, нанесенными способом газодинамического напыления. (Измененная редакция, Изм. № 1-4). 3. Конструкция, основные размеры, условное обозначение с указанием вида климатического исполнения по ГОСТ 15150, коды ОКП, предельные отклонения и расчетная масса медно-алюминиевых наконечников и место нанесения маркировки должны соответствовать указанным на черт. 2 и в табл. 2. (Измененная редакция, Изм. № 1, 2). Допускается применение этих труб с контролем размера внутреннего диаметра для кабельных наконечников по технической документации, утвержденной в установленном порядке. Зажимная часть медно-алюминиевых наконечников должна изготовляться из меди марки М0 или M1 по ГОСТ 859, ГОСТ 495 и соединяться с алюминиевой частью наконечника сваркой. Допускается изготовление алюминиевых наконечников и хвостовиков к медно-алюминиевым наконечникам из алюминиевых круглых прутков марок АДОМ и АД1М по ГОСТ 21488. Допускается не выполнять требования п. 3.12 по ГОСТ 23981 в случае химической обработки или нанесения защитного металлопокрытия в процессе изготовления кабельных наконечников. (Измененная редакция, Изм. № 1, 3). 5. Алюминиевые наконечники, изготовляемые из алюминиевых труб, при наличии указания в заказе должны выполняться уплотненными для предотвращения просачивания кабельного пропиточного состава. (Измененная редакция, Изм. № 2). 6. Основные размеры спрессованных соединений указаны в приложении 1. 7. Остальные требования - по ГОСТ 23981. 8. Структура условного обозначения, указания по маркировке наконечников приведены в приложении 2. (Введен дополнительно, Изм. № 1). 9. Предельные отклонения размеров св. 1 мм: отверстий Н16,
валов h16,
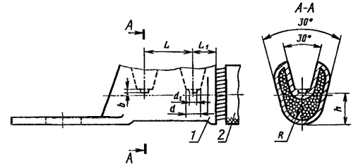
остальных ± (Введен дополнительно, Изм. № 2). Черт. 1 Таблица 1 Размеры в мм
___________ * Допускается применять в технически обоснованных случаях. ** Размеры для справок. *** l - длина жильной части хвостовика наконечника. Таблица 2 Размеры в мм
_____________ * Допускается применять в технически обоснованных случаях. ** Размеры для справок. *** l - длина жильной части хвостовика наконечника. ПРИЛОЖЕНИЕ 1
|
|||||||||||||||||||||||||||||||||||||||||||||||||||||||||||||||||||||||||||||||||||||||||||||||||||||||||||||||||||||||||||||||||||||||||||||||||||||||||||||||||||||||||||||||||||||||||||||||||||||||||||||||||||||||||||||||||||||||||||||||||||||||||||||||||||||||||||||||||||||||||||||||||||||||||||||||||||||||||||||||||||||||||||||||||||||||||||||||||||||||||||||||||||||||||||||||||||||||||||||||||||||||||||||||||||||||||||||||||||||||||||||||||||||||||||||||||||||||||||||||||||||||||||||||||||||||||||||||||||||||||||||||||||||||||||||||||||||||||||||||||||||||||||||||||||||||||||||||||||||||||||||||||||||||||||||||||||||||||||||||||||||||||||||||||||||||||||||||||||||||||||||||||||||||||||||||||||||||||||||||||||||||||||||||||||||||
|
Типоразмер |
Сечение, мм2/класс жилы по ГОСТ 22483 |
L |
L1 |
R |
b |
d |
d1 |
h |
|
16-6-5,4 16-8-5,4 |
16/1; 16/2 |
12,5 |
10 |
5,0 |
1,5 |
4,5 |
2,0 |
5,5 |
|
25-8-7,0 |
16/3; 25/1; 25/2 |
|||||||
|
35-10-8 |
25/3; 35/1 35/2 |
11 |
7,0 |
6,5 |
3,0 |
7,5 |
||
|
50-10-9 |
35/3; 50/1 |
|||||||
|
70-10-11 |
50/2; 70/1; 70/2 |
17,0 |
16 |
8,0 |
3,0 |
10,0 |
6,5 |
9,5 |
|
70-10-12 |
50/3; 95/1 |
|||||||
|
95-12-13 |
70/3; 95/2 |
|||||||
|
120-12-14 120-16-14 |
120/1 |
20,0 |
19 |
10,0 |
11,5 |
8,0 |
11,5 |
|
|
150-12-16 150-16-16 |
95/3; 120/2; 185/1 |
|||||||
|
150-12-17 150-16-17 |
120/4; 150/1; 150/2 |
|||||||
|
185-16-18 185-20-18 |
185/2 |
24,0 |
22 |
12,5 |
14,5 |
9,0 |
12,5 |
|
|
185-16-19 185-20-19 |
150/3 |
|||||||
|
240-20-20 |
240/1 |
15,0 |
14,0 |
|||||
|
240-20-22 |
240/2 |
4,0 |
17,0 |
10,0 |
||||
|
300-20-24 |
185/3; 240/3; 300/1; 300/2 |
26,0 |
24 |
16,0 |
(Измененная редакция, Изм. № 1).

(Введено дополнительно, Изм. № 1).
ИНФОРМАЦИОННЫЕ ДАННЫЕ
1. РАЗРАБОТАН И ВНЕСЕН Министерством монтажных и специальных строительных работ СССР
РАЗРАБОТЧИКИ
Б.Л. Делибаш, В.Н. Алексеенко
2. УТВЕРЖДЕН И ВВЕДЕН В ДЕЙСТВИЕ Постановлением Государственного комитета СССР по стандартам от 07.02.80 № 610
Изменение № 3 принято Межгосударственным Советом по стандартизации, метрологии и сертификации (протокол № 10 от 04.10.96)
За принятие проголосовали:
|
Наименование государства |
Наименование национального органа по стандартизации |
|
Азербайджанская Республика |
Азгосстандарт |
|
Республика Армения |
Армгосстандарт |
|
Республика Беларусь |
Госстандарт Беларуси |
|
Республика Грузия |
Грузстандарт |
|
Республика Казахстан |
Госстандарт Республики Казахстан |
|
Киргизская Республика |
Киргизстандарт |
|
Республика Молдова |
Молдовастандарт |
|
Российская Федерация |
Госстандарт России |
|
Республика Таджикистан |
Таджикгосстандарт |
|
Туркменистан |
Главная государственная инспекция Туркменистана |
|
Республика Узбекистан |
Узгосстандарт |
|
Госстандарт Украины |
4. ССЫЛОЧНЫЕ НОРМАТИВНО-ТЕХНИЧЕСКИЕ ДОКУМЕНТЫ
|
Обозначение НТД, на который дана ссылка |
Номер пункта, приложения |
Обозначение НТД, на который дана ссылка |
Номер пункта, приложения |
|
ГОСТ 21488-97 |
|||
|
ГОСТ 859-2001 |
ГОСТ 22483-77 |
Приложение 1 |
|
|
ГОСТ 8908-81 |
ГОСТ 23981-80 |
||
|
ГОСТ 18475-82 |
|
|
5. Ограничение срока действия снято Постановлением Госстандарта СССР от 14.09.92 № 1173
6. ПЕРЕИЗДАНИЕ (май 1999 г.) с Изменениями № 1, 2, 3, утвержденными в августе 1983 г., июне 1987 г., феврале 1997 г. (ИУС 12-83, 9-87, 5-97)
|
ГОСТЫ, СТРОИТЕЛЬНЫЕ и ТЕХНИЧЕСКИЕ НОРМАТИВЫ. Некоммерческая онлайн система, содержащая все Российские Госты, национальные Стандарты и нормативы. В Системе содержится более 150000 файлов нормативно-технической документации, действующей на территории РФ. Система предназначена для широкого круга инженерно-технических специалистов. Copyright © www.gostrf.com, 2008 - 2026 |