Крупнейшая бесплатная информационно-справочная система онлайн доступа к полному собранию технических нормативно-правовых актов РФ. Огромная база технических нормативов (более 150 тысяч документов) и полное собрание национальных стандартов, аутентичное официальной базе Госстандарта. GOSTRF.com - это более 1 Терабайта бесплатной технической информации для всех пользователей интернета. Все электронные копии представленных здесь документов могут распространяться без каких-либо ограничений. Поощряется распространение информации с этого сайта на любых других ресурсах. Каждый человек имеет право на неограниченный доступ к этим документам! Каждый человек имеет право на знание требований, изложенных в данных нормативно-правовых актах!

  


 

РУКОВОДЯЩИЙ ТЕХНИЧЕСКИЙ МАТЕРИАЛ

ОПРЕДЕЛЕНИЕ КРИТИЧЕСКИХ ПАРАМЕТРОВ
КОЛЕБАНИЙ ОХРАНЯЕМЫХ ОБЪЕКТОВ ПРИ
ВЗРЫВНОМ ДРОБЛЕНИИ ФУНДАМЕНТОВ
И ОБРУШЕНИИ ЗДАНИЙ ПРИ РЕКОНСТРУКЦИИ

РТМ 36.22-91

МИНИСТЕРСТВО МОНТАЖНЫХ И СПЕЦИАЛЬНЫХ
СТРОИТЕЛЬНЫХ РАБОТ СССР

Москва 1991

Разработан Всесоюзным научно-исследовательским институтом гидромеханизации, санитарно-технических и специальных строительных работ - ВНИИТС (канд. техн. наук Л. М. Глозман, канд. техн. наук Н. А. Маковская, В. О. Изофов) и ордена Трудового Красного Знамени трестом Союзвзрывпром Минмонтажспецстроя СССР (докт. техн. наук И. З. Дроговейко, канд. техн. наук Н. И. Смолий, К. И. Дроговейко).

Утвержден НПО Спецпромстрой Минмонтажспецстроя СССР 20 декабря 1990 г.

РУКОВОДЯЩИЙ ТЕХНИЧЕСКИЙ МАТЕРИАЛ

ОПРЕДЕЛЕНИЕ КРИТИЧЕСКИХ ПАРАМЕТРОВ
КОЛЕБАНИЙ ОХРАНЯЕМЫХ ОБЪЕКТОВ ПРИ
ВЗРЫВНОМ ДРОБЛЕНИИ ФУНДАМЕНТОВ
И ОБРУШЕНИИ ЗДАНИЙ ПРИ РЕКОНСТРУКЦИИ

РТМ 36.22-91

Введен впервые

Срок введения установлен 1 февраля 1991 г.

Настоящий руководящий технический материал устанавливает критические параметры колебаний охраняемых объектов при взрывном дроблении фундаментов, обрушении зданий, валке труб в стесненных условиях при реконструкции.

Руководство составлено на основании «Технических правил ведения взрывных работ на дневной поверхности», «Нормативного справочника по буровзрывным работам», руководящих материалов по производству буровзрывных работ, СНиП 2.01.07-85, ГОСТ 25110-82, ВСН 490-87, РТМ 36.9-88.

1. ОБЩИЕ ПОЛОЖЕНИЯ

1.1. Специальные взрывные работы при реконструкции ведутся в сложных стесненных условиях действующего производства. Взрывные работы применяют: для дробления фундаментов, при обрушении зданий, кирпичных и железобетонных дымовых труб, водонапорных башен, градирен, при создании проемов в стенах и перекрытиях зданий и т.д.

1.2. Взрывные работы вблизи сооружений и подземных коммуникаций следует проектировать на основе:

имеющихся данных и результатов инженерно-геологических и гидрогеологических изысканий;

данных, полученных в результате обследования, и характеризующих конструктивные особенности и состояние существующих сооружений;

данных о параметрах колебаний грунта сооружений и подземных коммуникаций, вызываемых взрывными работами.

1.3. Взрывные работы сопровождаются динамическими воздействиями на охраняемые объекты в виде сейсмических и ударных воздушных волн.

1.4. Динамические воздействия при взрывных работах должны удовлетворять следующим требованиям:

для сооружений и подземных коммуникаций должна быть обеспечена их нормальная эксплуатация;

параметры колебаний должны быть допустимыми для чувствительных к колебаниям машин, оборудования и приборов;

параметры колебаний не должны превышать допустимых значений по санитарным нормам.

1.5. Параметры колебаний при взрывных работах прогнозируют, руководствуясь указаниями пп. 2.1, 2.2, и контролируют при производстве взрывных работ.

2. ТРЕБОВАНИЯ К ПРОЕКТИРОВАНИЮ БУРОВЗРЫВНЫХ РАБОТ ВБЛИЗИ ЗДАНИЙ И СООРУЖЕНИЙ С УЧЕТОМ ИХ СЕЙСМОБЕЗОПАСНОСТИ

2.1. Оценку опасности колебаний для зданий и сооружений по п. 1.4 можно не производить, если расстояние от места производства взрывных работ больше, чем приведенное в табл. 1.

Таблица 1

Вид взрывных работ

Минимально допустимые радиусы опасных зон, м

Валка зданий и сооружений

По проекту, но не менее 100

Дробление фундаментов (под укрытием)

По проекту, но не менее 100

Взрывные работы внутри цехов

По проекту

Если расстояние будет меньше, чем приведенное в табл. 1, необходимо собрать данные в соответствии с указаниями раздела и, исходя из требований п. 1.4, определить допустимые расстояния в соответствии с пп. 2.2 и 2.3.

2.2. Скорость колебаний грунта (бетона) при взрывах на расстоянии R вычисляют по формуле

                                                   (1)

где u - скорость колебаний грунта (бетона), см/с;

K - коэффициент сейсмичности (табл. 1);

D - коэффициент, зависящий от плотности заряжания шпура (скважины);

a - коэффициент, учитывающий снижение интенсивности сейсмических волн при увеличении заглубления фундамента;

β - степень экранизации сейсмических волн при использовании сейсмического экрана;

Qэ - эквивалентная масса мгновенно взрываемого заряда, кг;

R - минимальное расстояние от места взрыва до охраняемого объекта, м.

Таблица 2

Вид работы

K

n

a

β

Примечание

заглубленные > 0,6 м

наземные

с экраном

без экрана

Дробление фундаментов

100

1,5

2

1

2

1

равен отношению фактической массе заряда, которая была бы при полном заряжании шпура

Обрушение зданий

250

1,5

1

1

2

1

3. ОБСЛЕДОВАНИЕ ЗДАНИЙ И СООРУЖЕНИЙ И НАБЛЮДЕНИЯ ЗА СОСТОЯНИЕМ ПРИ ПРОЕКТИРОВАНИИ ВЗРЫВНЫХ РАБОТ

3.1. На стадии проектирования буровзрывных работ обследованию подлежат здания и сооружения на расстояниях, меньших, чем приведенных в табл. 1. Необходимо выявить здания и сооружения с приборами, машинами и оборудованием, чувствительными к колебаниям.

3.2. Обследование включает:

осмотр места производства взрывных работ;

визуальный осмотр зданий и сооружений (приложение 1);

первоначальное ознакомление с проектной документацией и исполнительными чертежами, актами на скрытые работы;

установление соответствия охраняемого объекта проекту, вида зданий, характеристики конструкций, типа фундаментов;

определение чувствительности машин и приборов, размещенных в охраняемых объектах, к колебаниям;

сбор данных об инженерно-геологических условиях площадки;

выявление видимых дефектов в охраняемых объектах, наличие трещин, протечек, отслоений защитного слоя в железобетонных элементах, коррозии металлических элементов, прогибов элементов, состояние стыков, сварных, болтовых и заклепочных соединений и т.д.

На основании обследования следует составить учетную карту на каждое здание и сооружение в соответствии с приложением 2.

3.3. На основании результатов обследования определяют:

класс ответственности зданий и сооружений по СНиП 2.01.07-85 (табл. 3);

группу зданий и сооружений по состоянию конструкций в зависимости от имеющихся в них деформаций;

общую оценку технического состояния зданий и сооружений (табл. 4);

группу грунтов оснований зданий (табл. 5);

допустимую скорость колебаний грунта оснований зданий и сооружений (табл. 6).

Таблица 3

Класс ответственности зданий и сооружений

Перечень объектов

I

Основные здания и сооружения объектов, имеющие особо важное народнохозяйственное и (или) социальное значение: главные корпуса ТЭЦ, АЭС, центральные узлы доменных печей, дымовые трубы высотой более 200 м, телевизионные башни, сооружения магистральной первичной сети ЕАСС, резервуары для нефти и нефтепродуктов вместимостью свыше 10 тыс. м3, крытые спортивные сооружения с трибунами, здания театров, кинотеатров, цирков, крытых рынков, учебных заведений, детских дошкольных учреждений, больниц, родильных домов, музеев, государственных архивов и т.д.

II

Здания и сооружения объектов, имеющие важное народнохозяйственное и (или) социальное значение (объекты промышленного, сельскохозяйственного, жилищно-гражданского назначения и связи, не вошедшие в I и III классы)

III

Здания и сооружения объектов, имеющие ограниченное народнохозяйственное и (или) социальное значение: склады без процессов сортировки и упаковки для хранения сельскохозяйственных продуктов, удобрений, химикатов, угля, торфа и др., теплицы, парники, одноэтажные жилые здания, опоры проводной связи, опоры освещения населенных пунктов, ограды, временные здания и сооружения

Таблица 4

Оценка технического состояния зданий и сооружений

Общая характеристика технического состояния

Физический износ, %

Хорошее

Повреждений и деформаций нет. Имеются отдельные, устраняемые при текущем ремонте, мелкие дефекты, не влияющие на эксплуатацию конструктивного элемента. Капитальный ремонт может производиться лишь на отдельных участках, имеющих относительно повышенный износ

0 - 20

Удовлетворительное

Конструктивные элементы в целом пригодны для эксплуатации, но требуют некоторого капитального ремонта, который наиболее целесообразен именно на данной стадии

21 - 40

Неудовлетворительное

Эксплуатация конструктивных элементов возможна лишь при условии значительного капитального ремонта

41 - 60

Плохое

Состояние несущих конструктивных элементов аварийное, а не несущих - весьма ветхое. Ограниченное выполнение конструктивными элементами своих функций возможно лишь по проведении охранных мероприятий или при полной смене конструктивного элемента

61 - 80

Таблица 5

Группа грунта

Грунты в основании сооружения (ГОСТ 25100-82)

Пески

Супеси

Суглинки и глины

Прочие грунты

I

Гравелистые крупные, средней крупности; плотные, средней плотности, маловлажные

Твердые

Твердые, полутвердые, тугопластичные

Любой насыпной

II

Мелкие, плотные, средней плотности, рыхлые, влажные, водонасыщенные

Пластичные

Мягкопластичные

Равномерной сжимаемости

III

Пылеватые, плотные, средней плотности, рыхлые, влажные, водонасыщенные

Текучие

Текучепластичные

Илы, торфы, неравномерно сжимаемые любого типа независимо от влажности

Таблица 6

Наименование объектов

Категория по состоянию

Описание дефектов

Группа грунтов основания

Допустимая скорость колебаний грунта, см/с, в зависимости от массы сооружения

1

2

3

Производственные и гражданские каркасные здания, стальные и железобетонные

I

В элементах каркаса повреждений нет. В ограждающих кирпичных стенах или стыках панелей местные трещины до 1 мм без признаков сдвига. Фундаменты без повреждений

1

5

7,5

12

2

3

5

10

3

1,5

3

5

II

В элементах каркаса имеются трещины до 0,5 мм. В стыках стен трещины до 1 мм, в ограждающих конструкциях 5 мм. Фундаменты с мелкими повреждениями в виде волосяных трещин

1

3

5

7,5

2

1,5

3

5

3

1,0

1,5

3

III

В элементах каркаса трещины свыше 1 мм. Трещины в стенах более 5 мм, в стыках стен до 5 мм с наличием смещения. Вертикальность массива фундамента нарушена. Заполнение свободно вынимается, раствор отсутствует, повреждения до 60 %

1

1,5

3

5

2

1,0

1,5

3

3

0,5

1,0

1,5

Бескаркасные здания с несущими стенами

I

В несущих стенах повреждений нет. В ограждающих кирпичных стенах и стыка панелей местные трещины до 1 мм без признаков сдвига. Фундаменты с мелкими повреждениями общим количеством до 20 %

1

3

5

7,5

2

2

3

5

3

1,0

2,0

3

II

В несущих конструкциях трещины до 0,5 мм. В стенах из кирпича и крупных блоков до 3 мм. Вертикальность массива фундамента нарушена, повреждения в размере 40 %

1

2

3

5

2

1

2

3

3

0,8

1

2

III

В несущих кирпичных стенах сквозные трещины до 5 мм со смещением трещин в углах проемов. Вертикальные трещины в местах сопряжения продольных и поперечных стен до 2 мм. В фундаментах повреждения массива свыше 60 %

1

0,5

1

2

2

0,3

0,5

1

3

0,2

0,3

0,5

3.4. При наличии в охраняемых зданиях приборов, машин и оборудования (в случае их неостановки) допустимая скорость колебаний грунта в основании работающих машин и приборов выбирается в зависимости от их класса (табл. 7, 8 и 9). Затем устанавливают допустимые массы зарядов и расстояния согласно требованиям раздела 2 настоящего РТМ.

Таблица 7

Класс машин и приборов

Характеристика машин и приборов

Скорость колебаний грунта в основании машин, см/с

при однократных взрывах

при многократных взрывах

I

Высокочувствительные

0,2

0,02

II

Среднечувствительные

1,5

0,25

III

Низкочувствительные

5

1,0

IV

Нечувствительные

7,5

2,5

Примечание. Классификация машин и приборов заимствована из ВСН 358-76/Минмонтажспецстрой СССР.

Таблица 8

Наименование объектов

Категория по состоянию

Описание дефектов

Группа грунтов основания

Допустимая скорость колебаний грунта, см/с, в зависимости от класса сооружения

1

2

3

Высокие жесткие сооружения, дымовые трубы

I

В железобетонных конструкциях местные трещины до 0,5 мм. Признаки сдвигов в заделках и стыках отсутствуют

1

2

2,3

4

2

1,2

1,5

2,5

3

0,5

0,8

1,2

II

В железобетонных конструкциях сооружений трещины до 0,5 мм, в стыках сборных железобетонных конструкций до 1 мм. В кирпичной кладке трещины до 2 мм. Фундаменты незначительно повреждены

1

0,8

1,5

2,5

2

0,5

0,8

1,5

3

0,4

0,8

1,2

III

В железобетонных конструкциях сооружений трещины до 1 мм. В кирпичной кладке трещины до 5 мм. Фундаменты имеют существенные повреждения в результате разрушения раствора и коррозии металла

1

0,6

0,8

1,0

2

0,5

0,6

0,8

3

0,4

0,5

0,6

Таблица 9

Класс машин и приборов по чувствительности к колебаниям

Наименование машин и приборов

I

Особо точные делительные машины и автоматы. Установки для выверки оптических приборов и градуировки точных измерительных приборов. Микроскопы и мессмикроскопы. Интерферометры, оптиметры и другие точные оптические приборы. Механические контрольно-измерительные приборы с допуском в несколько микрометров. Установки для динамической балансировки роторов и т.п.

II

Шлифовальные станки для шарикоподшипников, зубо- и резьбошлифовальные станки. Прецизионные фрезерные и токарные станки с допусками несколько сотых миллиметра; автоматы для точки лезвий бритв и другие точные автоматы

III

Токарные, фрезерные, сверлильные, шлифовальные и другие металлообрабатывающие станки обычного класса точности. Прядильные машины. Ткацкие станки. Типографские машины

IV

Вентиляторы, центрифуги. Электромоторы, штампы и прессы металлообрабатывающей промышленности. Долбежные станки, сотрясатели, вибростолы, виброгрохоты, рассевы и т.п.

3.5. Наблюдения за состоянием зданий следует проводить до начала, в процессе производства, а также по окончании взрывных работ.

4. ОСОБЕННОСТИ РАСЧЕТА СЕЙСМОБЕЗОПАСНЫХ УСЛОВИЙ ВЗРЫВАНИЯ ПРИ ДРОБЛЕНИИ ФУНДАМЕНТОВ

4.1. По типу сооружения и крепости фундаменты делятся на категории: I - кирпичные на известковом растворе; II - кирпичные на цементном или сложном растворе; III - бетонные без арматуры; IV - железобетонные.

4.2. При разрушении фундамента сразу на всю его высоту глубину шпуров принимают меньше высоты на 4 - 5 диаметров заряда.

4.3. Для послойного разрушения фундамента глубина вертикальных шпуров должна быть равна толщине каждого слоя за исключением последнего, в котором глубину шпуров принимают меньше толщины снимаемого слоя на 4 - 5 диаметров заряда.

4.4. При взрывании фундамента взрывом горизонтальных шпуровых зарядов расстояние между основанием фундамента и нижним рядом шпуров должно составлять 0,2 - 0,4 м.

4.5. При взрывном дроблении фундаментов заряд взрывчатого вещества в отличие от взрывов в грунте существенно приподнят над дневной поверхностью, что обуславливает существование двух типов волн, связанных с наличием двух источников излучения (заряд ВВ - волна напряжения; штамповый эффект - поверхностные волны).

4.6. Скорость смещения грунта в основании охраняемых сооружений определяется по формуле (1) при K = 100 и n = 1,5.

5. ОСОБЕННОСТИ СЕЙСМОБЕЗОПАСНОСТИ ПРИ ВЗРЫВНОМ ОБРУШЕНИИ СООРУЖЕНИЙ

5.1. Для обрушения зданий или сооружений взрывом образуют сквозной подбой по периметру наружных стен и других несущих элементов (колонн, внутренних капитальных стен и т.п.) в результате чего объект, лишенный опоры, падая на свое основание, разрушается.

5.2. Сейсмический эффект при взрывном обрушения обусловлен двумя источниками: удар о грунт больших масс сооружений, обрушаемых с определенной высоты, и собственно взрыв.

5.3. При падении сосредоточенного груза на грунт излучается такая же сейсмическая волна, как и при взрыве сосредоточенного заглубленного заряда, химическая энергия которого равна энергии груза при ударе о грунт.

5.4. Эквивалентная масса заряда при вертикальном падении груза (труба, коробка дома) определяется по формуле

                                                           (2)

где M - масса падающего груза, кг;

H - вертикальное перемещение центра тяжести груза, м;

g - ускорение свободного падения, м/с2;

u1 - энергия заряда, Дж/кг, u = 4,3·106 Дж/кг.

5.5. Скорость смещения грунта от удара больших масс в основании охраняемых объектов определяется по формуле (1) при K = 250 и n =1,5.

5.6. При обрушении сооружений с большой площадью эквивалентную массу заряда при расчете скорости колебания грунта определяют по формуле

                                                       (3)

где S - площадь обрушаемого сооружения, м2;

Qэ - эквивалентная масса.

5.7. При валке больших промышленных труб скорость смещения грунта на земной поверхности около участка конической трубы определяется по формуле

                                        (4)

где x - расстояние от центра основания трубы до этого участка, м (рис. 1);

r - расстояние от охраняемого объекта до участка трубы после падения, м;

H - высота трубы, м;

 - размеры трубы;

r - плотность материала трубы, кг/м3;

Рис. 1. Схема к расчету сейсмического эффекта при взрывном обрушении трубы.

5.8. Формула (4) справедлива при условии r < x, r < H - x.

5.9. При взрывании зарядов подбоя (второй источник излучаемых сейсмических волн) скорость колебаний определяется согласно п. 4.6.

5.10. Оценка интенсивности сейсмических волн при обрушении сооружений выполняется по каждому источнику. Безопасные режимы взрывания должны быть ориентированы на максимальное значение скорости смещения. Пример расчета сейсмобезопасных условий взрывания приведен в приложениях 3 и 4.

6. МЕРОПРИЯТИЯ ПО УМЕНЬШЕНИЮ ВРЕДНОГО ВЛИЯНИЯ ВЗРЫВНЫХ РАБОТ НА СОХРАННОСТЬ ЗДАНИЙ И СООРУЖЕНИЙ

6.1. Способы снижения сейсмического эффекта взрыва делятся на две группы: технологические способы (уменьшение массы заряда, изменение конструкции заряда и диаметра скважины, оптимальная ориентация взрываемой группы зарядов относительно охраняемого объекта, использование простейших типов ВВ) и инженерные мероприятия (сейсмические экраны и амортизационные устройства).

6.2. Технологические способы рассматриваются в РТМ 36.9-88.

6.3. Сейсмические экраны - выемки или среды с отличными от взрываемого массива акустическими свойствами на пути распространения сейсмических волн.

Для сохранения части взрываемой конструкции необходимо образовать щель предварительного откола путем взрыва контурных шпуров (скважин), набуренных с определенным шагом.

Эффективность экранирования определяется выражением

                                                       (5)

где r - расстояние от охраняемого объекта до взрываемого заряда, м (рис. 2);

μ - коэффициент, учитывающий влияние отношения l/H на степень экранизации;

l - глубина скважины, H - глубина экрана (табл. 9).

Рис. 2. Схема расположения заряда и щели предварительного откола:

1 - заряд ВВ; 2 - щель предварительного откола.

Таблица 9

l/H

0,3

0,6

0,8

1,2

1,4

1,6

μ

1,3

1,2

1,1

0,9

0,8

0,7

Для крепких скальных пород и высокопрочных бетонов μ > 13, для известняков и песчаников μ < 12.

6.4. При использовании окопки фундамента степень экранизации определяется, как

                                                     (6)

где r - дополнительное расстояние, которое проходит самый короткий сейсмический луч при огибании траншеи, м.

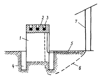
6.5. Для случая на рис. 3 степень экранизации определяется выражением

                                               (7)

где h - глубина траншеи.

Рис. 3. Схема окопки разрушаемого взрывом фундамента:

1 - фундамент; 2 - снимаемый взрывом слой; 3 - шпуровой заряд; 4 - траншея; 5 - луч распространяющейся сейсмической волны при отсутствии экрана; 6 - луч волны при окопке фундамента; 7 - охраняемый объект.

Рис. 4. Ситуация после взрыва трубы:

а - план; б - профиль по оси ОА; 1 - контур падения трубы; 2 - направление падения; 3 - поверхность после падения; I - V - песчаные валы; VI - VIII - деревянные платформы.

6.6. Средствами снижения сейсмического эффекта при падении больших масс являются амортизационные устройства, представляющие собой насыпи из песка или щебня, а также платформы (в виде настила из бревен или металлических балок) (рис. 4).

В случае если под местом падения груза находятся подземные коммуникации, высота песчаного вала определяется исходя из требования достаточного расстояния между местом падения и коммуникациями, чтобы скорость в охраняемой зоне не превышала критическую.

ПРИЛОЖЕНИЕ 1

Рекомендуемое

АКТ
ОБСЛЕДОВАНИЯ ЗДАНИЯ (СООРУЖЕНИЯ), РАСПОЛОЖЕННОГО В ЗОНЕ ПРОИЗВОДСТВА ВЗРЫВНЫХ РАБОТ

«____» ____________ 19___ г.

Мы, нижеподписавшиеся: представитель организации, эксплуатирующей здание (сооружение) ______________________________________________________________,

представитель заказчика _____________________________________________________,

представитель экспертной организации _________________________________________

___________________________________________________________________________

произвели визуальное обследование существующего здания (сооружения)*, построенного в (месяц, год) __________________________________________________.

В результате обследования установлено: _____________________________________

приводятся данные об этажности, высоте и размерах в плане, конструктивных особенностях и назначении здания (сооружения) и краткое описание конструкций: фундаментов с указанием типа, размеров и глубины их заложения, давления на грунт, стен и пола подземной части; несущих стен; перекрытий, перемычек; температурных швов, покрытий; инженерных коммуникаций и др., а также оборудования, чувствительного к колебаниям.

Выводы комиссии о необходимости проведения инструментального обследования прочности, отклонений зданий от проектного положения и т.п.

Представители: эксплуатационной организации                               (подпись)

                            заказчика                                                                    (подпись)

                            экспертов                                                                    (подпись)

* При обследовании необходимо использовать имеющуюся техническую документацию здания (сооружения).

ПРИЛОЖЕНИЕ 2

УЧЕТНАЯ КАРТОЧКА
ОХРАНЯЕМОГО ОБЪЕКТА

НАИМЕНОВАНИЕ ОБЪЕКТА ________________________________________________

___________________________________________________________________________

СИТУАЦИОННЫЙ ПЛАН ___________________________________________________

___________________________________________________________________________

ОБЩИЕ СВЕДЕНИЯ О СООРУЖЕНИИ:

назначение ______________________________________________________________

этажность _______________________________________________________________

несущие конструкции:

а) перекрытия _________________________________________________________

б) стены ______________________________________________________________

в) фундаменты _________________________________________________________

г) грунты основания ____________________________________________________

д) наличие подвала _____________________________________________________

НАЛИЧИЕ АНТИСЕЙСМИЧЕСКИХ МЕРОПРИЯТИЙ ___________________________

___________________________________________________________________________

ВРЕМЯ ПОСТРОЙКИ _______________________________________________________

КОММУНИКАЦИИ:

назначение ______________________________________________________________

глубина заложения _______________________________________________________

данные о трубопроводах ___________________________________________________

диаметр _________________________________________________________________

толщина _________________________________________________________________

время прокладки __________________________________________________________

НАЛИЧИЕ ПОВРЕЖДЕНИЙ:

а) до взрыва ______________________________________________________________

б) после взрыва ___________________________________________________________

в) принятые меры _________________________________________________________

ПРИЛОЖЕНИЕ 3

Рекомендуемое

РАСЧЕТ ПАРАМЕТРОВ КОЛЕБАНИЙ ГРУНТА ПРИ ОБРУШЕНИИ ЗДАНИЯ

Обрушению подлежит цех, расположенный на промплощадке завода. Размеры цеха в плане 18,8×24,6 м, высота наивысшей отметки 32,1 м, стены здания кирпичные. Объем обрушаемых конструкций составляет: кирпичных 1845 м3, железобетонных 422 м3, общая масса обрушаемых конструкций 4,3·106 кг.

Охраняемым объектом является одноэтажная компрессорная станция, отстоящая от цеха на расстоянии 40 м.

Согласно СНиП 2.01.07-85 (табл. 3) здание компрессорной относится к 3 классу. В несущих стенах повреждений нет. В ограждающих кирпичных стенах местные трещины до 1 мм, следы пережога. Фундаменты с мелкими повреждениями с общим количеством до 20 %. Категория по состоянию I. Грунты плотные (известняк доломитизированный, супесь тяжелая со щебнем известняка).

Из таблицы 6 - допустимая скорость для компрессорной станции - 7,5 см/с.

Для осуществления подбоя масса заряда ВВ составляет 110,5 кг.

По формуле 1 скорость колебаний грунта на расстоянии 40 м составляет 4,14 см/с, что ниже допустимого значения.

Сейсмический эффект от падения на грунт больших масс подсчитывается по формулам 1, 2, 3.

Эквивалентная масса заряда составляет 98 кг (при Н = 10 м, u1 = 4,3·106 Дж/кг, g = 9,8 м/с2).

Скорость смещения, подсчитанная по формуле 1 при K = 250, составляет 9,78 см/с, что выше допустимой.

Необходимо обрушать цех в два этапа. Взрывание короткозамедленное, время замедления 50 мс. При этом масса обрушаемых конструкций первой части цеха составляет 2,3·106 кг, второй - 2,0·106 кг, Qэ1 = 52,4 кг, Qэ2 = 45,58 кг. Скорость смещения, подсчитанная по формуле, составляет соответственно 7,15 см/с и 6,67 см/с, что ниже допустимых значений.

ПРИЛОЖЕНИЕ 4

РАСЧЕТ
БЕЗОПАСНЫХ УСЛОВИЙ ВЗРЫВАНИЯ ПРИ ОБРУШЕНИИ ТРУБЫ

Требуется выполнить направленное обрушение кирпичной дымовой трубы. Высота трубы 40 м. Наружный диаметр на уровне подбоя 3,8 м, толщина стен 0,9 м. Диаметр верха трубы 1,7 м, толщина 0,3 м. Масса трубы 220 т. Высота центра тяжести трубы 15 м. Уровень подбоя трубы 0,5 м над поверхностью грунта.

Общая масса зарядов подбоя во врубе Q1 = 3,6 кг.

I. Скорость смещения грунта в рассматриваемой точке при падении трубы определяется по формуле (4) при следующих исходных данных: x = 10 м; r = 18 м; Rн = 1,9 м;  = 1,0 м; Rв = 0,85 м;  = 0,55 м; r = 1600 кг/м3; g = 9,8 м/с2; u1 = 4,3·106 Дж/кг; H = 40 м. После соответствующих расчетов - u = 5,5 см/с.

II. Скорость колебаний грунта при взрыве зарядов подбоя определим по формуле 1 при K = 250, β = 1, a = 1 и Q = 3,6 кг на расстоянии . Согласно расчету она составит u =5,3 см/с.

Таким образом, в рассматриваемой точке сейсмический эффект от взрыва зарядов подбоя будет меньше, чем от падения на грунт обрушаемой части трубы.

СОДЕРЖАНИЕ

1. Общие положения. 1

2. Требования к проектированию буровзрывных работ вблизи зданий и сооружений с учетом их сейсмобезопасности. 2

3. Обследование зданий и сооружений и наблюдения за состоянием при проектировании взрывных работ. 2

4. Особенности расчета сейсмобезопасных условий взрывания при дроблении фундаментов. 5

5. Особенности сейсмобезопасности при взрывном обрушении сооружений. 5

6. Мероприятия по уменьшению вредного влияния взрывных работ на сохранность зданий и сооружений. 7

Приложение 1 Акт  обследования здания (сооружения), расположенного в зоне производства взрывных работ. 8

Приложение 2 Учетная карточка  охраняемого объекта. 9

Приложение 3 Расчет параметров колебаний грунта при обрушении здания. 9

Приложение 4 Расчет  безопасных условий взрывания при обрушении трубы.. 10

 

 




ГОСТЫ, СТРОИТЕЛЬНЫЕ и ТЕХНИЧЕСКИЕ НОРМАТИВЫ.
Некоммерческая онлайн система, содержащая все Российские Госты, национальные Стандарты и нормативы.
В Системе содержится более 150000 файлов нормативно-технической документации, действующей на территории РФ.
Система предназначена для широкого круга инженерно-технических специалистов.

Рейтинг@Mail.ru Яндекс цитирования

Copyright © www.gostrf.com, 2008 - 2026