Крупнейшая бесплатная информационно-справочная система онлайн доступа к полному собранию технических нормативно-правовых актов РФ. Огромная база технических нормативов (более 150 тысяч документов) и полное собрание национальных стандартов, аутентичное официальной базе Госстандарта. GOSTRF.com - это более 1 Терабайта бесплатной технической информации для всех пользователей интернета. Все электронные копии представленных здесь документов могут распространяться без каких-либо ограничений. Поощряется распространение информации с этого сайта на любых других ресурсах. Каждый человек имеет право на неограниченный доступ к этим документам! Каждый человек имеет право на знание требований, изложенных в данных нормативно-правовых актах!

  


 

ЦЕНТРАЛЬНЫЙ НАУЧНО-ИССЛЕДОВАТЕЛЬСКИЙ И ПРОЕКТНО-ЭКСПЕРИМЕНТАЛЬНЫЙ ИНСТИТУТ ОРГАНИЗАЦИИ, МЕХАНИЗАЦИИ
И ТЕХНИЧЕСКОЙ ПОМОЩИ СТРОИТЕЛЬСТВУ

ЦНИИОМТП

ТЕХНОЛОГИЧЕСКАЯ КАРТА
НА УСТРОЙСТВО КРОВЛИ
ИЗ ЦЕМЕНТНО-ПЕСЧА
НОЙ ЧЕРЕПИЦЫ

Москва 2001

СОГЛАСОВАНО:

Начальник Технического управления

АО «Моспромстрой»

____________ А.К. Готгельф

«__» ___________ 1998 г.

УТВЕРЖДАЮ:

Генеральный директор

АОЗТ ЦНИИОМТП

____________ П.П. Олейник

«__» _______ 1998 г.

В технологической карте рассмотрены вопросы устройства кровли из цементно-песчаной черепицы.

Рекомендована область применения, разработаны организация и технология производства работ, охрана труда и техника безопасности.

Технологическая карта может быть распространена на устройство кровель с применением различных видов цементно-песчаной черепицы.

Карта разработана по заданию Управления развития Генплана Правительства г. Москвы в АОЗТ ЦНИИОМТП сотрудниками Научно-производственного центра.

Ответственный исполнитель Колосков В.Н.

1. ОБЛАСТЬ ПРИМЕНЕНИЯ

1.1. Технологическая карта составлена на устройство кровли из цементно-песчаной черепицы.

1.2. Технологическая карта разработана в соответствии с руководством по разработке технологических карт в строительстве.

1.3. В качестве аналога принят четырехэтажный шестнадцатиквартирный жилой дом с размерами в плане 33,6´13,2 м (по осям).

1.4. Фасад здания и план крыши даны на рис. 1, 2.

Работы ведутся в летний период.

2. ТЕХНОЛОГИЯ И ОРГАНИЗАЦИЯ ВЫПОЛНЕНИЯ РАБОТ

2.1. До начала устройства кровли из цементно-песчаной черепицы должны быть выполнены организационно-подготовительные мероприятия в соответствии со СНиП 3.01.01-85 «Организация строительного производства».

2.2. Закончены все монтажные и сопутствующие работы, оформлены акты на скрытые работы в соответствии со СНиП 3.01.01-87 «Несущие и ограждающие конструкции».

2.3. Подготовительные работы включают:

проверку соблюдения проектных уклонов скатов кровли;

проверку правильности устройства обрешетки;

сортировку и отбраковку цементно-песчаной черепицы, устранение на ней мелких дефектов, заготовку половинок и т.д.

2.4. Уклон скатов кровли из цементно-песчаной черепицы определяется климатическими условиями зоны, видом черепицы и принимают равным от 50 до 100 % (27° - 45°).

2.5. Для черепичной кровли применяют различную цементно-песчаную черепицу.

Виды цементно-песчаной черепицы и схемы укладки даны на Рис. 3 - 6.

2.6. Основанием для цементно-песчаной черепицы служит обрешетка из жердей или брусков сечением 50´50 мм, прибиваемых к стропилам параллельно коньку на равных расстояниях один от другого. Это расстояние между верхними гранями брусков должно быть равным полезной (кроющей) части черепицы. Для каждого вида цементно-песчаной черепицы свой шаг обрешетки (Рис. 7, 8).

2.7. Цементно-песчаную черепицу хранят и доставляют рассортированной в контейнерах на дощатых подкладках и уложенной на ребро.

2.8. Подачу контейнера с отсортированной цементно-песчаной черепицей к месту укладки подают автомобильным краном КС-35714К. Контейнер устанавливают на инвентарную площадку (возок).

Схема организации работ при устройстве черепичной кровли представлена на Рис. 9.

2.9. По карнизу укладывают доски шириной 140 - 150 мм, с защитой по карнизному краю уравнительной рейкой.

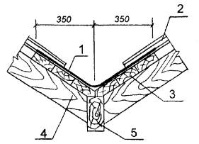
2.10. Разжелобки покрывают кровельной сталью (или морозостойкой резиной с продольными желобками), укладываемой на сплошные участки из досок.

Схема устройства разжелобка дана на Рис. 10.

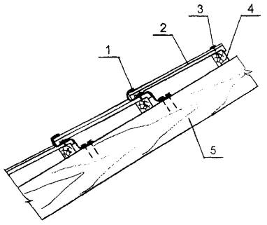
2.11. Цементно-песчаную пазовую двойную черепицу укладывают только в один слой.

2.12. Крышу начинают покрывать от фронтона со свеса кровли по направлению к коньку. Устройство покрытия обычно начинают справа налево (если смотреть с земли).

Укладку цементно-песчаной черепицы производят с передвижных ходовых мостиков, которые укладывают по длине ската и закрепляют за коньковый брус.

2.13. Поперечные ряды плоской ленточной цементно-песчаной черепицы на скате выкладывают вразбежку, т.е. со смещением черепиц в смежных рядах. Все нечетные ряды выкладывают из цельных черепиц, а четные ряды начинают и заканчивают половинками. Черепицу укладывают в трех - четырех рядах одновременно.

Поперечные ряды волнистой и пазовой двойной черепицы см. Рис. 7, 8.

2.14. Каждую укладываемую в кровлю черепицу закрепляют медной проволокой или гвоздями, шурупами, кляммерами в зависимости от вида черепицы.

Схема крепления цементно-песчаной пазовой двойной черепицы представлена на Рис. 11.

2.15. Конек крыши покрывают цементно-песчаной коньковой черепицей. Виды коньковой черепицы см. Рис. 6. Коньковую черепицу укладывают на цементно-известковом растворе так, чтобы ее края покрывали прилегающие к коньку рядовые черепицы не менее чем на 40 - 60 мм.

2.16. Коньковую черепицу укладывают в том же направлении, в каком ведут укладку на скате.

2.17. Коньковую черепицу крепят к коньковому брусу гвоздями из нержавеющей стали или привязывают проволокой к гвоздям, забитым в стропила, обрешетку.

2.18. Через три - четыре месяца после покрытия крыши черепицей, все поперечные швы со стороны чердака промазывают известковым раствором с добавлением в него волокнистых материалов (очесов, пакли и т.д.).

2.19. При устройстве прохода через черепичную кровлю радио-, теле- и телефонных стоек сверлят отверстие Æ40 мм при помощи твердосплавных сверл с победитовым или алмазным наконечником.

Схема устройства прохода через черепичную кровлю дана на Рис. 12.

2.20. Там, где через крышу проходит дымовентиляционный стояк, обрешетку пропиливают так, чтобы наружная горячая поверхность стояка была отделена от элементов крыши воздушными прослойками. Концы обрешетки закрепляют поперечными ригелями.

Схема устройства прохода дымовентиляционного стояка через черепичную кровлю дана на Рис. 13, 14.

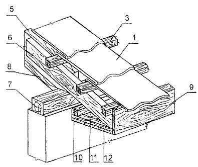
Схема устройства мансардной крыши с черепичной кровлей и схема устройства карниза при черепичной кровле (без водостока) дана на Рис. 15.

2.21. Потребность в машинах, механизмах, инструменте, инвентаре и приспособлениях приведены в Табл. 1.

Таблица 1

Код

Наименование

Тип, марка, ГОСТ

Техническая характеристика

Назначение

Кол-во на звено (бригаду), шт.

1.

Кран автомобильный

КС-35714К

Грузоподъемность - 16 т

Стрела телескопическая - 8 - 18 м

Подача материалов на крышу

1

2.

Строп

4СК1-6,3 ГОСТ 25573-82

Грузоподъемность - 6,3 т

То же

1

3.

Контейнер

-

-

Подача и хранение черепицы

4

4.

Возок, трап

-

Изготавливается по месту

Работы по устройству черепичной кровли

2

5.

Кельма

ГОСТ 9533-81

Масса - 0,34 кг

Для разравнивания раствора

2

6.

Клещи строительные

ГОСТ 14184-83

Масса - 0,39 кг

Разные работы

2

7.

Молоток-кирочка

Типа МКИ ГОСТ 11042-90

Масса - 0,63 кг

Околка и теска черепицы

2

8.

Молоток столярный

Типа МСТ-2 ГОСТ 11042-90

Масса - 0,49 кг

Разные работы

2

9.

Плоскогубцы

ГОСТ 7236-93

Масса - 0,23 кг

То же

2

10.

Кусачки (острогубцы)

ГОСТ 28032-89Е

Масса - 0,26 кг

Перекусывание проволоки

2

11.

Ножницы

ГОСТ 7210-75Е

Масса - 0,7 кг

Резка листовой стали

1

12.

Напильник плоский

ГОСТ 1465-80

Масса - 0,1 кг

Разные работы

2

13.

Рашпиль плоский

-

Масса - 1,0 кг

То же

1

14.

Линейка измерительная

ГОСТ 427-75*

-

Измерение линейных размеров

2

15.

Рулетка измерительная металлическая

Длина 2 - 3 м

-

То же

2

16.

Пояс монтажный

ГОСТ 12.4.089-86

Масса не более 2,1 кг

Предохранение работающих на высоте от падения

2

17.

Каска строительная

ГОСТ 12.4.087-84

Масса - 0,4 кг

Техника безопасности

На бригаду

18.

Рукавицы строительные

ГОСТ 12.4.010-75

-

Защита рук

То же

ФАСАД

Рис. 1.

ПЛАН КРЫШИ

Рис. 2.

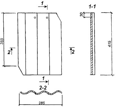
ПЛОСКАЯ ЛЕНТОЧНАЯ ЧЕРЕПИЦА

Примечание

Масса 1 м2 покрытия в насыщенном водой состоянии - 41 кг.

Рис. 3.

ВОЛНИСТАЯ ЛЕНТОЧНАЯ ЧЕРЕПИЦА

Примечание

Масса 1 м2 покрытия в насыщенном водой состоянии - 35 кг.

Рис. 4.

ПАЗОВАЯ ЛЕНТОЧНАЯ ДВОЙНАЯ ЧЕРЕПИЦА

Примечание

Масса 1 м2 покрытия в насыщенном водой состоянии, кг:

при кассетной технологии - 36;

при вибропрокатной технологии - 36,4.

Рис. 5.

КОНЬКОВАЯ КРУГЛАЯ ЧЕРЕПИЦА

КОНЬКОВАЯ УГЛОВАЯ ЧЕРЕПИЦА

Рис. 6.

СХЕМА УКЛАДКИ ЛЕНТОЧНОЙ ЧЕРЕПИЦЫ ПРИ УСТРОЙСТВЕ ДВУХСЛОЙНОЙ КРОВЛИ

СХЕМА УКЛАДКИ ЛЕНТОЧНОЙ ЧЕРЕПИЦЫ ПРИ УСТРОЙСТВЕ ДВУХСЛОЙНОЙ КРОВЛИ ТИПА «БОБРОВЫЙ ХВОСТ»

Рис. 7.

СХЕМА УКЛАДКИ ВОЛНИСТОЙ ЛЕНТОЧНОЙ ЧЕРЕПИЦЫ

СХЕМА УКЛАДКИ ПАЗОВОЙ ДВОЙНОЙ ЧЕРЕПИЦЫ

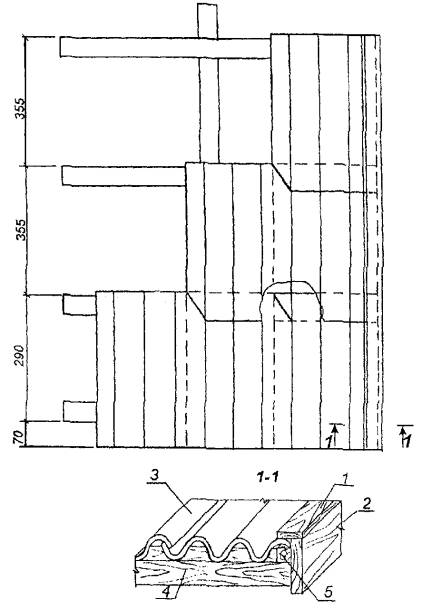
1 - прижимная доска; 2 - ветровая доска; 3 - черепица; 4 - обрешетка;

5 - уравнительная планка.

Рис. 8.


СХЕМА ОРГАНИЗАЦИИ РАБОТ ПРИ УСТРОЙСТВЕ ЧЕРЕПИЧНОЙ КРОВЛИ

1 - кран автомобильный КС-3571; 2 - стропильная нога; 3 - обрешетка; 4 - инвентарная площадка для приема материала; 5 - рабочие ходы; 6 - черепица пазовая ленточная двойная; 7 - направление укладки черепицы; 8 - граница опасной зоны вблизи строящегося здания.

 - рабочие места кровельщиков

Рис. 9.


СХЕМА УСТРОЙСТВА РАЗЖЕЛОБКА

1 - морозостойкая резина с продольными желобками для стока воды или кровельная оцинкованная сталь; 2 - цементно-песчаная черепица; 3 - сплошные участки обрешетки; 4 - стропильная нога; 5 - продольный брус.

Рис. 10.

СХЕМА КРЕПЛЕНИЯ ЧЕРЕПИЦЫ

1 - деталь крепления черепицы; 2 - черепица пазовая ленточная двойная; 3 - гвоздь (шуруп); 4 - обрешетка; 5 - стропильная нога.

ДЕТАЛЬ КРЕПЛЕНИЯ

Рис. 11.

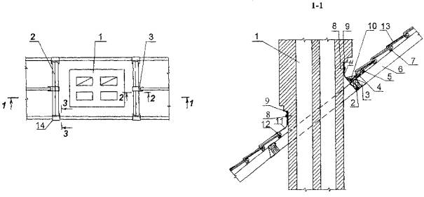
СХЕМА УСТРОЙСТВА ПРОХОДА ЧЕРЕЗ ЧЕРЕПИЧНУЮ КРОВЛЮ РАДИО-, ТЕЛЕ- И ТЕЛЕФОННЫХ СТОЕК

1 - труба стоечная; 2 - кольцо; 3 - копыто; 4 - лист резиновый; 5 - коньковый брус; 6 - коньковая черепица; 7 - цементный раствор; 8 - черепица пазовая ленточная двойная; 9 - болт с гайкой; 10 - хомут для крепления стойки.

Рис. 12.

СХЕМА УСТРОЙСТВА ПРОХОДА ДЫМОВЕНТИЛЯЦИОННОГО СТОЯКА ЧЕРЕЗ ЧЕРЕПИЧНУЮ КРОВЛЮ

1 - дымовентиляционный стояк; 2 - ригель; 3 - металлический хомут (МИ-1); 4 - доски; 5 - подкладочный брусок; 6 - стропильная нога; 7 - обрешетка; 8 - дюбель; 9 - мастика; 10 - крепежный брусок треугольного очертания; 11 - оцинкованная кровельная сталь; 12 - гвоздь; 13 - цементно-песчаная черепица; 14 - металлический хомут (МИ-2).

Примечание

Разрез 2-2, 3-3 см. на рис. 14.

Рис. 13.

1 - ригель; 2 - стропильная нога; 3 - металлический хомут (МИ-1); 4 - металлический хомут (МИ-2).

Рис. 14.

СХЕМА УСТРОЙСТВА МАНСАРДНОЙ КРЫШИ С ЧЕРЕПИЧНОЙ КРОВЛЕЙ

СХЕМА УСТРОЙСТВА КАРНИЗА ПРИ ЧЕРЕПИЧНОЙ КРОВЛЕ

1 - черепица; 2 - переходные бруски; 3 - обрешетка; 4 - верхняя стропильная нога; 5 - нижняя стропильная нога; 6 - кобылка; 7 - мауэрлат; 8 - упорный брус; 9 - лобовая доска; 10 - продольный брусок; 11 - поперечный брусок; 12 - подшивка из досок.

Рис. 15.

3. ТРЕБОВАНИЯ К КАЧЕСТВУ И ПРИЕМКЕ РАБОТ

3.1. В процессе подготовки и выполнения кровельных работ проверяют:

качество поставляемой цементно-песчаной черепицы;

готовность конструктивных элементов для выполнения кровельных работ;

правильность выполнения всех примыканий к выступающим конструкциям.

3.2. Приемка кровли должна сопровождаться тщательным осмотром ее поверхности, особенно у водоотводящих лотков, в разжелобках и местах примыканий к выступающим конструкциям над крышей.

3.3. Выполненная кровля из цементно-песчаной черепицы должна удовлетворять следующим требованиям:

иметь заданные уклоны;

не иметь видимых просветов в покрытии при осмотре из чердачных помещений.

3.4. Обнаруженные при осмотре кровли производственные дефекты должны быть исправлены до сдачи здания в эксплуатацию.

3.5. Приемка готовой кровли должна быть оформлена актом с оценкой качества работ.

3.6. При приемке выполненных работ подлежит освидетельствованию актами скрытых работ:

примыкание кровли к выступающим частям вентшахт, антенн, растяжек, стоек и т.д.;

устройство кровли из цементно-песчаной черепицы.

3.7. Требования к качеству кровли и предметы контроля приведены в Табл. 2.

Таблица 2

Код

Наименование процессов и конструкций, подлежащих контролю

Технические характеристики оценки качества

Предмет контроля

Способ контроля

Время проведения контроля

Ответственный за контроль

Подготовительные работы

 

Устройство кровли из цементно-песчаной черепицы

Соответствие проекту

Расстояние между элементами обрешетки

Рулетка измерительная

В процессе работ

Мастер

Между контрольной рейкой и обрешеткой допускается один просвет не более 5 мм

Ровность обрешетки

Контрольная рейка длиной 1 м

То же

Мастер

Цементно-песчаная черепица: геометрические размеры, качество, трещины, коробление и т.д.

Визуально. Линейка измерительная

До укладки черепицы

Мастер

Кровля из цементно-песчаной черепицы

 

 

Соответствие проекту

Отсутствие видимых просветов в покрытии при осмотре кровли из чердачных помещений

Визуально

В процессе работ

Мастер

4. КАЛЬКУЛЯЦИЯ ЗАТРАТ ТРУДА И МАШИННОГО ВРЕМЕНИ

Таблица 3

Код

Наименование технологических процессов

Единица измерения

Объем работ

Обоснование (ЕНиР и др. нормы)

Норма времени

Затраты труда

рабочих, чел.-ч

машиниста, чел.-ч (маш.-ч)

рабочих, чел.-ч

машиниста, чел.-ч (маш.-ч)

1.

Устройство обрешетки

100 м2 ската

6,5

ЕНиР 1990 г. § Е6-9 Табл. 2, № 1г

13,5

-

87,75

-

2.

Покрытие разжелобков кровельной сталью

1 м

230

ЕНиР 1987 г. § Е7-6, № 4а

0,35

-

80,5

-

3.

Покрытие карнизных свесов кровельной сталью

1 м

93,6

ЕНиР 1987 г. § Е7-6, №

0,17

-

15,9

-

4.

Устройство настенных желобов

1 м

93,6

ЕНиР 1987 г. § Е7-6, № 5а

0,18

-

16,8

-

5.

Устройство кровельного покрытия из цементно-песчаной черепицы

м2

650

ЕНиР 1979 г. § Е7-5, №

0,71

-

461,5

-

6.

Обделка примыканий к вытяжным трубам

1 шт.

2

ЕНиР 1987 г. § Е7-6, № 14а

0,55

-

1,1

-

7.

Подача материалов на крышу

100 т

2,4

ЕНиР 1987 г. § Е1-5, № 1

22,0

11,0

52,8

26,4

Итого

716,35

26,4


5. ГРАФИК ПРОИЗВОДСТВА РАБОТ

Таблица 4

Продолжительность процесса - 17 дней.


6. ВЕДОМОСТЬ ПОТРЕБНОСТИ В МАТЕРИАЛАХ, ИЗДЕЛИЯХ И КОНСТРУКЦИЯХ НА 100 м2 КРОВЛИ

Таблица 5

Код

Наименование материалов, изделий

Исходные данные

Потребность на измеритель конечной продукции

Обоснование нормы расхода

Единица измерения по норме

Норма расхода

1.

Цементно-песчаная черепица: пазовая ленточная двойная

Данные ЦНИИЭП граждансельстроя

шт.

9,7 на 1 м2

970 шт.

волнистая ленточная

шт.

11,5 на 1 м2

1150 шт.

плоская ленточная

шт.

29,41 на 1 м2

2941 шт.

коньковая круглая

шт.

40 на 1 м2

40 шт.

2.

Раствор цементно-известковый

СНиП часть IV глава IV-Б.8 § 1

м3

0,27 на 100 м3

0,27 м3

3.

Доски

м3

0,54 на 100 м2

0,54 м3

4.

Бруски

м3

0,95 на 100 м2

0,95 м3

5.

Гвозди строительные

кг

8 на 100 м2

8 кг

6.

Сталь кровельная листовая оцинкованная

т

0,02 на 100 м2

0,02 т

7. ТЕХНИКА БЕЗОПАСНОСТИ И ОХРАНА ТРУДА, ЭКОЛОГИЧЕСКАЯ И ПОЖАРНАЯ БЕЗОПАСНОСТЬ

7.1. Кровельные работы необходимо выполнять в соответствии с требованиями СНиП III-4-80* «Техника безопасности в строительстве» и ГОСТ 12.3.040-86 «Строительство. Работы кровельные и гидроизоляционные. Требования безопасности».

7.2. устройству кровельных работ допускаются лица не моложе 18 лет, прошедшие обучение безопасным методам и приемам выполнения этих работ, получившие соответствующие удостоверения и прошедшие, инструктаж на рабочем месте. Внеочередной инструктаж по технике безопасности проводится при переводе рабочих-кровельщиков с одного типа кровель на другой, при изменении условий производства работ, нарушений бригадой правил и инструкций по технике безопасности.

7.3. Допуск рабочих к выполнению кровельных работ разрешается только после осмотра прорабом или мастером совместно с бригадиром исправности и целостности несущих конструкций покрытий и ограждений.

7.4. Не допускается выполнение кровельных работ во время гололеда, тумана, исключающего видимость в пределах фронта работ, грозы и ветра скоростью 15 м/с и более.

7.5. Руководители строительной организации своевременно оповещают специализированное подразделение, ведущее кровельные работы, о резких изменениях погоды (ураганном ветре, грозе, снегопаде и т.п.).

7.6. Все лица, находящиеся на строительной площадке, обязаны носить защитные каски. При выполнении работ на крышах с уклоном более 20° рабочие должны применять предохранительные пояса. Места закрепления поясов указываются мастером.

7.7. Материалы на покрытие необходимо подавать в технологической последовательности, обеспечивающей безопасность работ. При подаче кровельных материалов на покрытие кранами строповку грузов следует выполнять только инвентарными стропами. Элементы и детали кровель, в том числе защитные фартуки, звенья водостоков, сливы и т.д. необходимо подавать на рабочее место в заготовленном виде. Заготовка этих элементов и деталей непосредственно на крышах не допускается.

7.8. Размещать материалы на крышах допускается только в местах, предусмотренных проектом производства работ, с принятием мер против их падения, в том числе от воздействия ветра.

7.9. Во время перерывов в работе технологические приспособления, инструмент и материалы должны быть закреплены или убраны с крыши.

7.10. К зонам постоянно действующих опасных производственных факторов относятся:

кровельное скатное покрытие с углом наклоном более 20°;

участок подачи и приема кровельных материалов.

7.11. Зоной потенциально действующих опасных производственных факторов является участок территории строительной площадки, расположенной по периметру здания, на кровле которого ведутся работы.

7.12. При работе на кровлях с уклоном более 20°, а также на мокрых и покрытых инеем кровлях, кровельщики должны быть снабжены переносными рабочими ходами шириной не менее 30 см с нашитыми планками. Верхний конец рабочих ходов снабжают металлическими крючками или простейшим дощатым упором для зацепления за коньковый брус.

7.13. При складировании на крыше цементно-песчаной черепицы необходимо принять меры по предупреждению сползания их по скату и падения, а также сдувания ветром. С этой целью необходимо применять различные переносные возки, рамки и площадки для приема грузов.

7.14. Запрещается:

ходить по черепичным кровлям;

заготавливать на крыше элементы кровли;

устраивать колпаки дымовых труб и другие элементы с приставных лестниц;

сбрасывать с крыши остатки цементно-песчаной черепицы.

7.15. В отношении пожарной безопасности производство работ по устройству крыш должны быть организовано в соответствии с требованиями СНиП 2.01.02-85 «Противопожарные нормы» и «Правил пожарной безопасности при производстве строительно-монтажных работ».

7.16. При возникновении на рабочих местах пожара необходимо тушить его с применением огнетушителей.

7.17. При несчастных случаях, происшедших в результате аварии, все операции по эвакуации пострадавших, оказанию первой медицинской помощи, доставке (при необходимости) в лечебное учреждение кровельщик выполняет под руководством мастера (прораба).

8. ТЕХНИКО-ЭКОНОМИЧЕСКИЕ ПОКАЗАТЕЛИ НА 100 м2 КРОВЛИ

Нормативные затраты труда рабочих, чел.-ч...................................110,2

Нормативные затраты машинного времени, маш.-ч.......................4,1

Продолжительность выполнения работ, смена................................2,6

Выработка на одного рабочего в смену, м2......................................7,2

СОДЕРЖАНИЕ

 

 




ГОСТЫ, СТРОИТЕЛЬНЫЕ и ТЕХНИЧЕСКИЕ НОРМАТИВЫ.
Некоммерческая онлайн система, содержащая все Российские Госты, национальные Стандарты и нормативы.
В Системе содержится более 150000 файлов нормативно-технической документации, действующей на территории РФ.
Система предназначена для широкого круга инженерно-технических специалистов.

Рейтинг@Mail.ru Яндекс цитирования

Copyright © www.gostrf.com, 2008 - 2026