Крупнейшая бесплатная информационно-справочная система онлайн доступа к полному собранию технических нормативно-правовых актов РФ. Огромная база технических нормативов (более 150 тысяч документов) и полное собрание национальных стандартов, аутентичное официальной базе Госстандарта. GOSTRF.com - это более 1 Терабайта бесплатной технической информации для всех пользователей интернета. Все электронные копии представленных здесь документов могут распространяться без каких-либо ограничений. Поощряется распространение информации с этого сайта на любых других ресурсах. Каждый человек имеет право на неограниченный доступ к этим документам! Каждый человек имеет право на знание требований, изложенных в данных нормативно-правовых актах!

  


 

СТАНДАРТ ПРЕДПРИЯТИЯ

КОНСТРУКЦИЯ И ТЕХНОЛОГИЯ
СООРУЖЕНИЯ ТРАНШЕЙНЫХ СТЕН В
ГРУНТЕ ДЛЯ ОБЪЕКТОВ ТРАНСПОРТНОГО
СТРОИТЕЛЬСТВА

СТП 014-2001

КОРПОРАЦИЯ «ТРАНССТРОЙ»

МОСКВА
2001

ПРЕДИСЛОВИЕ

1. РАЗРАБОТАН Научно-исследовательским центром «Тоннели и метрополитены» ОАО ЦНИИС (инж. И.М. Малый), Корпорацией «Трансстрой», Научно-технической ассоциацией ученых и специалистов транспортного строительства.

2. ВНЕСЕН Научно-техническим управлением Корпорации «Трансстрой».

3. ПРИНЯТ И ВВЕДЕН В ДЕЙСТВИЕ Корпорацией «Трансстрой» распоряжением от 29.01.2001 г. № ПН-15

4. СОГЛАСОВАН Управлением по строительству тоннелей и метрополитенов УС «Тоннельметрострой» (№ 22-5/6 от 24.01.2001 г.), Управлением проектирования объектов транспорта «Транспроект» (№ 12-01-05/64 от 24.01.2001 г.) Корпорации «Трансстрой», Ассоциацией «Ассодстройметро» (№ АСМ-ГД-5/07 от 25.01.2001 г.).

СОДЕРЖАНИЕ

1. Область применения

2. Нормативные ссылки

3. Общие положения

4. Проектирование стены в грунте

Исходные данные и изыскания

Состав проекта

Основные расчетные требования

5. Типовые конструкции стен

Стены из монолитного железобетона

Стены из сборного железобетона

Сборно-монолитные стены

6. Строительные растворы и смеси

Глинистые растворы

Тампонажные растворы

Бетонные смеси

7. Производство работ по сооружению стен в грунте

Устройство форшахты

Разработка траншей

Заполнение траншей монолитным железобетоном

Заполнение траншей сборными железобетонными элементами

8. Контроль качества и приемка работ

9. Техника безопасности при производстве работ

10. Охрана окружающей среды

Приложение А Машины и оборудование для устройства траншейных стен в грунте

Приложение Б Классификация глинопорошков для приготовления тиксотропных растворов крепления стенок траншей

Приложение В Методика лабораторных работ при подборе составов тиксотропных глинистых растворов. Приборы и оборудование

Приложение Г Составы тампонажных растворов

Приложение Д Журнал  разработки траншеи при ведении работ методом «стена в грунте»

Приложение Е АКТ  комиссионного освидетельствования металлокаркасов для армирования конструкций стен в грунте

Приложение Ж Журнал  контроля качества глинистого раствора (суспензии)

Приложение И Журнал  бетонирования при ведении работ методом «стена в грунте»

Приложение К Сводная таблица контроля технологических операций при сооружении траншейной стены в грунте

Приложение Л АКТ №_____ Освидетельствования и приемки участка стены в грунте

Приложение М Литература

СТП 014-2001

СТАНДАРТ ПРЕДПРИЯТИЯ

Конструкция и технология сооружения траншейных стен в грунте для объектов транспортного строительства

Введен впервые

Утвержден и введен в действие распоряжением Корпорации «Трансстрой» от 20.01.2001, № ПН-15

Дата введения 01 марта 2001 г.

1. Область применения

Стандарт распространяется на типовые конструктивные решения и технологию сооружения траншейных стен в грунте, используемых в качестве несущего элемента постоянной конструкции* и (или) ограждения котлована** при строительстве железнодорожных и автодорожных тоннелей, метрополитенов, коллекторов, фундаментов и подземных частей зданий, подпорных стен, других заглубленных объектов транспортного назначения.

* Далее по тексту употребляется термин «несущие стены»

** Далее по тексту употребляется термин «ограждающие стены»

2. Нормативные ссылки

В настоящем СТП использованы ссылки на следующие нормативные документы:

СНиП II-12-77. Защита от шума.

СНиП II-23-81*. Стальные конструкции.

СНиП III-44-77. Тоннели железнодорожные, автодорожные и гидротехнические. Метрополитены.

СНиП III-4-80*. Техника безопасности в строительстве.

СНиП 1.02.07-87. Инженерные изыскания для строительства.

СНиП 2.01.07-85. Нагрузки и воздействия.

СНиП 2.03.01-84*. Бетонные и железобетонные конструкции.

СНиП 2.03.11-85. Защита строительных конструкций от коррозии.

СНиП 3.01.01-85*. Организация строительного производства.

СНиП 3.01.04-87. Приемка в эксплуатацию законченных строительством объектов. Основные положения.

СНиП 3.02.01-87*. Земляные сооружения. Основания и фундаменты.

СНиП 3.03.01-87*. Несущие и ограждающие конструкции.

СНиП 3.06.04-91. Мосты и трубы.

СНиП 3.09.01-83. Производство сборных железобетонных конструкций и изделий.

СНиП 12-03-99. Безопасность труда в строительстве. Часть 1. Общие требования.

СНиП 32-04-97. Тоннели железнодорожные и автодорожные.

Пособие по проектированию метрополитенов, 1992 г.

Правила безопасности при строительстве метрополитенов и подземных сооружений. 1992 г.

ГОСТ 380-88. Сталь углеродистая обыкновенного качества. Марки.

ГОСТ 969-91. (СТ СЭВ 6826-89). Цементы глиноземистые и высокоглиноземистые. Технические условия.

ГОСТ 5781-82. Сталь горячекатаная для армирования железобетонных конструкций.

ГОСТ 6727-80*. Проволока из низкоуглеродистой стали, холоднотянутая для армирования ж.-б. конструкций.

СНиП 2.02.01-83*. Основания зданий и сооружений

ГОСТ 7348-81. Проволока из углеродистой стали для армирования предварительно-напряженных железобетонных конструкций.

ГОСТ 7473-94. Смеси бетонные. Технические условия.

ГОСТ 8239-89 (СТ СЭВ 2209-80). Двутавры стальные горячекатаные. Сортамент.

ГОСТ 8240-89 (СТ СЭВ 2210-80). Швеллеры стальные горячекатаные. Сортамент.

ГОСТ 8267-93. Щебень и гравий из шлаков черной и цветной металлургии для бетонов. Технические условия.

ГОСТ 8736-85. Песок для строительных работ. Технические условия.

ГОСТ 10060.1-95. Бетоны. Базовый метод определения морозостойкости.

ГОСТ 10178-85. Портландцемент и шлакопортландцемент. Технические условия.

ГОСТ 10180-90 (СТ СЭВ 3978-83). Бетоны. Методы определения прочности по контрольным образцам.

ГОСТ 10181.1-81. Смеси бетонные. Методы определения удобоукладываемости.

ГОСТ 10181.2-81. Смеси бетонные. Методы определения плотности.

ГОСТ 10181.3-81. Смеси бетонные. Методы определения пористости.

ГОСТ 10690-74*. Калий углекислый технический (поташ). Технические условия.

ГОСТ 10704-91. Трубы стальные.

ГОСТ 10884-94. Сталь арматурная, термомеханически упрочненная для железобетонных конструкций. Технические условия.

ГОСТ 12730.5-84*. Бетоны. Методы определения водонепроницаемости.

ГОСТ 13078-81. Стекло натриевое жидкое. Технические условия.

ГОСТ 16504-81. Качество продукции. Контроль и испытания. Основные термины и определения.

ГОСТ 17624-87. Бетоны. Ультразвуковой метод определения прочности.

ГОСТ 18105-86*. Бетоны. Правила контроля прочности.

ГОСТ 19903-74*. Прокат листовой.

ГОСТ 22236-85*. Цементы. Правила приемки.

ГОСТ 22266-76. Цементы сульфатостойкие. Технические условия.

ГОСТ 22685-89. Форма для изготовления контрольных образцов бетона. Технические условия.

ГОСТ 22690-88. Бетоны. Определение прочности механическими методами неразрушающего контроля.

ГОСТ 23616-79*. Система обеспечения точности геометрических параметров в строительстве. Контроль точности.

ГОСТ 23732-79. Вода для бетонов и растворов. Технические условия.

ГОСТ 23735-79. Смеси песчано-гравийные для строительных работ. Технические условия.

ГОСТ 24211-91. Добавки для бетонов. Классификация.

ГОСТ 25192-82*. Бетоны. Классификация и общие технические требования.

ГОСТ 26020-83. Двутавры стальные горячекатаные с параллельными гранями. Сортамент.

ГОСТ 26633-91. Бетоны тяжелые и мелкозернистые. Технические условия.

ГОСТ 26871-86. Материалы вяжущие гипсовые. Правила приемки, упаковка, транспортирование и хранение.

ГОСТ 27006-86. Бетоны. Правила подбора состава.

ГОСТ 28570-90 (СТ СЭВ 3978-83). Бетон. Методы определения прочности по образцам, отобранным из конструкции.

ГОСТ 30515-97. Цементы. Общие технические условия.

ГОСТ 12.1.003-83. ССБТ - Шум. Общие требования безопасности.

ГОСТ 12.3.010-82. Тара производственная. Требования безопасности при эксплуатации.

3. Общие положения

3.1. Настоящий СТП разработан в развитие СНиП III-44-77, Пособия по проектированию метрополитенов (1992 г.), СНиП 32-04-97, СНиП 3.02.01-87*, СНиП 3.03.01-87*.

3.2. Наряду с настоящим СТП при проектировании и производстве работ по сооружению траншейных стен в грунте следует руководствоваться указаниями соответствующих глав СНиП и ГОСТ РФ по разд. 2. настоящего СТП, а также нормативных документов органов государственного управления и надзора и ведомственных нормативных документов.

3.3. Сооружение стены в грунте включает проходку траншеи под защитой тиксотропного глинистого или иного раствора, заполнение траншеи монолитным или сборным железобетоном при вытеснении или твердении раствора.

3.4. Способ «стена в грунте» следует, как правило, применять в нескальных грунтах (пески, супеси, суглинки, глины), когда при помощи тиксотропного раствора обеспечивается устойчивость вертикальных стенок траншеи.

К геологическим условиям, в которых применение способа «стена в грунте» затруднено или невозможно, относятся: подземные воды с большим напором, неустойчивые грунты текучей консистенции, крупнообломочные грунты и грунты с крупными включениями естественного или искусственного происхождения (валуны, обломки железобетонных плит, отходы металлургического производства и т.п.), неустойчивые площадки (карст, оползни, подрабатываемые территории).

При наличии соответствующего оборудования для проходки траншеи и технико-экономическом обосновании возможно сооружение стены в грунте с заглублением в скальный массив или в грунтах с твердыми включениями.

3.5. Стену в грунте наиболее целесообразно применять в сложных инженерных и гидрогеологических условиях, при строительстве в непосредственной близости от зданий и сооружений, с заглублением в водоупорный слой грунта. При необходимости, водоупор может быть образован с поверхности инъекционными методами.

3.6. Применение несущих стен в грунте в качестве постоянной конструкции транспортных тоннелей и сооружений метрополитена без устройства гидроизоляции не допускается. Ограждения котлованов, постоянные подпорные конструкции и подземные части зданий, выполняемые по способу «стена в грунте», допускается создавать без устройства дополнительной гидроизоляции.

3.7. На стадии строительства заглубленного сооружения открытым способом стену в грунте следует использовать в качестве ограждения котлована, раскрепляя ее при необходимости грунтовыми анкерами, расстрелами, подкосами. Рекомендуется включать стены в состав конструкции постоянного сооружения в качестве несущего элемента.

3.8. Для каждого конкретного объекта применение стены в грунте должно быть обосновано технико-экономическими расчетами для сравнения возможных вариантов строительства.

4. Проектирование стены в грунте

Исходные данные и изыскания

4.1. Для проектирования стены в грунте необходимы следующие исходные данные:

· генеральный план участка территории, отведенной под строительную площадку, с нанесенными коммуникациями, контурами прилегающих зданий и сооружений, а также отметками их заложения;

· характеристики конструкции прилегающих коммуникаций, зданий и сооружений, их фундаментов, а также нагрузки, передаваемые ими на основание;

· результаты инженерно-геологических изысканий по всей трассе (площадке) строительства;

· ТЭО (обоснование инвестиций).

4.2. Инженерно-геологические изыскания следует выполнять в соответствии с требованиями СНиП 1.02.07-87 и Инструкции по инженерно-геологическим изысканиям ВСН 190-78 [1].

Отчет по инженерно-геологическим изысканиям должен содержать:

¨ разрезы и буровые колонки, включающие все грунтовые прослойки и напластования, мощности слоев и их наклон;

¨ количественную и качественную оценку встречаемых твердых включений и скальных пород;

¨ физико-механические характеристики грунтов, в том числе плотность, угол внутреннего трения, сцепление, коэффициент пористости, степень влажности, коэффициент фильтрации, модуль деформации, коэффициент Пуассона; кроме того для песчаных грунтов - гранулометрический состав, для глинистых - показатель текучести, для скальных - предел прочности на сжатие;

¨ данные об уровнях и режимах подземных вод (с учетом сезонных колебаний), степень их агрессивности.

4.3. Инженерно-геологические изыскания для проектирования и сооружения несущих стен должны быть проведены на глубину не менее 1,5Н + 5 м, где Н - глубина заложения подошвы стен.

4.4. При наличии в непосредственной близости от проектируемой стены в грунте зданий и сооружений необходимо проводить обследования состояния их конструкций, оснований и фундаментов для учета и оценки возможных деформаций от разработки траншеи и раскрытия котлована. В необходимых случаях следует обеспечить укрепление оснований и фундаментов таких сооружений.

Состав проекта

4.5. Проектная документация по сооружению стен в грунте должна содержать оптимальные конструктивно-технологические решения, выявленные в результате расчета и сравнения технико-экономических показателей вариантов, включая:

· пояснительную записку с расчетом и обоснованием принятых проектных решений;

· детальные рабочие чертежи конструкции стен;

· проект производства работ, разработанный в соответствии со СНиП 3.01.01-85*.

4.6. Для контроля за применяемыми технологиями и качеством сооружения стен в грунте в состав проекта производства работ должен входить Технологический регламент (Карта) с изложением последовательности и методов выполнения работ (операций), требований по технике безопасности, схем операционного контроля, а также состав руководящего и контролирующего персонала. Технологический регламент сооружения стен в грунте должен быть согласован с генподрядчиком и заказчиком строящегося объекта. К разработке технологического регламента и к авторскому надзору при выполнении работ по этому регламенту следует привлекать специализированную научно-исследовательскую организацию.

4.7. Поскольку технология сооружения стен в грунте и применяемое оборудование могут существенно влиять на конструктивные решения, рабочая документация должна, как правило, разрабатываться одновременно с проектом производства работ. Если разрабатывается только рабочая документация (конструктивная часть), то в ее составе должны содержаться основные положения по производству работ.

4.8. Проект производства работ по сооружению стен в грунте, кроме общестроительных, должен содержать следующие разделы:

¨ состав и параметры глинистого или иного раствора для крепления стенок траншеи, технология его приготовления, подачи, очистки и регенерации;

¨ конструкция и устройство форшахты;

¨ разбивка траншеи на заходки и порядок их разработки;

¨ заполнение траншеи монолитным или сборным железобетоном, омоноличивание стыков и застенного пространства для стен из сборных элементов;

¨ мероприятия по обеспечению производства работ в зимнее время;

¨ техника безопасности

Основные расчетные требования

4.9. Конструкции стен и их основания должны удовлетворять требованиям расчета по прочности, несущей способности и устойчивости (предельные состояния первой группы), а также по пригодности к нормальной эксплуатации, предупреждая чрезмерное раскрытие трещин или недопустимые деформации (предельные состояния второй группы) в соответствии со СНиП 2.03.01-84* и СНиП 2.02.01-83*.

4.10. Расчет по предельным состояниям конструкции в целом, а также отдельных ее элементов должен производиться как для стадии строительства, так и на период эксплуатации в качестве постоянной несущей или временной ограждающей конструкции. Расчет для стадии строительства должен учитывать этапы производства работ, включая поярусную разработку грунта, установку крепления, устройство лотковой части.

4.11. Расчеты стен и их оснований должны проводиться на наиболее неблагоприятные сочетания нагрузок и воздействий при соответствующих коэффициентах перегрузки согласно требованиям СНиП 2.01.07-83 и СНиП 2.02.01-83* с учетом совместной работы с временными и постоянными элементами конструкции подземного сооружения: анкерами, распорками, лотковой частью, перекрытиями, сводом.

4.12. Все расчеты стен и их оснований должны выполняться с использованием расчетных значений характеристик грунтов с учетом возможности изменения гидрогеологических условий в процессе строительства и эксплуатации.

4.13. Для монолитных стен в грунте расчетные сопротивления бетона на осевое сжатие и растяжение для предельных состояний первой группы Rb и Rbt в соответствии со СНиП 2.03.01-84* снижаются путем умножения на коэффициент условий работы бетона gb3 = 0,7, учитывающий способ бетонирования в вертикальном положении под глинистым раствором.

Расчетные сопротивления бетона стен из сборных железобетонных элементов заводского изготовления следует принимать по СНиП 2.03.01-84* без дополнительного снижения.

4.14. Результаты расчетов элементов сборных стен на стадиях изготовления, транспортирования и монтажа следует сравнить с соответствующими результатами статического расчета стены на стадии строительства и в период эксплуатации.

4.15. Для всех типов стен в грунте минимально необходимая глубина заложения определяется статическим расчетом и расчетами устойчивости, исходя из совместной работы сооружения и основания. При расчете устойчивости положения коэффициент надежности должен быть не менее 1,2.

4.16. Расчет стен и их оснований по деформациям выполняют с целью ограничения перемещений такими пределами, при которых гарантируются нормальная эксплуатация сооружения исходя из условия S £ Su, где S - максимальная величина горизонтального или вертикального перемещения стены или основания, определяемая расчетом; Su - предельная величина перемещения стены, устанавливаемая в задании на проектирование по условиям эксплуатации.

4.17. При назначении предельной величины перемещений стен и их оснований необходимо учитывать возможные деформации расположенных в непосредственной близости зданий, сооружений и коммуникаций на стадиях возведения стен и их эксплуатации как подпорных конструкций.

4.18. Расчеты стен по раскрытию трещин и по деформациям допускается не выполнять, если практикой применения аналогичных конструкций или опытной проверкой установлено, что раскрытие в них трещин не превышает допустимых значений и жесткость конструкций стен, укрепленных предварительно-напряженными анкерами, временными распорками или постоянными перекрытиями, достаточна для всех стадий строительства и эксплуатации.

5. Типовые конструкции стен

5.1. Использование траншейных стен в грунте позволяет, изменяя расположение отдельных захваток, возводить различные сооружения прямолинейного, криволинейного, ломаного или замкнутого очертания.

5.2. Толщину и армирование стен следует определять расчетом в зависимости от конструктивной схемы и назначения сооружения. При этом должна учитываться ширина рабочего органа оборудования, применяемого для разработки траншеи. Основные типоразмеры такого оборудования приведены в приложении А.

Рис. 5.1. Варианты контрфорсных «стен в грунте»:

1 - ребро жесткости; 2 - стена; 3 - буронабивная свая

Рис. 5.2 Принципиальные конструктивные решения стыков монолитной стены в грунте

5.3. Стены в грунте, используемые в качестве подпорных, могут быть свободностоящими (консольного типа), а также подкрепленными распорными конструкциями или грунтовыми анкерами. Высота консольной части стены не должна, как правило, превышать 6 - 8 м.

5.4. Для повышения жесткости и несущей способности конструкции устраивают стену с контрфорсами, выполняемыми в виде прямоугольных ребер жесткости или примыкающих буронабивных свай, которые располагаются с расчетным шагом вдоль стены (рис. 5.1). При этом конфигурация форшахты должна соответствовать контуру стены.

5.5. При строительстве в водонасыщенных грунтах для окончательного назначения глубины стен, с целью обеспечения производства работ в котловане без применения водопонижения и водоотлива или сокращения их объема, следует рассмотреть технико-экономическую целесообразность заглубления стен в водоупорный слой (в скальные грунты, пластичные и плотные глины не менее чем на 0,5 ... 1 м, в мягкопластичные суглинки и глины - на 1 ... 1,5 м).

5.6. При залегании водоупорного слоя ниже расчетной отметки подошвы стены (до 5 ... 7 м), в тех случаях, когда это обосновано технико-экономическим и прочностным расчетами, допускается устройство нижней части стены в виде противофильтрационной диафрагмы из твердеющего материала или низкомарочного бетона с врезкой в водоупорный слой.

5.7. При заглублении стен в водоупорный слой следует в соответствии с указаниями СНиП 2.02.01-83* и Пособия по проектированию оснований зданий и сооружений [7] проверять расчетом возможность прорыва напорными водами водоупорного слоя.

5.8. Для объектов метрополитена, транспортных тоннелей и других заглубленных сооружений, когда стены в грунте используются как несущие, целесообразно взамен временных анкеров или расстрелов использовать на стадии строительства для обеспечения устойчивости стен элементы сборных или монолитных постоянных сводов, балочных перекрытий с разработкой грунта в котловане полузакрытым способом.

5.9. Анкерное крепление стен в грунте в один или несколько ярусов следует, как правило, устраивать в следующих случаях:

· при широких котлованах (ширина более 20 м);

· при ширине котлована более 10 м, когда в силу особенностей конструктивного решения могут быть использованы только временные расстрелы, требующие перекрепления.

5.10. Конструкцию и технологию устройства анкеров следует выбирать по результатам технико-экономического сравнения вариантов с учетом нагрузок на анкеры, гидрогеологических условий строительной площадки и уточнять по результатам пробных испытаний, выполняемых в комплексе проектно-изыскательских работ. Анкеры допускается устанавливать во всех грунтах, за исключением рыхлых песков, торфов, глин текучей консистенции, просадочных грунтов. Проектирование и устройство анкеров следует выполнять в соответствии с Руководством по проектированию и технологии устройства анкерного крепления в транспортном строительстве [6].

Стены из монолитного железобетона

5.11. Траншейные стены в грунте предусматриваются, как правило, с вертикальным членением на отдельные секции, бетонируемые в захватках траншеи последовательно или через одну. Объем секции, как правило, не более 60 ... 80 м3.

5.12. Для обеспечения совместной работы секций должны быть предусмотрены соответствующие конструктивные решения их стыков и монолитная обвязка по верху стены с непрерывным горизонтальным армированием. Конструкция и технология устройства стыков секций устанавливаются проектом в зависимости от назначения и конструктивных особенностей стен (рис. 5.2). Нерабочие (конструктивные) стыки должны противодействовать взаимному сдвигу секций в поперечном направлении и выполняются без перепуска и соединения арматуры смежных захваток.

Конструкция рабочего стыка должна обеспечить восприятие растягивающих усилий и совместную работу секций стены для чего необходимо предусмотреть соединение рабочей арматуры соседних секций.

5.13. Конструкция и технология устройства стыков отдельных секций должна соответствовать требованиям по водонепроницаемости стен в целом. Для обеспечения водонепроницаемости стыков возможны следующие типовые решения:

¨ применение противофильтрационных элементов из профильной резины или из металла, устанавливаемых перед бетонированием на границе смежных захваток;

¨ заполнение конструктивных шпонок между секциями по вибронабивной технологии в соответствии с ВСН 488-86 [3];

¨ применение стационарных ограничителей, остающихся в теле бетона и снабженных противофильтрационными элементами;

¨ повышение темпов и качества укладки за счет применения напорного бетонирования и виброуплотнения улучшает сцепление нового и старого бетона соседних секций, препятствуя образованию плотной глинистой корки по их торцам.

5.14. При устройстве в несущих стенах в грунте деформационных швов их следует располагать с шагом, предусмотренным проектом, в стыках соответствующих секций, а их конструкция должна учитывать требования по водонепроницаемости.

Рис. 5.3. Конструкция арматурных каркасов:

1 - рабочая арматура; 2 - направляющие; 3 - места установки бетонолитных труб

Рис. 5.4. Арматурные каркасы стен в грунте:

1 - неизвлекаемые ограничители; 2 - стержневой каркас; 3 - лист металлической изоляции

5.15. Для конструкций стен в грунте необходимо применять тяжелый конструкционный бетон плотной структуры ГОСТ 25192-82* на цементном вяжущем по ГОСТ 26633-91, имеющий заданные проектом показатели по классу прочности на сжатие, определяемые по ГОСТ 18105-86*, а также марки по морозостойкости и водонепроницаемости, определяемые по ГОСТ 10060.1-95 и ГОСТ 12730.5-84*.

5.16. Бетон для конструкций монолитных стен в грунте должен, как правило, иметь класс по прочности на сжатие не ниже В20, марку по водонепроницаемости не ниже W6, марку по морозостойкости не ниже F100. При укладке методом вертикально перемещающейся трубы (ВПТ) используют бетон проектного класса до В25 (СНиП 3.03.01-87*).

Проектные значения классов и марок бетона определяются в зависимости от типа стен и условий работы конструкции.

5.17. В бетоне конструкций стен в грунте не допускаются непробетонированные места, включения грунта и глинистого раствора, уменьшение толщины защитного слоя и обнажение арматуры, холодные швы, а также трещины, за исключением поверхностных усадочных.

5.18. Армирование монолитных стен выполняют пространственными каркасами (рис. 5.3) длиной на 200 ... 300 мм менее глубины траншеи, шириной на 100 ... 150 мм менее длины захватки, толщиной на 60 ... 150 мм менее ширины траншеи. Толщина защитного слоя бетона для рабочей арматуры стен при отсутствии грунтовых вод должна быть не менее диаметра рабочей арматуры и не менее 30 мм. Для постоянных конструкций, работающих в агрессивных средах, толщина защитного слоя бетона и толщина каркаса, должны назначаться с учетом требований СНиП 2.03.11-85.

5.19. При глубине траншеи более 10 - 12 м каркас может состоять из отдельных блоков стыкуемых по высоте при опускании в траншею. Стык арматурных блоков должен устраиваться сваркой выпусков продольной арматуры с обеспечением равнопрочности. Длину блоков следует назначать, избегая размещения стыков в зонах максимальных расчетных усилий. Число типоразмеров арматурных каркасов и составляющих их блоков должно быть минимально возможным.

5.20. Каркасы должны обладать достаточной жесткостью, исключающей возможные деформации при их транспортировке и подъеме в вертикальное положение. Жесткость каркаса достигается введением в его состав диагональных поперечных связей или прокатных профилей.

5.21. В качестве элементов каркаса следует преимущественно применять:

· горячекатаную арматуру класса А-II и А-III по ГОСТ 5781-82 и термически упрочненную стержневую свариваемую арматуру классов Ат-III; Ат-IV по ГОСТ 10884-94 для рабочей стержневой арматуры;

· горячекатаную арматуру классов А-II и А-I по ГОСТ 5781-82 для поперечной конструктивной и монтажной арматуры;

· двутавры стальные горячекатаные по ГОСТ 8239-89 (СТ СЭВ 2209-80) и ГОСТ 26020-83; швеллеры стальные горячекатаные по ГОСТ 8240-89 (СТ СЭВ 2210-80) при балочно-арматурных каркасах (рис. 5.4 а) в качестве жесткой арматуры и не извлекаемых ограничителей;

· элементы стальных труб по ГОСТ 10704-91 для закладных и ограничителей (рис. 5.4 б);

· горячекатаный листовой и фасонный прокат из углеродистой стали по ГОСТ 380-88* для закладных деталей;

· проволоку по ГОСТ 6727-80*.

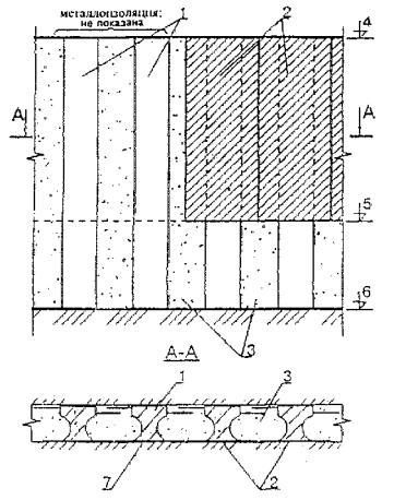
5.22. При использовании стен в качестве несущих в водонасыщенных грунтах, в тех случаях когда это обосновано технико-экономическим расчетом, допускается облицовка внутренней стороны каркаса металлическими листами толщиной 6 ... 10 мм по ГОСТ 19903-74, служащими для гидроизоляции сооружения. Металлическую изоляцию допускается учитывать при расчете конструкции в качестве листовой арматуры при жестком соединении с армокаркасом и заанкеривании в бетон. Для обеспечения сплошности такой изоляции стыки листов соседних каркасов по мере разработки грунта со стороны котлована следует соединять между собой на сварке или посредством накладок.

5.23. Конструкция и расположение элементов каркаса не должны препятствовать полному замещению раствора поднимающейся бетонной смесью при ее укладке и предотвращать образование непробетонированных полостей в узлах.

5.24. Расстояние между стержнями каркаса следует подбирать по расчету стены с учетом степени удобоукладываемости бетонной смеси и структурной прочности глинистого раствора. Для бетонных смесей с осадкой конуса 18 ... 24 см расстояние между продольными стержнями рабочей арматуры должно быть, как правило, не менее 150 мм, расстояние между поперечными стержнями - не менее 150 мм и не более 20 диаметров рабочей арматуры, но не более 500 мм. Следует избегать размещения поперечной арматуры и закладных деталей в зоне действия максимального изгибающего момента [8].

5.25. Для сокращения стоимости конструкции целесообразно устраивать арматурные каркасы с размещением рабочей арматуры преимущественно в растянутой зоне и распределением ее площади в соответствии с эпюрой изгибающих моментов. Стороны такого каркаса следует маркировать для правильной установки в траншею.

Рис 5.5 Устройство сопряжения стены в грунте с лотком:

1 - армокаркас; 2 - извлекаемый закладной элемент; 3 - лоток

Рис. 5.6. Конструкция панелей для сборных стен в грунте:

а) плоская стеновая панель; б) многопустотная стеновая панель; в) ребристые стеновые панели и блоки из них.

1 - выпуски арматуры; 2 - монтажные петли; 3 - закладные детали.

Рис. 5.7. Типы сечений несущих элементов (стоек) для сборных стен в грунте:

а) тавровое сечение; б) прямоугольное (коробчатое) сечение, в) двутавровое сечение

Рис. 5.8. Примеры конструкций сборных стен:

1 - несущая панель; 2 - несущая стойка; 3 - промежуточная панель; 4 - твердеющий тампомажный раствор

5.26. Внутри каркасов должны быть предусмотрены вертикальные проемы с направляющими для установки бетонолитных труб. При длине захватки до 4 м принимается один проем в середине каркаса, при длине захватки 4 ... 6 м - два проема.

5.27. В необходимых случаях в составе каркаса следует предусматривать закладные детали и горизонтальные проемы для пропуска грунтовых анкеров в соответствии со схемой их установки.

5.28. Для обеспечения точной установки каркаса в траншее и требуемой толщины защитного слоя бетона по бокам каркаса не менее чем в трех вертикальных осях и через 3 ... 4 м по длине, следует крепить направляющие (салазки) из стальной полосы шириной 30 ... 50 мм или специальные катки на горизонтальных осях. В верхней части каркас должен иметь поперечные стержни или балки, при помощи которых он подвешивается на форшахте после опускания в траншею.

5.29. Сопряжения лотка, свода либо перекрытия с монолитными железобетонными стенами могут выполняться в виде свободно опирающихся конструкций с устройством штраб в бетонируемой стене, либо в виде жестких соединений. Для образования штраб к каркасу крепятся специальные извлекаемые закладные элементы (рис. 5.5).

Жесткое соединение элементов реализуется при помощи металлических закладных деталей или выпусков арматуры, соединяемых сваркой. При установке армокаркаса в траншею арматурные выпуски должны быть отогнуты заподлицо с каркасом и защищены соответствующими извлекаемыми закладными элементами.

Стены из сборного железобетона

5.30. Стены в грунте, как несущие, так и ограждающие, могут сооружаться из сборных железобетонных элементов заводской готовности, представляющих собой плоские, многопустотные или ребристые панели (рис. 5.6), а также стойки таврового, двутаврового, прямоугольного сплошного сечения (рис. 5.7). Возможны другие конструкции сборных стен, отличающиеся типом панелей или стоек, способами их соединения и закрепления в траншее. Некоторые типовые конструкции сборных стен приведены на рис. 5.8.

5.31. Разбивку стен на сборные элементы осуществляют в соответствии с конструктивной схемой сооружения. Габаритные размеры сборных элементов назначаются проектом в зависимости от глубины стен, ширины траншеи, результатов расчета на стадиях изготовления, транспортирования, монтажа и эксплуатации и от принятой технологии работ. Следует учитывать грузоподъемность имеющихся монтажных кранов и транспортных средств.

5.32. Допускаемые отклонения от проектных размеров сборных элементов должны назначаться в соответствии с требованиями государственных стандартов на сборные железобетонные конструкции, а для нестандартизованных конструкций - в соответствии с требованиями технических условий на их изготовление.

5.33. Для сокращения общей длины стыков стеновые панели следует принимать максимально возможной ширины, как правило, в пределах 1000 ... 3500 мм.

Толщина стенового элемента должна обеспечивать зазор со стенкой траншеи не менее 6 ... 100 см в зависимости от формы поперечного сечения и технологии работ.

Длину стеновых элементов следует назначать, как правило, не более 15 ... 18 м. При устройстве сборных стен большой глубины стеновые элементы выполняют составными по длине.

5.34. В случае конструкции сборной стены в грунте, состоящей из несущих стоек, обеспечивающих устойчивость конструкции, и промежуточных стеновых панелей, допускается использовать панели уменьшенной длины по сравнению со стойками. При этом промежуточные панели должны быть заглублены в грунт ниже дна котлована не менее чем на 1 м.

5.35. Для облегчения стеновых панелей их целесообразно изготовлять в виде многопустотных или ребристых объемных блоков. Ребристые панели устраиваются преимущественно с одним (тавровое сечение) или двумя продольными ребрами. Поперечные ребра нежелательны как затрудняющие распространение омоноличивающего раствора. Стеновые панели могут выполняться с постоянной или переменной по высоте толщиной.

5.36. Сборные элементы следует изготовлять из бетона класса прочности на сжатие не ниже В25 для несущих стен и В20 для ограждающих. Армируют их по расчету в соответствии с требованиями СНиП с учетом всех видов нагрузок, возникающих от момента распалубки до стадии эксплуатации.

5.37. Арматурный каркас сборных элементов формируется из объемных блоков или плоских сеток, необходимых закладных и накладных деталей для пропуска тяг грунтовых анкеров, а также для соединения элементов между собой и с внутренними конструкциями. Составляющие каркаса соответствуют приведенным в п. 5.21 настоящего СТП. Диаметр арматурных стержней, к которым приваривают закладные детали, должен быть не меньше 8 мм.

5.38. К каркасу должны крепиться строповочные петли для транспортировки и складирования - на боковой поверхности, для опускания в траншею и подвески на форшахте - на верхнем торце элемента.

5.39. В зависимости от назначения стены в грунте и инженерно-геологических условий сборные элементы могут быть снабжены гидроизоляцией, например металлической, закрепленной на внутренней поверхности. Ее стальные листы, жестко соединенные с армокаркасом, рекомендуется учитывать при расчете конструкции в качестве листовой арматуры.

Рис. 5.9. Пример устройства рабочего стыка панелей из сборного железобетона:

1 - панель; 2 - тампонажный раствор; 3 - закладные детали; 4 - накладки; 5 - бетон; 6 - набрызг-бетон

Рис. 5.10. Примеры устройства нерабочих стыков панелей из сборного железобетона:

а, б, в, г - простые стыки; д, е, ж, з - стыки с взаимной фиксацией панелей; и - цилиндрический стык

Рис. 5.11. Принципиальная схема сборно-монолитной стены:

1 - стеновой блок; 2 - металлическая изоляция; 3 - бетонное заполнение; 4 - отметка верха стены; 5 - отметка дна котлована; 6 - отметка низа стены; 7 - контур траншеи

Рис. 5.12. Сборно-монолитная конструкция стены в грунте:

1 - железобетонная панель; 2 - тампонажный раствор; 3 - монолитная часть из пластичного бетона; 4 - водоупор

5.40. Конструкции стыков сборных элементов стены в грунте должны соответствовать ее назначению, условиям статической работы и принятой расчетной схеме сооружения.

5.41. Рабочий (равнопрочный со стеновыми панелями) стык следует устраивать для постоянных несущих стен, когда в стыках их элементов имеют место растягивающие напряжения. Такие стыки выполняются, как правило, открытыми клинообразными. Рабочая арматура наружной и внутренней сеток смежных элементов соединяется при помощи накладок и закладных деталей (рис. 5.9). Суммарная площадь сечения накладок должна быть не менее площади сечения рабочей арматуры. Рабочие стыки заделываются изнутри сооружения по мере разработки грунта котлована.

5.42. Нерабочий (конструктивный) стык устраивается без соединения арматуры смежных элементов. Такие стыки (рис. 5.10) могут быть простыми и с взаимной фиксацией, без омоноличивания или с омоноличиванием цементным раствором, нагнетаемым через цилиндрические пазы по торцам панелей.

5.43. Требования по водонепроницаемости стыков сборных элементов соответствуют приведенным в п. 5.13 настоящего СТП. Дополнительно к приведенным в п. 5.13 типовым конструктивно-технологическим решениям рекомендуется:

· устройство открытых стыков с внутренней стороны сооружения при их омоноличивании или заделке набрызгбетоном по мере разработки грунта;

· использование листовых накладок, привариваемых к закладным деталям сплошным швом и перекрывающих стык;

· применение эластичных трубчатых оболочек, заполняемых твердеющим составом.

5.44. Омоноличивание сборных элементов в траншее с заполнением пазух и стыков следует осуществлять твердеющими тампонажными растворами или бетонной смесью. Вид и состав раствора назначаются в соответствии с принятой технологией работ и исходя из условия обеспечения проектной прочности и водонепроницаемости. Состав и свойства тампонажных растворов должны соответствовать требованиям разд. 6 настоящего СТП.

В отдельных случаях для заполнения пазух допускается применение гравийно-песчаного материала.

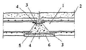
Сборно-монолитные стены

5.45. Конструкция сборно-монолитных железобетонных стен состоит из несущих стеновых элементов, устанавливаемых в траншее с определенными интервалами, и монолитного заполнения между ними из бетона или цементно-песчаного раствора, армированного в случае необходимости облегченными каркасами (рис. 5.11).

5.46. При глубоком расположении водоупорного слоя грунта допускается устройство стен смешанной конструкции, состоящих в верхней части из несущих сборных элементов, образующих стены подземного сооружения, а в нижней части (до расположения водоупорного слоя грунта) монолитных (рис. 5.12). Сборные элементы должны быть заглублены в бетонную, монолитную часть сооружения не менее чем на 0,5 ... 1 м. Монолитную нижнюю часть стены, выполняющую роль противофильтрационной завесы и основания сборных элементов, устраивают, как правило, из тощего бетона класса прочности на сжатие не выше В15 с добавками бентонитовых глин.

5.47. Для обеспечения гидроизоляции несущих стен, устраиваемых в обводненных грунтах, стеновые элементы могут иметь с внутренней стороны металлическую изоляцию из стального листа с выпусками для соединения с аналогичной изоляцией смежных элементов (рис. 5.13). Для обеспечения качества и точности соединения выпусков этой изоляции, используемой в качестве листовой арматуры, применяют замковые устройства (рис. 5.14).

5.48. Металлическую изоляцию, используемую в качестве листовой арматуры, выполняют, как правило, из стальных листов толщиной 6 ... 10 мм. Отдельные листы объединяют между собой накладками на сварке.

При проектировании и возведении сборно-монолитных стен в грунте с листовой арматурой следует учитывать Рекомендации по проектированию и возведению сборно-монолитных стен в грунте с листовой арматурой [9].

6. Строительные растворы и смеси

Глинистые растворы

6.1. Состав и свойства растворов, используемых при разработке траншей, должны обеспечивать:

· предохранение стенок траншей от обрушения и вывалов грунта;

· удержание частиц разрыхленного грунта во взвешенном состоянии;

· образование по стенкам траншеи кольматированной корки с коэффициентом фильтрации порядка 10-6 ... 10-7 см/сек.

Рис. 5.13 Конструкция стенового блока с выпуском металлической изоляции:

1 - блок; 2 - металлический лист; 3 - отверстия для грунтовых анкеров;

Рис. 5.14. Варианты замковых устройств для соединения выпусков листовой арматуры:

1 - арматурный стержень; 2 - косынка; 3 - уголок; 4 - сварные швы; 5, 6, 7 - сваренные между собой уголки

В качестве таких растворов применяются тиксотропные глинистые растворы, полимерно-бентонитовые составы, полимерные растворы.

6.2. Наиболее часто применяются тиксотропные глинистые растворы на основе тонкодисперсных высокопластичных монтмориллонитовых (бентонитовых) глин, используемых в виде глинопорошка. Классификация и показатели типовых глинопорошков приведены в приложении Б.

6.3. В отсутствие бентонитовых глинопорошков допускается применение пластичных местных глин в виде глинопорошков или комовой глины. Применяемые глины должны иметь показатели качества, соответствующие приведенным в табл. 6.1. Пригодность местных глин определяется по результатам лабораторных испытаний глинистых растворов, получаемых на их основе.

Таблица 6.1. Показатели качества глины для приготовления раствора (по СНиП 3.02.01-87*)

Наименование показателя

Величина отклонения

Метод и объем контроля

Число пластичности

Не менее 0,2

Содержание частиц размером, мм:

крупнее 0,05

Не более 10 %

Измерительный, 1 проба на 500 м3

менее 0,005

Не менее 30 %

менее 0,001

Не менее 10 %

6.4. Параметры глинистых растворов должны подбираться с учетом инженерно-геологических условий строительной площадки и соответствовать приведенным в табл. 6.2 контрольным значениям показателей качества. При этом глинистый раствор должен сохранить относительную стабильность своих основных параметров на весь период использования раствора.

Таблица 6.2. Показатели качества глинистого раствора (по СНиП 3.02.01-87*)

Наименование показателя

Величина отклонения

Контроль

Рекомендуемый прибор

Метод и объем контроля

Толщина глинистой корки

Не более 4 мм

ВМ-6

Измерительный, не менее одного раза в смену из накопительной емкости и через каждые 5 м глубины траншеи

Водоотдача

Не более 17 см3 за 30 мин.

ВМ-6

Условная вязкость

Не более 30 сек

Вискозиметр СПВ

Содержание песка

Не более 4 %

Отстойник ОМ-2

Стабильность

Не более 0,05 г/см3

Цилиндр ЦС-1

Суточный отстой воды

Не более 4 %

Мерный цилиндр

Величина показателя реакции среды

9 ... 11 рН

Индикаторная бумага или лабораторный рН-метрмилливольтметр рН-121

 

Плотность раствора:

из бентонитовых глин

1,03 ... 1,10 г/см3

Ареометр АГ-2

То же, каждый замес

из глин других видов

1,10 ... 1,25 г/см3

6.5. Необходимую плотность глинистого раствора следует определять расчетом устойчивости стенок траншеи с учетом гидрогеологических условий строительной площадки, глубины копания траншеи, наличия поверхностных нагрузок. Устойчивость стенок траншеи повышается при увеличении плотности раствора и разности уровней раствора и грунтовых вод, за счет уменьшения длины захватки.

Плотность раствора должна соответствовать условию:

,                                                             (6.1)

где р, рг и рв - соответственно интенсивность давления раствора, грунта и грунтовых вод в любом сечении по глубине траншеи ниже защитных стенок форшахты;

к - коэффициент, учитывающий отсутствие точных данных о фактическом давлении грунтов, прорезаемых траншеей, и принимаемый, как правило, равным 1,1 ... 1,2.

Давление раствора на глубине z

p = r×(z - hp),                                                             (6.2)

где r - плотность глинистого раствора;

z - глубина рассматриваемого сечения траншеи от дневной поверхности грунта

hp - уровень раствора ниже основания воротника форшахты.

Давление грунта на глубине z

,                                                            (6.3)

где рs - интенсивность бокового давления на глубине z от собственного веса грунта с учетом разнородного напластования слоев, взвешивающего действия воды, эффективного сцепления;

pq - интенсивность бокового давления на глубине z от возможных нагрузок на поверхности.

Если форшахта располагается на специальной отсыпке выше поверхности грунта, то значение hp принимается со знаком минус.

Гидростатическое давление грунтовых вод на глубине z

,                                                       (6.4)

где hв - уровень грунтовых вод.

6.6. С целью определения необходимой из условия (6.1) плотности тиксотропного раствора r в соответствии с зависимостями (6.3) и (6.4) строится суммарная эпюра давления грунта и грунтовых вод. Для каждого из характерных сечений суммарной эпюры находится соответствующая уравновешивающая плотность тиксотропного раствора по формуле

.

В качестве характерных сечений следует рассматривать уровни перелома эпюры, соответствующие отметкам слоистости грунта, уровню грунтовых вод, низу траншеи. За расчетную плотность тиксотропного раствора принимается наибольшее значение ri.

6.7. Подбор состава глинистого раствора для обеспечения принятых показателей качества должен производиться лабораторным путем в соответствии с методикой по приложению В.

6.8. При разработке неустойчивых грунтов с напорными водами для повышения плотности глинистого раствора допускается применять специальные утяжелители: молотый барит, гематит, магнетит, железные опилки, колошниковую пыль и другие в количестве, зависящем от требуемой плотности раствора, но, как правило, не более 7 % массы глины.

6.9. Для регулирования свойств глинистых растворов следует обрабатывать их химическими реагентами, которые в виде водных растворов вводятся в глинистые растворы в процессе их приготовления.

Наиболее часто применяются [4; 11]:

· кальцинированная сода - улучшает качество раствора, переводя кальциевые глины в хорошо набухаемые и легко диспергируемые натриевые, а также для смягчения жесткой воды;

· жидкое стекло (силикат натрия или калия) - значительно повышает вязкость, статическое напряжение сдвига и водородный показатель (рН);

· полимерные добавки.

6.10. При ведении работ методом «стена в грунте» в зимнее время следует использовать морозоустойчивые глинистые растворы. Некоторые составы приведены в Указаниях [8]. Для приготовления таких растворов целесообразно использовать воду с температурой +10 ... +40 °С. Все компоненты вводятся в воду затворения последовательно в порядке их перечисления в таблице и перемешиваются в течение заданного времени. Во время введения очередного компонента растворомешалку останавливают.

6.11. Необходимое количество глинистого раствора на каждый 1 м3 траншеи следует определять с учетом потерь, связанных с поглощением раствора грунтом и составляющих 15 … 20 %.

6.12. Глинопорошок заводского изготовления следует хранить на складе, под навесом или в передвижном вагончике, в таре предприятия-поставщика, в условиях, предотвращающих его замачивание или увлажнение. Комовые глины допускается хранить под навесом или открыто, на бетонированной огороженной площадке. Химические реагенты в обязательном порядке должны храниться в отдельном запираемом помещении в таре предприятия-поставщика. В случае порчи тары они немедленно должны быть переложены в другую исправную тару, а просыпавшиеся и непригодные к использованию должны быть ликвидированы.

6.13. Приготовление глинистых растворов и их очистку ведут на технологическом комплексе, включающем узел приготовления глинистого раствора, емкости для хранения приготовленного глинистого раствора, узел перекачки глинистого раствора, емкости-отстойники для раствора, бывшего в употреблении, склады для хранения глины и химреагентов, узел очистки глинистого раствора.

6.14. Для приготовления глинистого раствора из комовых глин следует применять механические, а из глинопорошков - механические, турбинные или гидравлические смесители. Некоторые типы рекомендуемого оборудования для приготовления, перекачки, подачи в траншею и очистки глинистого раствора приведены в приложении А.

6.15. Емкости для хранения приготовленного глинистого раствора должны представлять собой закрытые сверху баки или резервуары объемом не менее 10 м3 оборудованные штуцерами, задвижками и вентилями для подачи и перекачки глинистого раствора и указателями его уровня в емкости. В верхней части емкостей должны быть предусмотрены лазы с крышками для осмотра и очистки внутренней полости. Для хранения и перевозки глинистого раствора при строительстве в городе и в стесненных условиях рекомендуется использовать прицепные автоцистерны.

6.16. В качестве временных и резервных емкостей для отстоя глинистого раствора могут применяться приямки, отрываемые в грунте. Вокруг приямков обязательно должно быть устроено ограждение. По окончании использования приямки должны быть засыпаны грунтом.

Тампонажные растворы

6.17. Твердеющие тампонажные растворы для омоноличивания сборных элементов стен в грунте состоят, как правило, из цемента, бентонитовых или местных глин, песка, воды и химических добавок различного назначения для регулирования их свойств.

6.18. Для приготовления тампонажных растворов применяют: бентонит по ОСТ 39-202-86, цемент марки не ниже М400 (ГОСТ 10178-85); песок кварцевый природный (ГОСТ 8736-85) с модулем крупности Мк = 1,6 ... 3,0, или его искусственные смеси (ГОСТ 23735-79), сульфитно-спиртовую барду ССБ; синтетическую поверхностно-активную добавку СПД (ТУ 38-101253-72), полиакриламид-гель технический (ТУ 6-01-1094-76); стекло натриевое жидкое (ГОСТ 13078-81), смолу нейтрализованную воздухововлекающую СНВ (ТУ 81-05-75-74), кремнийорганические жидкости ГКЖ и другие добавки по ГОСТ 24211-91. Вода для приготовления раствора должна быть пресной и соответствовать требованиям ГОСТ 23732-79.

6.19. Тампонажные растворы должны иметь следующие показатели [11, 12]:

· начало схватывания 12 ... 96 ч в зависимости от назначения раствора;

· расплыв по конусу АзНИИ 12 ... 18 см;

· подвижность (вязкость по СПВ-5) - 18 ... 24 с;

· водоцементное отношение (В/Ц) - 2 ... 4;

· статическое напряжение сдвига (СНС) за 1 ч и за 10 мин не менее 40 ... 100 мгс/см2;

· отстой воды - до 3 %;

· плотность rt менее 1,20 г/см3.

6.20. Затвердевший тампонажный раствор в возрасте 7 суток должен иметь следующие характеристики [8]:

¨ водонепроницаемость, характеризуемую коэффициентом фильтрации 10-6 см/с £ Кф £ 10-8 см/с;

¨ модуль деформации Е £ 100 МПа;

¨ сцепление С ³ 5 КПа;

¨ прочность на одноосное сжатие sсж7 ³ 0,1 МПа (но не менее прочности окружающего грунта);

¨ то же в возрасте 28 суток sсж28 ³ 0,25 МПа.

6.21. Необходимые свойства и показатели тампонажных растворов следует назначать в каждом конкретном случае исходя из принятой технологии строительства и инженерно-геологических условий строительной площадки.

6.22. При одноэтапной технологии строительства, когда раствор используется сначала на этапе разработки траншеи, а затем твердеет, следует использовать состав с замедленным началом схватывания (не менее 48 ч), предотвращающий обрушение и вывалы грунта.

6.23. При двухэтапной технологии строительства, когда перед погружением сборных элементов тиксотропный глинистый раствор заменяется на твердеющий, допускается применение быстротвердеющего раствора с началом схватывания не менее 12 ч.

6.24. Подбор состава тампонажного раствора следует вести в два этапа. Первоначально расчетным путем в зависимости от требуемой прочности на сжатие тампонажного раствора определяются необходимые весовые количества цемента, песка, глины и принятых химических добавок. Ориентировочный расход цемента приведен в табл. 6.3 [11].

Таблица 6.3. Расход цемента для приготовления тампонажного раствора

Масса цемента марки М400 на 1 м3 раствора, кг

Прочность раствора, МПа, в возрасте:

7 суток

28 суток

100

0,1

0,25

200

0,3

0,55

300

0,4

0,85

400

1

1,2

500

2

2,6

Окончательный состав уточняется и подбирается лабораторным путем, так, чтобы его показатели качества раствора отвечали требованиям технологии строительства. В приложении Г приведены ориентировочные составы тампонажных растворов [8], которые должны корректироваться в зависимости от характеристик используемых материалов.

6.25. При проведении лабораторных работ по подбору состава раствора и контролю показателей качества в процессе строительства следует использовать приборы и оборудование, указанные в табл. 6.2. и приложении В, методика лабораторных работ принимается по приложению В настоящего СТП. Прочность на сжатие образцов затвердевшего тампонажного раствора определяется по методике ГОСТ 18105-86*, а коэффициент фильтрации - по ГОСТ 12730.5-84*.

6.26. Гравийно-песчаные и гравийно-песчано-глинистые смеси, используемые для заполнения внутренних пазух между сборными элементами и стенкой траншеи, составляются из гравия или щебня и крупного или средней крупности песка в объемном соотношении 1:1. Размер фракций щебня или гравия должен быть не более 10 ... 15 мм.

Бетонные смеси

6.27. Показатели и составы бетонных смесей для сооружения стен в грунте должны обеспечивать требуемое качество бетона конструкции (п. 5.13 ... 5.15 настоящего СТП) и соответствовать принятой технологии работ.

6.28. Бетонные смеси должны подбираться и приготовляться в соответствии с требованиями ГОСТ 27006-86 и настоящего СТП и характеризоваться следующими основными показателями:

· подвижность или марка по удобоукладываемости;

· водоотделение;

· водоцементное отношение;

· срок схватывания;

· крупность заполнителей;

· расслаиваемость и температура.

Контрольные значения и требования для основных показателей бетонных смесей при укладке их в траншею приведены в табл. 6.4.

Таблица 6.4. Требуемые свойства бетонных смесей

Наименование показателя

Значение показателя

Подвижность бетонных смесей (осадка конуса), см, при методе бетонирования:

 

ВПТ без вибрации

16 ... 20

ВПТ с вибрацией

6 ... 10

напорном

14 ... 24

Марка по удобоукладываемости в соответствии с ГОСТ 7473-94 при методе бетонирования:

 

ВПТ без вибрации

П4

ВПТ с вибрацией

П2

напорном

П3 - П4

Относительное водоотделение смеси

0,01 ... 0,02

Водоцементное отношение

не более ... 0,6

Срок схватывания бетонной смеси

не менее времени транспортирования смеси, но не менее 2 ч

Размер фракций крупного заполнителя

не более 20 мм

Связность

Обеспечивающая свободное прохождение по бетонолитной трубе и распределение по площади захватки без расслоения

Расслаиваемость, %

не более 5

Воздухосодержание, %

4 ... 5

6.29. Порядок и методика контроля за значениями показателей бетонных смесей при их укладке в траншею должны соответствовать п. 8.13 ... 8.18 настоящего СТП.

6.30. Для приготовления бетонных смесей следует применять цементы с нормальной густотой и без признаков ложного схватывания по ГОСТ 30515-97, ГОСТ 10178-85, ГОСТ 969-91, ГОСТ 22266-76.

6.31. Цементы для приготовления бетонных смесей следует выбирать в соответствии со СНиП 3.03.01-87* (приложение 6) и ГОСТ 30515-97. В случае агрессивных воздействий на конструкцию стены в процессе эксплуатации при выборе цемента необходимо учитывать требования СНиП 2.03.11-85.

6.32. Приемку цементов следует производить по ГОСТ 22236-85*, транспортирование и хранение - по ГОСТ 30515-97 и СНиП 3.09.01-85.

Для каждой поступающей партии цемента (не менее 8 т) следует определять его густоту, сроки схватывания, равномерность изменений объема, а для пластифицированного или гидрофобного портландцемента - пластичность и гидрофобность.

6.33. В качестве мелкого заполнителя рекомендуется использовать плотный песок, удовлетворяющий требованиям ГОСТ 8736-85, ГОСТ 26633-91, ГОСТ 23735-79, ГОСТ 26871-86. Рекомендуется использовать крупно- и среднезернистые пески, содержащие минимальное количество глинистых и пылеватых частиц (не более 2 ... 3 %).

6.34. Применение мелкого песка с модулем крупности от 1,5 до 1,2 допускается лишь в случае отсутствия крупного или среднего песка при обязательном условии обеспечения стабильности зернового состава крупного заполнителя (в пределах требования ГОСТ 26633-91). В очень мелкий песок следует добавлять природный крупнозернистый песок или дробленый песок из отсевов дробления, доводя зерновой состав до требований ГОСТ 26633-91.

6.35. В качестве крупного заполнителя применяется фракционированный и мытый щебень или гравий из прочных горных пород (гранит, диабаз и т.п.) по ГОСТ 8267-93. Максимальный размер зерен крупного заполнителя 20 мм, при этом рекомендуется следующее соотношение фракций щебня по массе: фр. 5 ... 10 мм - 35 %; фр. 10 ... 20 мм - 65 %.

6.36. Каждая партия поставляемых на бетонный завод песка, крупных заполнителей и камня должна иметь установленной формы документ (паспорт) предприятия (карьера) - изготовителя, удостоверяющий соответствие качества материалов требованиям действующих ГОСТов.

При отсутствии этих документов и в случае применения местных материалов (песка, гравия, щебня) проводят их испытания и устанавливают соответствие требованиям проекта и ГОСТов. Результаты испытаний оформляют соответствующими актами.

6.37. Для обеспечения необходимых технологических свойств и показателей бетонной смеси, прочности, водонепроницаемости и морозостойкости бетона стен в грунте в состав смеси следует вводить химические добавки или их комплексы по ГОСТ 24211-91, выбираемые в соответствии с рекомендациями приложения 8 к СНиП 3.03.01-87*.

6.38. Вода для затворения бетонной смеси и растворения химических добавок должна удовлетворять требованиям ГОСТ 23732-79.

6.39. Номинальный состав бетона следует подбирать в соответствии с ГОСТ 27006-86. Процедура подбора включает оценку качества исходных материалов, назначение прочности бетона, расчет состава бетона для опытных замесов, их приготовление, испытания контрольных образцов, корректировку расходов компонентов и проверку рабочего состава бетона.

6.40. Водоцементное отношение и расход цемента следует принимать по СНиП 3.06.04-91 в зависимости от проектных классов и марок бетона.

6.41. Состав бетона подбирают исходя из условия обеспечения среднего уровня прочности, значение которого следует определять по ГОСТ 18105-86* с учетом однородности бетона. При отсутствии данных о фактической однородности бетона средний уровень прочности необходимо принимать равным требуемой прочности для бетона данного класса при коэффициенте вариации 13,5 %.

При подборе состава бетона следует руководствоваться СНиП 3.06.04-91 (Приложения 4 и 5) и ГОСТ 26633-91.

6.42. Оптимальную дозировку добавок, вводимых в бетонную смесь следует устанавливать экспериментально. Дозировку воздухововлекающего компонента определяют при строгом контроле времени перемешивания бетонной смеси и в последующем регулярно корректируют из условия обеспечения заданного содержания в смеси вовлеченного воздуха (с учетом его возможной потери при транспортировании смеси) на месте укладки.

6.43. После приготовления опытных замесов необходимо определить среднюю плотность бетонной смеси в уплотненном состоянии по ГОСТ 10181.2-81 и по полученным данным рассчитать фактический расход материалов на 1 м3 бетона.

6.44. Подбор и назначение состава бетонной смеси должна выполнять лаборатория (заводская, строительная или центральная) перед началом производства работ. При изменении проектных характеристик бетона, вида или поставщика цемента, заполнителей, а также технологических режимов укладки первоначальный состав бетона подлежит обязательной проверке и корректировке. Результаты подбора состава бетона оформляются в виде специальной карты.

7. Производство работ по сооружению стен в грунте

7.1. Перед началом сооружения стены в грунте должны быть выполнены следующие подготовительные работы:

· устроено ограждение стройплощадки;

· вскрыты и переложены подземные коммуникации, попадающие в габариты стен;

· разбиты оси стен;

· спланирована поверхность и устроены временные дороги;

· расставлены временные административно-бытовые помещения;

· подготовлены места для складирования строительных материалов и конструкций;

· завезено и смонтировано технологическое оборудование;

· при необходимости проведены пробные испытания грунтовых анкеров крепления стен.

7.2. Сооружение стен в грунте необходимо вести в соответствии с проектом производства работ или основных его положений в составе рабочей документации. Содержание проекта производства работ должно соответствовать п.п. 4.6 и 4.8 настоящего СТП.

Устройство форшахты

7.3. С целью предотвращения обрушения грунта и обеспечения проектного направления разработки траншеи необходимо выполнять крепление ее верхней части (форшахту) из монолитного или сборного железобетона (рис. 7.1).

7.4. Продольная ось форшахты должна совпадать с продольной осью траншеи, а расстояние между вертикальными стенками форшахты превышать ширину рабочего органа траншеекопателя на 50 ... 100 мм.

7.5. Высотное положение воротника форшахты и ее глубину следует назначать исходя из конкретных инженерно-геологических условий. Необходимо обеспечить поддержания уровня глинистого раствора выше уровня грунтовых вод не менее чем на 1 ... 1,5 м и не ниже 0,2 м от верха форшахты. При высоком уровне грунтовых вод для устройства форшахты следует отсыпать специальную насыпь (рис. 7.2). Чтобы сократить поглощение глинистого раствора, целесообразно обеспечить везде, где это возможно, врезку форшахты в плотный коренной грунт.

7.6. Конструкция форшахты должна обеспечивать возможность подвески на ней армокаркасов или сборных элементов, а также установки оборудования для бетонирования траншеи методом ВПТ.

7.7. При назначении конструкции форшахты необходимо учитывать нагрузки, передаваемые на верхнюю часть траншеи от землеройных и транспортных машин, от подвешиваемых элементов, а также возможность использования форшахты в составе постоянного сооружения.

7.8. Во избежание возможных смещений вертикальных стенок форшахты от давления грунта и действия нагрузок от машин и механизмов между стенками следует устанавливать временные распорки из железобетона или стальных элементов.

7.9. Форшахту из монолитного железобетона следует сооружать отдельными секциями длиной 4 ... 6 м в следующей последовательности:

* разработка пионерной траншеи с естественными откосами;

Рис. 7.1. Конструкция форшахт:

а - монолитная; б - стенки монолитные, плиты сборные; в - стенки и плиты сборные; г - стенки монолитные, плит нет; д - стенки сборные из балок; е - стенки сборные уголкового профиля


Рис. 7.2. Варианты расположения форшахт при уровне грунтовых вод:

А - низком

Б - высоком


· установка секции опалубки;

· монтаж арматурных сеток и каркасов;

· укладка и уплотнение бетонной смеси;

· засыпка сухим и несвязным грунтом пазух за стенками форшахты.

7.10. Для устройства форшахты следует применять, как правило, бетон класса по прочности на сжатие не менее В15.

7.11. При устройстве форшахты из монолитного железобетона следует преимущественно использовать инвентарную сборно-разборную металлическую или дерево-металлическую опалубку. Снятие опалубки форшахты (разопалубка) и продолжение работ по сооружению стены в грунте следует производить после набора бетоном прочности на сжатие не менее 150 кгс/см2 (по результатам испытаний стандартных кубов согласно ГОСТ 10180-90).

7.12. В случае устройства форшахты из сборных элементов (рис. 7.3) они краном устанавливаются в траншее в проектное положение. Сборные элементы должны быть жестко соединены между собой сваркой по закладным деталям или выпускам арматуры, а стыки омоноличены.

7.13. Во избежание вывалов грунта и для усиления форшахты под действием значительных статических и динамических нагрузок, воротник форшахты может быть соединен с временной технологической дорогой из монолитного бетона или сборных плит при помощи арматурных сеток (рис. 7.4).

Конструкция временной технологической дороги устанавливается в ППР в зависимости от инженерно-геологических условий строительства. В рыхлых грунтах (пески, насыпи) дорогу для исключения вывалов в траншею необходимо устраивать монолитной.

Разработка траншей

7.14. Траншеи при строительстве способом «стена в грунте» следует разрабатывать после устройства форшахты под защитой тиксотропного глинистого или иного соответствующего раствора отдельными захватками последовательно одна за другой вдоль оси траншеи или поочередно на различных участках траншеи (рис. 7.5).

7.15. Способ и технологическая последовательность разработки траншей должны быть определены ППР в соответствии с инженерно- и гидрогеологическими условиями строительства, размерами, конфигурацией и назначением возводимой стены, характеристиками траншеепроходческого оборудования. Основные типы и характеристики отечественного и зарубежного оборудования приведены в приложении А.

7.16. В сложных грунтовых условиях при высоком уровне грунтовых вод, а также при глубинах свыше 15 м, когда в качестве ограничителей используются инвентарные металлические трубы, проходку траншей следует производить в две очереди через одну - две захватки.

Рис. 7.3. Конструкция форшахты из Г-образных (уголкового профиля) блоков

Рис. 7.4. Сопряжение воротника форшахты с временной дорогой

Рис. 7.5. Схемы разбивки траншеи на захватки:

а - последовательная разработка траншеи с секционным заполнением; б, в - поочередная разработка траншеи из секущихся (б) и соединяющихся (в) захваток;

1 - захватки траншей первой очереди; 2 - то же второй очереди

7.17. Длина отдельной захватки составляет, как правило, 2,0 ... 6,0 м и определяется ППР из условия обеспечения устойчивости стен траншей при их разработке и размером рабочего органа траншеекопателя. Захватка может быть пройдена за один или несколько проходов рабочего органа траншеекопателя на полную глубину траншеи (рис. 7.6 и 7.7).

7.18. В процессе разработки траншей следует вести постоянный контроль за проведением работ в соответствии с указаниями п. 8.8 и п. 8.9 настоящего СТП. Форма журнала приводится в приложении М.

7.19. Перед разработкой траншей необходимо выполнить монтаж, опробование и запуск комплекса оборудования для приготовления, подачи, очистки и регенерации глинистого раствора, который первоначально должен заполнить пространство между стенками пионерной траншеи. Далее по мере разработки грунта в захватку необходима непрерывная подача глинистого раствора с поддерживанием его уровня не ниже 0,2 м от верха форшахты.

7.20. Показатели качества глинистого раствора подлежат обязательному контролю в соответствии с п. 8.6. настоящего СТП как в накопительной емкости, так и по мере проходки траншеи. Пробы раствора могут отбираться вручную с помощью ковша с закрывающейся крышкой, подаваемого в траншею на мерном тросе.

7.21. При ведении работ методом «стена в грунте» необходимо обеспечить повторное использование загрязненного и смешанного с частицами грунта глинистого раствора из траншеи после его откачки, отстаивания, очистки и обогащения. Примерная схема циркуляции и очистки глинистого раствора приведена на рис. 7.8.

7.22. После проходки траншеи на длину захватки следует выполнить подготовительные работы перед заполнением ее бетоном (монолитным или сборным). Эти работы включают: проверку глубины траншеи и зачистку забоя от слоя осыпавшегося грунта и осадка глинистого раствора; контроль параметров и замену глинистого раствора; приемку траншеи по акту непосредственно перед заполнением.

7.23. В случае ведения работ в зимнее время необходимо предусмотреть размещение глинорастворного узла в отапливаемом помещении, утепление оборудования для перекачки и очистки глинистого раствора, закрытие разработанных участков траншеи утепленными щитами. При температуре воздуха ниже -15 °С необходимо периодически откачивать глинистый раствор из траншеи в накопительные емкости, заменяя его подогретым. При перерывах в работе ковш грейфера следует опускать в утепленную емкость с горячей водой.

Рис. 7.6. Разработка захватки траншеи за один проход грейфера

Рис. 7.7 Сооружение «стены в грунте» с формированием захватки за три прохода буровой фрезы.

1 - 6 - последовательность технологических операций

Рис. 7.8. Схема циркуляции глинистого раствора при разработке траншеи

Заполнение траншей монолитным железобетоном

Установка ограничителей

7.24. Для разграничения секций бетонирования в торцах каждой захватки следует размещать специальные межсекционные ограничители. При поочередной разработке траншеи ограничители должны быть, как правило, извлекаемыми, а при последовательной разработке допускается применение как извлекаемых, так и остающихся ограничителей. Конструкция ограничителей должна воспринимать давление бетона, исключать попадание бетона из одной захватки в другую и обеспечивать водонепроницаемость стыков.

7.25. Ограничители следует устанавливать в траншею краном в створ стыка между отдельными захватками. Конструкция ограничителя должна обеспечивать врезку в грунтовые стены траншеи не менее чем на 3 ... 5 см.

7.26. Нижний торец ограничителя должен быть заглублен ниже дна траншеи на 30 ... 50 см. При наличии плотных грунтов в дне траншеи для заглубления ограничителя рекомендуется пробурить скважину глубиной 50 см.

7.27. Верх ограничителя должен быть надежно закреплен на конструкции форшахты с превышением уровня воротника во избежание перелива глинистого раствора бетонируемой захватки в соседнюю.

7.28. В качестве ограничителей при устройстве нерабочих (конструктивных) стыков могут использоваться как извлекаемые инвентарные металлические элементы (трубы, сварные конструкции из прокатных профилей и т.п.), так и неизвлекаемые, как правило, железобетонные элементы. При глубинах траншеи свыше 15 м рекомендуется использовать неизвлекаемые ограничители, входящие в конструкцию арматурного каркаса.

7.29. Инвентарные ограничители следует извлекать через 5 ... 6 часов после окончания бетонирования (до начала сцепления с бетоном). Образовавшееся в торце шпоночное углубление готовой захватки заполняется при бетонировании смежной секции.

Установка арматурных каркасов

7.30. Армокаркасы можно изготовлять на заводе отдельными блоками или на стройплощадке. В первом случае следует учитывать условия транспортировки. Готовые армокаркасы на стройплощадке хранят на деревянных подкладках под навесом.

7.31. Устанавливаемый в захватку арматурный каркас должен соответствовать рабочим чертежам и иметь паспорт. Готовые арматурные каркасы комиссионно освидетельствуют и принимают по акту. Форма акта дана в приложении Е.

7.32. Перед погружением армокаркаса в захватку его необходимо очистить и удалить с арматуры ржавчину и масло. Для обеспечения сцепления с бетоном арматурный каркас следует смачивать водой или проводить другие технологические мероприятия, препятствующие обвалакиванию несущей арматуры частичками глины, например, продувку сжатым воздухом (барботаж) через специальные трубки, входящие в состав каркаса.

7.33. Способы строповки, подъема и опускания арматурного каркаса в захватку должны быть указаны в ППР и исключать появление в нем деформаций. Каркас опускают в положении, обеспечивающем его свободное прохождение в траншею, при геодезическом контроле за вертикальностью и обеспечением проектной величины защитного слоя между несущей арматурой и грунтом.

7.34. При установке в захватку (рис. 7.9) армокаркасы вывешивают на креплении верха форшахты или шпальной клетке (с помощью поперечных профильных балок или труб) так, чтобы продольные несущие стержни армокаркасов не опирались на грунт низа траншеи и имели с ним просвет 20 ... 30 см. Должны быть выдержаны высотные отметки всех закладных деталей каркаса.

7.35. Армокаркасы можно укрупнять непосредственно при их установке в захватку ручной электродуговой сваркой отдельных элементов. Тип и конструкция монтажных стыков элементов арматурного каркаса должны соответствовать проекту или быть согласованы с проектной организацией.

Бетонирование

7.36. Бетонирование стен под защитой глинистого раствора следует производить не позднее чем через 8 ч после окончания проходки траншеи на захватке и не позднее, чем через 4 ч от момента опускания арматурного каркаса.

7.37. Бетонные смеси с заводов на стройку следует транспортировать автобетоносмесителями. Суммарное время, затрачиваемое на доставку бетонной смеси, извлечение обсадных и бетонолитных труб, не должно превышать срока ее схватывания.

7.38. Температура бетонной смеси в момент ее укладки в скважину должна быть не ниже плюс 5 °С.

7.39. Бетонирование следует вести методом вертикально перемещаемой трубы (ВПТ) без виброуплотнения или с виброуплотнением либо методом напорного бетонирования в соответствии с ППР и требованиями раздела «Специальные методы бетонирования» СНиП 3.03.01-87*.

7.40. Напорное бетонирование в виде непрерывного нагнетания бетонной смеси при избыточном давлении следует применять для возведения ответственных сильноармированных конструкций, а также при повышенных требованиях к качеству бетона.

Рис. 7.9. Монтаж армокаркаса:

а - нижней секции каркаса; б - верхней секции

7.41. При бетонировании под глинистым раствором необходимо обеспечивать:

· изоляцию бетонной смеси от раствора в процессе ее подачи в траншею;

· отсутствие перемешивания с раствором при укладке;

· непрерывность бетонирования в пределах захватки;

· контроль за технологией в процессе бетонирования.

7.42. При бетонировании под глинистым раствором перерывы продолжительностью более срока схватывания бетонной смеси не допускаются; при нарушении указанного ограничения конструкцию следует считать бракованной и не подлежащей ремонту с применением метода ВПТ. Возобновление бетонирования методом ВПТ после аварийного перерыва допускается только при условии удаления шлама и слабого бетона с поверхности подводного бетона.

7.43. Траншеи следует бетонировать секциями длиной не более 6 м с применением межсекционных ограничителей. Расстояние от бетонолитной трубы до межсекционного ограничителя следует принимать не более 1,5 м при толщине стены до 40 см и не более 3 м при толщине стены более 40 см.

7.44. Бетонирование методом ВПТ следует вести при помощи сборно-разборной или цельной бетонолитной трубы с внутренним диаметром 250 ... 350 мм. Перед началом бетонирования составная бетонолитная труба должна быть собрана в горизонтальном положении с заглушками на торцах и выполнена проверка ее герметичности опрессовкой сжатым воздухом под давлением до 0,2 ... 0,4 МПа. Бетонолитную трубу следует разметить по длине через 20 см.

7.45. Монтаж сборной бетонолитной трубы включает следующие операции:

¨ очистку и подготовку звеньев к работе;

¨ установку опорной рамы на воротнике форшахты;

монтаж става бетонолитной трубы с последовательным наращиванием звеньев при помощи быстроразъемных соединений, когда ранее смонтированная часть подвешивается на опорной раме;

¨ установку и закрепление на трубе приемного бункера емкостью не менее 1,2 объема бетонолитной трубы.

В верхнюю горловину трубы следует установить пробку (например, из опилок или пакли в чехле из мешковины) высотой 20 ... 25 см, которая прикрепляется тросиком к верху приемного бункера.

7.46. Бетонолитную трубу в траншею перед бетонированием следует устанавливать так, чтобы ее нижний конец был расположен выше забоя скважины на 6 ... 10 см (начальное положение).

Рис. 7.10 Схема бетонирования:

а) - подача бетонной смеси; б) - перемонтаж бетонолитной трубы в ходе бетонирования

7.47. Бетонная смесь из автобетоносмесителя загружается в приемный бункер (рис. 7.10а) в объеме на 20 % превышающем объем бетонолитной трубы. После этого трубу необходимо поднять на 3 ... 5 см и перерезать тросик, удерживающий пробку. Пробка под действием избыточного давления бетонной смеси передвигается по бетонолитной трубе и выталкивает находящийся в ней глинистый раствор, препятствуя расслоению и перемешиванию бетона. Для выпуска пробки заполненную бетонной смесью трубу необходимо приподнять на 20 ... 30 см и затем вновь заполнить приемный бункер при понижении уровня бетонной смеси до устья воронки.

7.48. Для продолжения бетонирования следует обеспечить постоянную подачу смеси в бункер при постепенном поднятии и осаживании бетонолитной трубы. Загрузку бункера следует вести после снижения уровня бетонной смеси до устья приемной воронки, не допуская ее опорожнения. Для облегчения опускания бетона по трубе может быть применен вибратор, укрепленный на бункере. Вытесняемый бетонной смесью глинистый раствор откачивают насосами по трубопроводам для последующей очистки.

7.49. При извлечении бетонолитной трубы на длину секции труба крепят на раме, верхнее звено вместе с бункером демонтируют, бункер устанавливают на оставшейся части и процесс бетонирования захватки продолжается (рис. 7.10б). Снятые звенья бетонолитной трубы следует промыть водой, а быстроразъемные замки смазать консистентной смазкой

7.50. Нижний конец бетонолитной трубы при бетонировании методом ВПТ без вибрации должен быть заглублен в бетон не менее чем на 0,8 м и не более чем на 2 ... 4 м. Уровень уложенного бетона в захватке контролируется при помощи футштока с упорной площадкой на конце или лота, а положение бетонолитной трубы - по рискам разметки.

7.51. Бетонирование следует вести до уровня, превышающего проектный не менее чем на 50 см, с последующим удалением шлама и верхнего слоя бетона, загрязненного глинистыми частицами. Работы по зачистке верхней части стены рекомендуется производить через 2 ... 3 дня после окончания бетонирования захватки в «молодом» возрасте бетона.

7.52. При длинах захваток более 4 м укладку надлежит вести с применением двух бетонолитных труб в последовательности:

· установка труб до упора в дно траншеи;

· заполнение бункеров бетоном;

· начальный выпуск бетона из обеих труб соблюдая порядок операций по п. 7.46;

· одновременная подача смеси через обе трубы с интенсивностью, обеспечивающей равномерный подъем бетона по всей длине секции;

· поднятие труб и демонтаж верхних звеньев.

7.53. Для повышения прочности, сплошности и водонепроницаемости несущих монолитных стен в грунте допускается применять укладку жестких бетонных смесей марки по удобоукладываемости П2 по ГОСТ 7473-94 (осадка конуса 6 ... 10 см) с вибрационным уплотнением в соответствии с ВСН 261-86 [2]. Вибраторы, предназначенные для облегчения распространения бетона и его уплотнения, могут быть размещены на нижней части бетонолитной трубы и (или) у приемного бункера. Мощность вибраторов и режим виброукладки устанавливается ППР в зависимости от глубины траншеи и размеров захватки. Удаление звеньев бетонолитной трубы допускается только при выключенных вибраторах.

7.54. Напорное бетонирование стен ведут с подачей смеси в бетонолитную трубу при помощи бетононасоса. Для этого к верхнему фланцу бетонолитной трубы должно быть прикреплено переходное звено с гибким «хоботом» бетононасоса или воронкой. В устье трубы подвешивают мягкую пробку и работы по бетонированию выполняются в соответствии с п. 7.45 - 7.52 настоящего СТП в непрерывном режиме. Заглубление бетонолитной трубы в бетонную смесь при напорном бетонировании должно составлять не менее 0,8 м. Максимальное заглубление принимается в зависимости от величины давления нагнетательного оборудования. При демонтаже верхнего звена бетонолитной трубы переходное звено с «хоботом» бетононасоса прикрепляется к оставшейся в траншее части трубы.

Заполнение траншей сборными железобетонными элементами

7.55. Сборные железобетонные элементы стены в грунте изготовляют, как правило, в заводских условиях с соблюдением проектных допусков по точности конструкции. Крупногабаритные элементы стен, перевозка которых затруднена, допускается возводить на приобъектном полигоне.

7.56. Сборные элементы на строительную площадку доставляют на автомобильных полуприцепах или прицепах-роспусках, обеспечивая их надежное закрепление и возможность движения прицепов при поворотах.

7.57. Перед установкой сборных элементов в траншею следует:

· проверить наличие и положение закладных деталей и устройств;

· проконтролировать надежность закрепления строповочных приспособлений;

· очистить элементы от грязи, а металлические детали - от наплывов бетона.

7.58. Сборные элементы необходимо подвешивать к стреле крана за монтажные петли или сквозные монтажные отверстия при помощи двойного строповочного приспособления. Подвеска должна обеспечить безопасность монтажных работ даже при отрыве одного из строповочных канатов. При подъеме и подаче не следует допускать рывков, раскачивания и вращения элементов, а также перемещения их подтягиванием (волоком).

7.59. До установки в траншею сборных элементов на воротнике форшахты должны быть размечены места их расположения в пределах очередной захватки. Для получения заданной точности установки и закрепления элементов по длине захватки целесообразно применять инвентарные или постоянные монтажные приспособления, направляющие устройства и шаблоны.

7.60. С целью обеспечения проектной отметки верха стеновых элементов их, как правило, подвешивают на воротнике форшахты при помощи сборных приспособлений, которые извлекают после омоноличивания. Допускается установка стеновых элементов на отсыпанный заранее по дну траншеи слой щебня или гравия необходимой высоты.

7.61. Составные по высоте элементы стыкуют в процессе монтажа в траншею, подвешивая на воротнике нижний блок, устанавливая на него краном верхний блок и сваривая по закладным арматурного каркаса. Стык должен обеспечивать равнопрочность по всей длине элемента. Для подвешивания элементов в них должны быть предусмотрены отверстия или специальные закладные детали.

7.62. Сборные элементы стены в грунте омоноличивают в соответствии с ВСН 488-86 [3] и п. 5.42 настоящего СТП следующими способами:

¨ инъецированием цементно-глинистого или цементно-песчаного раствора через инъекционные трубки, заложенные в стеновых элементах или опущенные в траншею рядом с ними;

¨ заполнением до монтажа стеновых элементов методом ВПТ нижней части траншеи пластичным бетоном, в который погружают стеновые элементы, и последующим заполнение пазух с наружной стороны цементно-глинистым или цементно-глино-песчаным раствором, а с внутренней - легко разрабатываемым материалом (песком, гравием, щебнем);

¨ заполнением до монтажа стеновых элементов методом ВПТ траншеи цементно-глинистым или цементно-песчаным раствором, в который погружают стеновые элементы; вытесняемый при этом раствор заполняет пазухи и стыки между стеновыми элементами;

¨ погружением стеновых элементов в заполняющий траншею цементно-глинистый раствор, под защитой которого разрабатывают траншею и который впоследствии твердеет.

8. Контроль качества и приемка работ

8.1. Качество возведения конструкции стены в грунте должно соответствовать проекту и оцениваться согласно с требованиями ГОСТ 16504-81 и настоящего СТП.

8.2. При возведении стен в грунте надлежит выполнять все виды производственного контроля, предусмотренные СНиП 3.01.01-85*, - входной, операционный, приемочный и инспекционный. При входном контроле проверяют качество поступающих на стройплощадку конструкций, изделий и материалов. Операционный контроль обеспечивает качество выполнения строительно-монтажных работ, приемочный - качество законченного сооружения. Результаты контроля качества следует фиксировать в журналах работ, в актах на скрытые работы и др. производственных документах.

8.3. Материалы и готовые изделия для возведения стен в грунте должны соответствовать требованиям проекта, ГОСТов, СНиПов и других нормативных документов. Требования к качеству исходных глинопорошков и комовых глин приведены в п.п. 6.2 и 6.3, требования к материалам для тампонажных растворов - в п. 6.19, требования к исходным материалам для бетонных смесей - в п.п. 6.31 - 6.39.

При входном контроле проверяется наличие паспортов, сертификатов, технических условий и др. документов, устанавливающих качество материалов и изделий, а также соблюдение требований разгрузки и хранения. При необходимости выполняются испытания и сертификация используемых материалов. Входной контроль возлагается на службу производственно-технологической комплектации.

8.4. Технический операционный контроль за производством работ на всех этапах строительства проводится инженерно-техническими работниками строительной организации-исполнителя под руководством главного инженера, авторский контроль - силами проектной организации.

8.5. Ответственность за последовательность, качество и технику безопасности ведения работ в течение смены несет прораб/сменный мастер. В приложении С приведена сводная таблица контроля выполнения технологических операций при сооружении траншейной стены в грунте.

8.6. Контроль качества глинистых растворов предусматривает определение основных показателей глинистого раствора и соответствие их заданным в проекте и производится не менее одного раза в смену

работниками строительной лаборатории. Образцы глинистого раствора отбирают с помощью пробоотборника из накопительной емкости, из каждой заходки траншеи при ее разработке, перед бетонированием или установкой стеновых сборных элементов, перед омоноличиванием стыков. При разработке траншеи отбор проб надлежит вести через каждые 5 м глубины траншеи на расстоянии 13 ... 20 см от стен и дна. Пробы из накопительной емкости отбирают на каждый замес с поверхности, средней и нижней ее зон. Контрольные показатели качества глинистого раствора определяют при помощи специальных приборов. Результаты контроля заносят в журнал (приложение Ж).

8.7. При устройстве форшахты контролируют:

· геометрические размеры опалубки;

· положение воротника в плане и профиле;

· расстояния между стенками форшахты.

Точность геометрических измерений должна соответствовать требованиям ГОСТ 23616-79*. Предельные отклонения отметки верха воротника форшахты составляют ±15 мм, положения оси пионерной траншеи ±10 мм, расстояния между стенками форшахты ±15 мм.

8.8. В процессе разработки грунта в траншее следует контролировать:

¨ положение захватки в плане и ее габариты;

¨ вертикальность и глубину копания;

¨ уровень и показатели глинистого раствора.

8.9. Направление и глубину траншеи контролируют штатными приборами траншеекопателя или геодезическими методами. Форма журнала разработки траншеи приводится в приложении Д. Отклонение траншеи от вертикали не должно превышать 0,5 % (тангенс угла отклонения 0,005).

8.10. Перед началом бетонирования или перед установкой сборных железобетонных элементов глубину траншеи необходимо проверить дополнительно и при необходимости удалить осадок грунта на ее дне. Каждая захватка траншеи после ее проходки должна приниматься по акту на скрытые работы.

8.11. При установке ограничителей секции бетонирования необходимо соблюдать вертикальность положения, проектное расстояние между ними, отметку верха ограничителя.

8.12. Контроль при установке арматурных каркасов должен обеспечить соблюдение проектного положения в захватке, вертикальности, заданных отметок верха и закладных деталей.

Предельные отклонения положения каркаса от проектного составляют:

· вдоль захватки 30 мм;

· поперек захватки 10 мм;

· по высоте ±20 мм.

8.13. В процессе бетонирования подлежат контролю:

¨ объем уложенного бетона;

¨ интенсивность бетонирования;

¨ подвижность бетонной смеси;

¨ уровень уложенного бетона;

¨ заглубление труб в бетон.

Данные наблюдений записывают в журнал бетонирования (приложение И).

8.14. При укладке бетонных смесей контролируют их подвижность, воздухосодержание и температуру (в зимний период). Подвижность (марку по удобоукладываемости) бетонных смесей контролируют по ГОСТ 10181.1-81 и ГОСТ 7473-94. Величина подвижности (удобоукладываемости) бетонной смеси должна отличаться не более чем на ±2 см от принятой при подборе состава бетона. Подвижность и температуру бетонных смесей на месте укладки следует контролировать из каждого автобетоносмесителя.

8.15. Контроль воздухосодержания бетонной смеси проводят по ГОСТ 10181.3-81 не менее чем после каждых 50 м3 укладываемой бетонной смеси. Объем вовлеченного воздуха в бетонную смесь, принятый при подборе состава бетона, не должен отклоняться более чем на ±1 %.

8.16. Прочность бетона на сжатие по контрольным образцам, отбираемым при укладке из автобетоносмесителя, определяют по ГОСТ 10180-90 (СТ СЭВ 3978-83). Бетонную смесь в контрольные образцы укладывают не позднее чем через 20 мин после отбора смеси из автобетоносмесителя. Пробы бетонной смеси для определения прочности на сжатие отбирают для каждых поставляемых 50 м3 бетона.

8.17. Марки бетона по водонепроницаемости и морозостойкости определяются в 28-суточном возрасте соответственно по ГОСТ 12730-5-84* и ГОСТ 10060.1-95 на заводе не реже одного раза в квартал, а на стройке - по требованию заказчика.

8.18. Образцы для определения прочности бетона на сжатие, а также марок по водонепроницаемости и морозостойкости следует изготавливать в проверенных формах, соответствующих требованиям ГОСТ 22685-89.

8.19. Качество железобетонных элементов сборных стен в грунте следует контролировать по ходу всего технологического процесса их изготовления. Опалубку принимают в собранном виде, проверяя соответствие ее геометрических форм, размеров и крепежных элементов проектным. Арматурные каркасы, закладные и накладные детали принимают техническим контролем изготовителя перед установкой в опалубку, проверяя длины стержней, диаметры, расстояния между ними, положение и размеры листовой арматуры и т.п. В случае необходимости проводят испытания используемых материалов. В соответствии с проектными данными и требованиями СНиП 3.03.01-87* в процессе бетонирования стенового элемента контролируют качество бетонной смеси, технологию ее укладки и уплотнения, правильность ухода за бетоном, термовлажностной обработкой, сроки распалубки и т.п.

8.20. После распалубки блок подвергают визуальному осмотру с целью выявления возможных трещин, сколов, раковин, дефектов закладных, строповочных приспособлений и т.п. При обнаружении дефектов и повреждений, которые не могут быть устранены ремонтом, изделие бракуют. Помимо визуального осмотра проверяют геометрические размеры блока, принимая допускаемые отклонения согласно требованиям стандартов на сборные железобетонные конструкции. В ходе приемки готовых элементов устанавливают класс бетона и на каждое изделие или группу изделий составляют технический паспорт либо сертификат, в котором отражают характеристики и качество изготовления. По требованию заказчика проводят статические испытания конструкций стеновых элементов на специальном стенде, выявляя их фактическую несущую способность, трещиностойкость и устойчивость к деформациям.

8.21. Правильность установки в траншею стеновых элементов контролируется геодезическими методами или с применением специальных шаблонов и монтажных приспособлений. Определяют положение элементов в плане, отметку верха и наклон относительно продольной и поперечной осей траншеи. Допускаемые отклонения в положении стеновых элементов в плане составляют ±30 мм, по высоте ±20 мм, а тангенс угла отклонения от вертикали ±0,005.

8.22. При заполнении зазоров между стеновыми элементами бетонной смесью контролируют режим и качество бетонирования в соответствии с требованиями СНиП 3.03.01-87* и п.п. 8.13 - 8.18 настоящего СТП.

8.23. При омоноличивании сборных элементов стен в грунте твердеющим раствором его основные показатели контролируют, отбирая пробы из накопительной емкости и по глубине траншеи.

Контроль свойств твердеющего раствора включает определение:

· плотности;

· расплыва;

· сроков схватывания;

· выхода цементного камня;

· прочности цементного камня.

При значительных отклонениях свойств раствора от заданных необходимо проверить и отладить дозирующие приспособления, а при необходимости - выполнить дополнительные анализы воды, основных исходных компонентов и добавок для выявления и устранения причин, вызвавших изменение свойств растворов.

8.24. Сооруженные участки стен в грунте принимает комиссия в составе ответственных представителей: организации-производителя работ, проектной организации, генподрядчика, заказчика, организации осуществляющей научно-техническое сопровождение. По результатам приемки составляют соответствующий акт освидетельствования и приемки (приложение Л), а при необходимости - ведомость дефектов качества стен и регламент их устранения.

8.25. Приемка производится на основании:

¨ проектной документации;

¨ регламента производства работ;

¨ актов приемки, сертификатов, технических паспортов материалов и изделий;

¨ журналов производства и контроля качества работ;

¨ актов или журналов испытаний бетонных смесей и контрольных образцов бетона;

¨ актов на скрытые работы;

¨ исполнительной съемки сооруженного участка стены в грунте;

¨ заключения специализированной организации по качеству сооруженного участка стены в грунте.

8.26. Заключение по качеству сооруженного участка стены в грунте должна дать специализированная организация, осуществляющая научно-техническое сопровождение строительства и имеющая соответствующую лицензию на обследование технического состояния несущих и ограждающих конструкций.

8.27. Отклонения положения стен в плане и от вертикали, а также основных габаритных размеров не должны превышать значений, приведенных в табл. 8.1.

Таблица 8.1. Предельные отклонения сооружений, возведенных способом «стена в грунте», от проектного положения (по СНиП 3.02.01-87*)

Наименование показателя

Величина отклонения

Метод и объем контроля

Смещения осей сооружения в плане, мм

±30

Измерительный метод (геодезический). Не реже, чем через 10 м по длине стены

Тангенс угла отклонения стены от вертикали

0,005

Толщина стены, мм

+10

Глубина стены, мм

+200

8.28. Качество стен оценивают на основании результатов определения прочности, сплошности (по требованию заказчика и водонепроницаемости) конструкции по образцам (кернам), выбуренным из стены и испытанным в соответствии с ГОСТ 28570-90 (СТ СЭВ 3978-83) или неразрушающими методами: по ГОСТ 22690-88 (в том числе упругий отскок, ударный импульс, отрыв со скалыванием), ультразвуковым методом по ГОСТ 17624-87, сейсмоакустическим методом.

Объем контроля должен составлять не менее одного образца или контрольной точки на каждые 100 м2 поверхности стены или на объект строительства, включая дополнительно участки, при устройстве которых была изменена или нарушена технология производства работ.

9. Техника безопасности при производстве работ

9.1. Работы по строительству сооружения стены в грунте следует выполнять с учетом требований настоящего СТП и следующих нормативных документов: СНиП III-4-80*; СНиП 12-03-99; Правила безопасности при строительстве метрополитенов и подземных сооружений, 1992; Правила устройства и безопасной эксплуатации грузоподъемных кранов Госгортехнадзора; Правила пожарной безопасности при производстве строительно-монтажных работ. ПП Б1-93 РФ; Правила устройства и безопасной эксплуатации грузоподъемных кранов (машин), Приказ РБ МПС РФ № ЦРБ-278 от 14.01.1994 г; правила эксплуатации машин, установок и оборудования, которыми пользуются при сооружении стен г грунте.

9.2. Ответственность за соблюдение и выполнение правил техники безопасности и требований настоящего СТП возлагается на главного инженера организации-производителя работ.

9.3. Работы по сооружению стен в грунте можно начинать только тогда, когда в зоне разработки траншей отсутствуют или перенесены все подземные коммуникации, линии электропередач и связи, спланирована и ограждена строительная площадка, устроены временные дороги для автотранспорта и технологического оборудования. Готовность строительной площадки к производству работ следует фиксировать соответствующим актом.

9.4. Строительная площадка, участки работ, рабочие места, проезды и подходы к ним в темное время суток должны быть освещены.

9.5. К началу производства работ все механизмы, стропы, оборудование и инвентарь должны быть освидетельствованы и приняты производителем работ по акту. В процессе выполнения работ следует вести постоянный контроль за их состоянием и исправностью. Стальные канаты, такелажные приспособления, тара и т.п. должны соответствовать требованиям ГОСТ 12.3.010-82.

9.6. К работам по сооружению стен в грунте допускаются лица, сдавшие техминимум по производству работ и технике безопасности. Со всеми привлекаемыми рабочими и ИТР должен быть проведен конкретный инструктаж по порядку выполнения и безопасному ведению СМР с записью под расписку в Журнале регистрации инструктажа на рабочем месте.

9.7. Во время производства работ все рабочие и ИТР должны быть в защитных касках и спецодежде. Персонал, занятый приготовлением и подачей раствора с химическими добавками, должен быть обеспечен защитными очками, резиновыми перчатками и респираторами. На стройплощадке необходимо иметь аптечку первой медицинской помощи с перевязочными материалами, бочок с питьевой водой.

9.8. Опасные зоны работы оборудования и механизмов должны быть снабжены ограждающими щитами и надписями установленного образца. Нахождение посторонних лиц в зоне производства работ запрещается.

9.9. Разработанная траншея должна быть закрыта настилом, а вдоль нее на расстоянии 3 м с каждой стороны установлены ограждения. Проход людей через открытые участки траншеи допускается только по специальным переходным мостикам.

9.10. В процессе выполнения работ следует вести постоянный контроль за исправностью защитных ограждений с записью в соответствующий Журнал производства работ.

9.11. Перемещение и установка землеройного оборудования, кранов, автотранспорта и др. машин и механизмов вдоль траншеи допускается только в порядке и на расстоянии, установленных в ППР.

9.12. Приемная воронка бетонолитной трубы, накопительные и другие емкости комплекса оборудования для приготовления и регенерации глинистого раствора должны быть оснащены проходами, рабочими площадками и лестницами с ограждениями.

9.13. Бетонолитная труба должна иметь разметку яркой несмываемой краской по всей длине, включая остающуюся вне зоны погружения в траншею-захватку.

9.14. Емкости для хранения глинистого раствора и химических добавок должны содержаться в закрытом виде, люк растворомешалки - закрыт решеткой с запором.

9.15. При работе с кислотами необходимо постоянно иметь 10 %-ный раствор соды для нейтрализации кислоты в случае ее разбрызгивания или пролива.

10. Охрана окружающей среды

10.1. При проектировании стен в грунте и производстве работ по их сооружению следует предусматривать и осуществлять необходимые мероприятия, предотвращающие нарушения окружающей городской застройки, загрязнение территории, воздушного бассейна, поверхностных и подземных вод.

10.2. Конструкции стен в грунте и дополнительного крепления в виде анкеров или распорок, показатели растворов крепления стенок траншей и технология их разработки должны исключить недопустимые осадки и смещения грунтового массива за стеной, расположенных поблизости зданий, их фундаментов и инженерных коммуникаций.

10.3. При проектировании протяженных стен в грунте в водонасыщенных грунтах следует рассмотреть последствия, связанные с возможным нарушением режима грунтовых вод и повышением их уровня. При необходимости следует предусмотреть устройство дренажных труб или специальных проемов в теле стен.

10.4. Уровни шума и вибрации от работающего оборудования при сооружении стен в грунте не должны превышать допустимых значений установленных СНиП II-12-77 и ГОСТ 12.1.003-83. При необходимости технологическое оборудование следует оснащать защитными средствами по гашению шума и вибрации или осуществлять другие необходимые мероприятия.

10.5. Для предотвращения загрязнения водотоков или водоемов следует обеспечить раздельное отведение со строительной площадки нормативно чистых грунтовых или поверхностных вод и загрязненных производственных сточных вод.

10.6. Грунтовые и поверхностные воды могут сбрасываться в дождевую городскую канализацию без предварительной очистки, если концентрация в них нетоксичных взвесей, масляных и нефтяных веществ не превышает предельно допустимой.

10.7. Производственные сточные воды содержащие глинистый и цементный раствор, бензин, масла и т.п., должны быть пропущены через грязеотстойники, бензомаслоуловители и биофильтры с целью очистки от вредных примесей.

10.8. Отработанные и не подлежащие регенерации глинистые растворы запрещается сливать в канализацию, водоемы или на землю. Их следует вывозить со строительной площадки в автоцистернах-«иловозах» на специальные полигоны или подвергать очистке химическими методами. Рекомендуется использовать технологию сгущения

отработанных глинистых растворов, предусматривающую разделение отработанного раствора на плотную глину и осветленную воду, пригодную для слива в канализацию.

10.9. Выезды со строительной площадки должны быть оборудованы пунктами мойки колес с организованным сливом воды.

Приложение А

рекомендуемое

Машины и оборудование для устройства траншейных стен в грунте

А.1. Машины и оборудование для устройства стены в грунте, по функциональному назначению подразделяются на следующие группы:

· для разработки траншей (экскавационное или бурофрезерное);

· для приготовления, подачи в траншею и очистки глинистого раствора;

· для бетонирования;

· общестроительные.

Ниже приводятся краткие характеристики основных типов специализированного отечественного и зарубежного оборудования, получившего распространение в практике строительства.

Оборудование для разработки траншей

А.2. Грейферное оборудование.

Для экскавационного оборудования характерно наличие ковша (грейфера) на телескопической штанге или канатной подвеске, которым копают грунт, удаляют его из траншеи и выгружают в виде компактной массы, мало насыщенной глинистым раствором.

В транспортном строительстве применяются штанговые грейферы на экскаваторе ЭО-5122 и ЭО-5122А, выпускаемые Воронежским экскаваторным заводом. Это оборудование может работать в грунтах I ... IV группы. Характеристики их даны в табл. А.1.

Таблица А.1. Техническая характеристика грейферного оборудования на базе экскаватора ЭО-5122

Ширина ковша, мм

600; 700; 800 и 1000

Длина захвата, м

2,5

Глубина разработки, м

18

Высота, м:

выгрузки

2,33

экскаватора с оборудованием в транспортном положении

3,4

Масса, кг

48600

Аналогичные экскаваторы С-160 и С-150 фирмы Поклен (Франция), оборудованные телескопической мачтой КТА-18 и КТА-30 и ковшом грейферного типа разрабатывают траншеи глубиной до 27 м.

Двухчелюстной грейфер (рис. А.1) конструкции Фундаментпроекта (Москва), подвешиваемый на тросах к крану экскаватора Э-1252, предназначен для разработки грунтов I ... IV групп (от песков до тяжелых суглинков и глин). Его характеристики даны в табл. А.2. Разработка траншеи производится захватками между лидирующими скважинами Æ600 ... 700 мм с шагом 3200 мм.

Таблица А.2. Техническая характеристика двухчелюстного грейфера Фундаментпроекта

Объем ковша, м3

0,6

Длина захвата в раскрытом положении, м

3,2

Натяжение каната полиспаста при закрывании ковшей, кН

28,8

Глубина разработки, м

18

Масса, кг

5100

Электрогидравлический канатный грейфер конструкции НИИОСП предназначен для разработки грунтов I ... IV групп. Подвешивается на базовую машину грузоподъемностью 7,5 ... 10 т. Техническая характеристика грейфера конструкции НИИОСП приведена в табл. А.3.

Таблица А.3. Техническая характеристика грейфера НИИОСП

Объем ковша, м3, при его ширине, мм:

600

0,7

800

1

Длина захвата, м

2,25

Размеры траншей, м:

ширина

0,6 - 0,8

глубина

до 30

Масса, кг

5000

А.3. Бурофрезерное оборудование

Оборудование бурофрезерного типа срезает грунт; при этом измельченный грунт смешивается с глинистым раствором, образуя пульпу. Пульпа откачивается из забоя эрлифтом или шламовым насосом и по трубопроводу подается на ситогидроциклонную установку либо в отстойники, где разделяют пульпу на шлам, идущий в отвал, и глинистый раствор, возвращаемый в траншею. Оборудование обеспечивает высокие темпы разработки траншеи и требует непрерывной подачи и очистки глинистого раствора.

Рис. A.1. Грейфер конструкции ГПИ Фундаментпроекта

Бурофрезерные агрегаты СВД-500, СВД-500Р, разработанные Киевским ПКО института «Гидропроект» им. С.Я. Жука, используются при возведении противофильтрационных завес и протяженных линейных стен в грунтах I ... IV групп. Характеристики их даны в табл. А.4 и А.5.

Таблица А.4. Техническая характеристика агрегата СВД-500

Размеры траншеи, м:

ширина

0,4 - 0,5

глубина

до 20

Производительность, м2 стенки/ч

0,5 - 2

Мощность привода буровой машины, кВт

94

Частота вращения бура, мин-1

256

Подача эрлифта, м3

300 - 600

Таблица А.5. Техническая характеристика агрегата СВД-500Р

Размеры траншеи, м:

ширина

0,5 - 0,7

глубина

до 50

Механическая скорость проходки, м2 траншеи/ч, в грунтах:

мягких

40 - 80

крепких

3 - 5

Мощность привода буровой машины, кВт

105

Частота вращения бура, мин-1

256

Подача эрлифта, м3

600

Масса, т:

электробура

3,5 - 6

агрегата

45

Фрезерный гидромеханизированный траншеекопатель на базе станка УБР-ЗАМ конструкции ВНИИГС (С.-Петербург) предназначен для проходки траншей глубиной до 20 м в грунтах I ... IV категории.

Для проходки траншей в мягких грунтах (пески, суглинки, глины), не имеющих твердых включений, предназначена барражная машина БМ-0,5/50-2М конструкции ВИОГЕМ (Белгород). Характеристика ее дана в табл. А.6.

Таблица А.6. Техническая характеристика барражной машины БМ-0,5/50-2М

Наименование показателя

Значение

Размеры траншеи, м:

глубина

50

ширина

0,5

Габариты в рабочем положении, м:

длина

5

ширина

6

высота

3,5

Масса, кг

25000

Оборудование для применения глинистого раствора

А.4. Технологический комплекс, обеспечивающий применение глинистого раствора, должен включать:

· склады для хранения глинопорошка или комовой глины и химических реагентов, оборудование для погрузочно-разгрузочных работ и подачи исходных материалов;

· оборудование для приготовления (табл. А.7) и емкости для хранения глинистого раствора;

· оборудование для подачи раствора в траншею и обратной откачки (табл. А.8);

· оборудование для очистки раствора (табл. А.9, А.10, А.11);

· систему трубопроводов.

А.5. Трубопроводы для перекачки глинистого раствора выполняют из труб диаметром 100 ... 150 мм секциями длиной от 2 до 5 м, соединяемыми одна с другой и с насосами задвижками, вентилями и штуцерами, фланцевыми или быстроразъемными соединениями. На концах гибких трубопроводов, опускаемых в траншею для откачки раствора, должны быть предусмотрены сетчатые фильтры с ячейками сетки размерами до 15x15 мм.

А.6. Для первичной очистки загрязненного глинистого раствора с выделением частиц крупностью 2 мм и более применяют вибросита, для более тонкой очистки с выделением частиц до 0,06 мм - ситогидроциклонные установки и пескоотделители, состоящие из нескольких циклонов и шламового насоса.


Таблица А.7. Технические характеристики смесителей глинистых растворов

Технические характеристики

Тип и марка растворосмесителя

Механические лопастные глиномешалки

Быстроходные турбинные

Фрезерные

Гидравлические

МГ2-4

ГКЛ-

Г2-П2-4

РМ-750

РМ-500

БС-2К

Диспергатор НИИСП

ЛРМ-350

С-868

ФСМ-7А

ФСМ-3

АППЖ-4

СПП-70

Гидромониторный ГСТ

Емкость, м

4

2

4

0,75

0,5

4

0,6

0,35

0,65

-

-

-

-

14

Производительность,

м3

4* ... 6**

До 12

10*; 15**

4 - 5

 

 

120 ... 300

12*; 25**

До 15

От 24 до 70

До 40

Частота вращения смесительного органа, об/мин

95

100; 182

95

580

510

От 960 до 1300

1500

56

600

500

500

600

 

 

Мощность электродвигателя, кВт

14

14

14

7 ... 10

4,5

55

10

1

2,8

28

28

20

56

 

Габариты, м:

длина

3890

2450

-

2000

1500

-

1760

1200

1475

2425

1980

3300

1500

1177

ширина

3015

2150

-

1100

1400

-

400

1200

595

1960

153

1670

1815

3700

высота

1455

1500

-

1000

1300

-

600

1200

815

1520

1410

1800

2155

2400

Масса, кг

3556

1950

-

510

350

-

3050

2000

1340

1750

1400

2000

1994

8,390

Примечание: * - по комовой глине;

** - по глинопорошку


Таблица А.8. Технические характеристики насосов для подачи глинистых растворов

Технические характеристики

Тип и марка насоса

Поршневые-грязевые

Центробежные шламовые

НГР 250/50

11 ГР

9 МГР

ШН-150

ШН-200

Производительность, м3

18

18; 13,5

22; 36; 60

150

200

Давление, МПа

5

5; 6,3

10; 6; 3,5

0,3

0,4

Мощность электродвигателя, кВт

38

48

100

28

-

Габариты, мм:

длина

1444

1870

2630

685

-

ширина

876

990

1040

610

-

высота

932

1510

1630

640

-

Масса, кг

738

1150

1760

222

-

Таблица А.9. Технические характеристики вибрационных сит для грубой очистки глинистых растворов

Технические характеристики

Марка вибросита

СВ-1

СВС-2

СВ-2

Пропускная способность, л/с

20

50 ... 55

50 ... 60

Рабочая площадь сетки, м2

1,25

2,5

2,6

Число отверстий на 1 дюйм при диаметре, мм:

0,25

40

40

40

0,35

30

30

30

Число колебаний в 1 мин.

1400; 1420;

1600

1400; 1600; 1800;

2000

1600; 2000

Мощность электродвигателя, кВт

2,8

2,8x2

2,8x2

Таблица А.10. Технические характеристики ситогидроциклонных и гидроциклонных установок

Технические характеристики

Марка ситогидроциклонной установки

2 СГУ

4 СГУ

ОГХ-8Б

ОГХ-8А

Производительность, л/с

30

60

5

2,5

Число сит

1

2

-

-

Число гидроциклонов

2

4

1

1

Насосная установка:

 

 

 

 

тип

ВШН-150

ВШН-150

ВН-4

ВНМ-18x30

мощность, кВт

28

28

4,5

3,5

Габариты, мм:

 

 

 

 

длина

2100

2175

1670

1435

ширина

1700

2250

420

850

высота

2465

2150

1425

1450

Масса, Н

2250

1950

280

295

Таблица А.11. Технические характеристики пескоотделителей

Технические характеристики

Марка пескоотделителя

1 ПГ

1 ПГК

Производительность, л.с.

58

60

Наименьший размер удаляемых из раствора частиц, мм

0,10

0,06

Мощность электродвигателя, кВт

28

28

Диаметр гидроциклонов, мм

250

150

Число гидроциклонов, шт

4

4

Давление перед гидроциклонами, МПа

0,20 ... 0,30

0,18 ... 0,30

Марка перекачивающего насоса

ВШН-150

ВШН-150

Оборудование для бетонирования

А.7. Доставка бетонной смеси на строительную площадку должна производиться только в автобетоносмесителях.

Оборудование для бетонирования траншей под глинистым раствором методом ВПТ должно состоять из:

· комплекта бетонолитных труб цельных или из сборных секций длиной 2..3 м и диаметром 250 ... 350 мм;

· загрузочной воронки на трубе;

· приспособлений для разделения бетонной смеси и глинистого раствора при первоначальном заполнении трубы;

· приспособлений для подвешивания, подъема и опускания труб.

Стыки бетонолитных труб должны выполняться на быстроразъемных соединениях.

А.8. При вибрационной укладке бетона способом ВПТ под глинистым раствором в качестве вибровозбудителей используют глубинный электромеханический дебалансный вибратор ИВ-60 (С-826), характеристики которого приведены в табл. А.12; при глубине бетонирования до 10 м можно использовать вибратор ИВ-59 (С-825). Источником питания вибраторов должны служить высокочастотные преобразователи тока И-75В. Вибратор крепится к нижнему звену бетонолитной трубы (рис. А.2).

Допускается применение поверхностных вибровозбудителей монтируемых в верхней части бетонолитной трубы у приемной воронки или на воротнике траншеи.

Таблица А.12. Техническая характеристика глубинного вибратора ИВ-60 со встроенным электродвигателем

Наименование показателя

Значение

Наружный диаметр корпуса, мм

133

Система вибрационного механизма

Дебалансная

Момент дебаланса, кг см

2,22

Частота колебаний, Гц

96

Вынуждающая сила, кН

800

Длина рабочей части, мм

430

Общая длина вибратора, мм

1270

Гарантийный моторесурс, ч

500

Тип электродвигателя

3-фазный асинхронный с короткозамкнутым ротором

Частота тока, Гц

200

Напряжение, В

36

Угловая скорость, рад/с

600

Мощность, кВт

1,1

Максимальный радиус действия в глинистом растворе, м

3

Изготовитель

Ярославский завод «Красный Маяк»

А.9. При укладке бетонной смеси методом напорного бетонирования применяются специализированные бетононасосы и бетоноукладчики, снабженные телескопической стрелой для подачи гибкого бетоновода в траншею.

Зарубежное специализированное оборудование

А.10. Оборудование фирмы «Касагранде» (Италия), включает:

· механический подвесной грейфер;

· навесное оборудование «Келли» и гидравлический грейфер Касагранде;

· фрезу Касагранде;

· разъемные инвентарные бетонолитные трубы Æ250 мм и Æ273 мм с длиной секции 2000 мм.

Рис. А.2. Крепление вибратора к бетонолитной трубе

А.11. Механический подвесной тросовый грейфер Касагранде снабжен взаимозаменяемыми челюстями и специальными направляющими для разработки траншей шириной от 400 до 1200 мм при длине захватки от 1400 до 4000 мм и глубиной до 100 м. Конструкция позволяет вести проходку в твердых неоднородных грунтах. Грейфер может быть оснащен долотом для раскалывания твердых пород грунта и камней больших размеров. Основные типоразмеры подвесных тросовых грейферов и их конструкции приведены в табл. А.13 и на рис. А.3.

Таблица А.13. Типоразмеры механических подвесных грейферов «Касагранде»

Тип грейфера

DH 44

DH 46

DL 4

DL 6

KL

РМ

Ширина ковша, мм

400 ... 600

600 ... 1200

400 ... 800

600 ... 1200

600 ... 1200

00 ... 1200

Длина раскрытия челюстей, мм

2500 ... 4000

1400 ... 2500

1400 ... 2500

1400 ... 2500

2500 ... 3000

2500 ... 3000

Вес с грунтом, кг

8100 ... 13200

8800 ... 13200

3850 ... 5200

4170 ... 6500

7200 ... 11500

8150 ... 11200

А.12. Навесное оборудование (стрела) «Келли» и гидравлический грейфер «Касагранде» предназначены для проходки траншей шириной от 500 мм до 1200 мм при длине захватки от 2200 мм до 4000 мм и глубиной до 50 м.

Областью эффективного применения оборудования является проходка траншеи в песчаных и глинистых (до полутвердой консистенции) грунтах, не содержащих твердых и валунных включений, в стесненных городских условиях.

Различные модели серии KRC характеризуются следующими особенностями:

¨ установку можно не разбирать при транспортировке;

¨ не требуется вспомогательного крана для монтажа оборудования;

¨ стрела и грейфер допускают поворот в горизонтальной плоскости на ±45°.

Для работ на ограниченных площадках предназначен моноблок «Келли КМ».

Основные типоразмеры подвесного телескопического оборудования типа «Келли» приведены в табл. А.14; А.15 и на рис. А.4.

Рис. А.3. Типы механических подвесных грейферов фирмы «Касагранде»

Таблица А.14. Характеристики навесного телескопического оборудования «Келли

Тип

KRC 1

KRC 2

КRС 2НД

Базовая машина

С-30

С-50

С-70

Ширина проходки, мм

500 ... 1000

500 ... 1200

500 ... 1200

Глубина проходки, м

до 30

до 45

до 50

Размеры оборудования, м:

А

25; 30

28; 35; 40; 45

28; 35; 40; 50

В

12

13

13

С

3,5

8,3

8,3

D

18; 23

19; 26; 31

19; 26; 31

F

3,9; 4,5

4; 5

4,5

Е

6

6

6

Таблица А.15. Характеристики гидравлических грейферов «Касагранде» типа «К»

Тип

К 2200

К 2500

К 3000

К 2500 НД

К 3000 НД

Ширина, мм

500 ... 1200

500 ... 1200

500 ... 1200

600 ... 1200

800 ... 1200

Вес, кг

750 ... 1600

930 ... 1950

1300 ... 2800

1250 ... 2340

2700 ... 3700

Вес с грунтом, кг

2750 ... 3800

3350 ... 4700

4550 ... 6300

4200 ... 5600

7500 ... 8500

Усилие на челюстях, кг

12000

12000

12000

18000

18000

Размеры, мм:

А

2200

2500

3000

 

4000

В

2050

2500

2850

 

4300

С

2700

3200

3700

 

5600

Д

2000

2300

2750

 

3650

А.13. Фреза «Касагранде» работает на принципах обратной циркуляции. Два диска, оснащенные режущими зубьями, предназначены для работы в твердых, глинистых, песчаных и скальных породах. Мощный погружной насос, установленный возле дисков фрезы, перекачивает частицы разрабатываемого грунта вместе с раствором на поверхность для отделения от шлама и очистки. Фреза имеет взаимозаменяемые направляющие и диски шириной от 620 до 1200 мм для бурения. Длина захватки бурения 3100 мм, глубина до 120 м. Оба диска фрезы вращаются независимо друг от друга, а их скорость и подача регулируются для работы в различных породах или с целью выравнивания вертикальности проходки. Отсутствует передача вибрации на окружающий грунт.


Рис. А.4. Базовая машина с навесным телескопическим оборудованием «Келли»


Фреза K3L может быть подвешена как на гидравлический кран, так и на другую механическую конструкцию. В последнем случае фреза должна быть укомплектована гидроприводом, обеспечивающим необходимое питание для пуска всех органов установки.

Типы и основные характеристики буровых фрез «Касагранде» приведены в табл. А.16 и на рис. А.5 - А.7.

Таблица А.16. Типы и основные характеристики буровых фрез «Касагранде»

Тип

K3L

FD 28

FDC 28

FD 25

Ширина захвата, мм

620 ... 1200

800 ... 1800

800 ... 1800

600 ... 1000

Длина захвата, мм

3130

2800

2800

2500

Глубина бурения, мм

до 100

До 120

до 70

до 50

Вес укомплектованной фрезы, кг

29000

28000

17000

17000

Средняя производительность циркуляционного насоса, м3

450

450

450

450

А.14. В оборудовании «Касагранде» используют установки производительностью до 600 м3/ч для обработки бентонита как при бурении с обратной циркуляцией, так и для традиционных систем с грейфером. Типы оборудования для глинистых растворов приведены на рис. А.8.

A.15. Оборудование фирмы «Бауэр» (Германия), включает различного рода канатные и гидравлические грейферы, буровые фрезы, оборудование для приготовления, очистки и регенерации тиксотропного глинистого раствора. Типы и характеристики приведены в табл. А.17 - А.23.

Таблица А.17. Типы и технические характеристики грейферов фирмы «Бауэр»

Типы

Канатные грейферы

Гидравлический

DSG

BCG

DHG

Ширина проходки траншеи, мм

400 ... 800

600 ... 1000

600 ... 1200

Длина раскрытия, мм

2750

2750

2800

Высота, мм

5900

5900

7500

Вес, кг

7000 ... 8000

8100 ... 8600

12700 ... 15000

Рис. А.5. Буровая фреза K3L

Рис. А.6. Буровая фреза FDC 28

Рис. А.7. Буровая минифреза FD 25


Рис. А.8. Буровая фреза фирмы «Бауэр».

Типы ВС 15; ВС 20; ВС 30; ВС 30 LJ; ВС 30 KLJ

Рис. А.8. (Продолжение)


Рис А.8. (Окончание)

Таблица А.18. Характеристики навесного стрелового оборудования «Келли» фирмы «Бауэр»

Тип

DKG

Ширина проходки траншеи, мм

600 ... 1200

Глубина проходки, м

30 ... 45

Длина секции, мм

2500 ... 3000

Вес в сборе, кг

14000 ... 16000

В качестве подвесного проходческого оборудования при проходке включений твердых пород вместо грейфера могут быть применены специальные резцы.

Таблица А.19. Характеристики резцов фирмы «Бауэр» для таблицы твердых включений

Тип

Резец для твердых включений

Ширина проходки траншеи, мм

600 ... 1000

Длина, мм

1350 ... 1880

Высота, мм

4230

Вес, кг

4800 ... 6700

Таблица А.20. Типы и основные характеристики буровых фрез фирмы «Бауэр»

Тип

ВС-15

ВС-20

ВС-30

ВС-30 LI

ВС-30 КI

МВС-30*

Ширина захвата, мм

500 ... 1500

500 ... 1500

640 ... 2100

640 ... 2100

640 ... 2100

640 ... 1500

Длина захвата, мм

2200

2200

2790

2790

2790

2790

Глубина бурения, м

до 30

до 44

до 50 (при стреле 26 м)

до 60

до 100

до 55

Вес, т

11,5 ... 15,5

12 ... 20

26 ... 35

26 ... 35

26 ... 35

17 ... 20

Вращающий момент привода, кН×м

2x34

2x34

2x81

2x81

2x81

2x81

Скорость вращения фрез, мин-1

0 ... 40

0 ... 40

0 ... 24

0 ... 24

0 ... 24

0 ... 30

Диаметр транспортирующего шланга, мм

125

125

152

152

152

152

* Специальная фреза МВС-30 (рис. А.9) предназначена для работы в ограниченном пространстве (тоннель, подвал, и т.п.) без крановой подвески

Таблица А.21. Типы и характеристики смесителей фирмы «Бауэр» для приготовления бентонитовых и цементных растворов (рис. А.10)

Тип

ВМ 1000

ВМ 2000

ВМ 3000

Объем смесительного барабана, л

1000

2000

3000

Мощность электромотора, кВт

11

2x11

22

Вес, кг

2500

3280

6830

Габариты:

 

 

 

длина, мм

3000

5020

6400

ширина, мм

1100

2522

4700

высота, мм

2200

2200

2800

высота с дозировочными весами, мм

3565

3650

4750

Таблица А.22. Типы и характеристики оборудования фирмы «Бауэр» для очистки глинистых растворов

Тип

Пескоотделители

Очистка

ВА 6

BE 100

BE 150

BE 250

GS

DS 150

Мощность, кВт

11

22

30

43

 

30

Производительность, м3/час

80

100

150

250

300 ... 500

150

Вес, кг

1700

4000

4000

4300

250

5000

Таблица А.23. Сборные агрегаты для очистки и регенерации глинистых растворов

Тип

BE 300

BE 500

Состав

2хВЕ 150 + 1xGS 300

2хВЕ 300 + 1xGS 500

Мощность, кВт

64

94

Производительность, м3/час

300

500

Вес, кг

14300

14500

При необходимости очистки больших объемов глинистого раствора оборудование типов BE и GS объединяется в сборные агрегаты для совместной работы.

Рис. А.9. Специальная фреза фирмы «Бауэр» типа МВС 30 для работы в ограниченном пространстве

1 - циркулярный насос; 2 - электромотор; 3 - смесительный резервуар; 4 - поперечный транспортер; 5 - весы; 6 - пульт управления; 7 - распределительный шкаф; 8 - трубопровод

Рис А.10. Смеситель фирмы «Бауэр» для приготовления бентонитовых и цементных растворов

А.16. Бурофрезерное оборудование фирмы «Тонэ-Боринг» (табл. А.24 и рис. А.11) позволяет разрабатывать траншеи шириной от 400 мм до 1200 мм и глубиной до 150 м.

Таблица А.24. Типы и технические характеристики бурофрезерных агрегатов фирмы «Тонэ Боринг»

Показатель

Тип агрегата

BWN-4055

BWN-5580

BWN-80120

BWN-90120

Ширина траншеи, мм

400 - 550

550 - 800

800 - 1200

900 - 1200

Величина захватки, м:

общая

2,5 ... 2,65

2,47 ... 2,72

3,6 ... 4

3,7 ... 4

полезная

2,1

1,92

2,8

2,8

Количество коронок

7

5

5

5

Частота вращения коронок, мин-1

50

36

22

22

Диаметр пульпопровода, мм

150

200

200

200

Мощность привода, КВт

30

30

37

37

Высота подвесного узла, м

4,3 ... 4,32

4,7 ... 4,8

5,6 ... 5,7

6,0

Масса подвесного узла, т

7,5

10

20

22

Глубина бурения, м

до 50

до 150

А.17. Буровой агрегат фирмы «Обаяси-Гуми» (Япония) «супергидрофреза» (табл. А.25 и рис. А.12) предназначен для разработки траншей шириной 2,4 м на глубину до 150 м и оборудован двумя парами барабанных фрез, вращающихся вокруг горизонтальной оси, с приводом от двух гидромоторов. Твердосплавное резцовое вооружение фрез дает возможность разработки валунов, скальных пород и затвердевшего бетона. Как и на других агрегатах для бурения глубоких траншей, предусмотрен гидравлический механизм корректирования направления бурения и усилия подачи исполнительного органа на забой, а подъем шлама обеспечивается насосом, вмонтированным в погружной узел.

Таблица А.25. Технические характеристики агрегата «супергидрофреза» (модель 10000)

Габаритные размеры подвесного узла, мм

 

длина

3200

ширина

2400

высота

13200

Диаметр фрез, мм

1600

Частота вращения фрез, мин-1

16,5/11

Вращающий момент на фазе, кН×м

100

Мощность привода фрез, кВт

2x185

Производительность всасывающего насоса, м3/мин

10

Диаметр всасывающего патрубка, мм

200

Мощность, кВт

 

привода насоса

130

погружной маслостанции

550

всех лебедок копра

216

Скорость перемещения копра, м/мин

5

Мощность ходового механизма копра, кВт

15

Масса установки, т

189

А.18. Гидрофреза (рис. А.13) фирмы «Солетанш» (Франция) позволяет вести бурение в породах различного типа: от сыпучих грунтов вплоть до твердых скальных пород. Хорошо бурятся, например, твердые мергели, известняки, кремнистые песчаники, сланцы. При некоторых условиях можно бурить в таких породах как гранит, когда горизонты с прочностью на сжатие более 800 кгс/см2 имеют малую толщину.

Производительность: от 20 м2/ч для гравийных грунтов до 1 м2/ч для известняков.

В табл. А.26 представлены технические характеристики гидрофрезы.

Таблица А.26. Технические характеристики гидрофрезы фирмы «Солетанш»

Стандартная глубина бурения, м

30

Максимальная глубина бурения, м

100

Скорость вращения барабанов, об/мин

10 - 20

Диаметр барабанов фрезы, мм

1200

Максимальный момент, кН×м, вращения фрезы при 300 кгс/см2

38

Мощность двигателя вращения, кВт (л.с.)

80 (110)

Производительность циркуляционного насоса, м3

300

Максимальное давление нагнетания, кгс/см2

2,6

Вес укомплектованной гидрофрезы, т

16 - 20

Мощность гидросиловой установки, кВт (л.с.), при 1800 об/мин

270 (365)

Стандартные гидрофрезы (рис. А.14) соответствуют нескольким стандартам ширины изготовления стенок, буримых на глубинах менее 60 м. Специальный вариант гидрофрезы предназначен для бурения до глубины 100 м.

А.19. Технические характеристики канатных механических грейферов «Икос» приведены в табл. А.27.

Рис. А.11. Буровая фреза фирмы «Тоне Боринг»

Рис. А.12 Супергидрофреза фирмы «Обаяси-гуми»

1. Буровая головка

2. Циркуляционный насос

3. Корпус гидрофрезы

4. Кран

5. Гидросиловая установка (300 кВт)

6. Шланг отвода бурового раствора с обломками породы на установку регенерации бурового раствора с грохочением для удаления из него песка

7. Домкрат, регулирующий нагрузку на буровую головку

8. Секция траншеи, постоянно заполненная раствором на бентонитовой основе

9. Гидравлические шланги

Рис. А.13 Гидрофреза фирмы «Солетанш»

Таблица А.27. Технические характеристики канатных механических грейферов «Икос»

Показатель

Типоразмер оборудования

 

400

500

600

600

700

800

800

1000

1200

Высота, мм:

при раскрытом ковше

6160

6320

6320

5360

6320

5340

5160

6360

5340

при закрытом ковше

7000

7000

7050

6050

7000

6000

6000

7050

6000

Длина, мм:

при раскрытом ковше

2500

2700

2700

2100

2700

2700

2700

2700

2700

при закрытом ковше

2220

2240

2240

1840

2240

2240

2240

2240

2240

Ширина траншеи, мм

370

470

570

580

670

780

780

970

1180

Диаметр каната, мм

22

22

22

22

22

22

22

22

22

Число шкивов

4

3 + 2

4 + 3

4 + 3

4 + 3

4 + 3

4 + 3

4 + 3

5 + 4

Число зубцов на режущей кромке

4

5

5

5

5

7

7

7

9

Вместимость ковша, м3

0,45

0,54

0,65

0,45

0,78

0,90

0,90

1,10

1,22

Усилие на кромке, кН

120

122

172

162

179

179

179

245

470

Масса оборудования, т

3,9

7,5

8,0

7,5

7,8

8,0

5,6

8,0

9,5

Стандартные размеры (м)

А

2,36

2,36

2,36

2,36

2,36

В

2,40

2,40

2,40

2,40

2,40

С

0,59

0,76

0,96

1,16

1,46

D

0,63

0,80

1,00

1,20

1,50

Е

15,00

15,00

15,00

15,00

15,00

Рис. А.14 Стандартные линейные размеры гидрофрезы фирмы «Солетанш»

Приложение Б

справочное

Классификация глинопорошков для приготовления тиксотропных растворов крепления стенок траншей

Б.1. В соответствии с ОСТ 39-202-86 «Глинопорошки для буровых растворов» глины для приготовления тиксотропных растворов подразделяются на типы и марки, приведенные в табл. Б.1.

Таблица Б.1.

Минералогический тип глин

Основной породообразующий материал

Марки глинопорошка

Бентонитовый (ПБ)

Монтмориллонит

ПББ, ПБВ, ПБГ, ПБД, ПБН, ПБМА, ПБМБ, ПБМВ, ПБМГ

Палыгорскитовый (ПП)

Палыгорскит

ППГ, ППД, ППН, ППМВ, ППМГ

Каолинит гидрослюдистый (ПКГ)

Каолинит-гидрослюда

ПКГД, ПКГН

Если введены модифицирующие реагенты, то в обозначение входит буква «М». Последняя буква (А, Б, В, Г, Д, Н) обозначает деление порошков на сорта по выходу раствора.

Б.2. Сорт (качество) глинопорошка определяется по выходу раствора в м3 из 1 т его при эффективной условной вязкости не менее 16 с (указывается в сертификате на глинопорошок).

Б.3. Глинопорошки и соответственно глинистые растворы, приготовленные по методике приведенной ниже, должны иметь показатели, приведенные в табл. Б.2 и Б.3.

Таблица Б.2

Показатели качества растворов из глинопорошков марки ПБ

Показатели

Нормы для марок

Методы испытаний

ПББ

ПБВ

ПБГ

ПБД

ПБН

ПБМА

ПБМБ

ПБМВ

ПБМГ

Выход глинистого раствора вязкостью 20 МПа×с, м3/т:

 

 

 

 

 

 

 

 

 

По ОСТ 39-203-01-86

не менее

16,0

12,0

8,0

5,0

-

20,0

16,0

12,0

8,0

менее

 

-

-

-

5,0

-

-

-

-

Массовая доля влаги, %:

 

 

 

 

 

 

 

 

 

По ОСТ 39-203-02-86

от

6,0

6,0

6,0

6,0

6,0

6,0

6,0

6,0

6,0

до

10,0

10,0

10,0

10,0

10,0

10,0

10,0

10,0

10,0

Ситовой анализ суспензии, %:

остаток на сите с сеткой № 05, не более

0

0

0

0

0

0

0

0

0

По ОСТ 39-203-04-86

с сеткой № 0071, не более

10,0

10,0

10,0

10,0

10,0

6,0

6,0

6,0

6,0

Содержание свободной соды, г/100 г глинопорошка:

 

 

 

 

 

 

 

 

 

По ОСТ 39-203-06-86

от

-

-

-

-

-

1,0

1,0

1,0

1,0

до

-

-

-

-

-

5,0

5,0

5,0

5,0

Срок сохраняемости, мес., не менее

не ограничен

12,0

8,0

не ограничен

 

Таблица Б.3

Показатели качества растворов из глинопорошков марок ПП, ПКГ

Показатели

Нормы для марок

Методы испытаний

ППГ

ППД

ППН

ППМВ

ППМГ

ПКГД

ПКГН

Выход глинистого раствора вязкостью 20 МПа×с, м3/т:

 

 

 

 

 

 

 

По ОСТ 39-203-01-86

не менее

8,0

5,0

-

12,0

8,0

4,0

-

менее

-

-

5,0

-

-

-

4,0

Массовая доля влаги %:

 

 

 

 

 

 

 

По ОСТ 39-203-02-86

от

16,0

16,0

16,0

16,0

16,0

3,0

3,0

до

25,0

25,0

25,0

25,0

25,0

8,0

8,0

Тонкость помола: остаток на сите № 02, %, не более

10,0

10,0

10,0

10,0

10,0

10,0

10,0

По ОСТ 39-205-37-86

Ситовой анализ суспензия: остаток на сите, %:

 

 

 

 

 

 

 

По ОСТ 39-203-04-86

с сеткой № 05, не более

-

-

-

-

-

0

0

с сеткой № 0071 не более

-

-

-

-

-

10,0

10,0

Показатель седиментации, %

0

0

0

0

0

-

-

По ОСТ 39-203-05-86

Содержание MgO, %

-

-

-

2,5

2,5

-

-

По ОСТ 39-203-08-86

Срок сохраняемости, мес., не менее

не ограничен

8,0

8,0

не ограничен

Приложение В

Рекомендуемое

Методика лабораторных работ при подборе составов тиксотропных глинистых растворов. Приборы и оборудование

В.1. Лабораторным путем следует уточнить расчетную массу глины с учетом ее влажности для получения раствора необходимой плотности, которая рассчитывается в соответствии с п. 6.5 настоящего СТП.

В.2. Предварительно определяется удельный вес самого глинопорошка. В зависимости от сорта (I ... IV) глинопорошка задаются первоначальной плотностью раствора от 1,03 т/м3 (г/см3) и выше, приготавливают 5 ... 10 л раствора. В процессе приготовления раствора бентонит вводят в воду небольшими порциями, смесь перемешивают до однородного состояния и затем добавляют очередную порцию бентонита.

В.3. Определяют количество добавок для отдельных проб раствора объемом 1 ... 1,5 л (количество, необходимое для определения всех параметров раствора) из расчета 2 ... 4 % от массы бентонита в пробе. Добавки вводят в раствор при постоянном его перемешивании.

В.4. Воздействие добавки определяется измерением структурной прочности необработанного и обработанного раствора через 1 ... 10 мин после приготовления. При условии роста структурной прочности пробы раствора оставляют на суточную выдержку, наполнив мерные цилиндры для определения суточного отстоя раствора. Хранить пробы раствора рекомендуется при температурах наружного воздуха, близких к производственным.

В.5. После суточной выстойки определяют все показатели качества растворов по п. 6.4 настоящего СТП, сравнивают их с требуемыми и выбирают соответствующий состав раствора. Если показатели качества оказываются ниже требуемых, увеличивают плотность раствора, меняют вид добавки и комплекс исследований повторяют.

В.6. Для проведения полного комплекса лабораторных работ по подбору состава и контролю качества глинистых растворов применяют следующие приборы и оборудование:

· приборы для определения плотности растворов: рычажные весы-плотномер ВПР-1, ареометр АГ-3ПГ;

· приборы СНС-2 или ВСН-2 для определения структурной прочности (предела текучести растворов);

· прибор СПВ-5 для определения условной вязкости растворов;

· прибор ВМ-6 для определения водоотдачи и толщины корки растворов;

· прибор ОМ-2 для определения содержания песка в растворе;

· прибор ЦС-2 для определения стабильности раствора;

· лабораторную мешалку для приготовления растворов;

· стеклянные цилиндры с делениями, лабораторную посуду, формы для получения образцов раствора, емкости металлические объемом до 10 л.

При ведении лабораторных работ непосредственно на стройплощадке рекомендуется использовать переносную полевую лабораторию глинистых растворов типа ЛГР.

Приложение Г

Рекомендуемое

Составы тампонажных растворов

в расчете на 1,0 м3 воды (уточняются для конкретных материалов)

Состав

Компоненты состава

Характеристики тампонажных растворов

Бентонит (Б), кг

Песок (П), кг

Цемент (Ц), кг

ССБ, кг

СПД, кг

Na2СО3, кг

Расплыв, см

Плотность, г/см3

СНС, Па

Срок схватывания, ч

Предел прочности на сжатие затвер-
девшего раствора, в возрасте 28 сут.
sсж, МПа

Коэффициент фильтрации, Кф, 10-6 см/с

Через 1 мин

Через 2 мин

Начало

Конец

I

175

1300

292

2,73

0,214

1,75

20

1,74

100,6

104,6

48

166

0,38

0,67 ... 1,1

II

175

1300

292

2,73

-

1,75

16

1,73

42,6

48,9

46,5

163,5

0,45

0,42 ... 0,9

III

150

1300

292

4,1

-

4,67

18

1,74

40,5

43,1

96

240

0,23

0,7 ... 4,9

Приложение Д

Обязательное

Наименование строительной организации __________________________________

Объект ______________________________________________________________

Журнал
разработки траншеи при ведении работ методом «стена в грунте»

Траншеепроходческое оборудование________________________________________

Проектная глубина траншеи_______________________________________________

Дата смена

№ захватки

Время разработки захватки

Объем разработки грунта за смену, м3

Глубина захватки

Отклонение от вертикали, %

Высота слоя осадка, м

Исполнитель: фамилия, имя, отчество, подпись

Примечание

начало час, мин.

окончание, час, мин.

в начале смены, м

в конце смены, м

1

2

3

4

5

6

7

8

9

10

11

 

 

 

 

 

 

 

 

 

 

 

 

 

 

 

 

 

 

 

 

 

 

Приложение Е

Обязательное

АКТ
комиссионного освидетельствования металлокаркасов для армирования конструкций стен в грунте

«____»____________200... г.

Наименование объекта, для которого изготовлены каркасы ___________________

______________________________________________________________________

Наименование проектной организации выпустившей техническую документацию _____________________________________________________________________

Наименование организации «Заказчика» (Генподрядчика) ___________________

Условное обозначение каркасов __________________________________________

Шифр проектной документации, на основании которой изготовлены каркасы ___

______________________________________________________________________

Проектное количество каркасов на объект _________________________________

Проектный вес каркасов ________________________________________________

Присутствовали:

от организации «Заказчика» (Генподрядчика) ______________________________

от проектной организации ______________________________________________

от организации-изготовителя ____________________________________________

от производителя работ _________________________________________________

Бригадир сварщиков ______________________________________

Настоящий акт составлен в том, что к комиссионному освидетельствованию предъявлены каркасы типа _____________________________________________

в количестве ______________________________ штук.

Предъявленный каркас имеет следующие технические характеристики:

1. Фактический вес каркаса (проектный вес каркаса) _______________________

_____________________________________________________________________

Перечень изменений и дополнений, внесенных в первоначальный проект (указать дату и основание внесения изменений и дополнений) ______________________

_____________________________________________________________________

_____________________________________________________________________

_____________________________________________________________________

2. Длина каркаса, мм (проектная длина, мм) _______________________________

Ширина каркаса, мм (проектная ширина, мм) ______________________________

Высота каркаса, мм (проектная высота, мм) _______________________________

3. Количество, диаметр, шаг и класс установленной рабочей арматуры (проектные данные) _____________________________________________________________

4. То же для распределительной арматуры (проектные данные) _______________

_____________________________________________________________________

5. Электроды, используемые при изготовлении каркасов (проектный тип) ______

_____________________________________________________________________

6. Класс и диаметр петель, рым (по проекту) _______________________________

Замечания к качеству изготовления каркаса

· замечания к геометрическим размерам каркаса ___________________________

_____________________________________________________________________

· замечания по соблюдению шага установки рабочей арматуры _______________

_____________________________________________________________________

· замечания по соблюдению шага установки распределительной и поперечной арматуры ____________________________________________________________

· замечания к устройству стыков стержней рабочей арматуры ________________

_____________________________________________________________________

· замечания по качеству и правильности установки закладных деталей _________

_____________________________________________________________________

· прочие замечания по качеству каркасов __________________________________

_____________________________________________________________________

_____________________________________________________________________

Решение комиссии:

_____________________________________________________________________

_____________________________________________________________________

Подписи: ________________________________

_________________________________________

_________________________________________

Приложение Ж

Обязательное

Наименование строительной организации _________________________________

Объект _____________________________________________________________

Журнал
контроля качества глинистого раствора (суспензии)

1 Тип глиномешалки

2. Наименование и характеристика глин

Состав раствора на 1 м3                                            На 1 замес

Глина, кг

Вода, л

Химреагенты

Дата, смена

Место отбора пробы раствора

Показатели качества раствора

Исполнитель: Фамилия, имя, отчество, подпись

Примечание

Плотность, г/см3

Вязкость, сек

Отстой, %

Стабильность, гс/см3

Водоотдача, см3

Толщина глинистой корки, мм

Статическое напряжение сдвига, мгс/см3

1

2

3

4

5

6

7

8

9

10

11

 

 

 

 

 

 

 

 

 

 

 

 

 

 

 

 

 

 

 

 

 

 

Приложение И

Обязательное

Наименование строительной организации ____________________________

Объект________________________________________________________

Журнал
бетонирования при ведении работ методом «стена в грунте»

Дата смена

№№ захваток

К-во бетона, уложенного в захватку, м3

К-во бетона, уложенного в захватку, (нарастающим итогом), м3

Средняя интенсивность бетонирования, м3/час

Фактическая подвижность бетона, см

Уровень уложенного бетона от верха форшахты, м

Заглубление труб в бетон, м

Исполнители: фамилия, имя, отчество, подпись

Примечание

1

2

3

4

5

6

7

8

9

10

 

 

 

 

 

 

 

 

 

 

 

 

 

 

 

 

 

 

 

 

Приложение К

Обязательное

Сводная таблица контроля технологических операций при сооружении траншейной стены в грунте

Технологическая операция

Контролируемый параметр

Методы и средства контроля

Устройство форшахты

Направление оси, расстояние между стенками форшахты, высотные отметки, положение сборных элементов

Геодезические методы

Приготовление и подача глинистого раствора

Показатели качества глинистого раствора (отбор проб на каждый замес и через каждые 5 м глубины траншеи)

Измерительный. Лаборатория глинистых растворов (ЛГР)

Разработка грунта в траншее

Положение захватки в плане

Геодезические методы

Вертикальность положения траншеекопателя (через 1 м разработки по вертикали, отклонение не более 0,5 %)

Штатный прибор контроля траншеекопателя

Глубина копания

Метр стальной

Уровень глинистого раствора (выше уровня подземных вод, но не ниже 0,2 м от верха воротника траншеи)

Установка ограничителя секции бетонирования

Вертикальность положения ограничителя

Отвес

Расстояние между ограничителями

Рулетка

Превышение ограничителя над форшахтой

Визуально

Установка армокаркаса в траншею

Вертикальность положения каркаса, положение каркаса в плоскости сооружения стены, отметки верха и закладных

Теодолит, отвес

Установка в захватку бетонолитной трубы

Положение трубы

Отсчет по делениям трубы

Соединения труб при их опусканий и извлечении не должны задевать арматурный каркас

Визуально

Бетонирование захватки методом ВПТ

Интенсивность бетонирования

По объему укладываемого бетона

Перемещение бетонной смеси в приемной воронке трубы

Визуально

Заглубление трубы в бетон (не менее чем на 1 - 2 м)

Сравнение отсчетов по делениям на трубе с уровнем бетонной смеси у труб, определяемым с помощью лота или футштока

Прочность бетона

Изготовление и испытание образцов

Показатели бетонной смеси

Измерительный. Строительная лаборатория

 

Начало бетонирования

Проверка наличия скользящей пробки в бетонолитной трубе

Сроки перерывов в бетонировании

Время перерыва не должно превышать 1,0 ... 1,5 ч при больших перерывах необходим барботаж глинистого раствора

Сроки нахождения извлекаемого разделительного элемента

Через 1 ... 1,5 ч после укладки бетона - поддергивание элемента краном, через 3 ... 4 ч - извлечение элемента домкратной установкой

Интенсивность вибрирования бетона

Виброметр с погружным вибродатчиком - определяется радиус действия вибратора

Температура твердения бетона (при зимнем бетонировании)

Термометр электрический

Конец бетонирования

Бетонирование до уровня, превышающего не менее, чем на 50 см проектную отметку. Контроль - стальным метром

Установка сборных ж.-б. элементов

Положение элемента в плане. Отметка верха

Геодезические методы, шаблон, монтажные приспособления

Омоноличивание сборных ж.-б. элементов

Показатели твердеющего тампонажного раствора или бетонной смеси

Измерительный. Строительная лаборатория

Приложение Л

Обязательное

Наименование объекта _________________________________________________

_________________________________________________

АКТ №_____

Освидетельствования и приемки участка стены в грунте

от ПК__________ до ПК___________

«___»_______________200... г.

Комиссия в составе представителей: Организации-производителя работ ________________________, Генподрядчика _____________________, Заказчика ________________________, Проектной организации ____________________________ _______________________________произвела освидетельствование и приемку участка «Стены в грунте» от ПК ________ до ПК _______, захваток №______

Работы выполнены в период с ________по _______по чертежам ____________

разработанным__________________________________

Комиссии предъявлена следующая рабочая документация:

1. Журнал контроля качества бентонитовой суспензии.

2. Паспорта на армокаркасы.

3. Журнал бетонирования методом ВПТ.

4. Акты испытаний контрольных образцов кубов на сжатие бетона ______________

5. Сводная ведомость захваток участка стены в грунте.

6. Исполнительная съемка участка стены в грунте.

7. Акты освидетельствования и приемки арматурных каркасов №№ _____________

Захватки шириной_____с отметкой верха и отметкой дна (см. Сводную ведомость)

Грунт в основании _____________________________________________________

Во все захватки опущены арматурные каркасы высотой _______________________

Низ арматурного каркаса расположен на отметке _______(см. Сводную ведомость)

Арматурные каркасы с продольными стержнями из арматуры __________________

и поперечные _______________с шагом__________________

Качество работ соответствует требованиям проекта и СНиП.

Разрешить производство последующих работ ________________________________

Приложения:

1. Сводная ведомость захваток _________________

2. Исполнительная съемка участка стены в грунте ____________________________

от «____»________________2000 г.

3. Акты испытаний контрольных образцов-кубов на сжатие №№ ________________

Подписи _____________________

_____________________________

_____________________________

_____________________________

_____________________________

Приложение М

Информационное

Литература

1. ВСН 190-78. Инструкция по инженерно-геологическим изысканиям для проектирования и строительства метрополитенов, горных железнодорожных и автодорожных тоннелей. М., Минтрансстрой СССР, 1978.

2. ВСН 261-86. Инструкция по вибрационной укладке бетона способом ВПГ под водой и глинистым раствором.

3. ВСН 488-86. Омоноличивание стыков элементов сборных конструкций подземных сооружений. М., ЦБНТИ Минмонтажспецстроя СССР, 1987.

4. Пособие по производству работ при устройстве оснований и фундаментов (к СНиП 3.02.01-83). М., Стройиздат, 1986.

5. Руководство по проектированию стен сооружений и противофильтрационных завес, устраиваемых способом «стена в грунте». М., Стройиздат, 1977.

6. Руководство по проектированию и технологии устройства анкерного крепления в транспортном строительстве. М., ЦНИИС, 1987.

7. Пособие по проектированию оснований зданий и сооружений (к СНиП 2.02.01-83*). М., Стройиздат, 1986.

8. Методические указания по проектированию сооружений метрополитена, возводимых методом «стена в грунте». М., Метрогипротранс, 1987.

9. Рекомендации по проектированию и возведению сборно-монолитных «стен в грунте» с листовой арматурой. М., МАДИ, ИИЦ «ЗЭСТ», 1998.

10. Основания, фундаменты и подземные сооружения. Справочник проектировщика. М., Стройиздат, 1985.

11. Руководство по применению глинистых и тампонажных растворов при строительстве способом «стена в грунте». М., ЦБНТИ, 1977.

 




ГОСТЫ, СТРОИТЕЛЬНЫЕ и ТЕХНИЧЕСКИЕ НОРМАТИВЫ.
Некоммерческая онлайн система, содержащая все Российские Госты, национальные Стандарты и нормативы.
В Системе содержится более 150000 файлов нормативно-технической документации, действующей на территории РФ.
Система предназначена для широкого круга инженерно-технических специалистов.

Рейтинг@Mail.ru Яндекс цитирования

Copyright © www.gostrf.com, 2008 - 2026