|
|
|
МИНИСТЕРСТВО
ТОПЛИВА И ЭНЕРГЕТИКИ АТТЕСТАЦИОННЫЙ НАУЧНО-ТЕХНИЧЕСКИЙ ЦЕНТР РУКОВОДЯЩИЙ ДОКУМЕНТ РД 34.10.130-96 ИНСТРУКЦИЯ МОСКВА 1996 МИНИСТЕРСТВО
ТОПЛИВА И ЭНЕРГЕТИКИ АТТЕСТАЦИОННЫЙ
НАУЧНО-ТЕХНИЧЕСКИЙ ЦЕНТР
РУКОВОДЯЩИЙ ДОКУМЕНТ ИНСТРУКЦИЯ РД 34.10.130-96
Группа В09 Руководящий документ
Дата введения 1996-01-07 Настоящая инструкция устанавливает обязательные требования к организации и порядку производства работ по визуальному и измерительному контролю, включая требования к подготовке и аттестации персонала, средствам контроля, организации работ, фиксации результатов контроля и т.д. при изготовлении, монтаже, ремонте, реконструкции и эксплуатации оборудования, металлических конструкций и трубопроводов энергетических объектов, на которые распространяется действие нормативно-технических документов Госгортехнадзора России, Госатомнадзора России и Минстроя России: Правила устройства и безопасной эксплуатации паровых и водогрейных котлов; Правила устройства и безопасной эксплуатации сосудов, работающих под давлением; Правила устройства и безопасной эксплуатации трубопроводов пара и горячей воды, РД-03-94; Правила устройства и безопасной эксплуатации грузоподъемных кранов; Правила устройства и безопасной эксплуатации оборудования и трубопроводов атомных энергетических установок, ПН АЭ Г-7-008-89; Правила устройства и безопасной эксплуатации локализующих систем безопасности атомных станций, ПН АЭ Г-10-021-90; Правила устройства и безопасной эксплуатации трубопроводов для горючих, токсичных и сжиженных газов; СНиП 3.05.05-84 «Технологическое оборудование и технологические трубопроводы»; СНиП 3.05.02-88* «Газоснабжение»; СНиП 3.05.03-85 «Тепловые сети»; СНиП 3.03.01-87 «Несущие и ограждающие конструкции»; СНиП III-18-75 «Металлические конструкции»; СНиП 3.05.04-85 «Наружные сети и сооружения водоснабжения и канализации». Инструкция является производственно-контрольным документом (далее по тексту - ПКД), регламентирующим требования к выполнению визуального и измерительного контроля основного материала, сварных соединений и наплавок и предназначена для персонала предприятий и организаций, независимо от их ведомственной принадлежности и форм собственности, выполняющих работы при изготовлении, монтаже, ремонте, реконструкции, модернизации и эксплуатации оборудования, конструкций и трубопроводов энергетических объектов (тепловые и электрические станции, атомные энергетические установки, котлы промышленной энергетики, отопительные котельные, тепловые сети), а также металлоконструкций грузоподъемных кранов, газопроводов, технологического оборудования и технологических трубопроводов, сетей и сооружений водоснабжения и канализации. Инструкция может быть распространена предприятием, выполняющим работы, так же на другие объекты, на которые не распространяются перечисленные выше документы. При разработке Инструкции учтены требования и положения документа «Унифицированные методики контроля основных материалов (полуфабрикатов), сварных соединений и наплавки оборудования и трубопроводов АЭУ. Визуальный и измерительный контроль» ПН АЭ Г-7-016-89. Инструкция действует совместно с этой методикой. Перепечатка и внесение изменений в Инструкцию не допускается. Внесение изменений в Инструкцию осуществляется организацией разработчиком в плановом порядке согласно требований ГОСТ 2.503. 1 ОБЩИЕ ПОЛОЖЕНИЯ1.1 Действие настоящей инструкции распространяется на визуальный и измерительный контроль качества основного материала (полуфабрикаты, заготовки, изделия); подготовки деталей к сварке; сборки соединений деталей (сборочных единиц, изделий) под сварку; сварных соединений и наплавок; изготовления деталей и сборочных единиц; исправления дефектов в сварных соединениях и основном металле, который выполняется на стадиях входного контроля основного материала, изготовления (монтажа, ремонта) деталей, сборочных единиц и изделий и при техническом диагностировании состояния металла и сварных соединений в процессе эксплуатации, в т.ч. по истечении расчетного срока службы изделия. 1.2 Визуальный и измерительный контроль основных материалов на стадии входного контроля выполняется при поступлении материала на предприятие (организацию) с целью подтверждения его соответствия требованиям стандартов (ГОСТ, ОСТ), технических условий (далее по тексту - ТУ), рабочей конструкторской документации (далее ПО тексту - рабочие чертежи) и Правил органов Государственного надзора (далее по тексту - Правил). 1.3 Визуальный и измерительный контроль качества подготовки деталей выполняется перед началом технологической операции, например, перед сборкой соединения под сварку или перед гибкой колена и т.д., с целью подтверждения соответствия качества подготовки требованиям рабочих чертежей, технологии изготовления (технология сборки, гибки и пр.; далее по тексту - ПТД), требованиям нормативно-технической документации (далее по тексту - НТД) и Правил. 1.4 Визуальный и измерительный контроль качества сборки соединений деталей под сварку выполняется с целью подтверждения соответствия качества сборки требованиям рабочих чертежей, ПТД и/или НТД и Правил. 1.5 Визуальный и измерительный контроль качества изготовления изделий (деталей, сборочных единиц) выполняется с целью подтверждения их соответствия требованиям рабочих чертежей и ТУ на изготовление и Правил. 1.6 Визуальный и измерительный контроль качества сварных соединений и наплавок оборудования, конструкций и трубопроводов, выполняется с целью подтверждения их соответствия требованиям рабочих чертежей, ПТД и/или НТД и Правил. 1.7 Визуальный и измерительный контроль качества исправления дефектов (Приложение А) в основном материале, сварных соединениях и наплавках выполняется с целью подтверждения полноты удаления дефекта, формы и размеров выборки дефектного участка, а также качества заварки выборок (в случаях, когда выборка подлежит заварке) требованиям ПТД, НТД и Правил. 1.8 Визуальный и измерительный контроль изделий при техническом диагностировании производят с целью выявления изменений их формы, а также поверхностных дефектов в основном материале и сварных соединениях, образовавшихся в процессе эксплуатации (трещины всех видов и направлений, коррозионный и эрозионный износ поверхностей, деформация изделия и пр.). 1.9 Визуальный и измерительный контроль на стадии входного контроля основного материала (полуфабриката, заготовок, изделий) выполняется в соответствии с «Программой (планом, инструкцией) входного контроля» (Приложение Б), которая разрабатывается предприятием (организацией), выполняющим входной контроль. «Программа (план, инструкция) входного контроля» разрабатывается в соответствии с требованиями ГОСТ 24297 и отраслевых руководящих материалов - РД 34 17.401, АИЭ 10-89, АИП 34-14-88 и др. В «Программе (плане, инструкции) входного контроля» должны указываться виды изделий (полуфабрикатов, заготовок), подлежащие контролю, виды и объемы контроля, способы контроля, включая схемы выполнения замеров контролируемых параметров, нормативные показатели допустимых отклонений. 1.10 Визуальный и измерительный контроль качества изделий (деталей, сборочных единиц), а также сварных соединений при изготовлении (монтаже, ремонте, реконструкции) должен выполняться в соответствии с требованиями «Технологической карты контроля» или «Карт (схем) операционного контроля» (Приложения В и Г). В указанных картах должны приводиться контролируемые параметры, последовательность контроля, объемы контроля и нормы оценки результатов контроля, средства контроля, схемы выполнения замеров контролируемых параметров. Разработка технологических карт и карт операционного контроля выполняется предприятием, выполняющим работы в соответствии с ГОСТ 23479, либо специализированной организацией, выполняющей проектно-технологическую подготовку производства работ по контролю. 1.11 Визуальный и измерительный контроль состояния металла и сварных соединений при техническом диагностировании оборудования и трубопроводов должен выполняться в соответствии с «Картами (схемами) визуального и измерительного контроля», которые разрабатываются в составе «Программы технического диагностирования». Разработку «Программы технического диагностирования» производит предприятие, выполняющее работы по техническому диагностированию или специализированная организация, имеющая лицензию (разрешение, сертификат) на право выполнения этого вида работ, выданную органами Государственного надзора. В «Картах (схемах) контроля» должны указываться места проведения контроля на конкретном оборудовании (трубопроводе), схемы контроля, средства измерения контролируемого параметра, нормы оценки качества, бланки фиксации результатов контроля измерениями. 1.12 Визуальный контроль, как правило, выполняется невооруженным глазом или с помощью лупы. Увеличение луп должно быть 4-7-кратное при контроле основного материала и сварных соединений при изготовлении, монтаже и ремонте и до 20-кратного при техническом диагностировании. 1.13 Визуальный и измерительный контроль должен выполняться до проведения контроля изделия (сварного соединения) другими методами неразрушающего и разрушающего контроля. Все измерения должны проводиться после визуального контроля или параллельно с ним. 1.14 При доступности визуальный и измерительный контроль основного металла и сварных соединений изделий следует выполнять как с наружной, так и с внутренней стороны изделия. 1.15 Визуальный и измерительный контроль основных материалов, сварных соединений и наплавок изделий, подлежащих термической обработке, следует производить как до, так и после указанной обработки. Если изделие, в т.ч. сварное, подлежит полной термической обработке (нормализации или закалке с последующим отпуском), контроль следует проводить после ее выполнения вне зависимости от проведения предварительного отпуска. 1.16 Если сварное соединение подлежит механической обработке (в том числе, с удалением валика усиления шва) или деформированию, то визуальный контроль следует выполнять после проведения указанных операций. 1.17 Дефекты, выявленные при визуальном и измерительном контроле, должны быть исправлены до проведения последующего вида контроля другими методами, либо до выполнения технологической операции. Исправление дефектов в основном материале должно выполняться в соответствии с требованиями ПТД, действующей на предприятии (организации). 1.18 Контролируемая зона сварного соединения должна включать весь объем металла шва, а также примыкающие к нему участки основного металла в обе стороны от шва шириной: не менее 5 мм - для стыковых соединений, выполненных дуговой и электронно-лучевой сваркой при номинальной толщине сваренных деталей 5 мм включительно; не менее номинальной толщины стенки детали - для стыковых соединений, выполненных дуговой и электронно-лучевой сваркой при номинальной толщине сваренных деталей свыше 5 до 20 мм; не менее 20 мм - для стыковых соединений, выполненных дуговой и электронно-лучевой сваркой при номинальной толщине сваренных деталей свыше 20 мм, а также для стыковых и угловых соединений, выполненных газовой сваркой, независимо от номинальной толщины стенки сваренных деталей и при ремонте дефектных участков в сварных соединениях; не менее 5 мм (независимо от номинальной толщины сваренных деталей) - для угловых, тавровых, торцевых и нахлесточных сварных соединений и соединений вварки труб в трубные доски, выполненных дуговой и электронно-лучевой сваркой; не менее 50 мм (независимо от номинальной толщины сваренных деталей) - для сварных соединений, выполненных электрошлаковой сваркой. 1.19 К выполнению каждого последующего вида работ или технологической операции на изделии разрешается приступать только после приемки по результатам визуального и измерительного контроля предыдущего вида работ (технологической операции). Например, к изготовлению заготовок деталей разрешается приступать после приемки качества основных материалов (входной контроль), к изготовлению сборочных единиц путем сварки деталей - после приемки качества подготовки деталей, в т.ч. подготовки кромок, к сварке соединений - после приемки качества сборки деталей, к контролю качества сварных соединений неразрушающими и разрушающими методами - после приемки готовых сварных соединений, к исправлению дефектных участков - после выявления и разметки границ дефектного участка и т.д. Разрешение на выполнение каждого последующего вида работ (технологической операции) выдается лицом, выполняющим визуальный и измерительный контроль, который делает отметку о приемке предыдущего вида работ в учетных документах (Журнал сварочных работ, Карта операционного контроля, Маршрутная карта и др.), либо путем клеймения на поверхности изделия (детали, сборочной единицы). 2 ТРЕБОВАНИЯ К ПЕРСОНАЛУ2.1 К работам по визуальному и измерительному контролю качества материала и сварных соединений изделий допускаются специалисты (инженерно-технические работники и контролеры сварочных работ), имеющие необходимое общее образование, теоретическую и практическую подготовку по визуальному и измерительному контролю, успешно прошедшие аттестацию на право выполнения контрольных работ в соответствии с требованиями «Правил аттестации специалистов неразрушающего контроля», утвержденных Госгортехнадзором России 18 августа 1992 г., или (для объектов атомной энергетики) в соответствии с документом «Оборудование и трубопроводы атомных энергетических установок. Сварные соединения и наплавки. Правила контроля» ПН АЭ Г-7-010-89 и получившие удостоверение установленной формы. 2.2 Специалисты, непосредственно осуществляющие визуальный и измерительный контроль, не должны иметь медицинских противопоказаний по состоянию здоровья. 2.3 Теоретическая и практическая подготовка специалистов и контролеров может проводиться на специальных курсах при учебно-аттестационных центрах (пунктах), учебных комбинатах или по месту работы в подразделениях неразрушающего контроля в соответствии с программой (Приложение Д). Программа подготовки специалистов по визуальному и измерительному контролю должна быть разработана (согласована) аттестационным центром, а для объектов, подконтрольных Госатомнадзору РФ, так же и головной отраслевой материаловедческой организацией. 2.4 Минимальный стаж работы по специальности лиц, подлежащих аттестации на право выполнения работ по визуальному и измерительному контролю с правом выдачи заключения о качестве контролируемого объекта, должен составлять не менее трех месяцев. Лица, впервые приступающие к работам по визуальному и измерительному контролю объектов, подконтрольных Госгортехнадзору, Госатомнадзору и Минстрою России на энергетических объектах и на предприятиях, выполняющих изготовление оборудования и трубопроводов для тепловых и атомных электростанций, после обучения и аттестации не менее трех месяцев должны работать под контролем специалиста (контролера) более высокой квалификации, аттестованного на право выполнения работ с выдачей заключения о качестве контролируемого объекта. По накоплении опыта работ по визуальному и измерительному контролю эти контролеры и специалисты должны пройти повторную аттестацию (объем проверки теоретических и практических знаний устанавливается аттестационной комиссией) на право выполнения работ с выдачей заключения по качеству контролируемого объекта. 2.5 Инженерно-технические работники, осуществляющие руководство работами по визуальному и измерительному контролю, кроме профессиональной аттестации согласно п. 2.1 должны проходить аттестацию на знание правил, норм и инструкций по безопасному ведению работ на объектах, подконтрольных Госгортехнадзору и Госатомнадзору, в соответствии с положениями, действующими в отрасли. 2.6 Аттестация специалистов на право руководства и выполнения работ по визуальному и измерительному контролю должна осуществляться аттестационными комиссиями отраслевого (регионального) аттестационного центра, имеющего лицензию (разрешение, сертификат) органов Государственного надзора на право аттестации специалистов по контролю. Примечание - Аттестация специалистов визуального и измерительного контроля объектов, подконтрольных Госатомнадзору России, должна выполняться постоянно действующими комиссиями предприятия (организации), выполняющей работы по изготовлению, монтажу или ремонту оборудования и трубопроводов атомных энергетических установок и/или в специализированных организациях, в т.ч. аттестационных центрах (пунктах), определяемых по согласованию с местным органом Госатомнадзора России. Члены аттестационной комиссии предприятия должны проходить периодическую аттестацию (не реже одного раза в три года) в головной отраслевой материаловедческой организации. 2.7 При аттестации на право выполнения работ по визуальному и измерительному контролю, аттестуемые специалисты сдают теоретический и практический экзамены, в порядке, установленном НТД Госгортехнадзора России и Госатомнадзора России. Специалист считается сдавшим экзамен, если он на теоретическом экзамене правильно ответил не менее, чем на 80 % заданных вопросов, а на практическом экзамене показал удовлетворительные практические навыки по контролю конкретной паспортизованной продукции. 2.8 При неудовлетворительной оценке при сдаче теоретического экзамена аттестуемый специалист к сдаче практического экзамена допускается только по решению аттестационной комиссии. Пересдача экзамена в случае неудовлетворительной оценки разрешается в течение года, но не ранее, чем через один месяц с момента первого экзамена. При повторной не сдаче, ранее сданные экзамены не засчитываются. К новым экзаменам специалист может быть допущен после дополнительной подготовки, но не ранее, чем через 3 месяца. 2.9 Аттестация специалистов на право производства работ по визуальному и измерительному контролю должна проводиться не реже одного раза в 3 года с ежегодной проверкой практических навыков. Аттестация специалистов на право руководства работами по визуальному и измерительному контролю выполняется также не реже одного раза в 3 года. 3 ТРЕБОВАНИЯ К ПРИБОРАМ И ИНСТРУМЕНТАМ ДЛЯ ВИЗУАЛЬНОГО И ИЗМЕРИТЕЛЬНОГО КОНТРОЛЯ3.1 Визуальный контроль основных материалов, сварных соединений и изделий проводится невооруженным глазом и (или) с применением оптических приборов (луп, микроскопов, визуально-оптических приборов для контроля удаленных и скрытых объектов - цистоскопов, эндоскопов, бароскопов, флексоскопов, биноклей, перископических дефектоскопов, зеркал, зрительных труб и др.). - лупы измерительные по ГОСТ 25706; - линейки измерительные металлические по ГОСТ 427; - угольники поверочные 90° лекальные по ГОСТ 3749; - штангенциркули по ГОСТ 166 и штангенрейсмасы по ГОСТ 164; - щупы № 2...4; - угломеры с нониусом по ГОСТ 5378; - стенкомеры и толщиномеры индикаторные по ГОСТ 11358; - микрометры по ГОСТ 6507; - нутромеры метрические по ГОСТ 10 и индикаторные по ГОСТ 868; - шаблоны, в том числе универсальные (например, типа УШС по ТУ 102.338-83), радиусные, резьбовые и др.; - толщиномеры ультразвуковые, например, УТ-9ЗП и др. 3.3 Для измерения больших линейных размеров изделий или отклонений от формы и расположения поверхностей изделий следует применять: - поверочные плиты; - плоскопараллельные концевые меры длины по ГОСТ 9038 с набором специальных принадлежностей по ГОСТ 4119; - штриховые меры длины по ГОСТ 427 и ГОСТ 7502 (стальные измерительные линейки, рулетки); - оптические и лазерные приборы (нивелиры, макротелескопы), а также измерительные приборы и инструменты, приведенные в п. 3.2. Для измерения линейных размеров изделий, помимо перечисленных средств, допускается применение также специальных приборов и методов измерений, в том числе оптических, механических, гидростатических, радиотехнических, лазерных, телевизионных и прочих, при условии освоения предприятием (организацией) методик и средств контроля и согласования их со специализированной (головной) организацией по контролю, либо с разработчиком настоящей инструкции. Технические характеристики отдельных средств измерений приведены в таблицах 1, 2 и 3. Таблица 1 - Типы луп
3.4 Для измерения конструкционных элементов формы и размеров кромок, зазоров собранных под сварку соединений, а также размеров выполненных сварных швов разрешается применять шаблоны различных типов, из числа используемых предприятиями при выполнении работ, при условии подтверждения их характеристик службой контроля или метрологической службой предприятия или метрологическим центром. 3.5 Погрешность измерений при измерительном контроле не должна превышать величин, указанных в таблице 4, если в рабочих чертежах не предусмотрены более жесткие требования. 3.6 Для определения шероховатости и волнистости поверхности следует применять профилографы-профилометры по ГОСТ 19300 или техническим условиям, либо образцы шероховатости (сравнения) по ГОСТ 9378. 3.7 Измерительные приборы и инструменты должны периодически, а также после ремонта проходить поверку в метрологических службах в сроки, установленные нормативно-технической документацией на соответствующие приборы и инструменты. Таблица 2 - Технические характеристики приборов и инструментов для визуального и измерительного контроля
Таблица 3 - Приборы и средства измерений отклонений от прямолинейности и плоскостности
Таблица 4 - Допустимая погрешность измерения при измерительном контроле
4 ТРЕБОВАНИЯ К ВЫПОЛНЕНИЮ ВИЗУАЛЬНОГО И ИЗМЕРИТЕЛЬНОГО КОНТРОЛЯ4.1 Подготовка мест производства работ4.1.1 Визуальный и измерительный контроль при производстве работ, как правило, должен выполняться на стационарных участках, которые должны быть оборудованы столами, стендами, роликоопорами и др. средствами, обеспечивающими удобство выполнения работ. 4.1.2 Визуальный и измерительный контроль при монтаже и ремонте оборудования, конструкций и трубопроводов, а также при техническом диагностировании изделий выполняется непосредственно по месту монтажа (ремонта) или расположения изделия. В этом случае, должно быть обеспечено удобство подхода лиц, выполняющих контроль, к месту производства контрольных работ, созданы условия для безопасного производства работ, в т.ч. оборудованы леса, ограждения, подмости, а также обеспечена возможность подключения ламп местного освещения напряжением 12 вольт. 4.1.3 Участки контроля, особенно стационарные, следует располагать на наиболее освещенных местах цеха, имеющих естественное освещение. Независимо от наличия естественного освещения участки контроля должны быть оборудованы также искусственным освещением, в т.ч. розетками переменного тока для подключения переносных осветительных приборов. Освещенность контролируемых поверхностей должна быть достаточной для надежного выявления дефектов и соответствовать требованиям ГОСТ 23479, но в любом случае должна быть не менее 300 Лк. Окраску поверхностей стен, потолков, рабочих столов и стендов на участках визуального и измерительного контроля рекомендуется выполнять в светлых тонах (белый, голубой, желтый, светло-зеленый, светло-серый) для увеличения контрастности контролируемых поверхностей деталей (сборочных единиц, изделий), повышения контрастной чувствительности глаза, снижения общего утомления лица, выполняющего контроль. 4.2 Подготовка объектов к контролю.4.2.1 Подготовка объектов к визуальному и измерительному контролю производится подразделениями предприятия (организации), выполняющими изготовление, монтаж или ремонт. Подготовка объектов к техническому диагностированию выполняется службами Заказчика (организации, которой принадлежит диагностируемый объект). Подготовка изделий к контролю в обязанности специалиста по контролю не входит. 4.2.2 Паровые и водогрейные котлы, сосуды и трубопроводы, подлежащие визуальному и измерительному контролю при техническом диагностировании, должны быть выведены из работы, охлаждены, дренированы, отключены от соседних котлов и трубопроводов, внутренние устройства сосудов в случае необходимости должны быть удалены, а тепловая изоляция и обмуровка, препятствующие контролю технического состояния основного металла и сварных соединений, должны быть частично или полностью удалены в местах, оговоренных программой работ по техническому диагностированию. 4.2.3 Перед проведением визуального и измерительного контроля поверхность объекта в зоне контроля подлежит зачистке до чистого металла от ржавчины, окалины, грязи, краски, масла, шлака, брызг расплавленного металла, продуктов коррозии и других загрязнений, препятствующих проведению контроля (на контролируемых поверхностях, в случаях, когда это оговорено ПТД, допускается наличие цветов побежалости). Зона зачистки должна определяться НТД на вид работ или на изготовление изделия. При отсутствии требований в НТД зона зачистки деталей и сварных швов должна составлять: - при зачистке кромок деталей под дуговую и газовую сварку - не менее 20 мм с наружной стороны и не менее 10 мм с внутренней стороны от кромок разделки детали; - при зачистке кромок деталей под электрошлаковую сварку - не менее 50 мм; - при зачистке кромок деталей угловых соединений труб (вварка штуцера в коллектор, трубу или барабан) - зачистке подлежат: поверхность вокруг отверстия в трубе (коллекторе, барабане) на расстоянии 15 - 20 мм, поверхность «очка» - на всю глубину и поверхность привариваемого штуцера - на расстоянии не менее 20 мм от кромки разделки; - при зачистке стального подкладного остающегося кольца или расплавляемой проволочной вставки - вся наружная поверхность подкладного кольца и все поверхности расплавляемой вставки; - при зачистке сварного шва деталей - шов и прилегающие к нему участки основного материала деталей; ширина зона зачистки основного материала должна составлять не менее 20 мм в каждую сторону от шва при всех видах дуговой и газовой сварки и не менее 100 мм - при электрошлаковой сварке. 4.2.4 Зачистка поверхностей деталей (изделий) и сварных швов перед контролем производится металлическими щетками, напильником или абразивным кругом. При зачистке деталей и сварных швов из аустенитных сталей и высоконикелевых сплавов должны применяться щетки, изготовленные из нержавеющей нагартованной проволоки. 4.2.5 Шероховатость зачищенных под контроль поверхностей деталей (сварных соединений) должна составлять не более Ra 12,5 (Rz 80). Ra 3,2 (Rz 20) - при капиллярных видах контроля; Ra 10 (Rz 63) - при магнитопорошковом методе контроле; Ra 6,3 (Rz 40) - при ультразвуковых видах контроля. Для других методов неразрушающего контроля шероховатость контролируемых поверхностей изделий не регламентируется и устанавливается ПТД или ПКД. 4.2.7 Шероховатость поверхностей разделки кромок деталей (сборочных единиц, изделий), подготовленных под сварку, должна быть не более Ra 12,5 (Rz 80). 4.3 Порядок выполнения визуального и измерительного контроля основного материала.4.3.1 В настоящем подразделе рассматривается порядок контроля основного материала, выполняемого на стадии входного контроля материала (полуфабриката, заготовок) и изделий (деталей, сборочных единиц). Контроль основного материала оборудования (трубопроводов) на стадии технического диагностирования изделий, как в процессе их эксплуатации, так и по истечении расчетного срока их службы рассмотрен в подразделе 4.8. 4.3.2 Задачей визуального контроля основного материала, полуфабрикатов и заготовок, предназначенных для изготовления деталей и сборочных единиц и ремонта изделий, является выявление участков металла с трещинами, выходящими на поверхность, расслоениями, закатами, забоинами (вмятинами), рванинами, раковинами, пленами, шлаковыми включениями и другими несплошностями, вызванными технологией изготовления или транспортировкой, а также подтверждение наличия и правильности маркировки. Задачей измерительного контроля полуфабрикатов и заготовок, предназначенных для изготовления деталей, сборочных единиц и изделий, а также ремонта изделий является подтверждение их геометрических размеров и определение размеров поверхностных дефектов, выявленных при визуальном контроле. При входном визуальном контроле сварных труб с прямолинейным или спиральным швом кроме того, контролю подлежит не менее 10 % длины каждого шва. Контроль рекомендуется выполнять на участках, равномерно расположенных по длине шва трубы. Задачей контроля является подтверждение отсутствия поверхностных трещин, пор, шлаковых и металлических включений, прожогов, свищей, наплывов металла, усадочных раковин, подрезов, грубой чешуйчатости шва, западаний между валиками шва, брызг расплавленного металла, непроваров и пр. дефектов. Измерительный контроль сварных швов выполняется на участках сварных швов, проконтролированных визуально. Измерение размеров сварного шва выполняется на каждом участке, проконтролированном визуально, но не менее, чем в трех сечениях по длине заводского шва. Измерение поверхностных дефектов выполняется в местах, отмеченных при визуальном контроле. 4.3.3 При входном контроле изделий, в т.ч. сварных и литых, визуально необходимо контролировать поверхности изделий снаружи, а при наличии доступа и изнутри, кромки элементов, подлежащие сварке, а также качество сварных швов. Кромки литых деталей, подлежащие сварке, визуально следует контролировать на участке шириной не менее 100 мм по всей длине. Кромки элементов изделий (деталей), имеющих наплавку, должны подвергаться визуальному контролю по всему периметру. Ширина зоны контроля должна составлять l + 20 мм, где l - ширина наплавки в мм. Контролю подлежит каждая кромка с наплавкой. Визуальному контролю подлежит не менее 10 % длины сварных швов изделий, если другие требования не указаны в НТД, ПТД или ПКД. Задачей визуального контроля основного материала, кромок, подлежащих сварке, и сварных швов изделий, является подтверждение отсутствия продуктов коррозии на поверхности и недопустимых поверхностных дефектов (трещин, расслоений, забоин, вмятин, раковин, пор, подрезов, грубой чешуйчатости, западаний между валиками шва, раковин, свищей, шлаковых включений и других несплошностей), вызванных технологией изготовления (условиями хранения) или транспортировкой, подтверждение наличия и правильности клеймения, а также соответствия формы (типа) разделки кромок деталей, подлежащих сварке, требованиям рабочих чертежей и ТУ на изготовление. Измерительный контроль изделий проводится с целью подтверждения размеров сварных швов, допустимости размеров поверхностных дефектов, выявленных при визуальном контроле, а также соответствия основных размеров изделий (деталей, сборочных единиц) требованиям стандартов, ТУ и паспортов изделий. Измерительный контроль сварных швов выполняют через один метр по длине каждого контролируемого шва, но не менее, чем в трех сечениях. 4.3.4 Требования к визуальному и измерительному контролю полуфабрикатов (трубы, листы, поковки) приведены в таблице 5. Визуальный и измерительный контроль геометрических размеров кромок деталей, сборочных единиц и изделий, а также сварных соединений должен выполняться согласно указаний, приведенных в подразделах 4.4 и 4.5. 4.3.5 Визуальный и измерительный контроль качества основного материала полуфабрикатов, заготовок и изделий проводится согласно «Программы (плана, инструкции) входного контроля» (см. п. 1.9). Таблица 5 - Требования к визуальному и измерительному контролю полуфабрикатов (труба, лист, поковка)
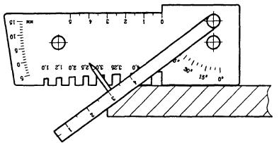
Примечания: 1) Контролю по п. 1...4 подлежат не менее 50 % труб (листов) от партии. 2) Контролю по п. 7 подлежит не менее 10 % длины каждой трубы (площади поверхности листа). 4.4 Порядок выполнения визуального и измерительного контроля подготовки и сборки деталей под сварку.4.4.1 При подготовке деталей под сварку необходимо контролировать: наличие маркировки и/или документации, подтверждающей приемку полуфабрикатов, деталей, сборочных единиц и изделий при входном контроле; наличие маркировки предприятия-изготовителя материала на деталях, подготовленных под сварку (для деталей изделий, работающих под давлением, и для деталей, на которые распространяется действие Правил устройства и безопасной эксплуатации органов надзора); наличие удаления механическим путем зоны термического влияния в месте термической (огневой) резки деталей (заготовок); форму обработки кромок, в т.ч. при подготовке деталей с различной номинальной толщиной стенки; форму обработки внутренних поверхностей кольцевых деталей; материал и форму подкладных колец и расплавляемых вставок; наличие заварки разъема подкладного кольца, качество шва заварки подкладного кольца, а также наличие зачистки шва заварки разъема подкладного кольца; чистоту (отсутствие визуально наблюдаемых загрязнений, пыли, продуктов коррозии, масла и т.п.), подлежащих сварке (наплавке) кромок и прилегающих к ним поверхностей, а также подлежащих неразрушающему контролю участков основного металла. 4.4.2 При сборке деталей под сварку визуально необходимо контролировать: правильность установки подкладных колец и расплавляемых вставок; правильность установки временных технологических креплений; правильность сборки и крепления деталей в сборочных приспособлениях; правильность (расположение и количество) установки прихваток и их качество; правильность установки приспособлений для поддува защитного газа; правильность нанесения активирующего флюса и защитной флюс-пасты; наличие защитного покрытия от брызг расплавленного металла на поверхности деталей из аустенитных сталей, свариваемых ручной дуговой и полуавтоматической (автоматической) сваркой плавящимся электродом в среде защитного газа; чистоту кромок и прилегающих к ним поверхностей деталей. 4.4.3 Измерительный контроль при подготовке деталей под сварку (рис. 1) осуществляется для проверки: размеров разделки кромок (углы скоса кромок, толщина и ширина притупления кромок разделки); радиусы скругления размером до 1,0 мм в местах перехода поверхностей разделки, а также размер скоса внутренней кромки, выполняемый для улучшения условий выявления непровара в корне шва при радиографическом контроле, измерению не подлежат; размеров (диаметр, длина, угол выхода резца) расточки (раздачи) концов труб по внутреннему диаметру; размеров подкладных колец и расплавляемых вставок (ширина, толщина, углы скоса, диаметр); размеров элементов секторных отводов; перпендикулярности торцов, подготовленных под сварку цилиндрических деталей, к ее образующей; минимальной фактической толщины стенки цилиндрической детали после расточки по внутреннему диаметру; размеров отверстий под штуцер (патрубок) и обработки кромок в трубе (коллекторе, корпусе); ширины зоны зачистки механическим путем наружной и внутренней поверхностей деталей и шероховатости поверхностей кромок и прилегающих поверхностей деталей, в т.ч. места зачистки шва разъема подкладного остающегося кольца. 4.4.4 Измерительный контроль соединения, собранного под сварку (рис. 2) включает проверку: размеров швов приварки временных технологических креплений, расстояния технологического крепления от кромки разделки и расположение креплений по длине (периметру) соединения (при необходимости в случае, если в ПТД оговорено расстояние между соседними креплениями); величины зазора в соединении, в т.ч. между деталью и подкладным кольцом; величины смещения кромок (внутренних и наружных) собранных деталей; размеров (длина, высота) прихваток и их расположение по длине (периметру) соединения (при необходимости в случае, если это оговорено в ПТД, также расстояние между соседними прихватками); величины зазора в замке расплавляемой проволочной вставки; перелома осей цилиндрических деталей трубы и плоскостей плоских деталей (листы); несимметричности осей штуцера и отверстия в корпусе (трубе); ширины зоны нанесения защитного покрытия на поверхностях деталей; геометрических (линейных) размеров узла, собранного под сварку (в случаях, оговоренных ПКД). Рисунок 1 - Размеры, контролируемые измерением при подготовке деталей под сварку а) V-образная разделка кромки; б) У-образная разделка кромки; в) I-образная разделка кромки (без скоса кромки); г) V-образная двухскосняя разделка кромки; д) V-образная двухсторонняя разделка кромки; е) подготовка кромок штуцера Dy 10-65; ж) I-образная разделка с присадочным выступом; з) цилиндрическая расточка (раздача) концов труб по внутреннему диаметру; и) коническая расточка концов труб по внутреннему диаметру; к) притупление внутренней кромки трубы; Продолжение рисунка 1
Рисунок 1 - Размеры, контролируемые измерением при подготовке деталей под сварку л), м) и н) подкладное стальное остающееся кольцо; о) расплавляемая проволочная вставка; п) сектор отвода; р) отклонение от перпендикулярности торца трубы; с), т) и у) рассверловка отверстия под штуцер в корпусе (трубе, коллекторе). * Размеры измерению не подлежат. Размер обеспечивается режущим инструментом и оценивается визуально. 4.4.5 Визуальному и измерительному контролю подготовки и сборки деталей под сварку подлежат не менее 20 % деталей и соединений из числа представленных к приемке. Рисунок 2 - Размеры, контролируемые при сборке соединения под сварку а) стыковое соединение; б) стыковое соединение на подкладном кольце; в) стыковое соединение с расплавляемой вставкой; г) тавровое (угловое) соединение; д) и е) угловые соединения штуцеров; Примечание - Объем контроля для деталей и соединений I и IIа категорий по ПН АЭ Г-7-010-89 должен составлять 100 %, а для деталей и соединений IIв и IIIa категорий по ПН АЭ Г-7-010-89 - не менее 50 %. Объем выборочного контроля качества подготовки и сборки деталей под сварку может быть увеличен в зависимости от требований НТД, ПТД и ПКД или по требованию заказчика. Продолжение рисунка 2
Рисунок 2 - Размеры, контролируемые при сборке соединения под сварку ж) соединение с несимметричностью осей штуцера и корпуса; з) соединение с приварными элементами временных креплений; и) соединение с переломом осей цилиндрических деталей; к) прихватки соединения. При выявлении отклонений от требований рабочих чертежей и/или ПТД, которые могут привести к ухудшению качества сварных соединений, объем выборочного контроля (20 %, 50 %) должен быть увеличен вдвое для группы однотипных деталей (соединений). Если при дополнительном контроле снова будут выявлены отклонения от требований рабочих чертежей и/или ПТД, то объем контроля для группы деталей, представленных к приемке, должен быть увеличен до 100 %. Детали, забракованные при контроле, подлежат исправлению (доработке). Собранные под сварку соединения деталей, забракованные при контроле, подлежат расстыковке с последующей повторной сборкой после устранения причин, вызвавших их первоначальную некачественную сборку. 4.4.6 Визуальный контроль полноты удаления механическим путем зоны термического влияния после резки термическими способами (газовая, воздушно-дуговая, газофлюсовая, плазменная и др.) определяется на каждой детали, подвергавшейся резке. Контроль выполняется по отсутствию следов резки на кромках разделки (для деталей из низкоуглеродистых, марганцовистых и кремнемарганцовистых сталей) и по отсутствию следов разметки (кернение), нанесенной на наружной поверхности деталей после резки. 4.4.7 Требования к выполнению измерительного контроля при подготовке деталей под сварку приведены в таблице 6, а при сборке соединений под сварку - в таблице 7. Таблица 6 - Требования к измерениям размеров подготовки деталей под сварку
Примечание - Допускаются другие способы и средства измерений, обеспечивающие достоверность контроля параметра подготовки деталей под сварку. Таблица 7 - Требования к измерениям размеров сборки соединений деталей под сварку
4.4.8 Измерительный контроль величины зазора в соединении, величины смещения кромок и перелома плоскостей в соединениях выполнять не реже, чем через один метр по длине соединения, но не менее, чем в трех сечениях, равномерно расположенных по длине шва. При невозможности (отсутствие доступа) контроля смещения кромок с внутренней стороны соединения оценку возможного смещения следует производить по смещению наружных кромок деталей (размер F) либо по смещению притупления «усов» V-образной разделки (см. рис. 1б, размер р). 4.4.9 Замеры, в первую очередь, следует выполнять на участках, вызывающих сомнение в части размеров по результатам визуального контроля. 4.4.10 При визуальном и измерительном контроле размеров и качества прихваток контролю подлежит каждая прихватка в соединении. 4.4.11 Измерения швов приварки временных технологических креплений и расстояния от приварного элемента крепления до кромки разделки выполняют в одном месте. Контролю подлежит каждое крепление и каждый шов крепления.
где k1 и L - размер перелома осей и расстояние от соединения, на котором выполнено измерение (рис. 3). Рисунок 3 - Схема измерения перелома осей цилиндрических элементов 4.4.14 Схемы измерения отдельных размеров подготовки деталей под сварку и сборки соединений под сварку с помощью шаблона универсального типа УШС приведены на рис. 4 - 8. Рисунок 4 - Шаблон универсальный типа УШС
Рисунок 5 - Схема измерения угла скоса разделки
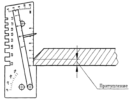
Рисунок 6 - Схема измерения размера притупления разделки
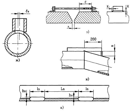
Рисунок 7 - Схема измерения зазора в соединении Рисунок 8 - Схема измерения смещения наружных кромок деталей 4.5 Порядок выполнения визуального и измерительного контроля сварных соединений (наплавок)4.5.1 Визуальный и измерительный контроль сварных соединений выполняется при производстве сварочных работ (послойный контроль в процессе сварки с фиксацией результатов контроля) и на стадии приемо-сдаточного контроля готовых сварных соединений. Послойный контроль в процессе сварки выполняется в случаях, например, невозможности проведения неразрушающих методов контроля или в случаях, оговоренных в рабочих чертежах при согласовании с Заказчиком и головной материаловедческой организацией (последнее - для объектов атомной энергетики). 4.5.2 Визуальный послойный контроль в процессе сварки соединения выполняется с целью подтверждения отсутствия недопустимых поверхностных дефектов (трещин, пор, включений, прожогов, свищей, усадочных раковин, несплавлений, грубой чешуйчатости, западаний между валиками, наплывов) в каждом слое (валике) шва. Выявленные при контроле дефекты подлежат исправлению перед началом сварки последующего слоя (валика) шва. Сварные соединения, выполненные с послойным визуальным контролем, подлежат дополнительно контролю капиллярной или магнитопорошковой дефектоскопией на доступных участках. 4.5.3 В выполненном сварном соединении (наплавке) визуально следует контролировать: отсутствие (наличие) поверхностных трещин всех видов и направлений; отсутствие (наличие) на поверхности сварных соединений и наплавок дефектов (пор, включений, скоплений пор и включений, отслоений, прожогов, свищей, наплывов, усадочных раковин, подрезов, непроваров, брызг расплавленного металла, западаний между валиками, грубой чешуйчатости, прижогов металла, а также мест касания сварочной дугой поверхности основного материала); наличие зачистки металла в местах приварки временных технологических креплений, гребенок индуктора и бобышек крепления термоэлектрических преобразователей (термопар), а также отсутствие поверхностных дефектов в местах зачистки; наличие зачистки поверхности сварного соединения изделия (сварного шва и прилегающих участков основного металла) под последующий контроль неразрушающими методами; наличие маркировки (клеймения) шва (наплавки) и правильность ее выполнения. 4.5.4 В выполненном сварном соединении измерениями необходимо контролировать: размеры поверхностных дефектов (поры, включения и др.), выявленных при визуальном контроле; высоту и ширину шва, а также вогнутость и выпуклость обратной стороны шва в случае доступности обратной стороны шва для контроля; высоту (глубину) углублений между валиками (западания межваликовые) и чешуйчатости поверхности шва; подрезы основного металла; несплавления (непровары) с наружной и внутренней стороны шва. Требования к выполнению измерительного контроля сварных швов приведены на рис. 9 и в таблице 8. Таблица 8 - Требования к измерениям сварных швов
Рисунок 9 - Размеры сварного шва, подлежащие измерительному контролю. а) и б) размеры (ширина, высота) стыкового одностороннего шва с наружной и внутренней стороны; в) то же двухстороннего сварного шва, г) подрез или неполное заполнение разделки кромок; д) чешуйчатость (D1) шва и западание между валиками шва (D2); е) размеры поверхностных включений (диаметр - dg, длина - lg, ширина - bg, включения); ж) размеры катета шва таврового (углового, нахлесточного) соединения. 4.5.5 Высота и ширина сварного шва должна определяться не реже, чем через один метр по длине соединения, но не менее, чем в трех сечениях равномерно расположенных по длине шва. При контроле стыковых сварных соединений труб наружным диаметром до 89 мм включительно с числом однотипных соединений более 50 на одном изделии допускается определение размеров шва выполнять на 10-20 % соединений в одном-двух сечениях, при условии, что при визуальном контроле, которому подвергают все соединения, нет сомнений в части размеров (ширина, высота) шва. 4.5.6 При измерительном контроле наплавленного антикоррозионного покрытия замеры его толщины на цилиндрических поверхностях проводить не реже, чем через 0,5 м в осевом направлении и через каждые 60° по окружности при ручной наплавке и 90° при автоматической наплавке. На плоских и сферических поверхностях проводят не менее одного замера на каждом участке размером 0,5 м ´ 0,5 м (длина ´ ширина) при автоматической наплавке. 4.5.7 При контроле угловых сварных соединений определяют катеты сварного шва. Определение высоты, выпуклости и вогнутости углового шва выполняется только в тех случаях, когда это требование заложено в рабочих чертежах. Измерение выпуклости и вогнутости производится с помощью специальных шаблонов, а определение высоты углового шва расчетным путем. 4.5.8 Измерение глубины западаний между валиками при условии, что высоты валиков отличаются друг от друга, должно выполняться относительно валика, имеющего меньшую высоту. Аналогично определять и глубину чешуйчатости валика (по меньшей высоте двух соседних чешуек). 4.5.9 Измерения размеров, указанных в п. 4.5.5.....4.5.8 и таблице 8, выполняют в первую очередь на участках шва, вызывающих сомнение в части размеров по результатам визуального контроля. 4.5.10 Выпуклость (вогнутость) стыкового шва оценивается по максимальной высоте (глубине) расположения поверхности шва от уровня расположения наружной поверхности деталей. В том случае, когда уровни поверхности деталей одного типоразмера (диаметр, толщина) отличаются друг от друга, измерения следует проводить относительно уровня поверхности детали, расположенной выше уровня поверхности другой детали (рис. 11). В том случае, когда выполняется сварка деталей с различной толщиной стенки и уровень поверхности одной детали превышает уровень поверхности второй детали, оценку выпуклости (вогнутости) поверхности шва выполнять относительно линии, соединяющей края поверхности шва в одном сечении (рис. 12) с помощью специального шаблона. 1 - штангенциркуль ГОСТ 166 2 - опора Рисунок 10 - Штангенциркуль типа ШЦ-1 с опорой Рисунок 11 - Схема измерения высоты шва стыкового соединения при различном уровне наружных поверхностей деталей, вызванном смещением при сборке соединения. 4.5.11 Выпуклость (вогнутость) углового шва оценивается по максимальной высоте (глубине) расположения поверхности шва от линии, соединяющей края поверхности шва в одном поперечном сечении (рис. 13). 4.5.12 Размеры выпуклости (вогнутости) стыкового (рис. 12) и углового (рис. 13) швов определяются специальными шаблонами. Рисунок 12 - Схема измерения высоты шва стыкового соединения при различном уровне наружных поверхностей деталей, вызванном разницей в толщинах стенок. Рисунок 13 - Схема измерения выпуклости (g) и вогнутости (g3) наружной поверхности и высоты (h) углового шва. Рисунок 14 - Схема измерения выпуклости (g1) и вогнутости (g2) обратной стороны стыкового одностороннего шва. 4.5.13 Выпуклость (вогнутость) корня шва оценивается по максимальной высоте (глубине) расположения поверхности корня шва от уровня расположения внутренних поверхностей сваренных деталей. В том случае, когда уровни внутренних поверхностей разные, измерения следует проводить согласно схемы, приведенной на рис. 14. 4.5.14 Схемы измерения отдельных размеров сварного соединения с помощью шаблона универсального типа УШС приведены на рис. 15. Рисунок 15 - Схема измерения с помощью шаблона УШС размеров сварного шва а) измерение высоты шва и глубины подреза; б) измерение ширины шва; в) измерение западаний между валиками 4.5.15 Измерения чешуйчатости и западаний между валиками шва, глубины и высоты углублений (выпуклостей) в сварном шве и основном металле, в т.ч. при техническом диагностировании, разрешается определять по слепку, снятому с контролируемого участка. Материалом для слепка могут служить пластилин, воск, гипс и другие материалы. Измерения проводят с помощью измерительной лупы или на микроскопе после разрезки слепка механическим путем. 4.5.16 Измерения перелома осей цилиндрических элементов и угловое смещение плоскостей плоских деталей, а также несимметричности штуцера выполнять при контроле сварных узлов и деталей (см. п. 4.6.9 и 4.6.10). 4.6 Порядок выполнения визуального и измерительного контроля сварных узлов и деталей4.6.1 Визуальный контроль сварных узлов и деталей предусматривает проверку: отклонений по взаимному расположению элементов сварного узла; наличия маркировки сварных соединений; наличия маркировки узла (детали); отсутствия поверхностных повреждений материала, вызванных отклонениями в технологии изготовления, транспортировкой и условиями хранения; наличия окраски поверхностей; отсутствия неудаленных приварных элементов (технологические крепления, гребенки, бобышки). 4.6.2 Измерительный контроль гнутых колен труб предусматривает проверку: отклонения от круглой формы (овальность) в любом сечении гнутых труб (колен); толщины стенки в растянутой части гнутого участка трубы (колена); радиуса гнутого участка трубы (колена); высоты волнистости (гофры) на внутреннем обводе гнутой трубы (колена); неровностей (плавных) на внешнем обводе (в случаях, установленных НТД); предельные отклонения габаритных размеров. 4.6.3 Измерительный контроль тройников и коллекторов с вытянутой горловиной предусматривает проверку: эксцентриситета оси горловины относительно оси корпуса; радиусов перехода наружной и внутренней поверхностей горловины к корпусу; размеров местных углублений от инструмента на внутренней поверхности тройника, вызванных применяемым инструментом; уменьшения диаметра корпуса вследствие утяжки металла при высадке (вытяжке) горловины; угла конуса на наружной поверхности патрубка; местного утолщения стенки горловины; овальности прямых участков корпуса тройника по наружному диаметру в месте разъема штампа. 4.6.4 Измерительный контроль переходов, изготовленных методами подкатки (последовательного обжима), осадки в торец и вальцовкой листовой стали с последующей сваркой предусматривает проверку: размеров углублений и рисок на внутренней поверхности обжатого конца, носящих характер ужимин; утолщения стенки на конической части перехода; формы и размеров шва, отсутствия недопустимых поверхностных дефектов (см. подраздел 4.5). 4.6.5 Измерительный контроль сварных изделий (деталей) - тройников, фланцевых соединений, секторных отводов, коллекторов, трубных блоков и т.д., предусматривает проверку: размеров перекосов осей цилиндрических элементов; прямолинейности образующей изделия; отклонения штуцера (привариваемой трубы, патрубка) от перпендикулярности относительно корпуса (трубы, листа), в который вваривается штуцер (труба, патрубок); отклонения осей концевых участков сварных секторных отводов; кривизны (прогиба) корпуса (трубы) сварных угловых соединений труб (вварка трубы, штуцера); отклонения размеров, определяющих расположение штуцеров в блоках; отклонения оси прямых блоков от проектного положения; отклонения габаритных размеров сварных деталей и блоков. 4.6.6 Контроль геометрических размеров колен и труб гнутых, а также прямых трубных деталей и блоков, должен производиться методом плазирования (наложением на плаз с контрольным чертежом) с последующим измерением отклонений измерительным инструментом (линейка, щуп, штангенциркуль, шаблон, оптические приборы и др.). Замеры отклонений гнутых труб (колен) производится относительно наружной поверхности. Схемы измерений отдельных отклонений приведены на рис. 16. Рисунок 16 - Схема измерений отдельных отклонений трубных деталей и блоков. д) отклонение (перелом) оси тройника сварного; е) отклонение штуцеров от проектного положения и размеры расположения штуцеров по длине трубы (коллектора); ж) отклонение (перелом) оси блока трубопровода. 4.6.7 Овальность любого сечения колена (гнутой трубы) и прямых участков корпуса тройника по наружному диаметру в зоне разъема штампа определяется по формуле:
где: Dнmax и Dнmin - максимальное и минимальное значение наружного диаметра. Измерение Dнmax и Dнmin выполнять в поперечном сечении детали, имеющей наибольшие отклонения. 4.6.8 Измерение толщины стенки гнутых элементов, в т.ч. вытянутой горловины тройников и коллекторов, а также утолщения стенки на конической части перехода, изготовленного методами прокатки и осадки в торец производить ультразвуковыми приборами (толщиномерами). 4.6.9 Перелом осей трубных деталей и прямолинейность образующей определяется в 2-3 сечениях в зоне максимального перелома (отклонения образующей от прямолинейности), выявленного при визуальном контроле. Измерение выполнять в соответствии с требованиями, приведенными в п. 4.4.12 и рис. 3. 4.6.10 Отклонение от перпендикулярности наружной поверхности штуцера к корпусу (трубе) определяется в двух взаимоперпендикулярных сечениях (рис. 17). Рисунок 17 - Схема измерения отклонения от перпендикулярности наружной поверхности штуцера. 4.6.11 Измерения, в первую очередь, следует выполнять на участках, вызывающих сомнение в части размеров по результатам визуального контроля. 4.7 Порядок выполнения визуального и измерительного контроля при исправлении дефектов в основном материале и сварных соединениях изделий4.7.1 При ремонте дефектных участков в основном материале и сварных соединениях изделий визуально необходимо контролировать: полноту удаления дефекта, выявленного при визуальном контроле и контроле другими неразрушающими методами (радиографическим, ультразвуковым, капиллярным и магнитопорошковым); форму выборки дефектного участка; форму обработки кромок выборки; чистоту (отсутствие визуально наблюдаемых загрязнений, пыли, продуктов коррозии, масла и т.п.) поверхности выборки и прилегающих к ней поверхностей; ширину зоны зачистки механическим путем поверхностей основного материала, прилегающих к кромкам выборки; отсутствие (наличие) дефектов (трещин, пор, включений, скоплений пор и включений, отслоений, свищей, прожогов, наплывов, усадочных раковин, подрезов, непроваров, брызг расплавленного металла, западаний между валиками, грубой чешуйчатости, прижогов металла сварочной дугой) на поверхности шва заварки выборки и на прилегающих к выборке участках шва и поверхностях свариваемых деталей. 4.7.2 При ремонте дефектных участков в основном материале и сварных соединениях изделий измерением необходимо контролировать: размеры выборки дефектного участка; размеры разделки кромок выборки (угол скоса, радиусы начала и окончания выборки, толщину перемычки металла при исправлении трещин и т.п.); ширину зоны зачистки механическим путем участков основного материала, прилегающих к кромкам выборки; размеры дефектов на поверхности шва заварки выборки и прилегающих к нему участках основного металла, выявленные при визуальном контроле; шероховатость поверхностей выборки и прилегающих участков основного металла в зоне их зачистки (перед заваркой выборки), а также поверхностей основного материала изделий и сварного соединения перед проведением последующих видов неразрушающего контроля. 4.8 Порядок выполнения визуального и измерительного контроля при техническом диагностировании4.8.1 При визуальном контроле состояния основного материала и сварных соединений оборудования и трубопроводов проверяют: отсутствие (наличие) механических повреждений поверхностей; отсутствие (наличие) формоизменения изделий (деформированные участки, коробление, провисание, выход трубы из ряда и других отклонений от первоначального расположения); отсутствие (наличие) трещин и других поверхностных дефектов, образовавшихся (получивших развитие) в процессе эксплуатации; отсутствие коррозионного и эрозионного износа поверхностей; отсутствие наружного износа изделия (оборудования, трубопровода, поверхностей нагрева котла и др. изделий). 4.8.2 При измерительном контроле состояния основного материала и сварных соединений оборудования и трубопроводов определяют: размеры механических повреждений основного материала и сварных соединений; размеры деформированных участков основного материала (сварных соединений), в т.ч. длину, ширину и глубина вмятин, выпучин, отдулин; овальность цилиндрических элементов, в т.ч. гибов труб; прямолинейность (прогиб) образующей изделия; фактическую толщину стенки основного материала; глубину коррозионных язв и размеры зон коррозионного повреждения, включая их глубину. 4.8.3 Разметку точек замера толщины стенок рекомендуется проводить краской или мелом. Замер фактической толщины стенок изделий выполнять ультразвуковым методом. 4.8.4 Визуальный контроль основного материала изделий и сварных соединений на стадии технического диагностирования выполняют с целью подтверждения отсутствия поверхностных повреждений (трещин, коррозионных повреждений, деформированных участков, наружного износа элементов и т.д.), вызванных условиями эксплуатации изделий. Измерительный контроль основного материала изделий и сварных соединений на стадии технического диагностирования проводят с целью подтверждения соответствия геометрических размеров изделий и допустимости повреждений основного материала и сварных соединений, выявленных при визуальном контроле, требованиям рабочих чертежей, ТУ, стандартов и паспортов. 5. ОЦЕНКА РЕЗУЛЬТАТОВ КОНТРОЛЯ5.1 Оценку качества основного материала, подготовки кромок деталей, сборки деталей под сварку, выполненного сварного соединения и изделия в целом, швов заварки дефектных участков по результатам визуального и измерительного контроля производить в соответствии с нормами, приведенными в Правилах устройства и безопасной эксплуатации, стандартах, ТУ, СНиП, НТД, ПТД и рабочих чертежах изделий. 5.2 Нормы оценки качества при визуальном и измерительном контроле должны приводится в ПКД на визуальный и измерительный контроль конкретных изделий с учетом следующих положений: а) оценка качества сварных соединений элементов паровых и водогрейных котлов осуществляется в соответствии с «Правилами устройства и безопасной эксплуатации паровых и водогрейных котлов», РД 34 15.027-93 и РД 2730.940.103-92; б) оценка качества сварных соединений трубопроводов пара и горячей воды осуществляется в соответствии с РД-03-94, РД 34 15.027-93 и РД 2730.940.103-92; в) оценка качества сварных соединений грузоподъемных кранов осуществляется в соответствии с «Правилами устройства и безопасной эксплуатации грузоподъемных кранов», ОСТ 34-13-915-85 и ОСТ 24.090.63-87; г) оценка качества сварных соединений сосудов, работающих под давлением осуществляется в соответствии с «Правилами устройства и безопасной эксплуатации сосудов, работающих под давлением» и ОСТ 26.291-94; д) оценка качества сварных соединений газопроводов должна осуществляться в соответствии со СНиП 3.05.02-88* и РД 34 15.027-93; е) оценка качества сварных соединений оборудования и трубопроводов атомных энергетических установок должна выполняться в соответствии с ПН АЭ Г-7-09-89, ПН АЭ Г-7-010-89 и РД 34 10.030-90; ж) оценка качества сварных соединений оборудования локализующих систем безопасности атомных энергетических установок должна выполняться в соответствии с ПН АЭ Г-10-032-92; з) оценка качества сварных соединений трубопроводов и оборудования тепловых сетей должна выполняться в соответствии со СНиП 3.05.03-85 и РД 34 15.027-93; и) оценка качества сварных соединений технологического оборудования и технологических трубопроводов, на которые не распространяется действие Правил Госгортехнадзора РФ и Госатомнадзора РФ, должна выполняться в соответствии со СНиП 3.05.05-84 и РД 34 15.027-93; к) оценка качества сварных соединений металлических конструкций должна выполняться в соответствии со СНиП 3.03.01-87 и СНиП III-18-75; л) оценка качества сварных соединений трубопроводов и оборудования сетей водоснабжения и канализации должна выполняться в соответствии со СНиП 3.05.04-85 и РД 34 15.027-93. 5.3 Нормы оценки качества принимают по следующим размерным показателям: по номинальной толщине сваренных деталей - для стыковых соединений деталей одинаковой толщины (при предварительной обработке концов деталей путем расточки, раздачи, калибровки - по номинальной толщине деталей в зоне обработки); по номинальной толщине более тонкой детали (из двух сваренных) - для стыковых сварных соединений деталей различной номинальной толщины (при предварительной обработке конца более тонкой детали - по ее номинальной толщине в зоне обработки); по расчетной высоте углового шва - для угловых, тавровых и нахлесточных сварных соединений (для угловых и тавровых соединений с полным проплавлением за размерный показатель допускается принимать номинальную толщину более тонкой детали); по удвоенной номинальной толщине более тонкой детали (из двух сваренных) - для торцевых сварных соединений (кроме соединений вварки труб в трубные доски). 5.4 Протяженность (длина, периметр) сварных соединений определяется по наружной поверхности сваренных деталей у краев шва (для соединений штуцеров, а также угловых и тавровых соединений - по наружной поверхности привариваемой детали у края углового шва). 5.5 Число одиночных включений, выявляемых при визуальном контроле, не должно превышать значений, указанных в НТД, на любом участке сварного соединения длиной 100 мм. Для сварных соединений протяженностью менее 100 мм нормы по числу одиночных включений уменьшают пропорционально уменьшению протяженности контролируемого соединения. Если при этом получается дробная величина, то она округляется до ближайшего целого числа. 5.6 Требования к числу одиночных включений для наплавленных поверхностей определяются согласно требований НТД. 5.7 В сварных соединениях при визуальном и измерительном контроле не допускаются трещины всех видов и направлений, непровары и несплавления между основным металлом и швом, а также непровары в корне шва (кроме случаев, оговоренных в НТД), скопления включений, наплывы, незаваренные кратеры, брызги металла, свищи, отслоения, прожоги, подрезы (кроме случаев, оговоренных в НТД), отклонения формы и размеров шва, одиночные включения сверх установленных норм, прижоги металла. 6. РЕГИСТРАЦИЯ РЕЗУЛЬТАТОВ КОНТРОЛЯ6.1 Результаты визуального и измерительного контроля на стадиях входного контроля основного материала и производства работ по изготовлению, монтажу, ремонту (подготовка деталей, сборка деталей под сварку, сварные соединения, исправление дефектов) и техническому диагностированию (состояние основного материала и сварных соединений при эксплуатации) должны быть зафиксированы в учетной (Журнал учета работ по визуальному и измерительному контролю) и отчетной (акты, заключения, протоколы) документации, оформляемой в соответствии с требованиями ГОСТ 23479. Рекомендуемые формы документов, оформляемых по результатам контроля, приведены в Приложении Е. 6.2 В случаях, предусмотренных ПКД, на поверхности проконтролированных основных материалов (полуфабрикатов, заготовок, изделий) и готовых сварных соединений (наплавок) контролером ставится клеймо, подтверждающее положительные результаты контроля. Порядок и способы клеймения приведены в Приложении Ж. 7. ТРЕБОВАНИЯ БЕЗОПАСНОСТИ7.1 Производственные участки и рабочие места, на которых осуществляется визуальный и измерительный контроль, должны удовлетворять требованиям «Общих правил техники безопасности и производственной санитарии для предприятий и организаций машиностроения». Работы по контролю при монтаже оборудования, трубопроводов и конструкций выполнять в соответствии с требованиями СНиП III-4-80. 7.2 Санитарно-гигиенические условия труда на рабочих местах, где проводится контроль, должны соответствовать требованиям «Санитарных норм проектирования промышленных предприятий СН 245-71», утвержденных Госстроем СССР в 1971 г. 7.3 На рабочих местах, где проводится контроль, должны быть обеспечены условия электробезопасности в соответствии с требованиями «Правил техники безопасности при эксплуатации электроустановок потребителей». 7.4 Перед допуском к проведению контроля, все лица, участвующие в его выполнении, должны пройти соответствующий инструктаж по технике безопасности с регистрацией в специальном журнале. Инструктаж следует проводить периодически в сроки, установленные приказом по предприятию. 7.5 В случае выполнения контроля на высоте, в стесненных условиях, а также внутри сосудов, специалисты, и контролеры должны пройти дополнительный инструктаж по технике безопасности согласно Положению, действующему на предприятии. 7.6 Все лица, участвующие в выполнении контроля, должны знать и выполнять общие правила техники безопасности, установленные для работников предприятия, где проводят контроль. 7.7 Мероприятия по пожарной безопасности осуществлять в соответствии с требованиями «Типовых правил пожарной безопасности для промышленных предприятий», утвержденных ГУПО МВД СССР в 1975 г. и РД 34 03.307-87 с дополнениями. 7.8 С целью предупреждения утомления глаз и повышения качества визуального и измерительного контроля рекомендуется в работе делать десятиминутные перерывы через каждый час работы. 7.9 Специалисты, осуществляющие контроль, должны быть защищены от действия прямой и отраженной блесткости (вспышек сварочных дуг и их отражений) светозащитными экранами. 7.10 Специалисты должны обеспечиваться головными уборами и спецодеждой, не стесняющей движений, в соответствии с отраслевыми нормами Минтопэнерго России. Приложение А
|
|||||||||||||||||||||||||||||||||||||||||||||||||||||||||||||||||||||||||||||||||||||||||||||||||||||||||||||||||||||||||||||||||||||||||||||||||||||||||||||||||||||||||||||||||||||||||||||||||||||||||||||||||||||||||||||||||||||||||||||||||||||||||||||||||||||||||||||||||||||||||||||||||||||||||||||||||||||||||||||||||||||||||||||||||||||||||||||||||||||||||||||||||||||||||||||||||||||||||||||||||||||||||||||||||||||||||||||||||||||||||||||||||||||||||||||||||||||||||||||||||||||||||||||||||||||||||||||||||||||||||||||||||||||||||||||||||||||||||||||||||||||||||||||||||||||||||||||||||||||||||||||||||||||||||||||||||||||||||||||||||||||||||||||||||||||||||||||||||||||||||||||||||||||||||||||||||||||||||||||||||||||||||||||||||||||||||||||||||||||||||||||||||||||||||||||||||||||||||||||||||||||||||||||||||||||||||||||||||||||||||||||||||||||||||||||||||||||||||||||||||||||||||||||||||||||||||||||||||||||||||||||||||||||||||||||||||||||||||||||||||||||||||||||||||||||||||||||||||||||||
|
Термин |
Обозначение, используемое МИС (номер дефекта согласно ИСО 6520-82) |
Определение |
|
1 |
2 |
3 |
|
СВАРНЫЕ СОЕДИНЕНИЯ И ШВЫ |
||
|
Сварная конструкция |
|
Металлическая конструкция, изготовленная сваркой отдельных деталей |
|
Сварной узел |
|
Часть конструкции, в которой сварены примыкающие друг к другу элементы |
|
Сборочная единица |
|
Часть свариваемого изделия, содержащая один или несколько сварных соединений |
|
Сварное соединение |
|
Неразъемное соединение деталей, выполненное сваркой и включающее в себя шов и зону термического влияния |
|
Стыковое соединение |
|
Сварное соединение двух элементов, примыкающих друг к другу торцовыми поверхностями, рис. ПА-1 |
|
Угловое соединение |
|
Сварное соединение двух элементов, расположенных под углом и сваренных в месте примыкания их краев, рис. ПА-2 |
|
Нахлесточное соединение |
|
Сварное соединение, в котором сваренные элементы расположены параллельно и частично перекрывают друг друга, рис. ПА-3 |
|
Тавровое соединение |
|
Сварное соединение, в котором торец одного элемента примыкает под углом и приварен к боковой поверхности другого элемента, рис. ПА-4 |
|
Торцовое соединение |
|
Сварное соединение, в котором боковые поверхности сваренных элементов примыкают друг к другу, рис. ПА-5 |
|
Сварной шов |
|
Участок сварного соединения, образовавшийся в результате кристаллизации расплавленного металла или в результате пластической деформации при сварке давлением или сочетания кристаллизации и деформации |
|
Стыковой шов |
|
Сварной шов стыкового соединения |
|
Угловой шов |
|
Сварной шов углового, нахлесточного или таврового соединения |
|
Точечный шов |
|
Сварной шов, в котором связь между сваренными частями осуществляется сварными точками |
|
Непрерывный шов |
|
Сварной шов без промежутков по длине |
|
Прерывистый шов |
|
Сварной шов с промежутками по длине |
|
Цепной прерывистый шов |
|
Двухсторонний прерывистый шов, у которого промежутки расположены по обоим сторонам стенки один против другого, рис. ПА-6 |
|
Шахматный прерывистый шов |
|
Двухсторонний прерывистый шов, у которого промежутки на одной стороне стенки расположены против сваренных участков шва с другой ее стороны, рис. ПА-7 |
|
Многослойный шов |
|
Сварной шов деталей, выполненный в несколько слоев по высоте |
|
Подварочный шов |
|
Меньшая часть двухстороннего шва, выполняемая предварительно для предотвращения прожогов при последующей сварке или выполняемая в последнюю очередь в корне шва после его зачистки (выборки) |
|
Корень шва |
|
Часть сварочного шва, наиболее удаленная от его лицевой поверхности, рис. ПА-8 |
|
Валик |
|
Металл сварного шва, наплавленный или переплавленный за один проход |
|
Слой сварного шва |
|
Часть металла сварного шва, которая состоит из одного или нескольких валиков, располагающихся на одном уровне поперечного сечения шва |
|
Прихватка |
|
Короткий сварной шов для фиксации взаимного расположения подлежащих сварке деталей |
|
Выпуклость сварного шва |
|
Выпуклость шва - это расстояние между плоскостью, проходящей через видимые линии границы сварного шва с основным металлом и поверхностью сварного шва, измененное в любом поперечном сечении по длине шва определяется по максимальной высоте расположения поверхности шва под плоскостью), рис. ПА-9 |
|
Вогнутость сварного шва |
|
Вогнутость - это максимальное расстояние между плоскостью, проходящей через видимые линии границы сварного шва с основным металлом и поверхностью шва, измеренное в любом поперечном сечении по длине шва, рис. ПА-10 |
|
Толщина углового шва |
|
Наибольшее расстояние от поверхности углового шва до точки максимального проплавления основного металла, рис. ПА-11 |
|
Расчетная высота углового шва |
|
Указанный в рисунке размер перпендикуляра, опущенного из точки сопряжения сваренных деталей (точка 0) на прямую линию, соединяющую края поверхности шва в одном поперечном сечении или на параллельную указанной линии касательную к поверхности сварного шва (при вогнутом угловом шве), рис. ПА-12 |
|
Катет углового шва |
|
Кратчайшее расстояние от поверхности одной из свариваемых частей до границы углового шва на поверхности второй свариваемой части, рис. ПА-13 |
|
Ширина сварного шва |
|
Расстояние между видимыми линиями сплавления на лицевой стороне сварного шва в одном поперечном сечении, рис. ПА-14 |
|
Основной металл |
|
Металл деталей, соединяемых сваркой |
|
Разделка кромок |
|
Придание кромкам деталей, подлежащих сварке, необходимой формы |
|
Скос кромок |
|
Прямолинейный наклонный срез кромки детали, подлежащей сварке, рис. ПА-15 |
|
Притупление кромки |
|
Нескошенная часть торца кромки детали, подлежащей сварке, рис. ПА-16. |
|
Угол скоса кромки |
|
Острый угол между плоскостью скоса кромки и плоскостью торца детали или торцевая поверхность детали после механической обработки до заданных чертежом размеров, рис. ПА-17 |
|
Угол разделки кромок |
|
Угол между скошенными кромками свариваемых деталей, рис. ПА-18 |
|
Смещение кромок |
(507) |
Несовпадение уровней расположения внутренних и наружных поверхностей свариваемых (сваренных) деталей в стыковых сварных соединениях, рис. ПА-19 |
|
Зазор (в сварном соединении) |
|
Расстояние между собранными под сварку деталями в поперечном сечении их кромок, рис. ПА-20. |
|
Конструктивный зазор |
|
Зазор в сварном соединении, предусмотренный конструкторской документацией на сварной узел, рис. ПА-21 |
|
Подкладка. Остающееся подкладное кольцо |
|
Стальная пластина или кольцо заданной формы, ширины и толщины, устанавливаемое при сварке плавлением под кромки свариваемых деталей, рис. ПА-22 |
|
Расплавляемая вставка |
|
Стальная проволочная вставка заданной формы и размеров, устанавливаемая между кромками свариваемых деталей и расплавляемая при сварке, рис. ПА-23 |
|
Провар |
|
Сплошная металлическая связь между поверхностями основного металла, слоями и валиками сварного шва |
|
Зона сплавления при сварке. Зона сплавления |
|
Зона частично оплавившихся зерен на границе основного металла и металла шва |
|
Зона термического влияния при сварке. Зона термического влияния |
|
Участок основного металла, не подвергшийся расплавлению, структура и свойства которого изменились в результате нагрева при сварке или наплавке |
|
Номинальная толщина сваренных деталей |
|
Указанная в чертеже (без учета допусков) толщина основного металла деталей в зоне, примыкающей к сварному шву |
|
ДЕФЕКТЫ СВАРНЫХ СОЕДИНЕНИЙ ПРИ ВИЗУАЛЬНОМ И ИЗМЕРИТЕЛЬНОМ КОНТРОЛЕ |
||
|
Дефект |
|
Недопустимое отклонение от требований, установленных нормативно-технической документацией |
|
Несплошность сварного соединения |
|
Обобщенное наименование всех нарушений сплошности и формы сварного соединения (трещина, непровар, несплавление, включение и др.) |
|
Трещина сварного соединения. Трещина |
Е (100) |
Дефект сварного соединения в виде разрыва металла в сварном шве и (или) прилегающих к нему зонах сварного соединения и основного металла |
|
Продольная трещина сварного соединения. Продольная трещина |
EQ (101) |
Трещина сварного соединения, ориентированная вдоль оси сварного шва, рис. ПА-24 |
|
Поперечная трещина сварного соединения. Поперечная трещина |
Еb (102) |
Трещина сварного соединения, ориентированная поперек оси сварного шва, рис. ПА-25 |
|
Разветвленная трещина сварного соединения. Разветвленная трещина |
Е (106) |
Трещина сварного соединения, имеющая ответвления в различных направлениях или группа соединенных трещин, отходящих от одной общей трещины, рис. ПА-26 |
|
Радиальная трещина |
Е (103) |
Несколько трещин разного направления, исходящих из одной точки (могут располагаться в металле сварного шва, в зоне термического влияния, в основном металле). Примечание: Маленькие трещины этого типа известны, как звездообразные трещины, рис. ПА-27 |
|
Кратерная трещина. Трещина в кратере |
Еc (104) |
Трещина (продольная, поперечная, разветвленная) в кратере валика (слоя) сварного шва, рис. ПА-28 |
|
Включение |
|
Полость в металле, заполненная газом, шлаком или инородным металлом; обобщенное наименование пор, шлаковых и вольфрамовых включений |
|
Шлаковое включение сварного шва. Шлаковое включение |
Ва (301) |
Полость в металле, в т.ч. сварном шве, заполненная шлаком |
|
Флюсовое включение |
G (302) |
Полость в металле сварного шва, заполненная нерасплавившемся флюсом, попавшим в металл шва во время затвердевания |
|
Вольфрамовое включение |
Н (3041) |
Внедрившаяся в металл шва нерасплавленная частица (осколок) неплавящегося вольфрамового электрода |
|
Окисное включение |
J (303) |
Окисл металла, попавший в металл шва во время затвердевания |
|
Пора |
А (2017) |
Заполненная газом полость округлой формы |
|
Отслоение |
|
Дефект в виде нарушения сплошности сплавления наплавленного металла с основным металлом, рис. ПА-29 |
|
Кратер. Усадочная раковина сварного шва |
К (2024) |
Дефект в виде полости или впадины, образовавшийся при усадке расплавленного металла при затвердевании (располагается, как правило, в местах обрыва дуги или окончания сварки), рис. ПА-30 |
|
Свищ в сварном шве |
Аb (2016) |
Дефект в виде воронкообразного или трубчатого углубления в сварном шве, рис. ПА-31. Примечание: Обычно свищи группируются в скопления и распределяются елочкой |
|
Подрез |
|
Острые конусообразные углубления на границе поверхности сварного шва с основным металлом, рис. ПА-32 |
|
Брызги металла |
(602) |
Дефект в виде затвердевших капель расплавленного металла на поверхности сваренных или наплавленных деталей с образованием или без образования кристаллической связи с основным металлом |
|
Несплавление |
(400, 401) |
Отсутствие сплавления между металлом сварного шва и основным металлом или между отдельными валиками шва, рис. ПА-33 |
|
Непровар. Неполный провар |
D (402) |
Дефект в виде несплавления в сварном соединении вследствие неполного расплавления кромок основного металла или поверхностей ранее выполненных валиков сварного шва, рис. ПА-34 |
|
Углубление (западание) между валиками шва |
|
Продольная впадина между двумя соседними валиками (слоями) шва (оценивается по максимальной глубине), рис. ПА-35 |
|
Чешуйчатость сварного шва |
|
Поперечные или округлые (при автоматической сварке под флюсом - удлиненно-округлые) углубления на поверхности валика, образовавшиеся вследствие неравномерности затвердевания металла сварочной ванны (оценивается по максимальной глубине), рис. ПА-36 |
|
Выпуклость (превышение проплавления) корня шва |
|
Часть одностороннего сварного шва со стороны его корня, выступающая над уровнем расположения поверхностей сваренных деталей (оценивается по максимальной высоте расположения поверхности корня шва над указанным уровнем), рис. ПА-37 |
|
Вогнутость корня шва |
|
Дефект в виде углубления на поверхности обратной стороны сварного одностороннего шва (оценивается по максимальной глубине расположения поверхности корня шва от уровня расположения поверхностей сваренных деталей), рис. ПА-38 |
|
Максимальный размер включения |
|
Наибольшее расстояние (а) между двумя точками внешнего контура включения, рис. ПА-39 |
|
Максимальная ширина включения |
|
Наибольшее расстояние (b) между двумя точками внешнего контура включения, измеренное в направлении, перпендикулярном максимальному размеру включения, рис. ПА-40 |
|
Включение одиночное |
|
Включение, минимальное расстояние (l) от края которого до края любого другого соседнего включения - не менее максимальной ширины каждого из двух рассматриваемых включений, но не менее трехкратного максимального размера включения с меньшим значением этого показателя (из двух рассматриваемых), рис. ПА-41 |
|
Скопление |
|
Два или несколько включений (пор, шлаковых и пр. включений), минимальное расстояние между краями которых менее установленных для одиночных включений, но не менее максимальной ширины каждого из любых двух рассматриваемых соседних включений, рис. ПА-42 |
|
Цепочка пор. Линейная пористость |
(2014) |
Группа пор в сварном шве, расположенная в линию, параллельно оси сварного шва, рис. ПА-43 |
|
Превышение усиления сварного шва |
(502) |
Избыток наплавленного металла на лицевой стороне (сторонах) стыкового шва, рис. ПА-44 |
|
Превышение выпуклости |
(503) |
Избыток наплавленного металла на лицевой стороне углового шва, рис. ПА-45 |
|
Местное превышение проплава |
(5041) |
Местный избыточный проплав (с внутренней стороны одностороннего шва) |
|
Неправильный профиль сварного шва |
(505) |
Слишком малый угол (а) между поверхностью основного металла и плоскостью касательной к поверхности сварного шва, рис. ПА-46 |
|
Наплыв (натек) |
(506) |
Дефект в виде металла, натекшего в процессе сварки (наплавки) на поверхность сваренных (наплавленных) деталей или ранее выполненных валиков и несплавившегося с ними, рис. ПА-47 |
|
Перелом осей деталей. Угловое смещение |
(508) |
Смещение между двумя свариваемыми деталями, при котором их плоские поверхности непараллельны (или не направлены под определенным углом), рис. ПА-48 |
|
Протек |
(509) |
Стекание металла вследствие действия силы тяжести, рис. ПА-49 |
|
Прожог сварного шва |
(510) |
Дефект в виде сквозного отверстия в сварном шве, образовавшийся вследствие вытекания части жидкого металла сварочной ванны в процессе выполнения сварки |
|
Неполностью заполненная разделка кромок |
(511) |
Продольная непрерывная или прерывистая вогнутость на поверхности сварного шва из-за недостаточности присадочного металла, рис. ПА-50 |
|
Асимметрия углового шва |
(512) |
Несоответствие фактического значения катета шва проектному значению, рис. ПА-51 |
|
Неравномерная ширина шва |
(513) |
Чрезмерное колебание ширины шва |
|
Неравномерная поверхность шва |
(514) |
Чрезмерная неровность наружной поверхности шва |
|
Плохое возобновление шва |
(517) |
Местная неровность поверхности в месте возобновления сварки, рис. ПА-52 |
|
Случайное оплавление основного металла в результате зажигания дуги или гашения |
(601) |
Местное повреждение поверхности основного металла, примыкающего к сварному шву, возникшее в результате случайного и/или преднамеренного возбуждения дуги вне разделки соединения |
|
Задир поверхности основного металла |
(603) |
Повреждение поверхности, вызванное удалением путем отрыва временного технологического крепления |
|
Утонение металла |
(606) |
Уменьшение толщины металла вследствие чрезмерного его удаления при обработке абразивным инструментом |
Рисунок ПА-1 - Стыковое соединение
Рисунок ПА-2 - Угловое соединение
Рисунок ПА-3 - Нахлесточное соединение
Рисунок ПА-4 - Тавровое соединение
Рисунок ПА-5 - Торцевое соединение
Рисунок ПА-6 - Цепной прерывистый шов
Рисунок ПА-7 - Шахматный прерывистый шов
Рисунок ПА-8 - Корень шва
Рисунок ПА-9 - Выпуклость сварного шва
Рисунок ПА-10 - Вогнутость сварного шва
Рисунок ПА-11 - Толщина углового шва
Рисунок ПА-12 - Расчетная высота углового шва h (расчетная высота двухстороннего углового шва определяется как сумма расчетных высот его частей, выполненных с разных сторон)
Рисунок ПА-13 - Катет углового шва
Рисунок ПА-14 - Ширина сварного шва
Рисунок ПА-15 - Скос кромки
Рисунок ПА-16 - Притупление кромки
Рисунок ПА-17 - Угол скоса кромки
Рисунок ПА-18 - Угол разделки кромок
Рисунок ПА-19 - Смещение кромок
Рисунок ПА-20 - Зазор в соединении
Рисунок ПА-21 - Конструктивный зазор
Рисунок ПА-22 - Стальная остающаяся подкладка
Рисунок ПА-23 - Расплавляемая вставка
Рисунок ПА-24 - Продольная трещина сварного соединения
Рисунок ПА-25 - Поперечная трещина сварного соединения
Рисунок ПА-26 - Разветвленная трещина сварного соединения
Рисунок ПА-27 - Радиальная трещина сварного соединения
Рисунок ПА-28 - Кратерная трещина сварного соединения
Рисунок ПА-29 - Расслоение (отслоение) металла
Рисунок ПА-30 - Кратер
Рисунок ПА-31 - Свищ в сварном шве
Рисунок ПА-32 - Подрез
Рисунок ПА-33 - Несплавление
Рисунок ПА-34 - Непровар
Рисунок ПА-35 - Углубления между валиками шва
Рисунок ПА-36 - Чешуйчатость сварного шва
Рисунок ПА-37 - Выпуклость корня шва
Рисунок ПА-38 - Вогнутость корня шва
Рисунок ПА-39 - Максимальный размер (а) и ширина (b) включения
Рисунок ПА-40 - Включение одиночное
Рисунок ПА-41 - Скопление включений
Рисунок ПА-42 - Цепочка пор
Рисунок ПА-43 - Превышение усиления сварного шва
Рисунок ПА-44 - Превышение выпуклости
Рисунок ПА-45 - Неправильный профиль сварного шва
Рисунок ПА-46 - Наплыв (натек) в сварном соединении
Рисунок ПА-47 - Перелом осей
Рисунок ПА-48 - Протек
Рисунок ПА-49 - Неполностью заполненная разделка кромок
Рисунок ПА-50 - Асимметрия углового шва
Рисунок ПА-51 - Плохое возобновление шва
Настоящие требования распространяются как на основные материалы (полуфабрикаты), так и на сварочные материалы и материалы для дефектоскопии.
Программа (план, инструкция) входного контроля материала должна содержать следующие сведения:
1. Наименование предприятия и службы, выполняющей входной контроль.
2. Шифр Программы (плана, инструкции).
3. Наименование материала или изделия.
4. Наименование предприятия-поставщика.
5. Номер партии (плавки).
6. Количество продукции.
7. Номер и дата сопроводительного документа.
8. Контролируемые параметры при визуальном и измерительном контроле продукции.
9. Контролируемые параметры при контроле продукции неразрушающими и разрушающими методами с указанием нормативных показателей.
Примечания: 1. При входном контроле материалов для изготовления (монтажа, ремонта) оборудования, конструкций и трубопроводов, подконтрольных Госгортехнадзору России, в части видов контроля и контролируемых параметров, руководствоваться положениями следующих документов:
а) основные материалы - «Правила устройства и безопасной эксплуатации паровых и водогрейных котлов», «Правила устройства и безопасной эксплуатации сосудов, работающих под давлением», «Правила устройства и безопасной эксплуатации грузоподъемных кранов», РД-03-94, РД 34 15.027-93, РД 2730. 940.103-92, ОСТ 26.291-94, ОСТ 26-62-81, РД 34 17.401-88, стандарты и технические условия на поставку;
б) сварочные материалы - РД 34 15.027-93, РД 2730.940.103-92, РД 26. 291-94, РД 34 10.125-94, стандарты, технические условия и паспорта на материал;
в) материалы для дефектоскопии - РД 2730.940.103-92, РД 34 10.125-94, стандарты и технические условия на материал.
2. При входном контроле материалов для изготовления (монтажа, ремонта) оборудования, конструкций и трубопроводов, подконтрольных Госатомнадзору России, в части видов контроля и контролируемых параметров, руководствоваться положениями:
а) основные материалы - ПН АЭ Г-7-008-89, ПН АЭ Г-7-010-89, ПН АЭ Г-10-021-90, ПН АЭ Г-10-032-92, АИЭ 10-89, стандарты и технические условия на поставку;
б) сварочные материалы - ПН АЭ Г-7-010-89, ПН АЭ Г-10-032-92, Инструкция 18-184.00.000, стандарты и технические условия на материал;
в) материалы для дефектоскопии - ПН АЭ Г-7-010-89, ПН АЭ Г-10-032-92, стандарты и технические условия на материал.
«Технологическая карта визуального и измерительного контроля» должна содержать следующие сведения:
1. Наименование предприятия и службы, выполняющей визуальный и измерительный контроль.
2. Шифр карты.
3. Наименование контролируемого изделия (группы однотипных изделий) с указанием стандарта или ТУ на изготовление (монтаж, ремонт).
4. Наименование стадии контроля (входной контроль, контроль подготовки деталей, контроль сборки деталей под сварку, контроль готовых сварных соединений или изделий, контроль исправления дефектов, контроль при техническом диагностировании).
5. Требования к установке объекта контроля в требуемое положение (если это возможно) и к введению объекта в режим контроля (освещенность объекта).
6. Перечень контролируемых параметров с указанием нормативных показателей при визуальном контроле.
7. Перечень контролируемых параметров с указанием нормативных показателей при измерительном контроле.
Примечание - При разработке Карты руководствоваться указаниями настоящей инструкции, а также требованиями НТД, регламентирующей требования к визуальному и измерительному контролю, в т.ч. нормы оценки качества, и рабочей конструкторской документации на изделие (сварное соединение).
«Карта операционного контроля» разрабатывается предприятием, выполняющим изготовление, монтаж или ремонт оборудования (трубопроводов) либо специализированной проектно-технологической организацией и служит для фиксации результатов контроля работ преимущественно при подготовке и сборке деталей под сварку.
В «Карте ...» должны находить отражение следующие сведения:
наименование предприятия и службы, выполняющей операционный контроль;
наименование оборудования (трубопровода) и обозначение чертежа или сварочного формуляра;
наличие маркировки и/или документации, подтверждающей приемку материала (полуфабриката) при входном контроле;
чистота и отсутствие повреждений на кромках и прилегающих к ним поверхностях деталей;
форма и размеры кромок, расточки (раздачи, калибровки) деталей труб;
наличие и вид специальных приемов подготовки и сборки деталей (наплавка на кромках и внутренних поверхностях, подгибка);
при условии подгибки указывается температура металла при выполнении этой технологической операции и угол подгибки, а при условии наплавки - ее размеры, способ сварки и примененные сварочные материалы с указанием номера партии (плавки) и стандарта, ТУ или паспорта;
соответствие требованиям ПТД материала, формы и размеров подкладных колец (расплавляемых вставок);
соответствие ПТД величин зазоров, смещения кромок (с наружной и внутренней сторон), перелома осей и плоскостей соединяемых деталей в собранном под сварку соединении;
наличие защитного покрытия на поверхностях деталей (в случаях, оговоренных ПТД) и ширина зоны его нанесения;
правильность сборки и крепления деталей, размеры собранного узла (последнее - в случаях, оговоренных ПТД);
дата контроля, фамилия, имя и отчество лица (лиц), выполнявшего операционный контроль и его (их) подписей;
заключение о подготовке деталей к сборке под сварку.
Заключение о качестве подготовки деталей и сборки соединения под сварку подписывается руководителем работ по подготовке и сборке и руководителем службы, выполнявшей контроль.
I ПРОГРАММА ТЕОРЕТИЧЕСКОГО ОБУЧЕНИЯ
А. Общетехнический курс
Тема 1 Конструкция и монтаж оборудования ТЭС и АЭС
1.1 Оборудование тепловых и атомных станций. Типы тепловых и атомных станций. Основные элементы ТЭС и их назначение. Физические основы атомной энергетики. Принципиальные технологические схемы атомных станций. Назначение и классификация трубопроводов и оборудования ТЭС и АЭС. Группы оборудования и трубопроводов АЭС; категории сварных соединений. Категории трубопроводов пара и горячей воды. Изготовление, укрупнение и монтаж трубопроводов, конструкций и технологического оборудования.
1.2 Материаловедение.
Общие сведения о металлах, сплавах и их свойствах. Разновидности сталей, их характеристики, понятие о микро- и макроструктуре, связь между структурой и свойствами стали. Технологические особенности различных марок сталей и области их применения. Стали и сплавы, применяемые для изготовления тепломеханического оборудования, трубопроводов и конструкций ТЭС и АЭС. Влияние физических и механических свойств стали (сплава) на выбор метода неразрушающего контроля. Основные понятия о разрушающих методах контроля металлов и сплавов; методы разрушающего контроля и области их применения.
1.3 Общие сведения о сварке и термообработке сварных соединений.
Способы сварки, применяемые при изготовлении, монтаже и ремонте оборудования и трубопроводов ТЭС и АЭС. Сварочные материалы и области их применения. Термическая обработка сварных соединений изделий и ее назначение. Влияние термической обработки на свойства сварных соединений. Сварные соединения. Виды сварных соединений трубопроводов; требования к конструкционным формам сварных соединений. Основные зоны сварного соединения: металл шва, зона сплавления, зона термического влияния и основной металл. Влияние конструкционных особенностей сварного соединения и металла изделия на выбор методов неразрушающего контроля.
1.4 Типы дефектов (несплошностей) сварных соединений и основного металла.
Понятие - несплошность (дефект). Классификация дефектов сварных соединений и основного металла изделий. Наружные (поверхностные) и внутренние дефекты. Плоскостные и объемные дефекты. Виды дефектов, причины их возникновения в сварных соединениях и основном металле изделий; характерные виды дефектов, присущих различным способам сварки. Меры предупреждения возникновения дефектов. Влияние дефектов на свойства и технологическую прочность основного металла и сварных соединений. Методы исправления дефектов. Методы контроля, объемы контроля и нормы оценки качества исправленных участков сварных соединений. Количество исправлений на одном и том же участке.
1.5 Технические требования к качеству сварных соединений и основного металла.
Общие требования к качеству сварного соединения и основного металла изделия. Входной контроль качества основных и сварочных металлов. Требования ПТД по контролю в процессе подготовки, сборки, сварки (наплавки), термической обработки и при исправлении дефектов. Технические требования к конструкционным формам и расположению сварных соединений на изделии. Приемочный контроль качества сварных соединений. Требования НТД к качеству сварных соединений изделий ТЭС и АЭС.
1.6 Основные методы контроля качества сварных соединений (наплавок) изделий.
Методы контроля сварных соединений (наплавок) и основного металла изделий неразрушающими (физическими) и разрушающими (лабораторными) методами контроля. Области их применения и физическая сущность. Визуальный и измерительный контроль сварных соединений (наплавок) и основного металла изделий. Неразрушающие методы контроля: капиллярный, магнитопорошковый, ультразвуковой, радиографический и герметичности (газовые и жидкостные). Общие сведения о разрушающих методах контроля сварных соединений. Преимущества и недостатки неразрушающих методов контроля. Комплексное использование методов контроля сварных соединений (наплавок) и основного металла изделий.
Б. Специальный курс
Тема 2 Основные требования нормативно-технической и технологической документации по визуальному и измерительному контролю сварных соединений (наплавок) и основного металла изделий
2.1 Требования Правил Госгортехнадзора, Госатомнадзора и НТД в части визуального и измерительного контроля сварных соединений и наплавок, качества полуфабрикатов, подготовки деталей и сборки соединений под сварку.
2.2 Требования РД «Визуальный и измерительный контроль» и «Унифицированной методики...» ПН АЭ Г-7-016-89 в части требований по проведению визуального и измерительного контроля.
2.3 Требования к состоянию поверхности полуфабрикатов в стандартах и технических условиях на поставку.
Тема 3 Физические основы визуального и измерительного контроля
3.1 Оптика глаза. Бинокулярное зрение. Стереоскопический эффект.
3.2 Видимость объекта контроля. Контрастная чувствительность зрения.
3.3 Разрешающая способность и острота зрения.
3.4 Цветоощущение. Колориметрическая характеристика цвета.
3.5 Временные характеристики зрения.
Тема 4 Методика визуального и измерительного контроля
4.1 Визуальный и измерительный контроль качества полуфабрикатов (труба, лист, профильный прокат) и заготовок (поковки). Параметры полуфабрикатов и заготовок, контролируемые визуально и измерением при входном контроле.
4.2 Визуальный и измерительный контроль конструкционных элементов, подготовленных под сварку деталей. Основные конструкционные размеры стыковых, тавровых, нахлесточных, угловых и торцевых сварных соединений труб и листов, и способы их измерения. Остающиеся стальные подкладки и расплавляемые проволочные вставки, их формы и размеры.
4.3 Визуальный и измерительный контроль качества сборки под сварку стыковых соединений деталей трубопроводов; контролируемые параметры и их размеры. Измерительный контроль смещения кромок деталей трубопроводов с внутренней стороны; основные способы измерения.
4.4 Визуальный и измерительный контроль качества сборки под сварку угловых, тавровых и нахлесточных соединений деталей конструкций (баков, сосудов, коробов и пр.); контролируемые параметры, их размеры и способы измерения.
4.5 Визуальный и измерительный контроль качества сборки под сварку торцевых соединений труб; контролируемые параметры, их размеры и способы измерения.
4.6 Визуальный и измерительный контроль качества сборки под сварку соединений штуцеров для ответвления трубопроводов; контролируемые параметры, их размеры и способы измерения.
4.7 Визуальный и измерительный контроль качества сборки стыковых соединений труб с расплавляемой проволочной вставкой; контролируемые параметры, их размеры и способы измерения.
4.8 Визуальный и измерительный контроль качества сборки стыковых соединений труб и листовых конструкций на остающейся стальной и удаляемой медной подкладке; контролируемые параметры, их размеры и способы измерения.
4.9 Визуальный и измерительный контроль качества сборки соединения деталей опор (подвесок) с трубопроводом; контролируемые параметры, их размеры и способы измерения.
4.10 Визуальный и измерительный контроль конструкционных размеров шва стыковых сварных соединений труб и листов; способы измерения.
4.11 Визуальный и измерительный контроль конструкционных размеров шва угловых, тавровых и нахлесточных соединений, соединений вварки штуцеров в оборудование и трубопроводы; способы измерения.
4.12 Визуальный и измерительный контроль размеров шва торцевого соединения труб; контролируемые параметры и способы измерения.
4.13 Визуальный и измерительный контроль конструкционных размеров шва соединения элементов опор и подвесок с трубопроводом; контролируемые параметры и способы измерения.
4.14 Визуальный и измерительный контроль размеров вогнутости (вогнутого мениска) и выпуклости обратной стороны шва соединений трубопроводов и листовых конструкций, свариваемых с одной стороны; размеры контролируемых параметров и способы их измерения.
4.15 Визуальный и измерительный контроль размеров наплавки на кромках; контролируемые параметры и способы их измерения.
4.16 Визуальный и измерительный контроль стыковых, угловых, тавровых, нахлесточных и торцевых сварных соединений в процессе сварки (наплавки); порядок контроля, контролируемые параметры и способы их измерения.
4.17 Измерительный контроль перелома осей свариваемых деталей трубопроводов, размеры перелома осей; способы определения величины перелома в стыковых и угловых соединениях.
4.18 Измерительный контроль местной деформации соединений листовых конструкций (баков, сосудов, коробов и пр.); допустимые размеры местной деформации; способы измерения.
4.19 Визуальный и измерительный контроль выборок дефектных мест в сварных соединениях; контролируемые параметры и способы их измерения.
4.20 Измерение угла наклона поверхности шва соединений деталей различной толщины; способы измерения.
4.21 Оценка высоты (глубины) углублений между валиками и чешуйчатости поверхности валика согласно нормам, приведенным в Правилах Госгортехнадзора РФ, Госатомнадзора РФ и РТМ-1с-93 и др. документов; способы измерения.
4.22 Оценка размеров одиночных поверхностных дефектов сварного шва согласно нормам, приведенным в Правилах Госгортехнадзора РФ, Госатомнадзора РФ, СНиП и РТМ-1с-93; способы измерения.
4.23 Оценка разности высоты усиления по длине (периметру) шва.
4.24 Оценка шероховатости в зоне сварного соединения по образцам шероховатости и с помощью профилографа-профилометра или других приборов.
4.25 Оценка качества подготовки поверхности шва и прилегающих поверхностей металла под капиллярный контроль, ультразвуковой контроль, радиографический контроль, магнитопорошковый контроль.
Тема 5 Приборы и инструменты для визуального и измерительного контроля
5.1 Классификация приборов для визуального и измерительного контроля.
5.2 Приборы для визуально-оптического контроля мелких, близко расположенных дефектов и поверхностей (лупы, микроскопы).
5.3 Обзорные складные, карманные и телескопические лупы. Их технические характеристики и конструктивные особенности. Погрешность измерения.
5.4 Приборы для визуально-оптического контроля удаленных и скрытых поверхностей (гибкие эндоскопы, перископы). Увеличение этих приборов. Жесткие эндоскопы и перископы. Назначение, типы, технические характеристики и конструктивные особенности. Погрешность измерения; выявляемые дефекты.
5.5 Промышленные эндоскопы и видеоэндоскопы зарубежного производства (фирмы «Олимпас» (Япония) и др. стран). Характеристики зарубежных приборов.
5.6 Инструменты для измерительного контроля линейных величин (штангенциркули, щупы, шаблоны, микрометры, нутромеры, линейки). Погрешность измерения.
5.7 Инструменты для измерительного контроля угловых величин (шаблоны, угломеры). Погрешность измерения.
5.8 Приборы для измерения толщины стенок деталей и сборочных единиц физическими методами (толщиномеры).
5.9 Приборы, эталоны и образцы для оценки шероховатости контролируемых поверхностей.
Тема 6 Органы государственного надзора и ведомственного контроля за средствами контроля и измерений
6.1 Порядок организации метрологической поверки приборов и инструментов. Государственные и ведомственные метрологические службы.
6.2 Порядок метрологической аттестации приборов и инструментов для визуального и измерительного контроля, в т.ч. нестандартизованных средств контроля. Метрологические службы и центры.
Тема 7 Нормы оценки качества сварных соединений (наплавок) и основного металла
7.1 Нормы оценки качества стыковых, угловых, тавровых, нахлесточных и торцевых соединений и наплавок оборудования и трубопроводов, на которые распространяется действие Правил Госгортехнадзора РФ, Госатомнадзора РФ, и Строительных норм и правил. Требования РТМ-1с-93 в части оценки качества сварных соединений и наплавок.
7.2 Нормы оценки качества полуфабрикатов и заготовок, изложенные в стандартах и технических условиях на поставку.
Тема 8 Оформление и хранение отчетной документации
8.1 Отчетная документация по визуальному и измерительному контролю. Требования к оформлению.
8.2 Сроки хранения документации.
Тема 9 Организация работ по визуальному и измерительному контролю
9.1 Организация службы (подразделения) контроля на предприятии. Основные функции службы контроля.
9.2 Требования к контролерам, допускаемым к проведению работ. Квалификация. Порядок аттестации и переаттестации. Срок действия аттестации.
9.3 Организация освещения объекта контроля. Оценка освещенности контролируемых поверхностей по ГОСТ 23479-79 и унифицированной методике. Нормы освещенности.
Тема 10 Требования безопасности
10.1 Общие требования безопасности на производстве. Основные положения ГОСТ 12.3.002-75.
10.2 Мероприятия по пожарной безопасности согласно ГОСТ 12.1.004-91.
10.3 Техника безопасности в строительстве согласно СНиП III-4-80, ГОСТ 12.1.013-78.
10.4 Организация работ по технике безопасности на предприятии. Порядок допуска исполнителей к выполнению работ.
II ПРАКТИЧЕСКАЯ ПОДГОТОВКА И ИСПЫТАНИЯ КОНТРОЛЕРОВ
1. Ознакомление с рабочими местами, приборами и инструментами для контроля.
2. Освоение методик и техники визуального и измерительного контроля сварных соединений оборудования, трубопроводов и листовых конструкций, включая контроль обратной стороны шва стыковых соединений труб, свариваемых с одной стороны, контроль размеров усиления (катета) шва, контроль формы поверхности шва, контроль дефектов формирования шва (бугристость, западания между валиками, незаваренные кратеры, свищи, подрезы, чешуйчатость и пр.), контроль наружных включений (скоплений).
3. Освоение методик и техники визуального и измерительного контроля качества подготовки деталей под сварку, сборки соединений под сварку, качества полуфабрикатов. Составление операционной карты визуального и измерительного контроля.
4. Выполнение контроля в соответствии с операционной картой визуального и измерительного контроля. Оценка качества на соответствие требованиям документа, указанного в задании.
5. Оформление акта по визуальному и (или) измерительному контролю проконтролированного при испытании образца.
Результаты испытания сопоставляются членом аттестационной комиссии с паспортными данными контролируемого образца.
III РЕКОМЕНДУЕМАЯ ЛИТЕРАТУРА
1. Правила устройства и безопасной эксплуатации паровых и водогрейных котлов, НПО ОБТ, 1993 г.
2. Правила устройства и безопасной эксплуатации сосудов, работающих под давлением, Недра, 1989 г.
3. Правила устройства и безопасной эксплуатации трубопроводов пара и горячей воды, НПО ОБТ, 1994 г.
4. ПН АЭ Г-7-008-89. Оборудование и трубопроводы атомных энергетических установок. Сварка и наплавка. Основные положения.
5. ПН АЭ Г-7-010-89. Оборудование и трубопроводы атомных энергетических установок. Сварка и наплавка. Правила контроля.
6. РД 34.10.130-96. Инструкция по визуальному и измерительному контролю.
7. ПН АЭ Г-7-016-89. Унифицированные методики контроля основных материалов (полуфабрикатов), сварных соединений и наплавок оборудования и трубопроводов АЭУ. Визуальный и измерительный контроль.
8. ГОСТ 5264-80. Ручная дуговая сварка. Соединения сварные. Основные типы, конструктивные элементы и размеры.
9. ГОСТ 9378-75. Образцы шероховатости (сравнения). Технические требования.
10. ГОСТ 23479-79. Контроль неразрушающий. Методы оптического вида. Общие требования.
11. ГОСТ 11534-75. Ручная дуговая сварка. Соединения сварные под острыми и тупыми углами. Основные типы. Конструктивные элементы и размеры.
12. ГОСТ 16037-80. Соединения сварные стальных трубопроводов. Основные типы. Конструктивные элементы и размеры.
13. ГОСТ 8713-79. Сварка под флюсом. Соединения сварные. Основные типы, конструктивные элементы и размеры.
14. ГОСТ 14771-76. Дуговая сварка в защитном газе. Соединения сварные. Основные типы, конструктивные элементы и размеры.
15. ГОСТ 8.326-86. ГСН. Метрологическая аттестация средств измерений.
16. РД 34 10.126-94. Инструкция по операционному контролю процессов сборки, сварки и термообработки, Москва, АО «Энергомонтажпроект», 1994 г.
17. СНиП III.4-80. Строительные нормы и правила. Правила производства и приемки работ. Техника безопасности в строительстве.
18. СНиП 3.05.05-84. Технологическое оборудование и технологические трубопроводы.
19. СНиП 3.05.02-88. Газоснабжение, Москва, 1988 г.
20. РД 34 15.027-93. Сварка, термообработка и контроль трубных систем котлов и трубопроводов при монтаже и ремонте оборудования электростанций (РТМ-1с-93).
21. 19-323.000. Инструкция по оценке качества подготовки поверхности сварного соединения под неразрушающий контроль.
22. Номенклатура средств линейных и угловых измерений, рекомендуемых для применения в строительно-монтажных организациях Минмонтажспецстроя СССР, Москва, ЦБНТИ, 1987 г.
23. Щербинский В.Г., Феоктистов В.А., Полевик В.А. и др. Методы дефектоскопии сварных соединений, Москва, Машиностроение, 1987 г.
24. Неразрушающий контроль металлов и изделий. Справочник под ред. Г.С. Самойловича, Москва, Машиностроение, 1976 г.
25. Моцохин С.Б. Контроль качества сварных соединений и конструкций, Москва, Стройиздат, 1985 г.
26. Назаров С.Т. Контроль качества сварных соединений, Машгиз, 1950 г.
27. Козлов В.В. Поверка средств неразрушающего контроля, Москва, Издательство стандартов, 1989 г.
28. Сварка в машиностроении. Справочник, том 4, Москва, Машиностроение, 1979 г.
29. Волченко В.Н., Гурвич А.К., Майоров А.Н. и др. Контроль качества сварки, Москва, Машиностроение, 1975 г.
30. Ханапетов М.В., Блинов А.П., Фоминых В.П. Организация и технология сварочно-монтажного производства, Москва, Стройиздат, 1972 г.
По результатам визуального и измерительного контроля оформляются:
1. Акт визуального и измерительного контроля.
2. Акт визуального и измерительного контроля качества сварных швов в процессе сварки соединения.
3. Протокол измерения размеров.
4. Журнал учета работ и регистрации результатов визуального и измерительного контроля.
Форма Е-1
|
____________________________ (предприятие, организация) АКТ № _________ от
________________ 1. В соответствии с наряд-заказом (заявкой) ___________ выполнен (номер) ___________________________________ контроль ______________________________ (визуальный, измерительный) (наименование и __________________________________________________________________________ размеры контролируемого объекта, номер НТД, ТУ, чертежа, __________________________________________________________________________ плавка (партия), номер объекта контроля) Контроль выполнен согласно ________________________________________________ (наименование и/или шифр ПКД) __________________________________________________________________________ с оценкой качества по нормам _______________________________________________ (наименование и/или шифр НТД) __________________________________________________________________________ 2. При контроле выявлены следующие дефекты _________________________________ (характеристика __________________________________________________________________________ дефектов (форма, размеры, расположение или ориентация для __________________________________________________________________________ конкретных объектов) __________________________________________________________________________ __________________________________________________________________________ __________________________________________________________________________ 3. Заключение по результатам визуального и измерительного контроля __________________________________________________________________________ __________________________________________________________________________ __________________________________________________________________________ Контроль выполнил: ________________________________________________________ (Ф.И.О., подпись) Руководитель работ по визуальному и измерительному контролю: __________________________________________________ (Ф.И.О., подпись) |
Пояснения к оформлению «Акт визуального и/или измерительного контроля»
1. В п. 1 указывается вид контроля - визуальный, измерительный или визуально-измерительный, а также наименование контролируемого объекта: полуфабрикат, поковка, заготовка, деталь, сборочная единица, подготовка кромки детали под сварку, собранное под сварку соединение, готовое сварное соединение, выборка дефектного участка в основном материале и/или сварном соединении, изделие (при техническом диагностировании), а также наименование и/или шифры производственно-контрольного документа (Программа входного контроля, Карта или схема контроля, Технологическая карта контроля, Карта или схема операционного контроля) и нормативно-технического документа, регламентирующего требования к оценке качества контролируемого объекта при визуальном и измерительном контроле.
При контроле основных материалов (полуфабрикатов, заготовок, поковок) в п. 1 в обязательном порядке указывается марка материала, размеры (диаметр, толщина) и номер партии.
При контроле деталей и сборочных единиц в п. 1 указывается номер чертежа, размеры, марка стали (только для деталей), также ее шифр согласно чертежу (стандарта).
При контроле подготовки кромок деталей, сборки соединения под сварку и готовых сварных соединений в п. 1 указываются номера соединений согласно сварочному формуляру или схеме расположения сварных соединений, а также размеры деталей соединения (диаметр, толщина), марка стали и способ сварки (для готовых сварных соединений).
При контроле выборок дефектных мест указываются наименование, марка стали и размеры объекта (диаметр, толщина), а также расположение выборки.
При контроле состояния металла и сварных соединений при техническом диагностировании объекта в п. 1 указываются вид объекта, размеры (диаметр, толщина), марка стали, номера контролируемых поверхностей изделий и сварных соединений и их расположение (согласно схеме контроля).
2. При заполнении п. 2 Акта в нем указываются все отступления от норм НТД, выявленные при контроле конкретных объектов (участков, соединений и пр.) в привязке к их номерам согласно сварочному формуляру, схеме расположения или схеме контроля.
В тех случаях, когда объект контроля соответствует требованиям НТД, в акте делается отметка - «дефекты отсутствуют». При этом указывают номера конкретных объектов в соответствии с документами, приведенными выше.
Форма Е-2
|
____________________________ (предприятие, организация) АКТ № _________ от
________________ __________________________________________________________________________ (наименование изделия и номер соединения) 1. Настоящим актом удостоверяется факт выполнения сварщиком _______________________________ _______________________________ (фамилия, и.о., клеймо) (углового, стыкового) ____________________ соединения _____________ (см. сварочный формуляр), выполненного ______________________________________________________________ (указать способ сварки и положение) в соответствии с требованиями технологии сварки _______________________________ (указать ___________________________ и недоступного для контроля ______________________ шифр технологии) (указать ___________________________________________________________________________ способ контроля, предписанный конструкторской документацией) 2. При послойном визуальном и измерительном контроле с оценкой качества по нормам _________________________________ для категории ______________________ (шифр или наименование НТД) установлено, что сварное соединение признано годным и соответствует требованиям ___________________________________________________________________________ (указать НТД или конструкторскую документацию) Контроль выполнил:_________________________________________________________ (Ф.И.О., подпись) Руководитель работ по визуальному и измерительному контролю: __________________________.________________________ (Ф.И.О., подпись) |
Примечание - Акт составляется на каждое сварное соединение, подвергнутое контролю в процессе сварки.
Требования к оформлению «Протокола размеров ................»
(изделие)
Протокол
размеров изделия (таблица) должен содержать фактические размеры изделия,
выполненные в определенных сечениях, которые задаются «Схемой измерений
» или «Программой технического диагностирования
». Форма «Протокола размеров» определяется при
проектно-технологической подготовке контрольных работ. Протокол подписывается
лицами, выполнявшими измерения с указанием фамилии, имени и отчества, а также
руководителем работ по визуальному и измерительному контролю также с указанием
фамилии, имени и отчества.
Требования к содержанию «Журнала учета работ и регистрации результатов визуального и измерительного контроля»
Результаты контроля продукции, изделий и объектов фиксируются в «Журнале учета работ и регистрации результатов визуального и измерительного контроля», в котором указывают:
1) наименование и вид (тип) контролируемого объекта, его номер или шифр;
2) расположение, и при необходимости размеры, контролируемых участков на объекте контроля;
3) условия проведения контроля;
4) производственно-контрольный документ, его номер;
5) метод оптического вида контроля объекта и примененные приборы (инструменты);
6) способ измерительного контроля и примененные приборы (инструменты);
7) марка и номер партии материала объекта контроля, а также обозначение стандарта или технических условий на материал и номер чертежа объекта (последнее только для деталей и сборочных единиц);
8) основные характеристики дефектов, выявленных при контроле (форма, размеры, расположение или ориентация относительно базовых осей или поверхностей объекта контроля);
9) наименование или шифр нормативно-технической документации, согласно которой выполнена оценка качества;
10) оценка результатов контроля;
11) дата контролю.
2. В графе «Метод оптического вида....» указывается либо В (визуальный), либо ВО (визуально-оптический).
Визуально-оптический метод дефектоскопии выполняется с помощью оптических приборов (лупы, микроскопы, эндоскопы и пр.).
1. На деталях, сборочных единицах и готовых сварных соединениях изделий, подлежащих неразрушающему контролю, должны быть поставлены клейма (маркировка) в соответствии с требованиями ПТД и настоящей инструкции.
2. Способ клеймения (маркировки) деталей, сборочных единиц и готовых сварных соединений должен задаваться производственно-технологической документацией (ПТД) в соответствии с рекомендациями настоящей инструкции. При выборе способа клеймения следует учитывать особенности конструкции сварного узла: материал, типоразмер труб (конструкций), наличие защитного покрытия.
3. В зависимости от размеров труб и листов (диаметр, толщина) и условий эксплуатации детали, сборочные единицы и сварные соединения изделий рекомендуется клеймить одним из следующих способов:
- ударным способом;
- краской;
- креплением в районе сварного шва бирки (таблички) изготовленную из металла или твердого картона по ГОСТ 20376-74.
4. При клеймении (маркировке) основного металла деталей, сборочных единиц и сварных соединений ударным способом следует применять ручные клейма по ГОСТ 25726 и молоток слесарный массой 50-100 г. При клеймении изделий глубина отпечатка клейма (букв, цифр) должна быть не более 0,2 мм. Высота букв (цифр) - 4-6 мм. На место, где было произведено клеймение, наносится состав, предохраняющий основной металл от коррозии.
5. При клеймении (маркировке) краской следует применять быстросохнущие эмали и краски НЦ-5123 по ГОСТ 7462, ПФ-115 по ГОСТ 6465, КО-811 красная ТУ 6-10-596-82 или другие аналогичные по свойствам быстросохнущие эмали и лаки. Высота букв (цифр) - 25-35 мм. Буквы и цифры наносить на изделие кистью с помощью трафарета.
6. С целью предотвращения деформации металла тонкостенных (до 5,5 мм) трубопроводов (конструкций) рекомендуется (при клеймении ударным способом) клейма проставлять на специальных металлических бирках (круглых диаметром до 30 мм или треугольных с длиной стороны до 30 мм) толщиной 0,5-1,0 мм, изготовленных из алюминиевых сплавов (АМЦ, АМГ и др.) или из аустенитной коррозионностойкой стали. Глубина отпечатка клейма на металлических бирках, нанесенного ударным способом, должна быть не менее 0,2 мм, высота букв (цифр) - не менее 5 мм.
Допускается клейма проставлять на бирках из аустенитной стали с помощью электрокарандаша (электрографа).
Крепление бирок к изделиям осуществлять с помощью нагартованной проволоки диаметром до 2 мм; на трубопроводах из перлитной стали - проволокой из любой марки стали; на трубопроводах из аустенитной стали - проволокой из аустенитной стали.
7. Производственные мастера (контролеры сварочных работ) обязаны следить за своевременностью и правильностью выполнения клеймения (маркировки) деталей, сборочных единиц и сварочных соединений.
8. Клеймение выполненных сварных соединений производится личным клеймом сварщика, которое должно быть зарегистрировано в журнале подразделения контроля предприятия (организации).
9. Перед клеймением (маркировкой) деталей, сборочных единиц и сварных соединений изделий, выполненных из сталей перлитного класса, место нанесения клейма должно быть зачищено до чистого металла (например, шлифованием).
10. Способы и порядок клеймения сварных соединений устанавливаются организацией, выполняющей контроль, если способ клеймения не установлен КД или ПТД.
11. Клеймение (маркировку) деталей, сборочных единиц и сварных соединений и/или их регистрацию в учетной документации необходимо производить после выполнения каждой технологической операции.
Не разрешается оставлять незамаркированными и/или незарегистрированными в учетной документации детали, сборочные единицы и сварные соединения, изготовленные в течение прошедших суток.
12. Детали, сборочные единицы и сварные соединения поэтапно должны быть проверены контролерами подразделения контроля на предмет соответствия их требованиям КД и ПТД. Готовность их к выполнению последующих технологических операций подтверждается штампом (печатью) контролера или записью в учетной документации.
12.1. На штампе (печати) должен быть указан индекс операции, принадлежность штампа (печати): ОТК, СТК, ЦЗЛ, либо другие принятые на предприятии обозначения контрольных служб.
12.2. Клеймение производить в порядке выполнения операций, предусмотренном настоящей инструкцией.
12.3. Места клеймения деталей, сборочных единиц и сварных соединений изделий должны быть указаны в ТУ на изделие или в рабочих чертежах.
12.4. Клеймо должно наноситься на определенном расстоянии «L» от края детали (сварного шва) с наружной стороны в местах, удобных для осмотра при приемо-сдаточном контроле и оговоренных в НТД.
12.5. Примеры клеймения деталей, сборочных единиц и сварных соединений:

где П - контроль подготовки и сборки деталей под сварку и наплавку;
С - контроль в процессе сварки и наплавки;
И - готовность изделия к последующим видам контроля.
Примечание - Клеймение деталей, сборочных единиц и сварных соединений, выполненных из аустенитных и перлитных сталей, должно осуществляться красками, не вызывающими их коррозию.
12.6. В случае невозможности проведения клеймения отдельных деталей, сборочных единиц или сварных соединений допускается устанавливать одну табличку (бирку) на нескольких однотипных сварных соединениях.
1. РАЗРАБОТАНА Аттестационным научно-техническим центром «Энергомонтаж».
ИСПОЛНИТЕЛИ
Белкин С.А. (руководитель разработки), Богод В.Б., Феоктистов В.А., Орлов Н.С., Моисеенко А.С., Белкин А.С., Утенкова Л.Д.
2. УТВЕРЖДЕНА И ВВЕДЕНА В ДЕЙСТВИЕ 01.07.1996
3. ЗАРЕГИСТРИРОВАНА отделом стандартизации института «Оргэнергострой» за № РД 34 10.130-96.
4. ВВЕДЕНА ВПЕРВЫЕ
5. ССЫЛОЧНЫЕ НОРМАТИВНО-ТЕХНИЧЕСКИЕ ДОКУМЕНТЫ
|
Обозначение НТД и ПТД |
Наименование |
|
Государственные стандарты |
|
|
ГОСТ 10-88 |
Нутромеры микрометрические. Технические условия |
|
Штангенрейсмасы. Технические условия |
|
|
Штангенциркули. Технические условия |
|
|
Линейки измерительные металлические. Технические условия |
|
|
ГОСТ 868-82 |
Нутромеры индикаторные с ценой деления 0,01 мм. Технические условия |
|
ГОСТ 2875-88 |
Меры плоского угла призматические. Общие технические условия |
|
Угольники поверочные 90°. Технические условия |
|
|
ГОСТ 4119-76 |
Наборы принадлежностей к плоскопараллельным мерам длины. Технические условия |
|
Угломеры с нониусом. Технические условия |
|
|
Эмаль ПФ-115. Технические условия |
|
|
Микрометры. Технические условия |
|
|
ГОСТ 7462-73 |
Эмали НЦ-5123. Технические условия |
|
ГОСТ 7502-89 |
Рулетки измерительные металлические. Технические условия |
|
Меры длины концевые плоскопараллельные. Технические условия |
|
|
ГОСТ 9378-75 |
Образцы шероховатости поверхности (сравнения). Общие технические условия |
|
Толщиномеры и стенкомеры индикаторные с ценой деления 0,01 мм и 0,1 мм. Технические условия |
|
|
ГОСТ 12069-90 |
Меры длины штриховые брусковые. Технические условия |
|
ГОСТ 17215-71 |
Нутромеры микрометрические. Методы и средства поверки |
|
Средства измерения шероховатости поверхности профильным методом. Профилографы-профилометры контактные. Типы и основные параметры |
|
|
ГОСТ 20376-74 |
Картон термоизоляционный прокладочный. Технические условия |
|
ГОСТ 23479-79 |
Контроль неразрушающий. Методы оптического вида. Общие требования |
|
Входной контроль продукции. Основные положения |
|
|
ГОСТ 25706-83 |
Лупы. Типы, основные параметры. Общие технические требования |
|
ГОСТ 25726-83 |
Клейма ручные буквенные и цифровые. Типы и основные размеры |
|
ЕСКД. Правила внесения изменений |
|
|
ГСИ. Штангенциркули. Методика поверки |
|
|
Правила |
|
|
|
Правила устройства и безопасной эксплуатации паровых и водогрейных котлов |
|
РД-03-94 |
Правила устройства и безопасной эксплуатации трубопроводов пара и горячей воды |
|
Правила устройства и безопасной эксплуатации сосудов, работающих под давлением |
|
|
Правила устройства и безопасной эксплуатации грузоподъемных кранов |
|
|
Правила устройства и безопасной эксплуатации оборудования и трубопроводов атомных энергетических установок |
|
|
ПН АЭ Г-10-021-90 |
Правила устройства и безопасной эксплуатации локализующих систем безопасности атомных станций |
|
Правила устройства и безопасной эксплуатации трубопроводов для горючих, токсичных и сжиженных газов |
|
|
Общие правила техники безопасности и производственной санитарии для предприятий и организаций машиностроения |
|
|
Правила техники безопасности при эксплуатации электроустановок потребителей |
|
|
Типовые правила пожарной безопасности для промышленных предприятий |
|
|
Прочие НТД |
|
|
Технологическое оборудование и технологические трубопроводы |
|
|
Газоснабжение |
|
|
Тепловые сети |
|
|
Наружные сети и сооружения водоснабжения и канализации |
|
|
Несущие и ограждающие конструкции |
|
|
Металлические конструкции |
|
|
Техника безопасности в строительстве |
|
|
РД 34.10.030-89 |
Правила контроля качества сварных соединений трубопроводов атомных станций |
|
Оборудование и трубопроводы атомных энергетических установок. Сварные соединения и наплавки. Правила контроля |
|
|
Унифицированная методика контроля основных материалов (полуфабрикатов), сварных соединений и наплавки оборудования и трубопроводов АЭУ. Визуальный и измерительный контроль |
|
|
РД 34.17.401-88 |
Положение о входном контроле металла теплоэнергетических установок с давлением 9 МПа и выше |
|
АИЭ 10-89 |
Инструкция по эксплуатационному контролю за состоянием основного металла и сварных соединений оборудования и трубопроводов контура МПЦ, парового и конденсатно-питательного тракта атомных электростанций с РБМК-1000 и РБМК-1500 |
|
АИП 34-14-88 |
Инструкция по предэксплуатационному контролю основного металла, оборудования и трубопроводов серийных блоков АЭС с реактором ВВЭР-1000 |
|
Сварка, термообработка и контроль трубных систем котлов и трубопроводов при монтаже и ремонте оборудования электростанций (РТМ-1с-93) |
|
|
РД 2730.940.103-92 |
Котлы паровые и водогрейные, трубопроводы пара и горячей воды. Сварные соединения. Контроль качества |
|
ОСТ 24.090-63-87 |
Оборудование подъемно-транспортное. Требования к изготовлению сварных металлоконструкций |
|
ОСТ 34-13-915-85 |
Краны грузоподъемные. Монтаж. Технические требования |
|
Сосуды и аппараты стальные сварные |
|
|
Правила контроля сварных соединений элементов локализующих систем безопасности атомных станций |
|
|
Санитарные нормы проектирования промышленных предприятий |
|
|
ИСО 6520-82 |
Классификация дефектов швов при сварке металлов плавлением |
|
МИ 1272-86 |
Толщиномер ультразвуковой УТ-93П. Методика поверки |
|
Указания по проведению входного контроля качества металла, идущего на ремонт, изготовление и реконструкцию грузоподъемных кранов (ВНИИПТмаш) |
|
|
Методические указания по проведению обследования грузоподъемных кранов с истекшими сроками службы с целью определения возможности их дальнейшей эксплуатации (ВНИИПТмаш) |
|
|
Положение о системе технического диагностирования паровых и водогрейных котлов, ДИЭКС, 1993 |
|
|
Положение о порядке продления сроков службы сосудов на энергопредприятиях Минтопэнерго, 1993 |
|
СОДЕРЖАНИЕ
|
ГОСТЫ, СТРОИТЕЛЬНЫЕ и ТЕХНИЧЕСКИЕ НОРМАТИВЫ. Некоммерческая онлайн система, содержащая все Российские Госты, национальные Стандарты и нормативы. В Системе содержится более 150000 файлов нормативно-технической документации, действующей на территории РФ. Система предназначена для широкого круга инженерно-технических специалистов. Copyright © www.gostrf.com, 2008 - 2026 |