Крупнейшая бесплатная информационно-справочная система онлайн доступа к полному собранию технических нормативно-правовых актов РФ. Огромная база технических нормативов (более 150 тысяч документов) и полное собрание национальных стандартов, аутентичное официальной базе Госстандарта. GOSTRF.com - это более 1 Терабайта бесплатной технической информации для всех пользователей интернета. Все электронные копии представленных здесь документов могут распространяться без каких-либо ограничений. Поощряется распространение информации с этого сайта на любых других ресурсах. Каждый человек имеет право на неограниченный доступ к этим документам! Каждый человек имеет право на знание требований, изложенных в данных нормативно-правовых актах!

  


 
ГОСТ Р 51983-2002

ГОСУДАРСТВЕННЫЙ СТАНДАРТ РОССИЙСКОЙ ФЕДЕРАЦИИ

УСТРОЙСТВА МНОГОФУНКЦИОНАЛЬНЫЕ
РЕГУЛИРУЮЩИЕ
ДЛЯ ГАЗОВЫХ АППАРАТОВ

ОБЩИЕ ТЕХНИЧЕСКИЕ ТРЕБОВАНИЯ И МЕТОДЫ ИСПЫТАНИЙ

ГОССТАНДАРТ РОССИИ

Москва

Предисловие

1 РАЗРАБОТАН И ВНЕСЕН Техническим комитетом по стандартизации ТК 345 «Аппаратура бытовая, работающая на жидком, твердом и газообразном видах топлива»

2 ПРИНЯТ И ВВЕДЕН В ДЕЙСТВИЕ Постановлением Госстандарта России от 15 декабря 2002 г. № 475-ст

3 Настоящий стандарт представляет собой аутентичный текст европейского стандарта ЕН 126-95 «Многофункциональные средства управления для газовых аппаратов»

4 ВВЕДЕН ВПЕРВЫЕ

СОДЕРЖАНИЕ

1 Общие положения. 2

1.1 Область применения. 2

1.2 Нормативные ссылки. 2

1.3 Определения. 3

1.4 Классификация. 6

1.5 Единицы измерения. 6

2 Технические требования. 6

2.1 Общие сведения. 6

2.2 Требования к конструкции. 7

2.3 Материалы.. 7

2.4 Присоединительные элементы и размеры многофункционального регулирующего устройства. 8

2.5 Уплотнения. 9

2.6 Электрическое оборудование. 9

2.7 Требования к составным частям многофункционального регулирующего устройства. 9

3 Требования безопасности. 11

3.1 Общие положения. 11

3.2 Герметичность. 11

3.3 Кручение и изгиб. 12

3.4 Номинальный расход газа. 12

3.5 Надежность. 12

3.6 Устройства регулировки, управления и защиты.. 13

3.7 Расход газа и герметичность после испытания на надежность. 18

4 Методы испытаний. 18

4.1 Общие положения. 18

4.2 Герметичность. 18

4.3 Кручение и изгиб. 20

4.4 Номинальный расход газа. 21

4.5 Надежность. 22

4.6 Устройства регулировки, управления и защиты.. 24

5 Маркировка и указания по эксплуатации. 35

5.1 Маркировка. 35

5.2 Указания по эксплуатации. 36

Приложение А Библиография. 36

ГОСУДАРСТВЕННЫЙ СТАНДАРТ РОССИЙСКОЙ ФЕДЕРАЦИИ

УСТРОЙСТВА МНОГОФУНКЦИОНАЛЬНЫЕ РЕГУЛИРУЮЩИЕ
ДЛЯ ГАЗОВЫХ АППАРАТОВ

Общие технические требования и методы испытаний

Multifunctional controls for gas burning appliances. General technical requirements and test methods

Дата введения 2004-01-01

1 Общие положения

1.1 Область применения

Настоящий стандарт распространяется на многофункциональные регулирующие устройства для газовых аппаратов, работающих на газах трех семейств, с номинальным (условным) проходом (DN) до 50 мм, максимальным рабочим давлением до 20 кПа (далее - многофункциональные регулирующие устройства) и устанавливает общие технические требования к этим устройствам и методы их испытаний.

Многофункциональные регулирующие устройства предназначены для выполнения двух и более функций, одна из которых - ручное выключение подачи газа.

Другими функциями могут быть:

- автоматическое выключение подачи газа;

- закрытие подачи газа к основной горелке (или основной и запальной горелкам) после исчезновения контролируемого пламени;

- поддержание на выходе из устройства постоянного давления в пределах установленного диапазона независимо от расхода газа и давления на входе;

- ручное управление устройством;

- регулировка настройки выходного давления;

- автоматическое поддержание определенной температуры воды в заданном диапазоне при управлении расходом газа по сигналу от датчика температуры без подвода внешней энергии.

1.2 Нормативные ссылки

В настоящем стандарте использованы ссылки на следующие стандарты:

ГОСТ 9.030-74 Единая система защиты от коррозии и старения. Резины. Методы испытаний на стойкость в ненапряженном состоянии к воздействию жидких агрессивных сред

ГОСТ 9.908-85 Единая система защиты от коррозии и старения. Металлы и сплавы. Методы определения показателей коррозии и коррозионной стойкости

ГОСТ 2839-80 Ключи гаечные с открытым зевом двусторонние. Конструкция и размеры

ГОСТ 2841-80 (ИСО 4229-77) Ключи гаечные с открытым зевом односторонние. Конструкция и размеры

ГОСТ 6211-81 Основные нормы взаимозаменяемости. Резьба трубная коническая

ГОСТ 6357-81 Основные нормы взаимозаменяемости. Резьба трубная цилиндрическая

ГОСТ 12815-80 Фланцы арматуры, соединительных частей и трубопроводов на Ру от 0,1 до 20,0 МПа (от 1 до 200 кгс/см2). Типы. Присоединительные размеры и размеры уплотнительных поверхностей

ГОСТ 12971-67 Таблички прямоугольные для машин и приборов. Размеры

ГОСТ 14192-96 Маркировка грузов

ГОСТ 14254-96 (МЭК 529-89) Степени защиты, обеспечиваемые оболочками (Код IP)

ГОСТ 16093-81 Основные нормы взаимозаменяемости. Резьба метрическая. Допуски. Посадки с зазором

ГОСТ 24705-81 Основные нормы взаимозаменяемости. Резьба метрическая. Основные размеры

ГОСТ 27570.0-87 (МЭК 335-1-76) Безопасность бытовых и аналогичных электрических приборов. Общие требования и методы испытаний

ГОСТ Р 51733-2001 Котлы газовые центрального отопления, оснащенные атмосферными горелками, номинальной тепловой мощностью до 70 кВт. Требования безопасности и методы испытаний

1.3 Определения

В настоящем стандарте применяют следующие термины с соответствующими определениями:

1.3.1 Составные части многофункционального регулирующего устройства

1.3.1.1 многофункциональное регулирующее устройство: Устройство, обеспечивающее две или более функций, одна из которых - выключение подачи газа, выполненное в одном корпусе.

1.3.1.2 автоматический запорный клапан: Клапан, открывающийся при начале подачи питания и автоматически закрывающийся при прекращении подачи питания.

1.3.1.3 клапан: Подвижная часть многофункционального регулирующего устройства, которая открывает, изменяет степень открытия или закрывает подачу газа.

1.3.1.4 исполнительный механизм: Часть многофункционального регулирующего устройства, приводящая в действие клапан.

1.3.1.5 отверстие сапуна (дыхательное отверстие): Отверстие, которое позволяет поддерживать атмосферное давление в камере переменного объема.

1.3.1.6 диафрагма: Гибкая деталь, которая приводит в движение клапан под действием силы, возникающей вследствие разности давлений.

1.3.1.7 тарелка диафрагмы: Плита жесткости, прикрепленная к диафрагме.

1.3.1.8 термопара: Термоэлектрический чувствительный элемент, в котором под воздействием температуры контролируемого пламени вырабатывается электродвижущая сила (ЭДС).

1.3.1.9 устройство контроля пламени: Устройство, обеспечивающее подачу газа к основной горелке (или основной и запальной горелкам) при наличии пламени и отключающее подачу газа к основной горелке после исчезновения контролируемого пламени.

1.3.1.10 блокировка розжига: Предотвращение включения устройства воспламенения, пока открыта подача газа к основной горелке.

1.3.1.11 блокировка повторного розжига: Предотвращение повторного открытия подачи газа к основной горелке (или основной и запальной горелкам) до тех пор, пока магнитная пробка не отделится от электромагнита.

1.3.1.12 регулятор давления газа: Устройство, которое поддерживает на выходе из него постоянное давление в пределах установленного диапазона независимо от расхода газа и давления на входе.

1.3.1.13 настраиваемый регулятор давления: Регулятор давления, снабженный устройствами регулировки для настройки выходного давления.

1.3.1.14 предохранительный запорный клапан: Устройство, отключающее подачу газа при повышении выходного давления регулятора сверх допустимого.

1.3.1.15 клапан управления: Клапан, который управляет подачей вспомогательной среды (например, сжатого воздуха) для приведения в действие исполнительного механизма.

1.3.1.16 термостат управления: Устройство, которое автоматически поддерживает определенную температуру теплоносителя в заданном диапазоне, управляя расходом газа по сигналу от датчика температуры без подвода внешней энергии.

Типы термостата управления:

- регулируемый термостат управления: Термостат, который позволяет пользователю установить требуемое значение температуры теплоносителя между минимальным и максимальным значениями;

- нерегулируемый термостат управления: Термостат, который настроен изготовителем на определенное значение температуры теплоносителя и не позволяет задать другое значение температуры;

- позиционный термостат: Термостат со ступенчатым изменением расхода газа в зависимости от температуры;

- двухпозиционный термостат: Термостат, имеющий только два положения для расхода газа, например «включено - выключено», «полный расход - пониженный расход» или «пониженный расход - выключено»;

- модулирующий термостат: Термостат с плавным изменением расхода газа в зависимости от температуры;

- комбинированный термостат: Термостат, который действует как двухпозиционный термостат в интервале между закрытым положением и положением пониженного расхода и как модулирующий термостат в интервале между положением пониженного расхода и положением полного расхода («включено»);

- термостат наружного воздуха: Термостат, управляющий температурой теплоносителя в зависимости от температуры наружного воздуха.

1.3.1.17 Регуляторы расхода газа (регуляторы расхода):

а) регулятор расхода: Устройство, предназначенное для настройки эксплуатационного режима только специалистом. Оно может быть нерегулируемым или регулируемым;

б) нерегулируемый регулятор расхода: Сменное устройство предварительной настройки, позволяющее установить значение пониженного расхода газа через термостат;

в) регулируемый регулятор расхода: Регулировочный винт, который устанавливает значение пониженного расхода газа через термостат и который можно отрегулировать или заменить только с помощью инструмента.

1.3.1.18 датчик температуры: Устройство, воспринимающее температуру контролируемой среды.

1.3.1.19 реле давления: Предохранительное устройство, отключающее подачу газа при изменении значения входного давления выше максимального или ниже минимального.

1.3.1.20 устройство ручного управления: Устройство (кран, клапан, вентиль и др.), с помощью которого осуществляют ручное управление расходом газа.

1.3.2 Технические характеристики

1.3.2.1 приводная энергия: Энергия (электрическая, пневматическая, гидравлическая), необходимая для приведения в действие исполнительного механизма.

1.3.2.2 сила открытия клапана: Сила, необходимая для открытия клапана.

1.3.2.3 сила закрытия клапана: Сила, необходимая для закрытия клапана.

1.3.2.4 усилие уплотнения клапана: Сила, действующая на седло клапана, когда он находится в закрытом положении.

1.3.2.5 сила сопротивления (трения): Наибольшая сила, которая противодействует функционированию пружины клапана при его перемещении из открытого в закрытое положение.

1.3.2.6 вспомогательная энергия: Любая внешняя энергия, необходимая для многофункционального регулирования (например, электрическая, пневматическая или гидравлическая), кроме ЭДС термопары.

1.3.2.7 Герметичность:

а) герметичность газового тракта: Герметичность газового тракта относительно окружающей атмосферы;

б) герметичность клапана: Герметичность клапана в положении «закрыто» и изоляция объема, содержащего газ, от другого объема.

1.3.2.8 давление вспомогательной среды: Гидравлическое или пневматическое давление вспомогательной среды, приводящей в действие исполнительный механизм многофункционального регулирующего устройства.

1.3.2.9 Давление газа:

а) перепад давлений: Разница между входным и выходным давлениями газа;

б) испытательное давление: Давление, которое используют при испытании;

в) потеря давления: Перепад давления на клапане при его полностью открытом положении;

г) предельные давления: Наибольшее и наименьшее допустимые значения давления при работе многофункционального регулирующего устройства.

1.3.2.10 Давления регулятора:

а) максимальное входное давление p1max: Максимальное давление на входе, указанное изготовителем, при котором многофункциональное регулирующее устройство может быть применено;

б) минимальное входное давление р1min: Минимальное давление на входе, указанное изготовителем, при котором многофункциональное регулирующее устройство может быть применено;

в) диапазон рабочего входного давления: Диапазон значений давления на входе от максимального до минимального;

г) максимальное выходное давление p2max: Максимальное давление на выходе, указанное изготовителем;

д) минимальное выходное давление р2min: Минимальное давление на выходе, указанное изготовителем;

е) диапазон рабочего выходного давления: Диапазон значений давления на выходе от максимального до минимального;

ж) испытательные настройки регулятора: Указанные изготовителем входное и выходное давления, а также расход газа (см. 3.6.4 и 4.6.3), на которые регулятор предварительно должен быть отрегулирован для проведения испытаний.

Соответствующие давления и расход называют: «испытательное входное давление», «испытательное выходное давление» и «испытательный расход».

1.3.2.11 расход газа: Объем газа, протекающий через регулятор давления в единицу времени.

Характеристики расхода газа:

а) номинальный расход газа (воздуха): Расход газа (воздуха) при указанном изготовителем перепаде давлений, приведенный к стандартным условиям;

б) максимальный расход газа (воздуха) qmах: Максимальный расход газа (воздуха) в кубических метрах в час (м3/ч), приведенный к стандартным условиям и представленный изготовителем в виде графиков зависимости от входного и выходного давлений. Для нерегулируемого регулятора приводят только одно значение максимального расхода;

в) минимальный расход газа (воздуха) qmin: Минимальный расход газа (воздуха) в кубических метрах в час (м3/ч), приведенный к стандартным условиям, представленный изготовителем в виде графика зависимости от входного и выходного давлений. Для нерегулируемого регулятора приводят только одно значение минимального расхода;

г) диапазон расхода газа (воздуха): Диапазон значений расхода между максимальным и минимальным;

д) калибровочный расход: Значение расхода газа, указанное изготовителем для калибровки.

1.3.2.12 время открытия: Интервал времени между моментом подачи управляющего сигнала на открытие клапана и достижением максимального или другого определенного расхода.

1.3.2.13 время закрытия: Интервал времени между моментом отключения управляющего сигнала и достижением закрытого положения клапана.

1.3.2.14 время запаздывания: Интервал времени между моментом начала подачи управляющего сигнала на открытие клапана и моментом начала открытия клапана.

1.3.2.15 рабочее положение: Положение, указанное изготовителем для монтажа многофункционального регулирующего устройства.

1.3.2.16 исходное (закрытое) положение клапана (клапанов): Положение клапана (клапанов) при отсутствии ЭДС или вспомогательной энергии.

1.3.2.17 положение розжига: Положение клапана или клапанов во время розжига.

1.3.2.18 Температура:

а) максимальная температура окружающей среды: Наибольшая температура окружающей среды (окружающего воздуха), указанная изготовителем, при которой многофункциональное регулирующее устройство может быть применено;

б) минимальная температура окружающей среды: Наименьшая температура окружающего воздуха, указанная изготовителем, при которой многофункциональное регулирующее устройство может быть применено.

1.3.2.19 температурная уставка (заданная температура): Любое значение температуры, выбранное в пределах диапазона регулирования термостата.

1.3.2.20 уставка температуры калибровки (заданная температура калибровки): Температура, при которой получен калибровочный расход газа при настройке термостата в рабочем положении и в направлении, указанном изготовителем.

1.3.2.21 номинальное напряжение: Напряжение, указанное изготовителем, при котором многофункциональное регулирующее устройство может быть применено.

1.3.2.22 стандартные условия: Температура окружающей среды 15 °С, атмосферное давление 101,3 кПа.

1.3.2.23 кривая расхода: Графическое представление расхода газа как функции температуры датчика при данной температурной уставке и при постоянном входном давлении.

1.3.2.24 люфт: Различие в положениях регулировочной ручки при ее перемещении в прямом и обратном направлениях, требуемое для получения одинакового расхода газа при постоянной температуре датчика.

1.3.2.25 рабочий цикл: Совокупность действий по переводу устройства из выключенного во включенное состояние и обратно.

1.3.2.26 максимальная частота рабочих циклов: Число рабочих циклов в единицу времени, указанное изготовителем, которое не должно быть превышено во время испытания.

1.3.2.27 дифференциал температуры для двухпозиционных термостатов: Диапазон отклонений температуры от температурной уставки для получения расхода газа при данной температурной уставке.

1.3.2.28 отклонение: Максимальное отклонение от температурной уставки, указанное изготовителем.

1.3.2.29 дрейф: Постоянное изменение в кривой расхода термостата.

1.3.2.30 полоса модуляции для модулирующего или комбинированного термостата: Диапазон отклонений температуры от температурной уставки для получения расхода газа при данной температурной уставке.

1.4 Классификация

1.4.1 Классы автоматических запорных клапанов

Классы А, В и С:

Автоматические запорные клапаны (далее - клапаны), в которых направление усилия уплотнения клапана совпадает с направлением движения газа, подразделяют на указанные классы в зависимости от значения усилия уплотнения (см. 3.6.6.6).

Класс D:

Клапаны, в которых направление усилия их уплотнения не нормируют.

Класс Е:

Клапаны, в которых направление усилия их уплотнения противоположно направлению движения газа.

1.4.2 Число рабочих циклов для устройств контроля пламени

Устройства контроля пламени подразделяют в зависимости от числа рабочих циклов в течение их сроков службы на группы:

- группа 1 - 5000 рабочих циклов;

- группа 2 - 10000 рабочих циклов;

- группа 3 - 40000 рабочих циклов.

1.4.3 Группы многофункционального регулирующего устройства

Многофункциональные регулирующие устройства подразделяют на группы 1 и 2 по устойчивости к изгибу (см. таблицу 3):

а) группа 1 - многофункциональные регулирующие устройства, предназначенные для установки внутри газового аппарата без воздействия на них изгибающего момента от трубопроводов, например с помощью крепления на жестких кронштейнах;

б) группа 2 - многофункциональные регулирующие устройства, предназначенные для установки снаружи или внутри газового аппарата без дополнительного крепления.

1.4.4 Классы регулятора давления газа

Регуляторы давления газа подразделяют на классы А, В и С (см. 3.6.4, таблица 9).

1.5 Единицы измерения

1.5.1 Все давления - абсолютные статические давления выражены в килопаскалях.

1.5.2 Крутящий и изгибающий моменты даны в ньютон-метрах.

2 Технические требования

2.1 Общие сведения

Конструкция многофункционального регулирующего устройства должна соответствовать требованиям, установленным в [1].

На материал для декоративно-защитного покрытия должно быть получено санитарно-эпидемиологическое заключение Департамента Госсанэпиднадзора Минздрава России.

2.2 Требования к конструкции

2.2.1 Многофункциональное регулирующее устройство устанавливают и эксплуатируют в соответствии с требованиями, установленными в нормативных документах изготовителя.

2.2.2 На поверхностях деталей многофункционального регулирующего устройства не допускаются трещины, плены, заусенцы, риски, вмятины и другие механические повреждения, а также признаки коррозии. Резьба деталей должна быть чистой, без заусенцев, рваных и смятых ниток и признаков коррозии.

2.2.3 Крепежные отверстия, предназначенные для сборки деталей и узлов многофункционального регулирующего устройства, не должны проникать в полости, содержащие газ. Толщины стенок между высверленными отверстиями и газосодержащими полостями должны быть не менее 1 мм.

2.2.4 Технологические отверстия, соединяющие газосодержащие полости с атмосферой, но не влияющие на работу многофункционального регулирующего устройства, должны быть надежно герметизированы с помощью металла.

Разрешается замена уплотнений в соответствии с инструкциями изготовителей.

2.2.5 Герметичность деталей многофункционального регулирующего устройства, снимаемых во время текущего обслуживания, должна быть обеспечена в соответствии с 3.2.2 механическими средствами, исключая использование паст, жидкостей и лент. Герметичность не должна быть нарушена также и после повторной сборки.

2.2.6 Съемные детали многофункционального регулирующего устройства должны иметь конструкцию или маркировку, исключающую их неправильную сборку во время повторного монтажа.

Винтовые соединения съемных деталей должны иметь метрическую резьбу, удовлетворяющую требованиям ГОСТ 24705, допуски на резьбу по грубому классу точности В ГОСТ 16093, если резьба другого типа не требуется для правильного функционирования и регулирования указанного устройства.

Допускается применение самонарезающих винтов, не образующих стружку.

Применение самонарезающих винтов, образующих стружку, для соединения газонесущих или съемных деталей не допускается.

2.2.7 Соединение газонесущих деталей с помощью мягкого припоя с температурой плавления ниже 450 °С не допускается.

2.2.8 Детали многофункционального регулирующего устройства, не предназначенные для регулирования во время настройки или демонтажа при обслуживании, должны быть опломбированы средствами, показывающими очевидность вмешательства в конструкцию (например, лаком). Герметизация не должна препятствовать регулированию в пределах всего диапазона, заданного изготовителем.

2.2.9 Штуцеры для измерения давления газа

Штуцеры должны иметь наружный диаметр 9-0,5 и длину, равную 10 мм.

Диаметр внутреннего отверстия штуцера должен быть равен 1 мм.

2.2.10 Фильтры

На входном отверстии подачи газа многофункционального регулирующего устройства должен быть установлен фильтр. Размеры ячейки сетки фильтра должны быть не более 1,5 ´ 1,5 мм.

2.3 Материалы

2.3.1 Материалы и покрытия деталей и узлов многофункционального регулирующего устройства должны обеспечивать надежную и безопасную работу в период установленного срока службы при соблюдении указанных разработчиком условий эксплуатации, периодическом техническом обслуживании и предусмотренных регулировках.

2.3.2 Корпус

Детали корпуса, отделяющие газосодержащие полости от окружающей атмосферы, должны быть изготовлены из металла. Это требование распространяется и на детали корпуса, отделенные от газосодержащих полостей диафрагмой.

Допускается изготовление деталей корпуса из неметаллических материалов при условии, что после удаления или разрушения этой неметаллической детали при максимальном рабочем давлении утечка газа должна составлять не более 30 дм3/ч. Испытание должно быть выполнено в соответствии с 4.2.2.2.

Требования настоящего пункта не распространяются на закрытые диафрагмы, тороидальные резиновые кольца, прокладки и уплотнения.

2.3.3 Отверстия сапунов

Отверстия сапунов газового тракта должны быть такими, чтобы при разрыве мембраны скорость утечки воздуха не превышала 70 дм3/ч при максимальном давлении подводимого газа.

Для выполнения этого требования необходимо, чтобы при максимальном давлении подводимого газа 3,0 кПа диаметр отверстия сапуна не превышал 0,7 мм.

Испытание должно быть выполнено в соответствии с 4.2.2.3.

Отверстия сапуна должны быть защищены от засорения и расположены так, чтобы их нельзя было легко закрыть, а мембрана не могла быть повреждена приспособлением, вводимым при чистке.

2.3.4 Клапаны

Клапаны классов А, В, С и Е с присоединительными размерами более DN 25 должны иметь крепление. Это требование распространяется на клапаны любого размера, если максимальное рабочее давление превышает 15 кПа.

2.3.5 Защита от коррозии

Детали многофункционального регулирующего устройства, контактирующие с газом или окружающей атмосферой, должны быть изготовлены из коррозионно-стойких материалов или иметь антикоррозионное покрытие. Показатели коррозии и коррозионной стойкости материалов деталей определяют по ГОСТ 9.908 в зависимости от видов коррозии.

2.3.6 Пропитка

В конструкции многофункционального регулирующего устройства допускается применение соответствующих уплотняющих материалов с использованием вакуумной пропитки или пропитки под внутренним давлением.

2.3.7 Пружины

Пружины, создающие усилие уплотнения клапана многофункционального регулирующего устройства, из проволоки диаметром менее или равным 2,5 мм должны быть изготовлены из нержавеющего материала.

Пружины из проволоки диаметром более 2,5 мм должны быть изготовлены из коррозионно-стойких материалов или должны иметь антикоррозионное покрытие.

2.3.8 Уплотнения для движущихся деталей, которые проходят через корпус и выходят в атмосферу, и уплотнения для запорного клапана должны быть изготовлены только из твердого материала такого типа, который не имеет постоянной деформации.

2.4 Присоединительные элементы и размеры многофункционального регулирующего устройства

2.4.1 Соединение многофункционального регулирующего устройства с трубопроводами допускается либо резьбовое (с трубной цилиндрической или конической резьбой), либо фланцевое. Обозначение размера резьбы и условный проход присоединительных фланцев в зависимости от номинального диаметра DN указаны в таблице 1.

Таблица 1 - Присоединительные элементы и размеры многофункционального регулирующего устройства

Номинальный (условный) диаметр DN, мм

Обозначение размера резьбы:

-        трубной цилиндрической (G) по ГОСТ 6357;

-        трубной конической (R) по ГОСТ 6211

Условный проход фланцев по ГОСТ 12815, мм

6

1/8

6

8

1/4

8

10

3/8

10

15

1/2

15

20

3/4

20

25

1

25

32

11/4

32

40

11/2

40

50

2

50

2.4.2 Резьбовые соединения трубопроводов

2.4.2.1 Накидные гайки соединений трубопроводов при сборке на многофункциональных регулирующих устройствах затягивают ключами по ГОСТ 2839 или ГОСТ 2841, накидные гайки для ответственных соединений - тарировочными ключами.

2.4.2.2 Применяемые трубные резьбы должны соответствовать ГОСТ 6357, ГОСТ 6211 и данным таблицы 1.

2.4.2.3 Многофункциональное регулирующее устройство может быть выполнено без применения трубной цилиндрической резьбы по ГОСТ 6357 и трубной конической резьбы по ГОСТ 6211.

2.4.3 Фланцы

Присоединительные фланцы многофункционального регулирующего устройства должны соответствовать ГОСТ 12815 для номинального (условного) давления PN 0,6 (6,0) или PN 1,6 (16,0) МПа (кгс/см2).

Допускается изготовлять фланцы других конструкций с уплотнительными поверхностями других исполнений, с обязательным соблюдением присоединительных размеров.

2.5 Уплотнения

Набивки сальника, используемые для герметизации движущихся частей, должны быть изготовлены и отрегулированы только изготовителем многофункционального регулирующего устройства.

2.6 Электрическое оборудование

Электрическое оборудование многофункционального регулирующего устройства должно удовлетворять требованиям ГОСТ 14254.

2.7 Требования к составным частям многофункционального регулирующего устройства

2.7.1 Устройство ручного управления

2.7.1.1 Общие положения

Положения ручки управления, соответствующие определенному расходу газа, должны быть ясно обозначены несмываемым способом. Для маркировки положений ручки управления используют следующие символы:

Выключено                                                        (полный диск).

Зажигание (при наличии)                             (стилизованная звезда).

Полное включение                                         (большое стилизованное пламя).

Пониженный расход (при наличии)            (малое стилизованное пламя).

Допускается не маркировать положения ручки управления в случае, если контроль пламени осуществляют для обеих горелок (основной и запальной), а ручка управления имеет такую конструкцию, что нанесение маркировки невозможно (например, для кнопки, управляемой нажатием).

Для вращаемых ручек управления выключение должно быть выполнено по часовой стрелке, кроме случая, когда контроль пламени осуществляют сразу для обеих горелок (основной и запальной).

В положении «выключено» ручки управления должны иметь фиксатор (ограничитель).

2.7.1.2 Положение пониженного расхода

2.7.1.2.1 Если устройство ручного управления имеет положение «пониженный расход газа», это положение должно быть за положением «полное включение» или между последним и положением «выключено».

2.7.1.2.2 Если положение «пониженный расход газа» предусмотрено за положением «полное включение», ручка управления должна иметь в этом месте фиксатор.

2.7.1.2.3 Если положение «пониженный расход газа» предусмотрено между положениями «полное включение» и «выключено»:

- положение «пониженный расход газа» должно быть только одно и оно должно иметь фиксатор;

- должна быть четкая маркировка положения «пониженный расход газа»;

- ручка управления должна иметь фиксатор в положении «полное включение».

2.7.1.2.4 Устройство ручного управления должно иметь компенсаторы, позволяющие предотвратить нарушение герметичности вследствие механического износа.

2.7.1.3 Смазка

Устройство ручного управления должно иметь конструкцию, исключающую закупорку газового тракта смазкой.

2.7.1.4 Дополнительные требования для устройств ручного управления с коническими пробками

2.7.1.4.1 Герметичность

Конструкция устройства ручного управления с коническими пробками (далее - пробки) должна обеспечивать герметичность газового тракта при любом рабочем положении пробки.

2.7.1.4.2 Ограничители вращения пробки

Крайние положения перемещения пробки должны иметь ограничители.

2.7.1.4.3 Прижимной эффект и компенсация механического износа

Пробка должна быть прижата к корпусу устройства ручного управления с помощью пружины, обеспечивающей компенсацию механического износа в течение всего срока службы.

2.7.2 Устройство контроля пламени

Конструкция устройства контроля пламени должна обеспечивать выполнение следующих требований во время розжига:

- подвод газа к основной горелке открыт (при отсутствии запальной горелки);

- подвод газа к основной горелке закрыт, а к запальной открыт.

2.7.3 Регулятор давления газа

Конструкция регулятора давления газа должна обеспечивать герметичность газового тракта после регулирования выходного давления.

Регулятор давления газа должен быть оснащен средствами против несанкционированного регулирования или отключения.

2.7.4 Регулятор расхода газа

2.7.4.1 Регулятор расхода должен быть легкодоступным и настраиваемым с помощью распространенных инструментов.

Конструкция регулятора расхода газа должна обеспечивать герметичность газового тракта после настройки.

2.7.4.2 Конструкция регулировочных винтов должна исключать их выпадение в газовый тракт.

2.7.4.3 Сменные детали регуляторов расхода должны иметь маркировку, исключающую их неправильную установку.

2.7.5 Автоматический запорный клапан

2.7.5.1 Общие положения

Каждый автоматический запорный клапан должен приводиться в действие отдельным независимым исполнительным механизмом, управляющим только одним клапаном. Проверка герметичности газового тракта должна быть возможна для каждого из автоматических запорных клапанов в отдельности.

Если два или более автоматических запорных клапана управляются одним исполнительным механизмом, их следует рассматривать как один автоматический запорный клапан.

2.7.5.2 Автоматические запорные клапаны с исполнительными механизмами пневматического или гидравлического типа

Исполнительные механизмы пневматического или гидравлического типа должны иметь защиту против засорения клапана управления подачей вспомогательной среды.

2.7.6 Термостат управления

2.7.6.1 Обслуживание

Если для обслуживания термостата управления, в соответствии с инструкцией изготовителя, требуется его демонтаж, это не должно вызывать изменения температурной настройки сверх максимально допустимого отклонения уставки температуры калибровки, указанной изготовителем (см. 3.6.7.2).

2.7.6.2 Характеристики расхода

Значение пониженного расхода газа должно быть настроено с помощью регулятора расхода.

Должен быть обеспечен свободный доступ к регуляторам расхода для чистки без нарушения уставки температуры калибровки.

Переключение позиционного термостата из положения «выключено» в положение «пониженный расход газа» и обратно должно быть быстрым.

Значение пониженного расхода газа не должно быть меньше значения, указанного изготовителем.

2.7.6.3 Температура

2.7.6.3.1 Рабочий диапазон температуры

Крайние положения диапазона регулирования температуры должны иметь ограничители. Изготовитель должен указать пределы настройки диапазона регулирования температуры. Не должно происходить самопроизвольного изменения уставки температуры.

2.7.6.3.2 Регулирование температуры

Ручка регулирования температуры термостата должна иметь хорошо различимую маркировку его положений и направления повышения и понижения температуры. При использовании цифровой маркировки более высокие числа должны соответствовать более высоким температурам, за исключением термостатов, применяемых в холодильниках, где более высокие числа должны указывать более низкие температуры.

Конструкция термостата должна обеспечивать выбор любой температурной уставки по всему диапазону температур - от максимальной до минимальной температуры, - указанных изготовителем. Изменение температурного режима не должно быть самопроизвольным.

2.7.6.3.3 Нерегулируемый термостат управления

Нерегулируемый термостат управления должен быть опломбирован изготовителем (например, с помощью лака).

2.7.7 Реле давления

Конструкция реле давления должна исключать соприкосновение газа с электрическими элементами, при нормальной работе которых возможно возникновение искр или электрической дуги.

Реле давления должно выдерживать избыточное давление, в три раза превышающее максимальное входное давление, но не ниже 30 кПа.

3 Требования безопасности

3.1 Общие положения

3.1.1 Многофункциональное регулирующее устройство устанавливают и эксплуатируют в соответствии с требованиями, установленными изготовителем в руководстве по эксплуатации, и правилами [1], [2].

3.1.2 Многофункциональное регулирующее устройство должно работать надежно:

- во всем диапазоне рабочих давлений;

- при температуре окружающей среды от 0 °С до 60 °С или в более широком диапазоне температур, указанном изготовителем;

- при отклонениях питающего напряжения от минус 15 % до плюс 10 % номинального напряжения или от минус 15 % минимального номинального напряжения до плюс 10 % максимального номинального напряжения;

- при отклонениях давления вспомогательной среды или диапазона давлений от минус 15 % до плюс 10 %.

Таблица 2 - Максимально допустимая утечка воздуха

Номинальный (условный) диаметр DN, мм

Максимально допустимая утечка воздуха, см3

DN £ 10

60

DN > 10

120

3.2 Герметичность

3.2.1 Многофункциональное регулирующее устройство считают герметичным, если при испытаниях по 4.2 значения максимально допустимых утечек воздуха не превышены по сравнению с указанными в таблице 2, а также соблюдены требования 3.6.2.3, 3.6.3.4, 3.6.6.7, 3.6.7.1 и 3.6.7.4.

3.2.2 Герметичность газового тракта

При демонтаже деталей многофункционального регулирующего устройства, снимаемых во время текущего обслуживания (см. 2.2.5), герметичность указанного устройства не должна быть нарушена.

3.2.3 Герметичность автоматического запорного клапана

Максимально допустимые утечки воздуха через закрытый клапан указаны в 3.6.6.7 (таблица 12).

3.3 Кручение и изгиб

3.3.1 Кручение

Многофункциональное регулирующее устройство групп 1 и 2 должно быть испытано по 4.3, с крутящим моментом, указанным в таблице 3. После испытания и снятия нагрузки значение утечки воздуха (далее - утечка) не должно превышать значения утечки перед испытанием.

3.3.2 Изгиб

Многофункциональное регулирующее устройство групп 1 и 2 должно быть испытано по 4.3, с изгибающим моментом, указанным в таблице 3. После испытания и снятия нагрузки значение утечки не должно превышать значения утечки перед испытанием. Для устройства группы 1 должно быть проведено дополнительное испытание по 4.3.3.2.

Таблица 3 - Крутящий и изгибающий моменты

Номинальный (условный) диаметр DN1), мм

Крутящий момент2), Н×м

Изгибающий момент, Н×м

Группы 1 и 2

Группа 1

Группа 2

Время приложения нагрузки, с

10

10

900

10

6

15 (7)

15

7

25

8

20 (10)

20

10

35

10

35 (15)

35

20

70

15

50 (15)

70

40

105

20

85

90

50

225

25

125

160

80

340

32

160

260

130

475

40

200

350

175

610

50

250

520

260

1100

1) Присоединительные элементы и размеры многофункционального регулирующего устройства - по таблице 1.

2) Значения, указанные в круглых скобках, применяют при испытаниях многофункционального регулирующего устройства с фланцевыми присоединениями.

3.3.3 Если входной и выходной патрубки многофункционального регулирующего устройства группы 1 имеют разные диаметры, при проведении испытаний на кручение и изгиб выполняют дополнительное испытание со сменой присоединений.

3.4 Номинальный расход газа

Расход газа, определенный по 4.4, должен быть не менее 95 % номинального расхода.

3.5 Надежность

3.5.1 Надежность неметаллических материалов

3.5.1.1 Уплотнительные прокладки и диафрагмы, используемые в многофункциональном регулирующем устройстве, не должны быть пористыми, иметь абразивных частиц, пузырьков и других поверхностных повреждений, видимых невооруженным глазом.

3.5.1.2 Маслостойкость

Устойчивость деталей из неметаллических материалов к маслам проверяют погружением в масло в соответствии с 4.5.1.2. После этого испытания изменение массы детали должно быть от минус 10 % до плюс 10 %.

3.5.1.3 Газостойкость

Стойкость деталей из неметаллических материалов к воздействию углеводородных газов проверяют погружением в пентан в соответствии с 4.5.1.3. После этого испытания изменение массы должно быть от минус 15 % до плюс 5 %.

3.5.2 Маркировка

Многофункциональное регулирующее устройство должно иметь маркировку, указывающую направление движения газа (на корпусе или табличке). Маркировка должна быть выполнена способом, обеспечивающим ее сохранность в течение срока службы устройства.

3.5.3 Прочность лакокрасочного покрытия

Поверхности деталей с лакокрасочным покрытием, подвергнутые испытаниям по 4.5.2 после испытания на влагостойкость по 4.5.3, должны оставаться прочными.

3.5.4 Влагостойкость

Материалы и покрытия деталей и узлов многофункционального регулирующего устройства, подвергнутые испытанию на влагостойкость по 4.5.3, не должны иметь признаков коррозии, пузырей и других поверхностных повреждений, видимых невооруженным глазом.

3.6 Устройства регулировки, управления и защиты

3.6.1 Технические характеристики устройств регулировки, управления и защиты многофункционального регулирующего устройства должны соответствовать требованиям, установленным в нормативных документах изготовителя.

3.6.2 Устройство ручного управления

3.6.2.1 Рабочие циклы

Число рабочих циклов устройства ручного управления должно быть не менее:

- 5000 (для устройств ручного управления водогрейных котлов и водонагревательных аппаратов);

- 10000 (для устройств ручного управления воздухонагревателей).

3.6.2.2 Крутящий момент и усилие нажатия ручки управления

Максимальные значения крутящего момента и усилия нажатия на ручку управления указаны в таблицах 4 и 5.

Таблица 4 - Максимальный крутящий момент ручки управления

Номинальный (условный) диаметр DN, мм

Крутящий момент ручки управления, Н×м

5000 циклов

10000 циклов

40000 циклов

DN £ 12

0,6

0,4

0,2

12 < DN £ 25

0,6

0,6

0,4

25 < DN £ 50

1,0

0,6

0,4

Таблица 5 - Максимальное усилие нажатия на ручку управления

Номинальный (условный) диаметр DN, мм

Усилие нажатия на ручку управления, Н

5000 циклов

10000 циклов

40000 циклов

DN < 10

45

45

30

DN ³ 10

60

60

45

Таблица 6 - Нормы утечек воздуха через клапан устройства ручного управления

Номинальный (условный) диаметр DN, мм

Максимальная утечка воздуха, см3

DN £ 10

20

10 < DN £ 25

40

25 < DN £ 50

60

Рабочий крутящий момент ручки управления, ньютон-метр на миллиметр диаметра ручки, должен быть не более 0,017, а усилие нажатия на ручку управления, ньютон-метр на квадратный миллиметр площади кнопки, должно быть не более 0,5.

3.6.2.3 Герметичность клапана

Клапан устройства ручного управления должен быть герметичным в закрытом положении при проведении испытания по 4.6.1.2, при этом значение утечки воздуха не должно превышать указанных в таблице 6.

3.6.2.4 Надежность

После испытания на надежность по 4.6.1.3 устройство ручного управления не должно иметь видимых повреждений. Кроме того:

-      значения утечек воздуха должны соответствовать требованиям 3.2.3 и 3.6.2.3;

-      значение крутящего момента не должно превышать значения, указанного изготовителем.

3.6.3 Устройство контроля пламени

3.6.3.1 Блокировки

3.6.3.1.1 Блокировка розжига

Конструкция устройства контроля пламени должна обеспечивать розжиг запальной горелки только при открытом проходе газа к запальной горелке и закрытом проходе газа к основной горелке.

3.6.3.1.2 Блокировка повторного розжига

Конструкция устройства контроля пламени должна обеспечивать невозможность повторного открытия клапана, управляющего основной горелкой или основной и запальной горелками, пока магнитная пробка электромагнитного клапана не разомкнется с электромагнитом.

3.6.3.2 Использование вспомогательной энергии

При использовании вспомогательной энергии для открытия прохода газа к основной горелке или к основной и запальной горелкам изготовитель должен задать время действия вспомогательной энергии. Время действия вспомогательной энергии, измеренное при испытании по 4.6.2.2, не должно быть более установленного в нормативных документах изготовителя. При нарушении подвода вспомогательной энергии устройство контроля пламени должно либо продолжать нормально функционировать, либо в течение 1 с должен быть перекрыт проход газа.

3.6.3.3 Сила тока размыкания магнитной пробки

Размыкание магнитной пробки (закрытие электромагнитного клапана) должно происходить при силе тока, установленной в нормативных документах изготовителя. Испытание на соответствие этому требованию - по 4.6.2.3.

3.6.3.4 Герметичность клапана устройства контроля пламени

Клапан устройства контроля пламени (далее - клапан) должен быть герметичен при условиях испытаний, указанных в 4.6.2.4, при этом утечка воздуха должна быть не более указанной в таблице 7.

Таблица 7 - Максимально допустимая утечка воздуха

Номинальный (условный) диаметр DN, мм

Максимально допустимая утечка воздуха, см3

Герметичность газового тракта

Герметичность клапана

Закрытое положение

Положение розжига

Закрытое положение

Положение розжига

DN £ 10

См. 3.2.1

(Значение утечки в закрытом положении) плюс 150

20

5000

10 < DN £ 25

40

25 < DN £ 50

60

3.6.3.5 Надежность

После испытаний на надежность по 4.6.2.5 клапан устройства контроля пламени должен соответствовать требованиям 3.6.3.4, 3.6.3.6, 3.6.6.3, 3.6.6.4 и 3.6.6.6. Время закрытия клапана после испытания на надежность по 4.6.2.5 должно быть между 60 % и 100 % первоначального значения.

3.6.3.6 Усилие уплотнения клапана устройства контроля пламени

Усилие уплотнения клапана должно быть таким, чтобы при проведении испытания по 4.6.2.6 открытие клапана происходило при давлении свыше 1 кПа.

3.6.4 Регулятор давления газа

3.6.4.1 Если регулятор давления газа может быть отключен (например, для газов третьего семейства), способ его отключения должен быть указан в нормативных документах изготовителя.

3.6.4.2 Регулятор давления газа (далее - регулятор) должен быть испытан в соответствии с 4.6.3 на стабильность поддержания выходного давления во всем диапазоне входного давления от p1max до p1min и (или) во всем диапазоне расхода от qmin до qmах.

Если диапазон входного давления регулятора расположен между двумя соответствующими значениями p1min и p1max, указанными в таблице 8, испытания выполняют при номинальном давлении р1ном (таблица 8), в противном случае испытательное входное давление и диапазон входного давления должны быть указаны в нормативных документах изготовителя.

Таблица 8 - Давление газа на входе в регулятор давления

В килопаскалях

Семейство газа1)

Номинальное давление р1ном

Минимальное давление p1min

Максимальное давление р1max

Первое

0,8

0,6

1,5

0,75

Второе

Группа Н

1,8

1,5

2,3

2,0

1,8

2,5

Группа L

2,5

2,0

3,0

2,0

1,8

2,5

Третье

2,8

2,0

3,5

3,0

2,5

3,7

4,5

5,0

4,25

5,75

6,7

5,0

8,0

11,2

6,0

14,0

14,8

10,0

18,0

1) Классификацию газов на семейства см. ГОСТ Р 51733.

Отклонение значений выходного давления не должно превышать указанного в таблице 9.

Таблица 9 - Максимально допустимое отклонение выходного давления

В процентах

Класс регулятора давления газа

Семейство газа

Первое

Второе

Третье

А

В пределах всего диапазона расхода газа и входного давления

± 15

В

При изменении входного давления для любого расхода газа в пределах всего диапазона расхода

+ 10

-10

При изменении расхода газа от qmax до qmin для любого давления газа в пределах всего диапазона давления

-20

-15

-10

При постоянном входном давлении для любого значения входного давления в пределах всего диапазона давления газа

+40

С

При постоянном расходе (в пределах всего диапазона расхода газа)

+ 15

-20

+ 10

-15

+ 10

-10

3.6.4.3 Класс А

Во всем диапазоне входного давления от p1min до p1max и в диапазоне расхода газа (далее - расход) от qmax до qmin отклонение выходного давления от испытательного выходного давления не должно превышать указанного в таблице 9, но в любом случае не должно быть более ±0,1 кПа.

Заданный минимальный расход qmin не должен превышать 10 % qmax.

3.6.4.4 Класс В

Для любого изменения входного давления в пределах диапазона давления от p1min до p1max при любом расходе в пределах объявленного диапазона расхода от qmin до qmax отклонение выходного давления от испытательного выходного давления не должно превышать указанного в таблице 9.

Для любого изменения расхода в пределах объявленного диапазона расхода от qmin до qmax при любом входном давлении в пределах объявленного диапазона входного давления от p1min до p1max отклонение выходного давления от испытательного выходного давления не должно превышать указанного в таблице 9, но в любом случае не должно быть более ±0,1 кПа.

Если в конструкции многофункционального регулирующего устройства за регулятором давления газа имеется модулирующий или комбинированный термостат, то отклонение выходного давления при любом изменении расхода в пределах объявленного диапазона расхода от qmin до qmax не нормируют.

3.6.4.5 Класс С

Для любого изменения входного давления в пределах диапазона давления от p1min до p1max при любом расходе в пределах объявленного диапазона расхода от qmin до qmax отклонение выходного давления от испытательного выходного давления не должно превышать указанного в таблице 9, но в любом случае не должно быть более ±0,1 кПа.

3.6.4.6 Эксплуатационный шум

Во время выполнения испытаний по 4.6.3 регулятор давления газа не должен производить шума или вибрировать.

3.6.4.7 Надежность

При условиях испытаний, указанных в 4.6.3.3.1.6, регулятор давления газа должен соответствовать требованиям 3.6.4.3, 3.6.4.4 или 3.6.4.5.

3.6.4.8 Давление срабатывания предохранительного запорного клапана

Если в конструкции регулятора давления предусмотрен предохранительный запорный клапан, последний должен перекрывать проход газа при повышении выходного давления не более чем на 15 %, но в любом случае не более чем на 0,75 кПа при расходе газа 5 % qmax.

3.6.5 Регулятор расхода газа

Регулятор расхода газа должен быть проверен на соответствие требованиям, указанным в нормативных документах изготовителя.

3.6.6 Автоматический запорный клапан

3.6.6.1 Автоматические запорные клапаны должны соответствовать требованиям 3.1.

Работоспособность автоматических запорных клапанов должна быть обеспечена при отклонениях значения питающего напряжения электрического тока от плюс 10 % до минус 15 % номинального.

3.6.6.2 Закрытие

Автоматические запорные клапаны должны автоматически закрываться при значении питающего напряжения ниже 85 % минимального значения диапазона напряжений.

Автоматические запорные клапаны с пневматическими или гидравлическими исполнительными механизмами должны автоматически закрываться при значении рабочего давления ниже 85 % минимального давления.

Автоматические запорные клапаны должны автоматически закрываться при отключении напряжения в диапазоне между 85 % минимального значения номинального напряжения и 110 % максимального значения номинального напряжения.

Время закрытия должно соответствовать 3.6.6.5.

3.6.6.3 Сила закрытия

Сила закрытия автоматических запорных клапанов, усилие уплотнения которых не зависит от силы закрытия клапана, должна быть в пять раз больше силы сопротивления (трения), если сила трения менее 5 Н, и в 2,5 раза больше силы трения, если последняя более 5 Н (значение силы трения указывают в нормативных документах изготовителя).

Испытание выполняют в соответствии с 4.6.5.2.

3.6.6.4 Время запаздывания и время открытия

Время запаздывания и время открытия автоматических запорных клапанов (далее - клапаны) должны быть в пределах ±20 % значений, заданных изготовителем при норме времени более 1 с, и не превышать 1 с - при норме времени менее 1 с.

Испытание выполняют в соответствии с 4.6.5.3.

3.6.6.5 Время закрытия

При условиях испытания, указанных в 4.6.5.4, время закрытия не должно превышать 1 с для клапанов классов А, В и С.

Время закрытия клапана класса D не должно превышать заданного в нормативных документах изготовителя.

3.6.6.6 Усилие уплотнения

Клапаны классов А, В и С должны иметь усилие уплотнения, обеспечивающее при условиях испытаний, указанных в 4.6.5.5, значение утечки воздуха через клапан не выше значений, указанных в таблице 10 или 11.

Таблица 10 - Усилие уплотнения

Класс клапана

Испытательное давление, кПа

Максимальная утечка воздуха, см3

А

1,5

См. значение утечки по таблице 12

В

0,5

С

0,1

Таблица 11 - Усилие уплотнения (альтернативный метод)

Класс клапана

Испытательное давление, кПа

Максимальная утечка воздуха, дм3

А

1,65

2

В

0,55

С

0,11

Клапан класса Е должен иметь минимальное усилие уплотнения, обеспечивающее при условиях испытания, указанных в 4.6.5.5, значение утечки воздуха через клапан не выше значений, указанных в таблице 12, при испытательном давлении, превышающем максимальное рабочее давление в 1,5 раза, но в любом случае не ниже чем при 15 кПа.

Условия испытания, указанные в 4.6.5.5, могут не подходить для измерения усилия уплотнения клапана некоторых конструкций, в этом случае усилие должно быть рассчитано или определено совместным методом - испытание и расчет. При расчете усилия уплотнения используют значение давления в 1,25 раза больше чем 15; 5 или 1 кПа в зависимости от класса клапана,

3.6.6.7 Герметичность клапана

Клапан считают герметичным, если при условиях испытания, указанных в 4.6.5.6, значение утечки воздуха не превышает значений, указанных в таблице 12.

Таблица 12 - Максимально допустимая утечка воздуха через клапан

Номинальный (условный) диаметр DN, мм

Максимально допустимая утечка воздуха, см3

DN £ 10

20

10 < DN £ 25

40

25 < DN £ 50

60

3.6.6.8 Надежность

После испытания на надежность по 4.6.5.7 автоматический запорный клапан должен соответствовать требованиям 3.2.3, 3.6.6.1-3.6.6.7.

3.6.7 Термостат управления

3.6.7.1 Герметичность

Регулируемый термостат управления должен быть герметичным в положении «закрыто». При условиях испытания по 4.6.6.2 значения утечки воздуха не должны превышать указанных в таблице 13.

Таблица 13 - Максимально допустимая утечка воздуха

Номинальный (условный) диаметр DN, мм

Максимально допустимая утечка воздуха, см3

DN £ 15

60

15 < DN £ 25

80

25 < DN £ 50

120

3.6.7.2 Уставка температуры калибровки

При условиях испытания, указанных в 4.6.6.3, отклонение уставки температуры калибровки при постоянной температуре окружающей среды не должно превышать указанного в нормативных документах изготовителя.

3.6.7.3 Люфт

При условиях испытания, указанных в 4.6.6.4, люфт не должен превышать 5 % углового движения ручки управления по всему диапазону регулирования температуры теплоносителя.

3.6.7.4 Герметичность двухпозиционного и комбинированного термостатов

При условиях испытания, указанных в 4.6.6.5, утечка воздуха через клапан двухпозиционного или комбинированного термостата не должна превышать 1 дм3/ч.

3.6.7.5 Давление открытия и закрытия клапана двухпозиционного и комбинированного термостатов

При условиях испытания, указанных в 4.6.6.6, двухпозиционный (комбинированный) термостат должен быть работоспособен при давлении от минимального рабочего давления до 1,2 максимального рабочего давления, но в любом случае не ниже, чем при превышении максимального рабочего давления на 5 кПа.

3.6.7.6 Расход газа

При условиях испытания, указанных в 4.6.6.7, номинальный расход газа должен быть не менее 0,9 расхода газа, указанного в нормативных документах изготовителя.

Значение пониженного расхода газа должно оставаться в пределах, указанных в нормативных документах изготовителя.

Для термостата управления с регулированием значения пониженного расхода расход газа должен быть измерен для всех значений пониженного расхода, указанных в нормативных документах изготовителя.

3.6.7.7 Характеристики расхода

При условиях испытания, указанных в 4.6.6.8, должны быть выполнены следующие требования:

а) диапазон регулирования температуры должен находиться в пределах диапазона, заданного изготовителем с учетом допустимого отклонения;

б) температурный дифференциал для двухпозиционного или комбинированного термостата должен лежать в пределах диапазона, заданного изготовителем;

в) полоса модуляции термостатов должна лежать в пределах диапазона, заданного изготовителем.

3.6.7.8 Температура

3.6.7.8.1 Рабочий диапазон температуры

Термостат должен работать надежно в диапазоне между минимальной и максимальной температурами, заданном изготовителем.

При условиях испытания, указанных в 4.6.6.9.1, отклонение уставки температуры калибровки не должно быть выше заданного изготовителем.

3.6.7.8.2 Термостойкость

При условиях испытания, указанных в 4.6.6.9.2, термостат должен быть устойчив к воздействию температуры окружающей среды от минус 15 °С до плюс 60 °С. При этом уставка температуры калибровки должна оставаться в пределах допустимых отклонений, заданных изготовителем.

Диапазон температуры окружающей среды для термостатов наружного воздуха и термостатов, применяемых в холодильниках, должен быть от минус 15 °С до плюс 50 °С.

3.6.7.8.3 Термостойкость датчика температуры

Датчик температуры должен быть устойчив к воздействию температуры, равной максимальной рабочей температуре плюс 15 %, но в любом случае не менее чем на 25 °С выше максимальной рабочей температуры, при проведении испытания в соответствии с 4.6.6.9.3.

Термостойкость датчиков температуры газовых аппаратов должна быть не ниже, °С:

- 110 - для водогрейных котлов и аппаратов;

- 50 - для воздухонагревателей и холодильников.

3.6.7.9 Надежность

После выполнения испытаний на механическую и температурную цикличность, указанных в 4.6.6.10 (см. также 4.1.2), работа термостатов должна оставаться надежной, при этом пределы допустимых отклонений температуры должны соответствовать указанным в нормативных документах изготовителя.

3.6.8 Реле давления

3.6.8.1 Работоспособность реле давления

Изготовитель должен указать давление срабатывания реле давления, максимальную и минимальную рабочую температуру окружающей среды, которые должны быть проверены при испытании по 4.6.7.1.

3.6.8.2 Надежность

После испытания на цикличность по 4.6.7.2 работа реле давления должна оставаться надежной, значения давлений срабатывания должны соответствовать указанным изготовителем в руководстве по эксплуатации.

3.7 Расход газа и герметичность после испытания на надежность

После всех испытаний на надежность многофункционального регулирующего устройства герметичность газового тракта и номинальный расход газа должны соответствовать 3.2.2 и 3.4.

4 Методы испытаний

4.1 Общие положения

4.1.1 Условия испытаний

Кроме особо отмеченных случаев, все испытания должны быть выполнены воздухом, имеющим температуру (20±5) °С, при температуре окружающей среды (20±5) °С.

Все измеренные величины должны быть приведены к стандартным условиям: температура окружающей среды 15 °С, атмосферное давление 101,3 кПа.

4.1.2 Испытания на надежность

Различные испытания на надежность по возможности совмещают (объединяют). Для каждого испытания выполняют указанное число циклов. Остающееся число циклов для других испытаний проводят дополнительно.

4.1.3 Требования к установке

Для всех испытаний, за исключением особо отмеченных случаев, многофункциональное регулирующее устройство устанавливают и используют при условиях, указанных в инструкциях изготовителя. Если возможно несколько рабочих положений устройства, испытания должны быть выполнены в наименее благоприятном положении.

4.2 Герметичность

4.2.1 Общие положения

Проверку герметичности многофункционального регулирующего устройства в зависимости от значения испытательного давления проводят одним из двух методов:

- объемным методом с использованием устройства, схема которого приведена на рисунке 1, - для испытательного давления до 15 кПа включительно;

1 - сжатый воздух; 2 - шкала, градуированная в миллиметрах; 3 - патрубок для присоединения испытуемого многофункционального регулирующего устройства; 4 - измерительный сосуд

Рисунок 1 - Устройство для проверки герметичности газового тракта объемным методом

- методом падения давления с использованием устройства, схема которого приведена на рисунке 2, - для испытательного давления более 15 кПа.

1 - шкала, градуированная в миллиметрах; 2 - термически изолированный сосуд под давлением; 3 - трехходовой кран; 4 - кран; 5 - патрубок для присоединения испытуемого многофункционального регулирующего устройства; 6 - компрессор; 7 - воздушный объем 1 дм3; 8 - вода; 9 - теплоизоляция

Рисунок 2 - Устройство для проверки герметичности газового тракта методом падения давления

Пределы допустимых погрешностей устройств, показанных на рисунках 1 и 2, не должны превышать 1 см3 или 10 Па.

Допускается применение других методов определения герметичности, обеспечивающих необходимую точность измерения.

При испытании на герметичность устройство для проверки герметичности присоединяют к выходному отверстию многофункционального регулирующего устройства.

Погрешность измерений должна быть в пределах 5 см3/ч.

Воздух подают на входное отверстие подачи газа. Испытания выполняют сначала при испытательном давлении 0,6 кПа, а затем при полуторакратном максимальном рабочем давлении, но не ниже чем 15 кПа.

Многофункциональные регулирующие устройства, предназначенные для газов третьего семейства, с номинальным давлением 11,2 или 14,8 кПа испытывают при давлении не менее 22,0 кПа.

При применении метода падения давления значение утечки воздуха qL, см3/ч, по значению падения давления вычисляют по формуле

                                                (1)

где Vg        - суммарный внутренний объем испытуемого многофункционального регулирующего устройства и испытательного стенда, см3;

р¢    - абсолютное давление воздуха в начале испытания, кПа;

р"   - абсолютное давление воздуха в конце испытания, кПа.

Падение давления измеряют за 5 мин.

4.2.2 Герметичность газового тракта

4.2.2.1 Герметичность газового тракта многофункционального регулирующего устройства

Перед испытанием съемные детали многофункционального регулирующего устройства, которые могут быть демонтированы во время текущего обслуживания, должны быть пятикратно демонтированы и вновь смонтированы в соответствии с руководством по эксплуатации.

Выполняют следующие испытания:

а) при открытом клапане (клапанах) (для открытия клапана применяют любой подходящий источник постоянного тока), выходное отверстие подачи газа многофункционального регулирующего устройства герметизируют, а на входное отверстие подают воздух давлением согласно 4.2.1;

б) испытание по перечислению а) при закрытом клапане (клапанах);

в) испытание по перечислению а) при положении розжига [все ручки управления (или исполнительный механизм) находятся в положении розжига].

4.2.2.2 Герметичность газового тракта многофункционального регулирующего устройства с удаленными неметаллическими деталями

Если корпус имеет неметаллические детали, отделяющие газосодержащие полости от атмосферы, все такие детали удаляют и повторяют испытания по 4.2.2.1, перечисления а) и б), с испытательным давлением, равным максимальному рабочему давлению. Утечка воздуха не должна превышать 30 дм3/ч. Тороидальные резиновые кольца, прокладки, уплотнительные материалы и статические части диафрагмы во время этого испытания не удаляют. Динамическую часть диафрагмы разрывают, а отверстие сапуна закрывают.

4.2.2.3 Проверка значения утечки через отверстие сапуна

Испытание проводят с разорванной динамической частью рабочей диафрагмы испытательным давлением, равным максимальному рабочему давлению, и при полностью открытом клапане (клапанах). При этих условиях проверяют, что значение утечки через отверстие сапуна не превышает 70 дм3/ч.

4.2.3 Герметичность клапанов многофункционального регулирующего устройства

Клапан многофункционального регулирующего устройства, соединенного с устройством для измерения герметичности, должен быть закрыт. На входное соединение многофункционального регулирующего устройства подают воздух давлением, указанным в 4.2.1.

Измеряют утечку воздуха и приводят ее к стандартным условиям (см. 4.1.1).

Если многофункциональное регулирующее устройство имеет более одного клапана, испытание повторяют с каждым клапаном, находящимся в закрытом положении, все другие клапаны при этом должны быть полностью открыты.

4.3 Кручение и изгиб

4.3.1 Общие положения

Испытание выполняют при соблюдении следующих условий:

а) трубы, используемые для испытаний согласно 4.3.2, должны иметь минимальную длину, в 40 раз превышающую номинальный диаметр;

б) для герметизации применяют только незатвердевающие герметизирующие материалы;

в) кручение и изгиб для фланцевых соединений определяют как для резьбовых;

г) перед началом испытаний на кручение и изгиб многофункциональное регулирующее устройство подвергают испытанию на герметичность по 4.2.2.1, перечисление а) и 4.2.3.

4.3.2 Испытание на кручение многофункциональных регулирующих устройств групп 1 и 2

Испытание проводят в последовательности:

а) к трубе 1 на расстоянии, равном или большем чем два номинальных диаметра устройства, в соответствии с рисунком 3 прилагают крутящий момент для времени приложения нагрузки 10 с, указанный в таблице 3;

1, 2 - труба; 3 - испытуемое многофункциональное регулирующее устройство

Рисунок 3 - Схема испытания на кручение

б) к трубе 2 прилагают крутящий момент для времени приложения нагрузки 10 с, указанный в таблице 4.

Крутящий момент прилагают так, чтобы в многофункциональном регулирующем устройстве не возникало изгибающих моментов.

Крутящий момент прилагают, увеличивая его постепенно и плавно.

Последние 10 % значения крутящего момента прилагают не более чем 1 мин. Превышение крутящего момента, указанного в таблице 3, не допускается;

в) после снятия нагрузки визуально проверяют отсутствие деформаций, а также герметичность газового тракта по 4.2.2.1, перечисление а) и герметичность клапана по 4.2.3.

Если входной и выходной патрубки многофункционального регулирующего устройства не находятся на общей оси, присоединения меняют местами и испытание повторяют.

4.3.3 Испытания на изгиб

4.3.3.1 Испытание на изгиб многофункциональных регулирующих устройств групп 1 и 2

Испытание проводят при соблюдении следующих условий:

а) испытанию подвергают то же самое многофункциональное регулирующее устройство, которое испытывали на кручение;

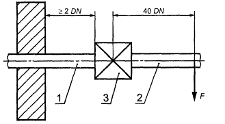
б) силу F, необходимую для создания изгибающего момента, указанного в таблице 3 для времени приложения нагрузки 10 с, с учетом массы трубы прилагают на расстоянии, равном 40 DN от центра многофункционального регулирующего устройства в соответствии с рисунком 4.

1, 2 - труба; 3 - испытуемое многофункциональное регулирующее устройство

Рисунок 4 - Схема испытания на изгиб

После снятия нагрузки проверяют отсутствие деформаций (визуально), а также герметичность газового тракта по 4.2.2.1, перечисление а) и герметичность клапана по 4.2.3.

Если входной и выходной патрубки многофункционального регулирующего устройства не имеют общей оси, присоединения меняют местами и испытание повторяют.

4.3.3.2 Дополнительное испытание на изгиб многофункциональных регулирующих устройств группы 1

Испытание выполняют при соблюдении следующих условий:

а) испытанию подвергают то же устройство, которое испытывали на кручение;

б) силу F, необходимую для создания изгибающего момента, указанного в таблице 3 для времени приложения нагрузки 900 с, с учетом массы трубы прилагают на расстоянии, равном 40 DN от центра устройства в соответствии с рисунком 4.

Не снимая нагрузки, визуально проверяют отсутствие деформаций, а также герметичность клапана по 4.2.3.

После снятия нагрузки проверяют герметичность газового тракта по 4.2.2.1, перечисление а).

Если входной и выходной патрубки многофункционального регулирующего устройства не имеют общей оси, присоединения меняют местами и испытание повторяют.

4.4 Номинальный расход газа

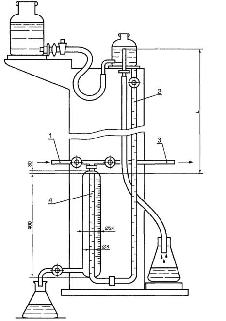
4.4.1 Испытательный стенд

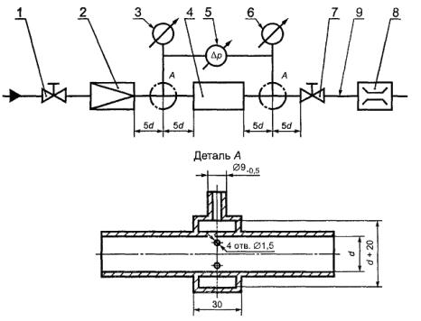
Испытание выполняют с помощью испытательного стенда (далее - стенд), схема которого показана на рисунке 5. Погрешность измерения не должна превышать ±2 %.

4.4.2 Проведение испытания

Во время измерения расхода газа все клапаны многофункционального регулирующего устройства должны быть открыты. При постоянном давлении на входном соединении расход воздуха регулируют так, чтобы обеспечить перепад давления, указанный изготовителем. Регулятор давления (при наличии) отключают.

Измеренный расход приводят к стандартным условиям по формуле

                                                (2)

где qn        - приведенный расход воздуха, м3/ч;

q     - измеренный расход воздуха, м3/ч;

ра      - атмосферное давление, Па;

р     - испытательное давление, Па;

t      - температура воздуха, °С.

1, 7 - регулирующий клапан; 2 - регулятор входного давления; 3, 6 - манометры; 4 - испытуемое многофункциональное регулирующее устройство; 5 - дифференциальный манометр; 8 - расходомер; 9 - точка измерения температуры

Рисунок 5 - Схема стенда для измерения расхода газа

4.5 Надежность

4.5.1 Надежность неметаллических материалов

4.5.1.1 Общие положения

Испытаниям подвергают целые детали.

4.5.1.2 Маслостойкость

Испытание на маслостойкость выполняют по ГОСТ 9.030 (метод А).

При этом определяют изменение массы предварительно взвешенных деталей после погружения их на 168 ч с допускаемым предельным отклонением минус 2 ч в стандартное масло СЖР-2 при максимальной рабочей температуре.

4.5.1.3 Газостойкость

Стойкость неметаллических деталей к воздействию углеводородных газов проверяют следующим образом:

- взвешенные детали из неметаллических материалов погружают в жидкий пентан на (72±2) ч при температуре (23±2) °С так, чтобы они были полностью покрыты жидкостью;

- детали извлекают из пентана, помещают их в сушильный шкаф и выдерживают (168±2) ч при температуре (40 ± 2) °С и атмосферном давлении;

- детали вновь взвешивают.

Изменение массы деталей Dm, г, вычисляют по формуле

                                                            (3)

где    m2 - масса деталей, извлеченных из сушильного шкафа, г;

m1   - масса деталей до погружения в пентан, г.

4.5.2 Определение прочности лакокрасочного покрытия

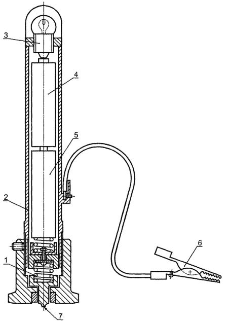
Механическую прочность лакокрасочного покрытия определяют с помощью приспособления в соответствии с рисунком 6. Жестко закрепленным стальным шариком диаметром 1 мм проводят вдоль испытуемой поверхности со скоростью от 30 до 40 мм/с с силой контакта 10 Н.

Испытание повторяют после испытания на влагостойкость.

1 - пружина с усилием 10 Н; 2 - корпус; 3 - сигнальная лампа; 4, 5 - батарейки; 6 - зажим; 7 - рабочая точка (стальной шарик Æ 1 мм)

Рисунок 6 - Приспособление для проверки механической прочности

4.5.3 Испытание на влагостойкость

Многофункциональное регулирующее устройство помещают в камеру температурой 40 °С и относительной влажностью более 95 % на 48 ч. Затем устройство извлекают из камеры и визуально определяют отсутствие признаков коррозии, вспучивания или образования пузырей на лакокрасочном покрытии. Затем устройство выдерживают 24 ч при температуре окружающей среды и повторно проводят внешний осмотр.

4.6 Устройства регулировки, управления и защиты

4.6.1 Устройство ручного управления

4.6.1.1 Крутящий момент и усилие нажатия ручки управления

4.6.1.1.1 Крутящий момент

Крутящий момент ручки управления измеряют с помощью динамометрического ключа, имеющего погрешность измерения ±10 % крутящего момента, указанного в таблице 4. Проверяют соответствие требованиям 3.6.2.2.

Открывающие и закрывающие движения выполняют с постоянной угловой скоростью приблизительно 1,5 рад/с.

4.6.1.1.2 Усилие нажатия ручки управления

Усилие нажатия ручки управления измеряют с помощью динамометра, имеющего погрешность измерения ±10 % измеренной величины.

Проверяют соответствие требованиям 3.6.2.2.

4.6.1.2 Герметичность газового тракта устройства ручного управления

Испытание выполняют в направлении движения газа в соответствии с 4.2.1.

4.6.1.3 Надежность

4.6.1.3.1 Термостойкость

Два устройства ручного управления (одно в открытом, а второе в закрытом положении) подвергают испытаниям на термостойкость, выдерживая их:

а) 48 ч при 0 °С или при минимальной рабочей температуре, указанной изготовителем, если она ниже;

б) 48 ч при 60 °С или при максимальной рабочей температуре, указанной изготовителем, если она выше.

После этих испытаний при температуре окружающей среды однократно измеряют крутящий момент ручки управления.

4.6.1.3.2 Цикличность

4.6.1.3.2.1 Устройства ручного управления должны быть подвергнуты испытаниям на цикличность: 5000 циклов, 10000 циклов или 40000 циклов (см. 3.6.2.1), - при условиях, указанных в нормативных документах изготовителя.

4.6.1.3.2.2 Частота выполнения циклов (число циклов в минуту) должна быть указана изготовителем. Цикл начинают из исходного положения, соответствующего закрытому положению устройства ручного управления. Запорный элемент устройства ручного управления перемещают в полностью открытое положение, а затем снова в закрытое положение.

4.6.1.3.2.3 При проведении испытаний на цикличность должны быть соблюдены следующие условия:

- прилагаемый крутящий момент не должен превышать 130 % крутящего момента, указанного изготовителем;

- 50 % циклов выполняют при максимальной рабочей температуре, указанной изготовителем;

- 50 % циклов выполняют при (20±5) °С.

4.6.2 Термоэлектрическое устройство контроля пламени

4.6.2.1 Блокировки

Проверяют соответствие требованиям 3.6.3.1. Каждое испытание повторяют пять раз.

4.6.2.1.2 Блокировка розжига

Проверяют, чтобы розжиг запальной горелки был возможен только при открытом проходе газа к запальной горелке и закрытом проходе газа к основной горелке. При открытом проходе газа к основной горелке розжиг запальной горелки должен быть невозможен.

4.6.2.1.3 Блокировка повторного розжига

Нажимают кнопку устройства контроля пламени и удерживают ее в нажатом положении. Клапан устройства контроля пламени открывают с помощью любого подходящего источника постоянного тока (электромагнит и магнитная пробка замкнуты). В этом состоянии попытка повторного розжига запальной горелки (или основной горелки) должна быть невозможной.

4.6.2.2 Применение вспомогательной энергии

Измеряют время подачи вспомогательной энергии для открытия клапана устройства контроля пламени при розжиге запальной (основной) горелки.

Испытание повторяют пять раз.

4.6.2.3 Определение силы тока размыкания магнитной пробки

4.6.2.3.1 Общие положения

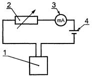
Устройство контроля пламени в соответствии с рисунком 7 подключают к источнику постоянного тока напряжением 2 В, который моделирует термопару.

1 - испытуемое устройство контроля пламени; 2 - реостат; 3 - миллиамперметр; 4 - источник постоянного тока

Рисунок 7 - Электрическая схема для измерения эдс

Колебание напряжения постоянного тока не должно превышать ±2 %.

Реостат должен обеспечивать регулирование силы тока от 30 до 1500 мА.

Для измерения силы тока используют миллиамперметр диапазоном измерения от 30 до 1500 мА и ценой деления не более 1,0 мА в интервале от 50 до 300 мА.

4.6.2.3.2 Проведение испытания

Испытание проводят в последовательности:

а) многофункциональное регулирующее устройство переводят в положение розжига, когда клапан устройства контроля пламени удерживают открытым нажатием кнопки или поворотом ручки управления (магнитная пробка при этом прижата к электромагниту);

б) на электромагнит подают ток, силу которого постепенно увеличивают со скоростью не более 30 мА/с, пока значение силы тока не превысит в три раза максимальное значение ЭДС, указанное изготовителем;

в) отпускают кнопку, клапан устройства контроля пламени должен оставаться полностью открытым (магнитная пробка удерживается электромагнитом);

г) силу тока увеличивают не менее чем до 1500 мА и выдерживают 60 с;

д) силу тока постепенно уменьшают приблизительно до 300 % максимальной ЭДС, указанной изготовителем;

е) силу тока постепенно уменьшают со скоростью не более 10 мА/с до момента закрытия клапана устройства контроля пламени, то есть до момента отлипания магнитной пробки от электромагнита;

ж) измеряют силу тока в момент закрытия клапана.

Испытание повторяют десять раз. За окончательный результат принимают среднеарифметическое результатов десяти последовательно выполненных измерений.

4.6.2.4 Герметичность клапана устройства контроля пламени

4.6.2.4.1 Герметичность клапана устройства контроля пламени в закрытом положении

Клапан устройства контроля пламени (далее - клапан), соединенного с устройством для измерения герметичности, находится в закрытом положении. На входное соединение многофункционального регулирующего устройства подают воздух давлением, указанным в 4.2.1.

Измеряют утечку и приводят ее к стандартным условиям (см. 4.1.1).

Если устройство контроля пламени имеет более одного клапана, испытание повторяют с каждым клапаном, находящимся в закрытом положении, все другие клапаны при этом должны быть полностью открыты.

4.6.2.4.2 Герметичность клапана в положении розжига

Для многофункциональных регулирующих устройств, имеющих канал запальной горелки, этот канал блокируют и на входное соединение устройства подают воздух давлением, указанным в 4.2.1. Измеряют утечку и приводят ее к стандартным условиям (см. 4.1.1). Проверяют выполнение требований 3.6.3.4.

4.6.2.4.3 Герметичность клапана в закрытом положении при максимальной и минимальной температурах окружающей среды

Выполняют испытание 4.6.2.4.1 при максимальной и минимальной температурах окружающей среды.

Герметичность клапана проверяют после того, как установилось тепловое равновесие.

4.6.2.5 Надежность устройства контроля пламени

4.6.2.5.1 Термостойкость

Устройство контроля пламени в закрытом положении подвергают испытаниям на термостойкость, выдерживая его:

а) 48 ч при 0 °С или при минимальной рабочей температуре, указанной изготовителем, если она ниже;

б) 48 ч при 60 °С или при максимальной рабочей температуре, указанной изготовителем, если она выше.

После этих испытаний при температуре окружающей среды проверяют выполнение требований 3.6.3.5.

4.6.2.5.2 Цикличность

Многофункциональное регулирующее устройство устанавливают согласно руководству по эксплуатации в камеру с регулируемой температурой.

На входное соединение подают воздух с номинальным расходом и максимальным рабочим давлением.

Прилагаемый крутящий момент или усилие нажатия ручки управления в течение испытания на цикличность составляет от 130 % до 150 % крутящего момента или усилия нажатия ручки управления, указанного в нормативных документах изготовителя.

Если устройство контроля пламени управляется кнопкой, в течение всего периода испытаний прилагаемое усилие нажатия кнопки должно оставаться постоянным и направленным по оси движения кнопки со скоростью 100 мм/с.

Если устройство контроля пламени управляется поворотной ручкой, то число рабочих циклов не должно превышать 20 в минуту.

Во время испытания на устройство подают ток, сила которого в три раза превышает максимальную ЭДС, указанную изготовителем.

Каждый цикл должен быть выполнен так, чтобы ток не был подведен прежде, чем магнитная пробка клапана сомкнется с электромагнитом.

В зависимости от группы устройства контроля пламени (см. 1.4.2) выполняют:

- для устройства контроля пламени группы 1:

- 10 000 циклов при максимальной температуре окружающей среды с допустимым отклонением минус 5 °С;

- 25 000 циклов при температуре окружающей среды (20±5) °С;

- 5 000 циклов при минимальной температуре окружающей среды с допустимым отклонением плюс 5 °С;

- для устройства контроля пламени группы 2:

- 2 000 циклов при максимальной температуре окружающей среды с допустимым отклонением минус 5 °С;

- 7 000 циклов при температуре окружающей среды (20±5) °С;

- 1 000 циклов при минимальной температуре окружающей среды с допустимым отклонением плюс 5 °С;

- для устройства контроля пламени группы 3:

- 1 000 циклов при максимальной температуре окружающей среды с допустимым отклонением минус 5 °С;

- 3 000 циклов при температуре окружающей среды (20±5) °С;

- 1 000 циклов при минимальной температуре окружающей среды с допустимым отклонением плюс 5 °С.

Работоспособность и правильное функционирование устройства контроля пламени во время испытания на цикличность контролируют, постоянно измеряя давление на выходе или расход газа.

4.6.2.6 Определение усилия уплотнения клапана

Перед измерением усилия уплотнения клапана устройство контроля пламени включают дважды. Затем на выходное соединение этого устройства в закрытом положении через расходомер подают воздух, постепенно увеличивая его давление со скоростью не более чем 0,1 кПа/с, пока расходомер не покажет, что расход воздуха превысил 0,1 дм3/ч. При этом расходе измеряют давление воздуха.

4.6.3 Регулятор давления

4.6.3.1 Испытательный стенд

Испытание выполняют с помощью испытательного стенда, схема которого показана на рисунке 5. Погрешность при измерении давления, температуры и расхода не должна превышать ±2 %.

4.6.3.2 Измеренный расход приводят к стандартным условиям по формуле (2).

4.6.3.3 Проведение испытаний

4.6.3.3.1 Общие положения

4.6.3.3.1.1 В течение испытаний все клапаны должны быть открыты.

4.6.3.3.1.2 Характеристики расхода регуляторов давления (далее - регуляторы) классов А, В и С проверяют по 4.6.3.3.2, 4.6.3.3.3 и 4.6.3.3.4 соответственно.

Все испытания выполняют после достижения равновесного состояния.

Примеры характеристик расхода регуляторов приведены на рисунках 8-10.

Рисунок 8 - График зависимости выходного давления газа от изменения входного давления

Рисунок 9 - График зависимости расхода газа от изменения выходного давления

I, II и III - соответственно первое, второе и третье семейство газов

Рисунок 10 - Примеры типичных характеристик расхода для регуляторов давления газа различных классов

4.6.3.3.1.3 Регуляторы, которые для работы с газами другой группы требуют переоборудования, должны быть снабжены сменяемыми частями и деталями.

Если для проведения испытаний необходимо специальное оборудование, то изготовитель должен поставить его в испытательную лабораторию вместе с регулятором.

4.6.3.3.1.4 Отключение регулятора

Отключение регулятора выполняют в соответствии с инструкциями по эксплуатации, после чего проверяют герметичность регулятора в соответствии с 4.2.

После повторного включения регулятора проверяют соответствие его характеристик требованиям настоящего стандарта.

4.6.3.3.1.5 Давление срабатывания предохранительного запорного клапана

Испытание выполняют в последовательности:

а) многофункциональное регулирующее устройство присоединяют к испытательному стенду, схема которого показана на рисунке 5;

б) на вход устройства подают максимальное входное давление p1max, с помощью регулирующего клапана 7 устанавливают расход газа qmax/20;

в) измеряют давление на выходе;

г) медленно (за время не менее чем 5 с) закрывают регулирующий клапан 7;

д) через 30 с после полного закрытия клапана 7 измеряют давление на выходе устройства.

4.6.3.3.1.6 Надежность

Многофункциональное регулирующее устройство устанавливают согласно инструкции по эксплуатации в камеру с регулируемой температурой.

На входное соединение устройства подают воздух при температуре окружающей среды и при максимальном входном рабочем давлении, указанном изготовителем.

На входном и выходном соединениях устройства устанавливают два быстродействующих запорных клапана, соединенных с реле времени так, чтобы клапаны поочередно открывались и закрывались (когда один открыт, второй закрыт), с полным циклом 10 с каждый.

Испытание состоит из 50 000 циклов, в каждом из которых диафрагма регулятора давления газа должна быть полностью прогнута и выдержана в таком положении не менее 5 с.

При этом выполняют:

- 25000 циклов при максимальной температуре окружающей среды, указанной изготовителем, но не ниже 60 °С;

- 25000 циклов при минимальной температуре окружающей среды, указанной изготовителем, но не выше 0 °С.

После выполнения 50000 циклов многофункциональное регулирующее устройство подвергают испытаниям по 4.3.2, 4.6.3 без его дополнительной регулировки и настройки.

4.6.3.3.2 Регулятор давления класса А

Испытание выполняют в последовательности:

а) с помощью регулирующего клапана 7 (рисунок 5) устанавливают расход газа, равный 0,5qmax (или другое значение, указанное изготовителем). Для настраиваемых регуляторов давления устанавливают выходное давление, равное максимальному предельному значению p2max. На вход регулятора подают воздух давлением p1; равным номинальному давлению, указанному изготовителем. Выходное давление в течение испытания не регулируют;

б) без изменения расхода газа плавно изменяют входное давление p1 от минимального значения p1min до максимального p1max и обратно, фиксируя значения выходного давления p2 не менее чем в пяти точках в каждом направлении;

в) при постоянном минимальном входном давлении p1min с помощью регулирующего клапана 7 изменяют расход газа от qmax до qmin и обратно, фиксируя значения выходного давления р2 не менее чем в пяти точках в каждом направлении;

г) изменяют входное давление p1min до p1max, а затем изменяют расход газа от qmax до qmin [в соответствии с перечислением в)];

д) для настраиваемых регуляторов давления повторяют испытания по перечислениям б) и г) с выходным давлением p2max.

4.6.3.3.3 Регулятор давления класса В

Испытание выполняют в последовательности:

а) с помощью регулирующего клапана 7 (рисунок 5) устанавливают расход газа qmax. Для настраиваемых регуляторов давления устанавливают выходное давление, равное максимальному предельному p2max. На вход регулятора подают воздух давлением p1, равным номинальному давлению, указанному изготовителем. Выходное давление в течение испытания не регулируют;

б) без изменения расхода газа плавно изменяют входное давление p1 от минимального p1min до максимального p1max и обратно, фиксируя значения выходного давления р2 не менее чем в пяти точках в каждом направлении;

в) при постоянном минимальном входном давлении p1min с помощью регулирующего клапана 7 изменяют расход газа от qmax до qmin без какого-либо регулирования выходного давления;

г) повторяют испытание по перечислению б);

д) для настраиваемых регуляторов давления повторяют испытания по перечислениям б) и г) с выходным давлением р2mах.

4.6.3.3.4 Регулятор давления класса С

Испытание выполняют в последовательности:

а) с помощью регулирующего клапана 7 (рисунок 5) устанавливают расход газа qmax. Для настраиваемых регуляторов давления устанавливают выходное давление, равное максимальному предельному давлению р2mах. На вход регулятора подают воздух давлением p1, равным номинальному давлению, указанному изготовителем. Выходное давление в течение испытания не регулируют;

б) без изменения расхода газа плавно изменяют входное давление p1 от минимального p1min до максимального p1max и обратно, фиксируя значения выходного давления p2 не менее чем в пяти точках в каждом направлении;

в) с помощью регулирующего клапана 7 устанавливают расход газа qmin. Для настраиваемых регуляторов давления устанавливают выходное давление, равное максимальному предельному давлению p2max. Выходное давление в течение испытания не регулируют;

г) повторяют испытание по перечислению б);

д) для настраиваемых регуляторов давления повторяют испытания по перечислениям б) и г) с выходным давлением p2min

4.6.4 Регулятор расхода

Регулятор расхода газа проверяют на соответствие требованиям, указанным в нормативных документах изготовителя по методикам последнего.

4.6.5 Автоматический запорный клапан

4.6.5.1 Закрытие

К клапану подводят питание при максимальном рабочем напряжении и максимальном давлении вспомогательной среды (при ее наличии). Затем медленно уменьшают напряжение и давление вспомогательной среды до 85 % минимального рабочего напряжения (давления). Проверяют, что при этом напряжении (давлении) клапан закрыт.

К клапану подводят питание при максимальном рабочем напряжении и номинальном давлении вспомогательной среды (при ее наличии). Затем, не изменяя давления вспомогательной среды, медленно увеличивают напряжение до 110 % максимального рабочего напряжения и отключают напряжение.

После отключения напряжения клапан должен закрыться.

К клапану подводят питание при максимальном рабочем напряжении и максимальном давлении вспомогательной среды (при ее наличии). Затем, не изменяя давления вспомогательной среды, значение напряжения уменьшают до значения между 85 % минимального рабочего напряжения и 85 % максимального рабочего напряжения и отключают напряжение.

После отключения напряжения клапан должен закрыться.

Это испытание выполняют для трех различных значений напряжения между 85 % минимального рабочего и 85 % максимального рабочего.

К клапанам с пневматическими или гидравлическими исполнительными механизмами подводят питание при максимальном рабочем напряжении и максимальном давлении вспомогательной среды. Затем медленно уменьшают давление вспомогательной среды до 85 % минимального давления вспомогательной среды. При этом давлении клапан должен быть закрыт.

4.6.5.2 Сила закрытия клапана

При этом испытании многофункциональное регулирующее устройство должно быть обезжирено.

Измеряют минимальную силу закрытия при перемещении клапана из открытого в закрытое положение.

Из клапана удаляют пружины и измеряют максимальную силу, необходимую для перемещения клапана из открытого в закрытое положение.

4.6.5.3 Время запаздывания и время открытия

4.6.5.3.1 Время запаздывания

Измеряют интервал времени между моментом начала подачи электрического управляющего сигнала на открытие клапана и моментом начала открытия клапана.

4.6.5.3.2 Время открытия

Измеряют интервал времени между моментом подачи электрического управляющего сигнала на открытие клапана и достижением 80 % номинального расхода газа.

4.6.5.3.3 Условия испытаний

Испытания выполняют при следующих состояниях:

- после достижения теплового равновесия при температуре окружающей среды 60 °С (или при максимальной температуре окружающей среды, если она выше) на клапан подают питание при максимальном давлении воздуха p1max, при напряжении 110 % максимального рабочего напряжения и при максимальном давлении вспомогательной среды (при ее наличии);

- после достижения теплового равновесия при температуре окружающей среды 0 °С (или при минимальной температуре окружающей среды, если она ниже) на клапан подают питание при давлении воздуха 0,6 кПа, при напряжении 85 % минимального рабочего напряжения и при минимальном давлении вспомогательной среды (при ее наличии).

4.6.5.4 Время закрытия

Выполняют два испытания, когда на входное соединение клапана подают воздух при следующих условиях:

- при максимальном рабочем давлении и перепаде давления, указанном изготовителем, при максимальном давлении вспомогательной среды (при ее наличии) и 110 % максимального рабочего напряжения;

- при рабочем давлении 0,6 кПа, минимальном перепаде давления, максимальном давлении вспомогательной среды (при ее наличии) и 110 % максимального рабочего напряжения.

Измеряют интервал времени между моментом отключения электрического управляющего сигнала и достижением закрытого положения клапана.

4.6.5.5 Усилие уплотнения клапана

Перед измерением усилия уплотнения клапан включают дважды. Затем на входное или выходное соединение клапана в закрытом положении через расходомер подают воздух так, чтобы давление воздуха препятствовало закрытию клапана. Затем постепенно увеличивают давление воздуха со скоростью не более чем 0,1 кПа/с.

Для клапанов классов А, В и С давление воздуха увеличивают до указанного в таблице 10 или таблице 11 и измеряют расход воздуха.

Для клапанов класса Е давление воздуха увеличивают до 150 % максимального рабочего давления, но не менее чем на 15 кПа выше максимального рабочего давления. Затем измеряют расход воздуха.

4.6.5.6 Герметичность клапана

Испытание выполняют в направлении движения газа, обозначенном на многофункциональном регулирующем устройстве. Клапан, находящийся в закрытом положении, соединяют с устройством для измерения герметичности, и на входное соединение клапана подают воздух. Герметичность клапана проверяют в соответствии с 4.2.3.

4.6.5.7 Надежность

Многофункциональное регулирующее устройство устанавливают согласно руководству по эксплуатации в камеру с регулируемой температурой.

На входное соединение подают воздух при максимальном входном рабочем давлении, указанном изготовителем. Расход воздуха не должен превышать 10 % максимального расхода.

Клапан подвергают испытанию на цикличность при числе циклов, указанном в таблице 14, которые выполняют за время, указанное изготовителем. При этом испытании клапан должен достигать полностью открытого и полностью закрытого положения.

Часть испытания при максимальной температуре окружающей среды необходимо выполнить без перерыва в течение не менее 24 ч.

Если минимальная температура окружающей среды ниже 0 °C, 25000 циклов выполняют при температуре минус 15 °С. Число циклов, указанное в таблице 14 при 20 °С, при этом уменьшают на 25000 циклов.

Таблица 14 - Число рабочих циклов клапанов

Номинальный (условный) диаметр DN, мм

Число рабочих циклов при температуре окружающей среды, °С

максимальной

[не менее (60±5)]

20 ± 5

DN £ 25

при времени открытия менее 1 с и максимальном рабочем давлении менее 15 кПа

100000

400000

DN £ 25

при времени открытия менее 1 с и максимальном рабочем давлении более 15 кПа

50000

150000

DN £ 25

при времени открытия более 1 с

50000

150000

DN > 25

25000

75000

Испытание при максимальной температуре окружающей среды проводят при максимальном рабочем напряжении.

Испытание при минимальной температуре окружающей среды выполняют при минимальном рабочем напряжении.

Проводя испытание при температуре окружающей среды 20 °С, 50 % циклов выполняют при максимальном рабочем напряжении, а 50 % - при минимальном рабочем напряжении.

Герметичность газового тракта и герметичность клапана проверяют перед началом испытаний на надежность, после испытания при максимальной температуре окружающей среды и после испытания при температуре окружающей среды 20 °С.

Испытания клапанов с пневматическим или гидравлическим приводом выполняют при максимальном давлении вспомогательной среды.

Работоспособность и правильное функционирование клапана во время испытания на цикличность контролируют постоянно, измеряя давление на выходе или расход.

После завершения испытаний на цикличность клапан подвергают повторному испытанию согласно 4.6.5.1.

4.6.6 Термостат управления

4.6.6.1 Общие положения

Если многофункциональное регулирующее устройство имеет регулятор давления, то его отключают на время испытаний термостатов.

4.6.6.2 Герметичность клапана регулируемого термостата управления в закрытом положении

Данное испытание проводят только для термостатов, имеющих функцию полного выключения.

Испытание выполняют в направлении движения газа. Ручку управления термостата устанавливают в середине диапазона ее перемещения. Затем медленно нагревают (или охлаждают для термостатов управления, применяемых в холодильниках) температурный датчик до тех пор, пока клапан не закроется. После этого температуру температурного датчика повышают (или понижают для термостатов управления, применяемых в холодильниках) еще на 10 % диапазона регулирования температуры термостата. Проверяют соответствие термостата требованиям 3.6.7.1.

4.6.6.3 Уставка температуры калибровки

Испытание выполняют при температуре окружающей среды (20±2) °С, регулировочную ручку термостата устанавливают в положение, указанное изготовителем. Проверяют характеристики расхода термостата согласно 4.6.6.8.

4.6.6.4 Люфт

Данное испытание выполняют только для модулирующих термостатов.

Температурный датчик поддерживают при постоянном значении заданной температуры из середины диапазона температур.

На входное соединение многофункционального регулирующего устройства подают воздух давлением 2 кПа. Устанавливают перепад давления при всех полностью открытых клапанах в 0,25 кПа.

В течение испытания корпус многофункционального регулирующего устройства поддерживают при постоянной температуре окружающей среды с колебанием ±1 °С. Поворачивают ручку управления из положения минимальной температурной уставки до тех пор, пока значение расхода воздуха не достигнет значения калибровочного расхода, и отмечают это положение ручки управления. Снова продолжают поворачивать ручку управления до положения максимальной температурной уставки, а затем возвращают ее назад, пока значение расхода воздуха не достигнет значения калибровочного расхода, и также отмечают это положение ручки управления. Определяют люфт.

4.6.6.5 Герметичность двухпозиционного и комбинированного термостатов

На входное соединение многофункционального регулирующего устройства подают воздух давлением 2 кПа. Устанавливают перепад давления при всех полностью открытых клапанах в 0,25 кПа.

В течение испытания корпус многофункционального регулирующего устройства поддерживают при постоянной температуре окружающей среды с колебанием ±1 °С.

Ручку управления термостата устанавливают в положение температуры калибровки, указанной изготовителем. Температурный датчик погружают в водяную ванну, температуру которой повышают со скоростью 0,5 °С в минуту, пока клапан термостата не закроется, после чего температуру воды начинают понижать со скоростью 0,5 °С в минуту до момента открытия клапана термостата. За время от момента начала понижения температуры до момента открытия клапана термостата измеряют утечку воздуха.

При испытании термостатов управления, применяемых в холодильниках, температурный датчик сначала охлаждают до момента закрытия клапана, а затем нагревают с вышеуказанной скоростью.

4.6.6.6 Давления открытия и закрытия клапана двухпозиционного и комбинированного термостатов

Испытание выполняют с помощью испытательного стенда, схема которого показана на рисунке 11. На входное соединение многофункционального регулирующего устройства подают воздух давлением, в 1,2 раза превышающим максимальное рабочее давление, но не ниже чем 5 кПа.

1, 9 - регулирующий клапан; 2 - регулятор входного давления; 3 - термометр; 4 - расходомер; 5, 8 - манометры; 6 - испытуемое многофункциональное регулирующее устройство; 7 - дифференциальный манометр; 10 - капилляр; 11 - камера с регулируемой температурой; 12 - датчик температуры

Рисунок 11 - Схема стенда для испытаний термостата

Устанавливают перепад давления при всех полностью открытых клапанах в 0,25 кПа и проверяют, что при этих условиях клапан термостата открывается и закрывается при изменении температуры датчика.

4.6.6.7 Расход газа

Номинальный и пониженный расходы газа определяют с помощью кривых расхода согласно 4.6.6.8.

Определенный расход приводят к стандартным условиям с помощью формулы (2).

Приведенные номинальный и пониженный расходы газа должны соответствовать требованиям 3.6.7.6.

4.6.6.8 Характеристики расхода

Испытание выполняют с помощью испытательного стенда, схема которого показана на рисунке 11. На входное соединение многофункционального регулирующего устройства подают воздух давлением 2 кПа.

Погрешность измерения не должна превышать ±2 %.

С помощью регулирующего клапана 9 устанавливают перепад давления 0,25 кПа при всех полностью открытых клапанах устройства. В течение испытания не разрешаются никакие дополнительные регулировки.

Полученный расход сравнивают с номинальным расходом, указанным изготовителем.

При закрытом клапане модулирующего термостата устанавливают расход воздуха через байпас, если таковой имеется, равный 20 % максимального расхода, или расход, указанный изготовителем, и не изменяют его в течение всего испытания.

Строят кривые зависимости расхода воздуха от температуры (см. рисунок 12) для минимальных и максимальных температурных уставок сначала при понижении температуры, а затем при ее повышении. Таким же образом строят кривую для уставки температуры калибровки, если она отличается от минимальной или максимальной температурных уставок.

Рисунок 12 - Примеры типичных характеристик расхода термостатов:

а - модулирующего, б - двухпозиционного, в - комбинированного

Для каждой температурной уставки расход выражают в процентах максимального расхода, измеренного для этой уставки.

В диапазоне регулирования температуры терморегулятора температуру датчика изменяют со скоростью не более 1 °С в минуту.

Для определения полосы модуляции проводят прямую линию через две точки, расположенные на кривых расхода минимальной и максимальной температурных уставок и соответствующие 75 % и 25 % номинального расхода, и продолжают ее до пересечения с прямыми номинального расхода (точки B1 и B2) и пониженного расхода [(точки А1 и A2) см. рисунок 12, а и в].

Полоса модуляции Хр - разность температур между точками А и В (см. рисунок 12, а и в).

Дифференциал температуры Usd для двухпозиционного термостата показан на рисунке 12, б.

4.6.6.9 Температура

4.6.6.9.1 Рабочий диапазон температуры

После выполнения испытания 4.6.6.3 корпус многофункционального регулирующего устройства помещают в камеру с регулируемой температурой при (60±2) °С или при максимальной температуре, указанной изготовителем, если она выше.

В соответствии с 4.6.6.9.4 при установившемся тепловом равновесии проверяют уставку температуры калибровки.

4.6.6.9.2 Термостойкость

Многофункциональное регулирующее устройство вместе с капилляром и датчиком сначала выдерживают 2 ч при температуре (минус 15±2) °С, а затем 2 ч при температуре (60±2) °С или (50±2) °С для термостатов наружного воздуха и термостатов, применяемых в холодильниках.

После охлаждения многофункционального регулирующего устройства до температуры окружающей среды проверяют уставку температуры калибровки в соответствии с 4.6.6.9.4.

4.6.6.9.3 Термостойкость датчика температуры

Испытание выполняют при максимальной температурной уставке термостата. Датчик температуры выдерживают в течение 1 ч при максимальной температуре, указанной в 3.6.7.8.3. При этом корпус многофункционального регулирующего устройства должен находиться при комнатной температуре. После охлаждения датчика температуры до температуры окружающей среды проверяют уставку температуры калибровки в соответствии с 4.6.6.9.4.

4.6.6.9.4 Проверка характеристик расхода

Регулировочную ручку термостата устанавливают в соответствии с 4.6.6.3.

Проверяют характеристики расхода термостата согласно 4.6.6.8.

4.6.6.10 Надежность

4.6.6.10.1 Механическая цикличность

Каждый рабочий цикл должен состоять из перемещения регулировочной ручки термостата по ее полному диапазону с возвращением в исходную точку.

Рабочие циклы выполняют со скоростью приблизительно 10 раз в минуту.

Испытательный стенд должен обеспечивать плавное перемещение регулировочной ручки термостата с крутящим моментом, значение которого не превышает максимального значения, указанного изготовителем.

В течение всего времени выполнения цикла регулировочную ручку термостата поддерживают в положении свободного перемещения без фиксации замком.

Во время испытания выполняют 1000 рабочих циклов или большее число циклов в соответствии с нормативными документами изготовителя.

Половину рабочих циклов выполняют, когда корпус термостата находится при максимальной рабочей температуре, а вторую половину - при температуре (20±5) °С.

В течение испытания датчик температуры поддерживают при температуре, приблизительно равной 2/3 диапазона регулирования.

Во время испытания не допускаются применение смазки и дополнительная регулировка.

4.6.6.10.2 Температурная цикличность

В каждом тепловом цикле температуру датчика изменяют в обе стороны от значения температурной уставки Ts до предельной и обратно.

Ручку управления термостата устанавливают в положение, соответствующее Ts.

Ts рассчитывают по формуле

                                                    (4)

где Тmax  - максимальная температурная уставка;

Тmin  - минимальная температурная уставка.

Испытание выполняют при давлении воздуха 2 кПа.

Во время испытания корпус многофункционального регулирующего устройства помещают в камеру с регулируемой температурой при (60±2) °С или при максимальной температуре, указанной изготовителем, если она выше.

Выполняют 10000 циклов.

4.6.7 Реле давления

4.6.7.1 Работоспособность реле давления

4.6.7.1.1 Погрешность измерения давления и температуры не должна превышать ±2 %.

4.6.7.1.2 Значение давления срабатывания реле давления определяют в наиболее неблагоприятном рабочем положении при температуре окружающей среды путем повышения или понижения входного давления (или то и другое, когда реле давления обеспечивает обе эти функции).

Испытание повторяют при минимальной и максимальной температурах окружающей среды, указанных изготовителем, но не ниже чем при 0 °С и не выше 60 °С.

4.6.7.1.3 Для настраиваемых реле давления испытание выполняют при максимальном, а затем повторяют при минимальном давлении из диапазона настройки.

4.6.7.2 Надежность

Выполняют испытание на цикличность, состоящее из 100000 циклов.

Перед испытанием проводят одно-два выключения реле давления при максимальном давлении.

Настраиваемые реле давления устанавливают на максимальное давление диапазона настройки.

Испытание выполняют без электрической нагрузки. 50 % циклов выполняют при минимальной температуре и 50 % - при максимальной температуре окружающей среды.

После завершения испытаний на цикличность повторяют испытания 4.6.7.1.2 и 4.6.7.1.3.

5 Маркировка и указания по эксплуатации

5.1 Маркировка

5.1.1 На видном месте многофункционального регулирующего устройства должна быть прикреплена табличка по ГОСТ 12971, содержащая:

- наименование или шифр устройства;

- дату изготовления;

- клеймо ОТК предприятия-изготовителя;

- номер группы устройства по устойчивости к изгибу;

- указатель направления движения рабочей среды (при отсутствии указателя на корпусе);

- класс автоматического запорного клапана;

- класс регулятора давления газа;

- максимальное рабочее давление в килопаскалях;

- обозначение нормативного документа изготовителя;

- класс защиты по ГОСТ 14254;

- номинальное напряжение;

- знак соответствия для сертифицированного устройства.

5.1.2 Надписи на табличке должны быть выполнены способом, обеспечивающим сохранность при эксплуатации.

5.1.3 Транспортная маркировка на таре должна быть выполнена по ГОСТ 14192.

5.2 Указания по эксплуатации

5.2.1 Перед установкой многофункциональное регулирующее устройство должно быть расконсервировано, наружные поверхности тщательно протерты.

5.2.2 К эксплуатации могут быть допущены только те многофункциональные регулирующие устройства, которые соответствуют требованиям настоящего стандарта и имеют паспорт предприятия-изготовителя.

5.2.3 Эксплуатация многофункционального регулирующего устройства должна быть осуществлена в соответствии с руководством по эксплуатации данного устройства, а также правилами [1] и [2].

ПРИЛОЖЕНИЕ А

(справочное)

Библиография

[1] ПБ 12-368-00 Правила безопасности в газовом хозяйстве. - М.: ПИО ОБТ, 1999

[2] Правила технической эксплуатации и требования безопасности труда в газовом хозяйстве Российской Федерации. - М.: НПО ОБТ, 1995

Ключевые слова: многофункциональное регулирующее устройство, требования безопасности, методы испытаний, регулятор давления газа, регулятор расхода, терморегулятор, давление, температура, характеристика расхода, маркировка

 




ГОСТЫ, СТРОИТЕЛЬНЫЕ и ТЕХНИЧЕСКИЕ НОРМАТИВЫ.
Некоммерческая онлайн система, содержащая все Российские Госты, национальные Стандарты и нормативы.
В Системе содержится более 150000 файлов нормативно-технической документации, действующей на территории РФ.
Система предназначена для широкого круга инженерно-технических специалистов.

Рейтинг@Mail.ru Яндекс цитирования

Copyright © www.gostrf.com, 2008 - 2026