Крупнейшая бесплатная информационно-справочная система онлайн доступа к полному собранию технических нормативно-правовых актов РФ. Огромная база технических нормативов (более 150 тысяч документов) и полное собрание национальных стандартов, аутентичное официальной базе Госстандарта. GOSTRF.com - это более 1 Терабайта бесплатной технической информации для всех пользователей интернета. Все электронные копии представленных здесь документов могут распространяться без каких-либо ограничений. Поощряется распространение информации с этого сайта на любых других ресурсах. Каждый человек имеет право на неограниченный доступ к этим документам! Каждый человек имеет право на знание требований, изложенных в данных нормативно-правовых актах!

  


 

ДЕПАРТАМЕНТ СТРОИТЕЛЬСТВА

НАУЧНО-ТЕХНИЧЕСКОЕ УПРАВЛЕНИЕ

МОССТРОЙЛИЦЕНЗИЯ

ВЕДОМСТВЕННЫЕ СТРОИТЕЛЬНЫЕ НОРМЫ

ИНСТРУКЦИЯ
ПО ТЕХНОЛОГИИ МОНТАЖА И ОТДЕЛКЕ
ПОДВЕСНЫХ ПОТОЛКОВ ИНДУСТРИАЛЬНЫМИ
МЕТОДАМИ

ВСН 28-95

МОСКВА - 1995

Инструкция по технологии монтажа и отделке подвесных потолков индустриальными методами разработана НИИМосстроем Департамента строительства (д.т.н., проф. Е.Д. Белоусов, инж. А.Н. Шевченко, инж. А.Ю. Сатирский, к.т.н. Я.Г. Могилевский) с участием Мосстройлицензии (Ю.И. Столяров и к.т.н. В.Д. Фельдман).

Инструкция согласована с Техническим управлением АОХК «Главмосстрой», Техническим управлением АО «Моспромстрой» и АООТ трест «Мосспецмонтаж».

При пользовании настоящей инструкцией следует учитывать утвержденные изменения, внесенные в стандарты и технические условия на материалы, применяемые при монтаже и отделке подвесных потолков индустриальными методами.

Департамент строительства

Ведомственные строительные нормы

ВСН 28-95

Научно-техническое управление

Инструкция по технологии монтажа и отделке подвесных потолков индустриальными методами

ДС

взамен

ВСН 194-83

Главмоспромстрой

1. Общие положения

1.1. Настоящая инструкция распространяется на работы по устройству и приемке конструктивных элементов сборных подвесных потолков в зданиях культурно-бытового, общественного и промышленного назначения с целью звукопоглощения, улучшения акустических условий внутри помещения, а также для использования пространства между потолком и перекрытием для прокладки инженерных коммуникаций различного назначения (вентиляционных коробов, электротехнических и слаботочных проводок, трубопроводов).

1.2. Устройство подвесных потолков индустриальными методами вместо традиционной конструкции такого потолка из штукатурки по сетке позволяет исключить «мокрые» процессы, улучшить качество и повысить архитектурные и декоративные свойства, стандартизировать и унифицировать детали, обеспечивая качество и скорость монтажа при минимальных трудозатратах.

1.3. До начала монтажа подвесных потолков в помещениях должны быть закончены строительно-монтажные и специальные работы, указанные в п. 3.3. СНиП 3.04.01-80, в том числе и отделочные, кроме завершающей окраски или оклейки стен обоями различных видов, а также закончена прокладка инженерных коммуникаций (проводка осветительной арматуры, установка конструкций системы пожаротушения, прокладка трубопроводов и т.д.).

Внесены НИИМосстроем

Утверждены Научно-техническим управлением Департамента строительства

5 октября 1995 г.

Дата введения в действие

1 декабря 1995 г.

2. Конструкции сборных подвесных потолков, материалы и требования к ним

2.1. Подвесные потолки состоят из несущих (невидимых) конструкций, выполненных из черного металла, алюминиевых направляющих или деревянного каркаса и видимых лицевых декоративно-отделочных элементов.

2.2. Лицевые декоративно-отделочные элементы определяются проектом в соответствии с архитектурным замыслом и функциональными требованиями с учетом назначения помещений, и температурно-влажностными условиями.

2.3. Для лицевых декоративно-отделочных элементов применяются серийно выпускаемые промышленностью РФ и зарубежными фирмами алюминиевые панели и профили, звукопоглощающие минераловатные плиты, гипсокартонные декоративно-акустические перфорированные плиты, декоративно-облицовочные гипсовые и вермикулитовые плиты, гипсокартонные и асбестоцементные листы, древесно-стружечные плиты и др., согласованные с органами Госсанэпидемнадзора и Госпожнадзора.

2.4. Выбор материалов каркаса подвесных потолков (металлические или смешанные) проводят в зависимости от назначения и вида применяемых лицевых отделочных элементов (табл. 1).

2.5. Несущая часть подвесного потолка в зависимости от схемы каркаса может быть четырех видов: с двухосным каркасом в одном и двух уровнях; с одноосным каркасом и без каркаса (рис. 1).

2.6. Двухосные каркасы в одном уровне состоят из главных неразрезных элементов, проходящих через все помещение и расположенных перпендикулярно к ним второстепенных разрезных элементов, образующих ячейки, в которые укладывают лицевые отделочные элементы (рис. 1а).

2.7. Главные и второстепенные элементы каркасов в одном уровне выполняют из малоразмерных гнутых профилей листовой стали, алюминиевых сплавов и древесины.

2.8. Главные элементы каркаса в одном уровне по длине соединяют с помощью накладок, закрепляемых болтами или вырубленными язычками в стенках профилей.

Второстепенные элементы крепят к главным с помощью шплинтов, пластинчатых хомутов или пружин (рис. 2).

2.9. Несущая часть подвесных потолков с одноосным каркасом состоит из элементов одного направления, расположенных параллельно. Необходимая жесткость конструкции в связи с отсутствием второстепенных элементов каркаса обеспечивается применением жестких подвесок и жестких лицевых элементов, а также специальных фиксаторов, распорок и гребенок.

2.10. Бескаркасные потолки собирают из лицевых элементов, снабженных по контуру ребрами, к которым крепят гибкие подвески. По способу подвешивания бескаркасные потолки подразделяют на потолки с независимым подвешиванием лицевых элементов и потолки со связанным подвешиванием, при котором каждая подвеска крепит и поддерживает несколько лицевых элементов (рис. 1г).

Рис. 1. Схемы устройства несущих конструкций подвесных потолков:

а) с двухосным каркасом в одном уровне; б) с двухосным каркасом в двух уровнях; в) с одноосным каркасом; г) без каркаса

1 - подвеска; 2 - главный направляющий профиль; 3 - второстепенный профиль; 4 - лицевой элемент

Рис. 2. Соединения элементов каркаса:

а) соединение главных элементов по длине при помощи накладок и вырубленных язычков, б) соединение второстепенных элементов с главными при помощи шплинта

1 - главный элемент; 2 - второстепенный элемент; 3 - накладка; 4 - вырубной язычок; 5 - шплинт

2.11. Элементы каркаса подвесного потолка к основным конструкциям зданий крепят с помощью подвесок, которые с одной стороны имеют узлы и детали крепления к перекрытиям, а с другой - к каркасу.

2.12. Подвески в зависимости от условий эксплуатации подвесного потолка и с учетом его жесткости подразделяют на два вида: гибкие и жесткие. Подвески состоят из двух частей и устройства для регулирования высоты, обеспечивающего установку каркаса на заданной отметке.

2.13. Гибкие подвески выполняют из оцинкованной стальной проволоки диаметром 2,5 - 3 мм, стальных лент толщиной 0,6 - 0,8 мм, а жесткие - из круглых стержней диаметром 5 - 12 мм, полос толщиной 2 - 4 мм, уголковых и других профилей. Виды подвесок приведены на рис. 3а.

2.14. Крепление подвесок к основным конструкциям здания производят в зависимости от конструкции перекрытия: к железобетонной плите перекрытия - с помощью кронштейнов, которые пристреливаются к плите дюбель-гвоздями (рис. 3б), и с помощью распорных и закладных деталей (рис. 3в); к стальным конструкциям - с помощью хомутов или болтов; к деревянным перекрытиям - на гвоздях, шурупах и скобах.

2.15. Кроме указанных выше способов широко распространено крепление подвесных потолков с каркасом из арматурной стали к выпускам арматуры из швов железобетонных плит.

2.16. Элементы деревянного каркаса, применяемые для устройства подвесных потолков с отделкой акустическими перфорированными плитами, гипсокартонными листами и другими, должны быть обработаны антисептирующими и антипирирующими составами с влажностью древесины не более 12 %.

2.17. Выбор материала каркаса подвесных потолков (металлические или смешанные) проводят в зависимости от назначения и вида применяемых лицевых декоративно-отделочных элементов (см. табл. 1).

2.18. Относительная влажность и температура воздуха в помещениях при устройстве подвесных потолков должны соответствовать эксплуатационным условиям помещений предусмотренным проектом. Такие же условия должны быть и в помещениях, предназначенных для хранения деревянных и декоративных материалов для отделки потолков.

2.19. Лицевые элементы подвесного потолка (панели, плиты) необходимо устанавливать в соответствии с планом их раскладки по проекту.

2.20. Остальные элементы каркаса, в том числе соприкасающиеся с алюминиевыми изделиями, должны быть оцинкованными, а винты и болты - оцинкованными и кадмированными.

2.21. В данной инструкции рассматриваются технологии монтажа на металлическом каркасе подвесных потолков следующих конструкций:

- из алюминиевых штампованных панелей (рис. 4);

- из алюминиевых реек (рис. 5);

- из облицовочных плит «Акмигран» (рис. 6);

- из гипсовых декоративных плит «ГРП» (рис. 7);

- из гипсовых литых плит «Москва», «Мелодия» (рис. 8);

- из гипсокартонных перфорированных плит «АГШ», «АГШТ» (рис. 9);

- из декоративно-облицовочных вермикулитовых плит (рис. 10);

- из гипсокартонных листов (рис. 11).

Широко применяемые подвесные потолки производства зарубежных фирм («Армстронг», «УСГ» и др.) поставляются потребителю в комплекте и монтируются по технологиям фирм-изготовителей.

Рис. 3. Виды подвесок и элементов их крепления:

а) варианты подвесок; б) крепление кронштейнов пристрелкой; в) крепление кронштейнов при помощи распорных и закладных деталей

Рис. 4. Подвесной потолок из алюминиевых панелей:

1 - накладка стыковая; 2 - подвеска ПП-1; 3 - несущая арматура Æ14А1; 4 - опорный уголок; 5 - направляющая СПА-0017-3; 6 - панель алюминиевая штампованная

Рис. 5. Подвесной потолок из алюминиевых реек:

1 - алюминиевая рейка; 2 - направляющая СПА-2242; 3 - подвеска ПП-1; 4 - несущая арматура Æ14А1; 5 - опорный уголок; 6 - накладка стыковая

Таблица 1

Лицевые отделочные элементы

Каркасы подвесных потолков

Крепление каркаса

Способ крепления лицевых элементов

металлические

деревянные

смешанные метал. дерев.

Из алюминиевых сплавов

+

+

-

На выстреливаемых дюбелях или на анкерных выпусках

На подвесках из оцинкованной проволоки или полосы; на шурупах к деревянным брускам

Минераловатные отделочные акустические плиты «Акмигран»

+

+

+

То же

То же

На основе гипса плиты «ГРП», «Москва», «Мелодия»

+

-

-

-«-

-«-

Из гипсокартона плиты «АГШ», «АГШТ»

+

+

+

-«-

-«-

Из гипсокартонных листов

+

+

+

-«-

-«-

На основе вермикулита, плиты декоративно-облицовочные

+

-

+

-«-

-«-

На основе древесины (панели ДСП, ДВП и др.)

-

+

+

-«-

-«-

2.22. В практике строительства находит применение деревянный каркас для плит «Акмигран», «АГШ», «АГШТ».

2.23. Производство работ при устройстве подвесных потолков на деревянном каркасе состоит из монтажа черного и чистого каркасов и крепления плит. Черный каркас состоит из досок размером 80´25 мм и крепится к перекрытию дюбелями ДГ-5, пристрелкой из пистолета ПЦ-52-1.

2.24. Чистый каркас выполняется из брусков 60´35 мм или 60´50 мм, прибиваемых гвоздями 3´70 мм перпендикулярно черному каркасу.

2.25. Плиты крепят к брускам чистого каркаса шурупами 4´70 с шайбами, имеющими декоративное или антикоррозионное покрытие, для чего в плитах предварительно просверливают электродрелью по четыре отверстия с каждой стороны.

2.26. В зависимости от проектного решения и назначения помещения пространство между тыльной стороной плит и перекрытием может заполняться минераловатными полужесткими плитами.

2.27. Конструктивные схемы подвесных потолков с деревянным каркасом приведены на рис. 12.

2.28. Смешанный металлодеревянный каркас представляет собой черный каркас из металла, состоящий из направляющих (уголок 40´40´4), приваренных к монтажной арматуре, закладываемой в швы плит перекрытия с шагом 1200 - 1800 мм, и укрепленного на них с помощью подвесок чистого каркаса из деревянных поперечных брусков с сечением 40´40 мм с шагом 505 мм. Конструктивная схема подвесного потолка на смешанном каркасе приведена на рис. 13.

3. Общие требования по технологии устройства подвесных потолков

3.1. Подвесные потолки поэлементной сборки могут применяться в помещениях с относительной влажностью воздуха до 70 % и температурой не ниже 15 °С при отсутствии агрессивных сред.

Рис. 6. Подвесной потолок из облицовочных плит «Акмигран»:

1 - плита минераловатная 300´300´20; 2 - несущая арматура; 3 - направляющая СПА-2020; 4 - шпонка фибровая; 5 - подвеска ПП-6; 6 - наездник № 3

Рис. 7. Подвесной потолок из гипсовых декоративных плит «ГРП»:

1 - подвеска ПП-2; 2 - несущая арматура; 3 - гипсовая декоративная плита

Рис. 8. Подвесной потолок из гипсовых литых плит «Москва», «Мелодия»:

1 - направляющая; 2 - подвеска; 3 - скоба подвески; 4 - опорный уголок; 5 - наездник; 6 - подвеска П-2; 7 - болт М6 с гайкой и контргайкой; 8 - плита гипсовая

Рис. 9. Подвесной потолок из гипсокартонных перфорированных плит «АГШ», «АГШТ»:

1 - направляющая СПА-2020; 2 - зажим 3-1; 3 - поперечная вставка - элемент жесткости № 1; 4 - наездник № 2; 5 - несущая арматура; 6 - подвеска ПП-2 (ПП-1); 7 - плитный или листовой материал

Рис. 10. Подвесной потолок из декоративно-облицовочных вермикулитовых плит:

1 - подвеска потолочная; 2 - кронштейн; 3 - направляющая (алюминиевый профиль СПА-2020; СПА-2071; СПА-2617); 4 - наездник; 5 - скоба; 6 - дюбель-гвоздь; 7 - гайка М6 ГОСТ 5915-70; 8 - шайба 6 ГОСТ 11371-78; 9 - плита декоративная; 10 - гребенка

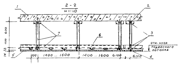
Рис. 11. Подвесной потолок из гипсокартонных листов:

1 - плита перекрытия; 2 - дюбель-гвоздь; 3 - винты ПШ-В-ДС; 4 - винты ПТ-Д-ОС; 5 - ГКЛ; 6 - профиль ПП-1; 7 - профиль ПС3 (ПС4)

Рис. 12. Конструктивные схемы подвесных потолков с деревянным каркасом:

1 - плиты потолочные; 2 - бруски черного каркаса; 3 - бруски чистого каркаса; 4 - гвозди; 5 - дюбели; 6 - плиты потолочные, 7 - шурупы; 8 - шайбы декоративные; 9 - плиты минераловатные

Рис. 13. Конструктивная схема подвесного потолка на смешанном каркасе:

1 - подвески; 2 - направляющие; 3 - брус 40´80 мм; 4 - брус 40´40 мм; 5 - плиты потолочные; 6 - металлические закладные детали МД-1; 7 - шурупы 4´40 мм; 8 - шурупы 4´30 мм

3.2. Монтаж потолков следует выполнять только в период отделочных работ (в зимнее время при подключенном отоплении).

3.3. Допустимый относительный прогиб для сборных подвесных потолков допускается не более 1/250 пролета. Конструкции потолков рассчитаны только на собственный вес и исключают возможность дополнительных монтажных нагрузок.

3.4. Прокладку трубопроводов водоснабжения в надпотолочном пространстве рекомендуется выполнять в лотках, закрепленных с уклоном в сторону расположения сантехнических шахт.

3.5. Крепление инженерных коммуникаций, вентиляционных коробов, трубопроводов и светильников к перекрытию должно выполняться на отдельных подвесках, не связанных с подвесками крепления подвесных потолков.

3.6. Все виды сборных подвесных потолков должны иметь конструктивное решение, позволяющее вести их монтаж снизу, а также снимать в любом месте отдельные панели или участки потолка для ремонта проводок или установки светильников.

3.7. В надпотолочном пространстве не допускается прокладка сгораемых элементов оборудования или материалов.

3.8. Перед монтажом производится сортировка плит по размеру, цвету и декоративной фактуре. Лицевая поверхность плит должна быть ровной, без околов углов и кромок, искривление поверхности не должно превышать 1 мм. Допускаемые отклонения линейных размеров плит ±0,5 мм.

3.9. Технологическая последовательность монтажа подвесных потолков, облицованных плитами:

При металлическом каркасе:

- произвести обмер помещения в натуре и разбить взаимоперпендикулярные оси;

- произвести разбивку направляющих потолков от осей помещения в обе стороны для определения размеров фризовых (крайних к стенам) плит, а также произвести разбивку мест расположения светильников, вентиляционных решеток и т.д.;

- произвести вынос отметок «чистого» потолка на стены и колонны;

- закрепить разбивку установкой маячных уголков или других приспособлений;

- установить опорные уголки на стены и колонны;

- после нанесения осей направляющих на перекрытие произвести разметку мест установки кронштейнов;

- закрепить кронштейны к перекрытию путем пристрелки при помощи пистолета ПЦ-52-1 дюбель-гвоздями ДГ-4 в соответствии с проектом на расстоянии 1200, 1500, 1800 мм с шагом 600 мм;

- установить регулируемые подвески и направляющие, соединив их между собой соединительными накладками или скобами, проверить правильность установки направляющих при помощи гибкого уровня;

- установить облицовочные плиты на нижнюю полку направляющих;

- для фиксации направляющих установить между ними гребенки через 1200 - 1800 мм.

При деревянном каркасе выполняют следующие технические операции:

- проверку соответствия размеченных мест пристрелки каркаса рабочим чертежам;

- установку и пристрелку дюбелями пристенных элементов каркаса;

- пристрелку дюбелями или крепление к выпускам арматуры черного каркаса из брусков или досок;

- прибивку гвоздями направляющих брусков основного каркаса к брускам черного каркаса;

- окончательную выверку каркаса по отношению к отметкам «чистого» потолка.

При смешанном каркасе производится:

- установка пристенных элементов каркаса;

- установка жестких подвесок в швы перекрытий с их закреплением;

- приварка направляющего элемента каркаса из стального уголка 40´40´4 к подвескам с выверкой его по уровню;

- установка по направляющим на стальных деталях заранее подготовленных деревянных элементов каркаса состоящих из продольных брусков сечением 40´80 мм с врезкой в них поперечных деревянных брусков 40´40 мм и креплением их одним шурупом;

- выверка горизонтальности низа поперечных брусков 40´40 мм и соответствия их «чистым» отметкам перед установкой облицовочных плит;

- монтаж облицовочных плит (крепление производится при помощи шурупов).

4. Устройство несущего каркаса из арматурной стали

4.1. Несущий каркас изготавливается из арматурной стали и состоит из анкеров и привариваемой к анкерам несущей арматуры

4.2. Анкер в плите перекрытия устанавливается в период строительства здания, диаметр анкера и длина его выпуска зависят от вида потолка и определяются проектом. К каркасу крепятся направляющие из алюминиевого или стального профиля.

4.3. Все детали черного каркаса должны быть защищены антикоррозийным покрытием.

4.4. Перед установкой подвесного потолка несущий каркас должен быть принят с составлением акта на скрытые работы.

4.5. В зависимости от вида применяемых подвесных потолков принимается несколько типов несущего каркаса из арматурной стали:

1) при устройстве подвесного потолка из алюминиевых панелей и алюминиевых реек в соответствии с проектом анкера устанавливаются на расстоянии 1200, 1500, 1800 мм с шагом 1000 мм, к ним приваривают горизонтальные несущие стержни из арматуры, диаметр которой принимается по проекту (рис 14);

2) при устройстве потолков из облицовочных минераловатных плит «Акмигран» и гипсокартонных перфорированных плит «АГШ», «АГШТ», анкера устанавливаются в соответствии с проектом на расстоянии 1200, 1500, 1800 мм с шагом 1200 мм;

к выпускам привариваются горизонтальные несущие стержни, диаметр которых зависит от шага и указывается в проекте;

3) при устройстве подвесных потолков из гипсовых литых декоративных плит «Москва», «Мелодия» анкера устанавливаются на расстоянии 1200, 1500, 1800 мм с шагом 1200, 1500 мм в соответствии с проектом; к анкерам приваривается несущий уголок 400´400´5, к несущему уголку под углом 90° приваривают несущую арматуру, диаметр которой должен быть указан в проекте;

4) при устройстве подвесных потолков из гипсовых декоративных плит ГРП анкера в соответствии с проектом устанавливаются на расстоянии 1200, 1500, 1800 мм с шагом 1200 мм, к анкерам приваривают арматуру диаметром 18А1 с шагом 425 мм;

5) при устройстве потолка из крупноразмерных декоративно-облицовочных вермикулитовых плит анкера в соответствии с проектом устанавливаются на расстоянии 1200, 1500, 1800 мм с шагом 1200, 1500 мм; к выпуску анкера приваривают горизонтальные несущие стержни, диаметр и шаг которых определяются проектом.

5. Подвесные потолки из алюминиевых панелей и реек

5.1. Для устройства подвесного потолка требуются:

- Облицовочный материал:

алюминиевые панели (ТУ 400-28-47-78) размерами 599´599´45 мм; 499´499´45 мм; заводская марка ППА.1.00.01 (рис. 4);

алюминиевые рейки (ГОСТ 24767-81) размером 129´6000 мм, заводская марка СА 15.100.0,8 (рис. 5).

Указанные изделия выпускаются АО «Мосметаллоконструкция» с перфорацией и без нее с анодированной или окрашенной поверхностью. Характер лицевой поверхности должен быть указан в проекте. На лицевой поверхности алюминиевой панели или алюминиевой рейки не должно быть неровностей, царапин, наплывов и подтеков краски.

Рис. 14. Конструктивная схема несущего каркаса из арматурной стали:

1 - штампованные алюминиевые панели; 2 - подвеска П-1; 3 - стык направляющий (CПА-0017-3); 4 - направляющая Н-1 (СПА-0017-3); 5 - анкера (по проекту); 6 - несущая арматура

- Изделия для устройства каркаса для панелей (рис. 4):

подвески ПП-1 заводская марка ППА.1.01.00;

направляющие Н-1, заводская марка СПА.0017-03;

стыковые накладки СН-1, заводская марка ППА.1.01.04.

- Изделия для устройства каркаса из реек (рис. 5):

подвески ПП-1;

направляющие Н-2, заводская марка СПА-2242;

стыковые накладки СН-2.

5.2. Все изделия для подвесных потолков должны поставляться на строительство комплектно, в упаковке, исключающей возможность их деформации и повреждения краски.

5.3. Монтаж подвесного потолка выполняется в технологической последовательности в соответствии с п. 3.8 и п. 3.9.

5.4. Монтаж подвесного потолка начинается от стены к центру. По мере установки подвесного потолка следует контролировать соответствие геометрических размеров и форм потолка требованиям проекта. Допускаемое отклонение от проектных отметок потолка ±10 мм.

5.5. Алюминиевые панели и рейки, примыкающие к стенам колоннам и т.п. конструкциям, обрезать по месту, плотно подгоняя их к вертикальным поверхностям.

5.6. Отклонение плоскости конструктивного подвесного потолка не должно превышать 2 мм (провес или западание) на длину контрольной рейки.

5.7. Поверхность потолка не должна иметь царапин, пятен и других повреждений.

5.8. Запрещается производство штукатурных, бетонных и малярных работ в непосредственной близости от установленных алюминиевых элементов конструкций. В случае необходимости производства указанных работ алюминиевые конструкции должны быть тщательно защищены от возможного попадания на них раствора, бетона, извести.

6. Подвесные потолки из минераловатных плит «Акмигран» на крахмальном связующем

6.1. Для устройства подвесного потолка требуются:

- Облицовочный материал:

плиты «Акмигран» (ТУ 400-1-495-91) размером 300´300´20 мм (рис. 6), плиты выпускаются АО ТИГИ-КНАУФ.

- Изделия для устройства каркаса (рис 6):

подвески со скобой ПП-1, ПП-6;

направляющие СПА-2020;

кронштейн.

- Крепежные соединительные детали:

соединительные накладки;

зажимы З-1;

наездник № 2;

шпонка фибровая;

гребенки.

6.2. Монтаж подвесного потолка выполняется в технологической последовательности в соответствии с п.п. 3.8 и 3.9.

6.3. Надвижку плит производят, заводя пазы плиты на полки направляющих, начиная с конца профиля, не доведенного до стены. Вставленные плиты продвигают поочередно по направляющим, заполняя ряд. Для обеспечения ровности поверхности потолка между смежными плитами в боковые пазы вставляются шпонки. Плиты должны плотно примыкать друг к другу.

6.4. Плоскость потолка должна быть горизонтальной. Допустимое отклонение от проектных отметок потолка ±10 мм.

6.5. Потолок должен быть однотонным. На поверхности потолка не должно быть пятен, околов кромок плит, а также зазоров в местах сопряжений плит с колоннами, светильниками и вентиляционными решетками.

7. Подвесные потолки из декоративных гипсовых плит «ГРП»

7.1. Для устройства подвесного потолка требуются:

- Облицовочный материал:

Декоративные гипсовые плиты (ТУ-21-31-10-86) размером 600´600´57 мм (рис. 7). Лицевая поверхность плит может иметь различный рельефный геометрический рисунок и может быть окрашена на заводе или в построечных условиях.

- Изделия для устройства каркаса (рис. 7):

подвески со скобой ПП-2;

металлические детали МД-4, МД-5.

7.2. Монтаж подвесного потолка выполняется в технологической последовательности в соответствии с п.п. 3.8 и 3.9.

7.3. Потолок должен быть однотонным.

7.4. Монтаж ведется в следующей последовательности:

установка фризовых плит вдоль пристенного уголка (обрезанную сторону плиты опирают на уголок, а две другие стороны крепят с помощью металлических деталей МД-4 и МД-5 к подвескам ПП-2).

7.5. Установка рядовых плит.

Плиты с установленными в пазах металлическими деталями МД-4 и МД-5 опирают на ранее установленные плиты, а две другие стороны с помощью двух подвесок ПП-2 крепят за направляющую. Подвеска ПП-2 дает возможность регулировать высоту надпотолочного пространства и производить выверку установленных плит.

7.6. Монтаж плит производят рядами от одной стены по направлению к противоположной.

7.7. Смонтированный потолок должен отвечать требованиям проекта. Искривление швов между плитами допускается не более 1 мм на 1 пог. м.

8 Подвесные потолки из звукопоглощающих литых гипсовых плит «Москва», «Мелодия»

8.1. Для устройства подвесного потолка требуются:

- Облицовочный материал:

Литые гипсовые плиты (ОСТ 21-26-84) размером 600´600´55 мм. Декоративные гипсовые плиты «Москва», «Мелодия» отличаются по рисунку перфорации на лицевой стороне плиты. Плиты «Москва» имеют на лицевой поверхности квадратные углубления размером 40´40 мм, плиты «Мелодия» выпускают с гладкой лицевой поверхностью и круглыми нерегулярными перфорационными отверстиями различного диаметра от 12 до 24 мм. Общий вид плит приведен на рис. 15.

Плиты должны быть правильной прямоугольной формы. Лицевая поверхность плит должна быть гладкой, без внешних дефектов. Лицевая поверхность может быть окрашена на заводе или в построечных условиях.

- Изделия для устройства каркаса (рис. 8):

подвески ПП-6;

направляющие СПА-2020;

крепежные соединительные детали;

соединительные накладки;

наездник № 3;

подвески П-2.

8.2. Монтаж подвесного потолка выполняется в технологической последовательности в соответствии с п.п. 3.8 и 3.9.

8.3. Начинают монтаж с установки фризовых плит. Установку плит производят рядами от одной стороны потолка по направлению к противоположной. Первую плиту устанавливают, опирая ее двумя сторонами на укрепленный на стене уголок, а противоположную сторону подвешивают на подвески.

8.4. Рядовые плиты опираются двумя сторонами на полку ранее установленных плит, а свободную сторону подвешивают на подвески.

8.5. Если крайние фризовые плиты имеют нестандартные размеры, их обрезают ножовкой с мелким зубом без повреждения кромок лицевой поверхности.

8.6. Подвески ПП-6 закрепляют к стальному каркасу.

8.7. Алюминиевые направляющие СП-2020 соединяют с подвесками ПП-6 наездником № 3, который устанавливают на верхнюю полку направляющей.

8.8. Затем устанавливают на нижнюю полку направляющей наездник П-2.

8.9. Несовпадение швов между плитами допускается не более 1,5 мм. Перепад высоты между плитами не должен быть более 1 мм.

Рис. 15. Гипсовые литые плиты «Москва», «Мелодия»

9. Подвесные потолки из гипсокартонных перфорированных плит «АГШ», «АГШТ»

9.1. Для устройства подвесного потолка требуются:

- Облицовочный материал:

Плиты гипсокартонные перфорированные (ТУ 400-1-283-82) размерами 500´500´8,5 мм, 600´600´8,5 мм, плиты выпускаются АО ТИГИ-КНАУФ.

Плиты имеют подстилающий слой из нетканого полотна и фильтровальной бумаги. Плиты должны быть правильной прямоугольной формы без внешних дефектов. Лицевая поверхность окрашивается в построечных условиях.

- Изделия для устройства каркаса (рис. 7):

кронштейны;

подвески со скобой ПП-2 или ПП-6;

направляющие алюминиевые СПА-2020;

поперечные вставки из СПА-2020.

- Крепежные соединительные детали:

соединительные накладки;

наездник № 2 для подвески ПП-2;

наездник № 3 для подвески ПП-6;

зажимы З-1.

9.2. Монтаж подвесного потолка выполняется в соответствии с п.п. 3.8 и 3.9.

9.3. После пристрелки кронштейнов к перекрытию или после устройства черного каркаса из арматуры к ним крепятся направляющие при помощи подвесок и наездников.

9.4. Установку плит производят рядами, от одной стороны потолка по направлению к противоположной.

9.5. Надвижку плит производят, заводя плиту на нижние полки направляющих, начиная с конца профиля, поочередно по направляющим, заполняя ряд.

9.6. Допустимое отклонение от проектных отметок потолка ±10 мм. Несовпадения швов между смежными плитами допускается не более 2 мм. Перепад высот между двумя плитами - не более 1,5 мм.

10. Подвесные потолки из декоративно-облицовочных вермикулитовых плит

10.1. Для устройства подвесного потолка требуются:

- Облицовочный материал:

декоративно-облицовочная вермикулитовая плита (ТУ-400-2-511-91) размером 597´597´20 мм.

Лицевая поверхность плит должна быть гладкой, без околов углов и кромок. Плиты должны быть правильной прямоугольной формы.

Искривление поверхности плиты не должно превышать 1 мм.

- Изделия для устройства каркаса (рис. 10):

кронштейны;

подвески со скобой;

направляющие профили из алюминиевого сплава типов СПА-2020, СПА-2071, СПА-2617 или из стального гнутого профиля.

Тип профиля определяется проектом. Направляющие должны иметь длину 6000 мм, продольные искривления не более 0,5 мм на 1 п.м. и скрутку не более 1° на 1 п.м.

- Крепежные соединительные детали:

зажимы;

скобы соединительные;

гребенки;

наездники.

Крепежные и соединительные детали должны иметь антикоррозионное покрытие, выполненное кадмированием или цинкованием.

10.2. Монтаж подвесного потолка выполняется в соответствии с п.п. 3.8 и 3.9.

10.3. Плиты заводят на нижнюю полку направляющих, начиная с конца профиля, не доведенного до стены. Вставленные плиты продвигают поочередно по направляющим, заполняя ряд.

10.4. Если применяются направляющие таврового сечения, то каждую плиту заводят между направляющими под углом (наклонно). Сначала опирают одну сторону плиты на полку направляющей, а затем опускают на другую направляющую.

10.5. Между двумя смежными плитами устанавливают элементы жесткости из профилей, соответствующих профилю продольных направляющих.

10.6. Плиты, примыкающие к стенам, колоннам и т.п. конструкциям, обрезают по месту, плотно подгоняя их к вертикальным поверхностям.

10.7. Плоскость лицевой поверхности потолка должна быть горизонтальной. Перепад высот между двумя смежными плитами должен быть не более 1 мм. Несовпадение швов между плитами не более 2 мм.

10.8. Смонтированный потолок должен соответствовать конкретному проекту.

10.9. Установка арматуры светильников вентиляционных решеток и т.д. производится в процессе монтажа подвесного потолка или после него, в последнем случае при монтаже подвесного потолка необходимо оставить места для установки арматуры и др. в соответствии с проектом.

11. Подвесные потолки из гипсокартонных листов на металлическом каркасе

11.1. Конструктивные решения потолков.

11.1.1. Конструкция потолков состоит из металлического каркаса, закрепленного к плоскости перекрытия дюбель-гвоздями, обшитого гипсокартонными листами (далее в тексте ГКЛ).

11.1.2. В зависимости от габарита помещения и принятых в проекте архитектурных решений применяются различные варианты сборки потолков, основными из которых являются: тип ГП-2, тип ГП-3, тип ГП-4.

11.1.3. Конструкция вышеуказанных потолков приводится в альбоме PC 55301 «Потолки из гипсокартонных листов на металлическом каркасе поэлементной сборки для жилых, общественных и промышленных зданий. Рабочие чертежи «Моспроект-2» 1989 г.

11.1.4. В разделе 11 настоящей инструкции приводятся ссылки на указанный альбом со следующей маркировкой типовых узлов например PC 55301-29, где

PC 55301 - серия типового альбома;

- 29 - номер листа альбома.

Основными металлоизделиями для устройства каркаса потолка, которые приводятся в альбоме PC 55301, являются:

ПН-2, ПН-3, ПН-4 - направляющие профили PC 55301-45;

ПС-2, ПС-3 ПС-4 - стоечные профили PC 55301-47;

ПП-4 - потолочный профиль PC 55301-46;

ПУ-2 - профиль угловой PC 55301-49;

ПБ-7 - профиль торцевой (буртик) PC 55301-50;

ПТ-Д-ОС - винты самосверлящие-самонарезающие PC 55301-51;

ПШ-Д-ОС - винты самосверлящие-самонарезающие PC 55301-53.

11.2. Технические требования к материалам.

11.2.1. Профили металлические тонкостенные оцинкованные должны соответствовать требованиям ТУ 400-28-287-81.

11.2.2. По согласованию с заказчиком профили могут изготавливаться длиной от 2,5 до 6,0 м.

11.2.3. Самонарезающие самосверлящие винты должны удовлетворять требованиям ТУ 400-28-461-84, иметь сертификаты заводов-изготовителей, удостоверяющие их качество.

11.2.4. Основные параметры и размеры профилей и винтов должны соответствовать проекту.

11.2.5. Листы ГКЛ должны удовлетворять требованиям ГОСТ 6266-81. Размеры листов, которые выпускает АОСП «ТИГИ-КНАУФ», должны быть: по длине 2500, 2700, 2900 и 3000 мм; по ширине 1200 мм, по толщине 14 мм.

Длина листов определяется при заказе.

11.2.6. Отклонения от номинальных размеров ГКЛ, требования к поверхности, величина и количество дефектов на лицевой поверхности не должны превышать норм, указанных в ГОСТ 6266-81.

11.2.7. Влажность ГКЛ, получаемых с завода-изготовителя, не должна быть больше 1 %. Объемная масса ГКЛ должна быть 850±50 кг/м3.

11.3. Технологические требования к монтажу каркаса для подвесного потолка из ГКЛ.

11.3.1. Перед началом работ по устройству потолков должны быть:

- представлены исполнительные съемки элементов конструкций, к которым крепится каркас потолка;

- произведен обмер помещения в натуре и разбиты взаимоперпендикулярные оси.

11.3.2. Монтаж потолков следует выполнять только в период отделочных работ (в зимнее время при подключенном отоплении) после того как:

- закончены в полном объеме все работы по герметизации стыков примыкания перегородок к строительным конструкциям;

- закончены все отделочные работы, кроме завершающей окраски или оклейки стен обоями;

- все инженерные коммуникации, включая изоляцию трубных разводок, проходящих в запотолочном пространстве, должны быть закончены и сданы по акту.

11.3.3. Выбор типа потолка определяется конкретным проектом. Ключ для выбора дан в PC 55301-П3 табл. 4.

Потолок ГП-2

11.3.4. Потолок ГП-2 (PC 55301-01) применяется в помещениях ограниченной ширины без устройства вертикальных подвесок. Каркас потолка состоит из:

- горизонтальных направляющих типа ПН-3 (при ширине помещения до 2,4 м) или ПН-4 (при ширине помещения до 2,8 м), закрепленных непосредственно к продольным стенам помещения;

- стоечных профилей типа ПС-3 или ПС-4, закрепленных к продольным направляющим с шагом 400 мм, к которым крепится обшивка из ГКЛ.

11.3.5. На продольных стенах согласно проектным отметкам с учетом обшивки ГКЛ установить по магнитному уровню направляющие типа ПН и закрепить с помощью:

- дюбель-гвоздей с шагом 400 мм, если вертикальные продольные ограждающие конструкции выполнены из кирпича или бетона. Длина дюбель-гвоздя должна быть не менее 3 см.

- если вертикальные продольные ограждающие конструкции выполнены из гипсокартонных перегородок, крепление направляющих к перегородкам выполнять только к металлическим стойкам каркаса перегородок.

11.3.6. В продольные направляющие с шагом 400 мм установить поперечные профили типа ПС и закрепить с помощью просекателя ОР-361 методом «просечки с отгибом». Длина профиля ПС на 8…10 мм должна быть меньше расстояния между станками профиля ПН. Допускается выполнять крепление самонарезающими-самосверлящими винтами.

Потолок ГП-3

11.3.7. Потолок ГП-3 (PC 55301-02) применяется при различных габаритах помещения без ограничения. Основной каркас потолка выполняется из профилей ПС-3 или ПС-4, устанавливаемых с шагом 1,2 м, закрепляемых к перекрытию на подвесках и того же профиля на дюбель-гвоздях. К основному каркасу потолка на винтах закрепляется потолочный профиль ПП-1 с шагом 400 мм, к которому прикрепляется винтами обшивка ГКЛ.

Потолок ГП-4

11.3.8. Потолок ГП-4 (PC 55301-03) применяется в помещениях, где отсутствуют разводки коммуникаций в надпотолочном пространстве и не применяются встроенные светильники.

Потолочный профиль ПП-1 закрепляется непосредственно к перекрытию на дюбель-гвоздях с шагом 400 мм.

Выравнивание плоскости потолка осуществляется с помощью набора подкладок из ДВП. К потолочному профилю закрепляется обшивка потолка из ГКЛ.

11.3.9. Во всех случаях вышеуказанных потолков шаг каркаса для крепления обшивки ГКЛ толщиной 14 мм должен быть не более 400 мм.

11.3.10. Выполнить разбивку подвесок потолка исходя из следующих условий:

- шаг подвесок в одном направлении должен быть не более 1,2 м;

- шаг подвесок в другом направлении определяется принятым в проекте типом профиля ПС;

- во всех случаях разбивка подвесок и выбор направления шага определяется по конкретному проекту.

11.3.11. Закрепить подвески к перекрытию дюбель-гвоздями (не менее двух штук на подвеску) через крепежный элемент из профиля типа ПС длиной 100…150 мм (PC 55301-02). При этом отверстия в стенках крепежных элементов не допускаются. Размер дюбель-гвоздя зависит от марки бетона перекрытия. Длина дюбель-гвоздя должна быть не менее 4 см.

11.3.12. При креплении подвесок к пустотным плитам перекрытия крепежный элемент профиля ПС должен быть длиной не менее 200 мм и располагаться поперек пустот плит, а количество дюбель-гвоздей принимать не менее трех (PC 55301-13 узлы 11, 12).

11.3.13. Крепление подвесок к крепежным элементам выполнять самонарезающими-самосверлящими винтами типа ПШ-Д-ОС. Длина винта определяется проектом.

11.3.14. Длина подвесок определяется из условия расстояния между плоскостью перекрытия и уровнем подвесного потолка по конкретному проекту.

11.3.15. На стенах, ограждающих помещение, закрепить направляющие типа ПН в соответствии с п. 11.3.5, обеспечивая плотное примыкание потолка к ограждающим конструкциям стен.

11.3.16. Закрепить к подвескам и направляющим горизонтальные элементы каркаса из профиля ПС с шагом 1200 мм. Крепление выполнять на винтах типа ПШ, которые предусмотрены в проекте PC 55301-09.

Потолок ГП-4

11.3.17. Подвесные потолки ГП-4 предусмотрены четырех вариантов (см PC 55301-П3 табл. 4).

Независимо от варианта произвести разбивку осей крепления направляющих (потолочных профилей) к перекрытию. 1-й вариант. Выполнить пристрелку потолочного профиля ПП-1 с шагом 400 мм. Выравнивание плоскости профиля - по магнитному уровню за счет набора прокладок из ДВП.

11.3.18. При неровностях плоскостей от 1 до 2 мм рекомендуется установить профиль ПП-1 в двух уровнях (см. PC 55301-П3 табл. 1, потолок ГП-4 2-й вариант), либо применять потолок ГП-3.

11.3.19. Монтаж каркаса потолков ГП-4 3 и 4 вариантов выполнять по аналогии с 1-м и 2-м вариантами.

11.4. Требования к монтажу ГКЛ

11.4.1. Обшивка потолков выполняется листами ГКЛ толщиной 14 мм с обжатыми по всей длине кромками в один слой. При этом листы ГКЛ на монтаже располагать поперек каркаса. Стыковка листов ГКЛ выполняется вразбежку. Решение стыка скрытое, стык заделывается шпаклевкой и проклеивается бумажной или тканевой лентой.

11.4.2. Крепление ГКЛ осуществлять винтами типа ПТ с шагом 300 мм при помощи электрошуруповерта с магнитной головкой типа ИЭ-3605.

11.4.3. Все поперечные швы ГКЛ располагать вразбежку.

11.4.4. Стыки прямых кромок ГКЛ должны отступать от оси профиля каркаса на 50…100 мм для возможности качественного выполнения герметизации стыка (PC 55301-08, -10).

11.4.5. В местах установки встроенных элементов в плоскость потолка (светильники, лючки и т.п.) в листах ГКЛ выполнять прорези.

11.4.6. Крепление потолков сложных форм и конфигураций выполнять на основе требований, изложенных для потолка типа ГП-3. При этом необходимо:

- в 1,5 - 2 раза сократить шаг подвесок в сравнении с требованиями PC 55301-П3 табл. 4;

- в местах перегибов, изломов потолка обязательно устанавливать дополнительные элементы каркаса из профиля типа ПС (PC 55301-28, -29);

- потолочный профиль ПП-1 устанавливать с шагом не более 400 мм, (PC 55301-38).

11.4.7. В местах перепадов потолка на внешних углах установить угловые профили ПУ-2, закрепив их угловым просекателем (PC 55301-29).

11.4.8. При устройстве декоративных прорезей все открытые кромки ГКЛ закрывать буртиком типа ПБ-7. (PC 55301-31, -38, -40).

11.4.9. Если по проекту гипсокартонные потолки должны принимать криволинейные формы (PC 55301-35), то для этого необходимо один конец ГКЛ закрепить неподвижно и, осторожно прижимая к шаблону, изгибать лист до нужной кривизны, предварительно его увлажнив. Для увеличения гибкости ГКЛ в нем с шагом 25…30 мм делают поперечные прорези (для вогнутых - с обратной стороны листа, для выпуклых - с лицевой).

11.4.10. В местах перепадов потолка на прямых углах устанавливается угловой профиль ПУ-2, закрепленный угловым просекателем (PC 55301-28).

11.4.11. Для проведения профилактических осмотров в период эксплуатации в плоскости потолка должны быть предусмотрены лючки, которые устанавливаются по конкретному проекту (PC 55301-48) и позволяют осуществлять контроль состояния инженерных коммуникаций, скрытых подвесным потолком.

11.5. Технологические требования к герметизации швов и к подготовке ГКЛ к отделке

11.5.1. Стык между ГКЛ должен быть незаметным, т.е. не выходить за лицевую плоскость, что обеспечивается обжатыми продольными кромками листа (PC 55301-06).

Стык выполняется при помощи шпатлевки «Суглик» или «Помелакс».

11.5.2. Перед началом шпаклевочных работ необходимо осмотреть поверхность ГКЛ, выявить и устранить имеющиеся дефекты:

- разнотолщинность ГКЛ в стыках;

- выступающие части крепежных элементов;

- вмятины и повреждения ГКЛ.

11.5.3. Все продольные стыки ГКЛ заделывать шпаклевкой по перфорированной бумажной или тканевой ленте.

11.5.4. Операцию по заделке стыка выполнять в следующей последовательности:

- приготовить раствор шпаклевки;

- нанести предварительно грунтовочный слой на стык ГКЛ, образованный соединением обжатых кромок;

- наложить строго по оси стыка бумажную или тканевую ленту, прижимая ее к свежеуложенному слою шпаклевки, предварительно покрыв обратную ее сторону ПВА;

- ленту разгладить по всей ширине шпателем до образования ровной гладкой поверхности, вжимая в уложенный шпаклевочный слой;

- покрыть ленту тонким слоем шпаклевки, при этом не допускать образования пузырей и складок;

- дать просохнуть грунтовочному слою;

- нанести накрывочный слой шпаклевки (только после полного высыхания и твердения грунтовочного слоя) шпателем шириной 20…25 см. Края шпаклевочной полосы должны образовать плавный переход между ГКЛ.

11.5.5. Стыки поперечных и прямых кромок обработать теркой-зачисткой, для чего необходимо:

- снять с лицевой стороны ГКЛ фаску, исключая этим образование уступа в стыке;

- расщепить лицевой картон на стыке ГКЛ;

- срезать картон на ширину, равную скрытому стыку, не обнажая сердцевину ГКЛ;

- обработать стык по типу скрытого стыка как указано в п. 11.5.4. (PC 55301-08).

11.5.6. Все внутренние углы обработать аналогично операции по заделке прямого стыка, бумажную или тканевую ленту согнуть в продольном направлении по центру стыка, смазывая шпаклевкой обе стороны угла.

Для обработки внутренних углов рекомендуется пользоваться угловым шпателем.

11.5.7. Покрытие угловых накладок ПУ-2 и буртиков ПБ-7 шпаклевкой выполнять аналогично п. 11.5.4. и п. 11.5.6 с предварительной проклейкой профиля бумажной или тканевой лентой на клее ПВА (PC 55301-42).

11.5.8. Сопряжение обшивки потолка со строительными ограждающими конструкциями должно быть плотным (PC 55301-5). При этом все стыки ГКЛ со строительными ограждающими конструкциями должны быть заполнены герметиком на всю глубину стыка (пакля, смоченная гипсополимерным составом и др.)

11.6. Требования к отделке потолков.

11.6.1. Перед покрытием поверхности потолков красками или эмалями, после завершения шпаклевочных операций, изложенных выше, для получения однородного колера рекомендуется перед нанесением окончательной отделки покрыть всю поверхность потолка тонким слоем шпаклевки с последующей грунтовкой водными составами.

11.6.2. При высококачественной отделке рекомендуется после завершения шпаклевочных операций наклеить на всю поверхность потолка нетканое вискозное полотно (ТУ 12-9814-80) с последующей шпаклевкой и окраской в соответствии с проектом.

11.6.3. Лакокрасочные составы наносить на предварительно огрунтованные плоскости потолков механизированным (при помощи распылителей) или ручным (кистью, валиком) способом.

После нанесения каждого последующего слоя лакокрасочного состава производится его сушка в соответствии с ТУ на данный материал.

11.6.4. Все встроенные элементы в подвесной потолок (лючки, решетки и т.п.) отделываются согласно указаниям в конкретном проекте.

12. Основные требования по технике безопасности при производстве работ

12.1. Монтаж подвесных потолков следует выполнять с соблюдением требований СНиП III-А-4-80 «Техника безопасности в строительстве».

12.2. К монтажу потолков допускаются лица не моложе 18 лет, прошедшие инструктаж на рабочем месте по технике безопасности, производственной санитарии, обученные приемам работ и имеющие удостоверение на право производства работ.

12.3. Рабочие должны быть обеспечены спецодеждой и средствами индивидуальной защиты.

12.4. Устройство подвесных потолков осуществлять специализированным инструментом, обеспечивающим механизацию процесса сборки металлического каркаса потолков. Для крепления ГКЛ следует использовать электрошуруповерты с магнитной головкой.

12.5. Учитывая специфику работ, необходимо монтаж и отделку потолков выполнять только специализированным организациям, обладающим опытом по монтажу и отделке этих конструкций.

12.6. Применяемые при производстве работ оборудование, оснастка и приспособления для монтажа подвесного потолка должны соответствовать условиям безопасности выполнения работ.

Подача материалов на рабочие места должна осуществляться в технологической последовательности, обеспечивающей безопасность работ.

Складировать материалы и оборудование на рабочих местах следует так, чтобы они не создавали опасность при выполнении работ и не стесняли проходы.

Освещенность на участках работ должна быть равномерной, без слепящего действия осветительных приборов на работающих.

Для защиты головы работающего от механических повреждений при производстве работ необходимо применение касок, ГОСТ 12.4.087-80.

12.7. При устройстве подвесных потолков используются приспособления, предназначенные для удобства и безопасности работы (леса, универсальные сборно-разборные подмости, инвентарные столики) в зависимости от высоты помещения и его объема.

Приспособления не должны быть источником опасных производственных факторов.

12.8. При высоте рабочего настила 1,3 м и более необходимо устраивать защитные ограждения. Высота защитных ограждений должна быть не менее 1,2 м.

12.9. При использовании электросварочных аппаратов и электрифицированного инструмента для обеспечения защиты людей от опасного и вредного действия электрического тока необходимо выполнять требования нормативно-технической документации в приложении 1 СНиП III-4-80 п. 11.

12.10. Токоведущие части электроустановок должны быть изолированы, ограждены или размещены в местах, недоступных для прикосновения к ним.

12.11. Места производства электросварочных работ должны быть освобождены от сгораемых материалов в радиусе не менее 5 м, а от взрывоопасных материалов - 10 м.

Металлические части электросварочного оборудования, не находящиеся под напряжением, а также свариваемые элементы и конструкции на все время сварки должны быть заземлены.

12.12. При работе монтажно-поршневым пистолетом обязательно выполнение требований «Инструкции по технике безопасности для оператора, работающего с монтажно-поршневым пистолетом ПЦ-52-1 на строительных объектах Главмосстроя» (Мосоргпромстрой. М. 1976).

12.13. Распиловку плит для подвесных потолков и других материалов следует производить в специально выделенных местах, где не допускается нахождение лиц, не участвующих в данной работе.

13. Транспортировка и хранение элементов подвесных потолков

13.1. Металлические тонкостенные профили потолков должны поставляться на объекты пакетами любым видом транспорта при условии защиты их от механических повреждений.

13.2. Пакеты с профилями должны храниться под навесом.

13.3. Поставщик профилей должен гарантировать соответствие их нормативным документам при соблюдении потребителем условий транспортировки и хранения. Срок гарантии - 12 месяцев со дня отгрузки потребителю.

13.4. Плиты и гипсокартонные листы должны транспортироваться от завода-изготовителя на строительный объект в водонепроницаемой заводской упаковке, не допускающей механических повреждений.

13.5. При транспортировке ГКЛ и плиты должны находиться в горизонтальном положении, а высота штабеля не должна превышать 1,5 м. По согласованию завода-изготовителя с потребителем допускается транспортировать ГКЛ без упаковки при соблюдении требований, изложенных в п. 13.1.

13.6. Хранить плиты и ГКЛ следует в сухом закрытом помещении при температуре окружающего воздуха не ниже +5 °С на расстоянии 1,5 м от отопительных приборов.

13.7. Винты, которые применяются для крепления ГКЛ, могут перевозиться любым видом транспорта, упакованными в ящики или в коробки, снабженные ярлыками.

Срок гарантии для винтов 18 месяцев со дня поступления их потребителю.

СОДЕРЖАНИЕ

1. Общие положения. 1

2. Конструкции сборных подвесных потолков, материалы и требования к ним.. 1

3. Общие требования по технологии устройства подвесных потолков. 6

4. Устройство несущего каркаса из арматурной стали. 10

5. Подвесные потолки из алюминиевых панелей и реек. 10

6. Подвесные потолки из минераловатных плит «Акмигран» на крахмальном связующем.. 11

7. Подвесные потолки из декоративных гипсовых плит «ГРП». 12

8 Подвесные потолки из звукопоглощающих литых гипсовых плит «Москва», «Мелодия». 12

9. Подвесные потолки из гипсокартонных перфорированных плит «АГШ», «АГШТ». 13

10. Подвесные потолки из декоративно-облицовочных вермикулитовых плит. 13

11. Подвесные потолки из гипсокартонных листов на металлическом каркасе. 14

12. Основные требования по технике безопасности при производстве работ. 18

13. Транспортировка и хранение элементов подвесных потолков. 19

 

 




ГОСТЫ, СТРОИТЕЛЬНЫЕ и ТЕХНИЧЕСКИЕ НОРМАТИВЫ.
Некоммерческая онлайн система, содержащая все Российские Госты, национальные Стандарты и нормативы.
В Системе содержится более 150000 файлов нормативно-технической документации, действующей на территории РФ.
Система предназначена для широкого круга инженерно-технических специалистов.

Рейтинг@Mail.ru Яндекс цитирования

Copyright © www.gostrf.com, 2008 - 2026