Крупнейшая бесплатная информационно-справочная система онлайн доступа к полному собранию технических нормативно-правовых актов РФ. Огромная база технических нормативов (более 150 тысяч документов) и полное собрание национальных стандартов, аутентичное официальной базе Госстандарта. GOSTRF.com - это более 1 Терабайта бесплатной технической информации для всех пользователей интернета. Все электронные копии представленных здесь документов могут распространяться без каких-либо ограничений. Поощряется распространение информации с этого сайта на любых других ресурсах. Каждый человек имеет право на неограниченный доступ к этим документам! Каждый человек имеет право на знание требований, изложенных в данных нормативно-правовых актах!

  


 

ГОСТ 12479-67

МЕЖГОСУДАРСТВЕННЫЙ СТАНДАРТ

ОПОРЫ ПОСТОЯННЫЕ ВЫСОКИЕ

КОНСТРУКЦИЯ

ИПК ИЗДАТЕЛЬСТВО СТАНДАРТОВ

Москва

МЕЖГОСУДАРСТВЕННЫЙ СТАНДАРТ

ОПОРЫ ПОСТОЯННЫЕ ВЫСОКИЕ

Конструкция

High, permanent supports. Design

ГОСТ

12479-67

Дата введения 01.07.67

1. Конструкция и размеры постоянных высоких опор должны соответствовать чертежу и таблице.

Размеры, мм

Обозначения опор

Применяемость

Исполнение

d

Н

L

D

h

S hl3

d1

d2

с

Масса, кг

7034-0191

 

1

6

16

24

10

4

8

М6

-

1,0

0,006

7034-0192

 

18

26

0,007

7034-0193

 

20

28

0,007

7034-0194

 

22

30

0,008

7034-0195

 

25

34

0,008

7034-0196

 

1

8

25

36

14

6

10

М8

-

1,6

0,015

7034-0197

 

28

38

0,017

7034-0198

 

32

42

0,018

7034-0199

 

36

46

0,019

7034-0200

 

40

50

0,021

7034-0201

 

10

32

45

16

8

12

М10

-

0,028

7034-0202

 

36

48

0,030

7034-0203

 

40

52

0,032

7034-0204

 

45

58

0,036

7034-0205

 

50

63

0,049

7034-0206

 

2

55

68

18

14

14

0,060

7034-0207

 

60

72

0,064

7034-0208

 

70

82

0,073

7034-0209

 

80

92

0,082

7034-0210

 

1

12

36

52

20

10

17

М12

-

2,5

0,053

7034-0211

 

40

55

0,057

7034-0212

 

45

60

0,061

7034-0213

 

50

65

0,066

7034-0214

 

55

70

0,070

7034-0215

 

60

75

0,075

7034-0216

 

2

70

85

22

19

18

-

0,118

7034-0217

 

80

95

0,132

7034-0218

 

90

105

0,146

7034-0219

 

1

16

100

115

0,159

7034-0220

 

50

70

25

12

22

М16

-

2,5

0,120

7034-0221

 

55

75

0,129

7034-0222

 

60

80

0,136

7034-0223

 

70

90

0,151

7034-0224

 

80

100

0,167

7034-0225

 

2

90

ПО

28

24

22

-

0,243

7034-0226

 

100

120

0,265

7034-0227

 

110

130

0,288

7034-0228

 

125

145

0,321

7034-0229

 

140

160

0,354

7034-0230

 

160

180

0,396

7034-0231

 

1

20

80

105

16

М20

-

2,5

0,264

7034-0232

 

90

115

0,289

7034-0233

 

100

125

0,314

7034-0234

 

2

110

135

36

30

28

-

0,374

7034-0235

 

2

20

125

150

36

16

30

М20

28

-

0,411

7034-0236

 

140

165

0,448

7034-0237

 

160

185

0,498

7034-0238

 

180

205

0,547

7034-0239

 

200

225

0,596

7034-0240

 

1

22

100

130

36

18

30

М24

4,0

0,473

7034-0241

 

110

140

0,467

7034-0242

 

2

125

155

42

36

-

0,748

7034-0243

 

140

170

0,821

7034-0244

 

160

190

34

0,918

7034-0245

 

180

210

1,008

7034-0246

 

200

230

1,111

7034-0247

 

220

250

1,218

Пример условного обозначения постоянной высокой опоры размерами d = 6 мм, Н = 16 мм:

Опора 7034-0191 ГОСТ 12479-67

(Измененная редакция, Изм. № 1).

2. Материал - сталь марки 45 по ГОСТ 1050. Допускается замена на стали других марок с механическими свойствами не ниже, чем у стали марки 45.

3. Твердость опорной сферической поверхности - 41,5 ... 46,5 HRCэ.

4. Неуказанные предельные отклонения размеров:

3, 4. (Измененная редакция, Изм. № 2).

5. Резьба метрическая - по ГОСТ 24705. Поле допуска резьбы - 6g по ГОСТ 16093.

6. Размеры проточек и фасок для резьбы - по ГОСТ 10549. Для d112 - проточки под резьбу узкие.

(Измененная редакция, Изм. № 1, 2).

7. (Исключен, Изм. № 1).

8. Покрытие - Хим. Окс. прм (обозначение покрытия - по ГОСТ 9.306).

9. Маркировать партию деталей одного типоразмера на таре или упаковке с указанием условного обозначения.

8, 9. (Измененная редакция, Изм. 2).

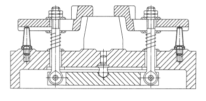
10. Пример применения высоких опор указан в приложении.

(Введен дополнительно, Изм. № 2).

ПРИЛОЖЕНИЕ
Справочное
ПРИМЕР ПРИМЕНЕНИЯ ПОСТОЯННЫХ ВЫСОКИХ ОПОР

ИНФОРМАЦИОННЫЕ ДАННЫЕ

1. РАЗРАБОТАН И ВНЕСЕН Министерством тяжелого, энергетического и транспортного машиностроения СССР

Министерством станкостроительной и инструментальной промышленности СССР

РАЗРАБОТЧИКИ

В.В. Андреев; В.Н. Дзегиленок, канд. техн. наук; В.А. Петрова; К.И. Сокольский; А.З. Старосельский (руководитель темы); А.В. Хренова; Т.А. Шестакова

2. УТВЕРЖДЕН И ВВЕДЕН В ДЕЙСТВИЕ Постановлением Комитета стандартов, мер и измерительных приборов при Совете Министров СССР от 03.01.67 № 55

3. ВЗАМЕН МН 5408-64

4. ССЫЛОЧНЫЕ НОРМАТИВНО-ТЕХНИЧЕСКИЕ ДОКУМЕНТЫ

Обозначение НТД, на который дана ссылка

Номер пункта

ГОСТ 9.306-85

ГОСТ 1050-88

ГОСТ 10549-80

ГОСТ 16093-81

ГОСТ 24705-81

8

2

6

5

5

5. Постановлением Госстандарта СССР от 17.03.88 № 569 снято ограничение срока действия

6. ПЕРЕИЗДАНИЕ (октябрь 1999г.) с Изменениями № 1 и 2, утвержденными в июне 1980г., марте 1988г. (ИУС 9-80, 6-88)

 




ГОСТЫ, СТРОИТЕЛЬНЫЕ и ТЕХНИЧЕСКИЕ НОРМАТИВЫ.
Некоммерческая онлайн система, содержащая все Российские Госты, национальные Стандарты и нормативы.
В Системе содержится более 150000 файлов нормативно-технической документации, действующей на территории РФ.
Система предназначена для широкого круга инженерно-технических специалистов.

Рейтинг@Mail.ru Яндекс цитирования

Copyright © www.gostrf.com, 2008 - 2026