Крупнейшая бесплатная информационно-справочная система онлайн доступа к полному собранию технических нормативно-правовых актов РФ. Огромная база технических нормативов (более 150 тысяч документов) и полное собрание национальных стандартов, аутентичное официальной базе Госстандарта. GOSTRF.com - это более 1 Терабайта бесплатной технической информации для всех пользователей интернета. Все электронные копии представленных здесь документов могут распространяться без каких-либо ограничений. Поощряется распространение информации с этого сайта на любых других ресурсах. Каждый человек имеет право на неограниченный доступ к этим документам! Каждый человек имеет право на знание требований, изложенных в данных нормативно-правовых актах!

  


 

МЕЖГОСУДАРСТВЕННЫЙ СТАНДАРТ

ВИНТЫ УСТАНОВОЧНЫЕ С КВАДРАТНОЙ ГОЛОВКОЙ И ЦИЛИНДРИЧЕСКИМ КОНЦОМ КЛАССОВ ТОЧНОСТИ А И В

Конструкция и размеры

Square-head dog-point set screws.
Product grades A and B. Construction and dimensions

ГОСТ
1482-84

Дата введения 01.01.86

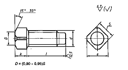
1. Настоящий стандарт распространяется на установочные винты с номинальным диаметром резьбы от 6 до 20 мм.

2. Конструкция и размеры винтов должны соответствовать указанным на чертеже и в таблице.

мм

Номинальный диаметр резьбы d

6

8

10

12

16

20

Размер под ключ S

7

8

10

12

17

22

Высота головки k

6

7

8

10

14

18

Диаметр описанной окружности е

9

10

13

16

22

28

Длина винта l

12

 

-

-

-

-

-

14

 

 

-

-

-

-

16

 

 

 

-

-

-

20

 

 

 

 

-

-

25

 

 

 

 

 

-

30

 

 

Стандартные длины

 

-

35

 

 

 

 

40

-

 

 

 

 

 

45

-

-

 

 

 

 

50

-

-

 

 

 

 

55

-

-

-

 

 

 

60

-

-

-

 

 

 

65

-

-

-

-

 

 

70

-

-

-

-

 

 

75

-

-

-

-

 

 

80

-

-

-

-

 

 

90

-

-

-

-

-

 

100

-

-

-

-

-

 

Пример условного обозначения винта класса точности Д диаметром резьбы мм, с полем допуска 6g, длиной l = 25 мм, класса прочности 14Н, без покрытия:

Винт B.M10-6g×25.14Н ГОСТ 1482-84

То же, класса точности А, класса прочности 45Н, из стали 40Х с химическим окисным покрытий пропитанным маслом:

Винт A.M10-6g×.25.45H.40X.05 ГОСТ 1482-84

Тоже, из латуни ЛС 59-1, без покрытия:

Винт A.M10-6g× 25.32 ГОСТ 1482-84

1.2. (Измененная редакция, Изм. № 1).

3. Резьба - по ГОСТ 24705, шаг резьбы - крупный. Недорез резьбы - нормальный по ГОСТ 10549.

4. Радиус под головкой - по ГОСТ 24670.

5. Конец винта - цилиндрический по ГОСТ 12414.

6. Допуски и методы контроля размеров, отклонений формы и расположения поверхностей - по ГОСТ 1759.1.

7. Дефекты поверхности и методы контроля - по ГОСТ 1759.2.

8. Механические свойства и методы испытаний винтов: из углеродистой и легированной стали - по ГОСТ 25556, из коррозионно-стойкой, жаропрочной, теплоустойчивой стали и из цветных сплавов - по ГОСТ 1759.1, ГОСТ 1759.2, ГОСТ 1759.4.

(Измененная редакция, Изм. № 1).

9. Винты должны изготовляться с покрытиями: цинковым хроматированным, кадмиевым хроматированным, никелевым, окисным, пропитанным маслом, фосфатным, пропитанным маслом, или без покрытия.

10. Остальные технические требования - по ГОСТ 1759.0.

(Измененная редакция, Изм. № 1).

11. Теоретическая масса винтов указана в приложении.

ПРИЛОЖЕНИЕ
Справочное

Теоретическая масса 1000 шт. стальных винтов, кг

Длина винта ,l мм

Номинальный диаметр резьбы d, мм

6

8

10

12

16

20

12

4,17

-

-

-

-

-

14

4,60

7,60

-

-

-

-

16

4,78

8,27

13,53

_

-

-

20

5,68

9,50

15,29

24,46

-

-

25

6,56

11,10

18,10

28,11

62,21

-

30

7,44

12,70

20,62

31,74

68,88

-

35

8,33

14,30

23,13

35,06

75,55

140,24

40

-

15,87

25,64

39,01

82,23

150,04

45

-

-

28,15

42,67

88,90

160,44

50

-

-

30,66

46,28

95,57

170,84

55

-

-

-

49,91

102,24

181,34

60

-

-

-

53,54

110,84

191,74

65

-

-

-

-

115,54

202,14

70

-

-

-

-

122,24

212,54

75

-

-

-

-

128,94

229,24

80

-

-

-

-

135,54

242,44

90

-

-

_

-

-

254,34

100

-

-

-

-

-

275,24

Примечание. Для определения массы винтов, изготовленных из других материалов, значения массы, указанные в таблице, должны быть умножены на коэффициент: 0,97 - для бронзы, 1,08 - для латуни, 0,356 - для алюминиевого сплава.

ПРИЛОЖЕНИЕ. (Измененная редакция, Изм. № 1).

ИНФОРМАЦИОННЫЕ ДАННЫЕ

1. РАЗРАБОТАН И ВНЕСЕН Министерством станкостроительной и инструментальной промышленности СССР

РАЗРАБОТЧИКИ

В.Г. Серегин, А.М. Свиридов, Н.И. Антонова, Н.И. Денисова

2. УТВЕРЖДЕН И ВВЕДЕН В ДЕЙСТВИЕ Постановлением Государственного комитета СССР по стандартам от 08.05.84 № 1589

3. ВЗАМЕН ГОСТ 1482-75

4. ССЫЛОЧНЫЕ НОРМАТИВНО-ТЕХНИЧЕСКИЕ ДОКУМЕНТЫ

Обозначение НТД, на который дана ссылка

Номер пункта

ГОСТ 1759.0-87

10

ГОСТ 1759.1-82

6, 8

ГОСТ 1759.2-82

7, 8

ГОСТ 1759.4-87

8

ГОСТ 10549-80

3

ГОСТ 12414-94

5

ГОСТ 24670-81

4

ГОСТ 24705-2004

3

ГОСТ 25556-82

8

5. ИЗДАНИЕ с Изменением № 1, утвержденным в июле 1987 г. (ИУС 12-87)

 




ГОСТЫ, СТРОИТЕЛЬНЫЕ и ТЕХНИЧЕСКИЕ НОРМАТИВЫ.
Некоммерческая онлайн система, содержащая все Российские Госты, национальные Стандарты и нормативы.
В Системе содержится более 150000 файлов нормативно-технической документации, действующей на территории РФ.
Система предназначена для широкого круга инженерно-технических специалистов.

Рейтинг@Mail.ru Яндекс цитирования

Copyright © www.gostrf.com, 2008 - 2026