Крупнейшая бесплатная информационно-справочная система онлайн доступа к полному собранию технических нормативно-правовых актов РФ. Огромная база технических нормативов (более 150 тысяч документов) и полное собрание национальных стандартов, аутентичное официальной базе Госстандарта. GOSTRF.com - это более 1 Терабайта бесплатной технической информации для всех пользователей интернета. Все электронные копии представленных здесь документов могут распространяться без каких-либо ограничений. Поощряется распространение информации с этого сайта на любых других ресурсах. Каждый человек имеет право на неограниченный доступ к этим документам! Каждый человек имеет право на знание требований, изложенных в данных нормативно-правовых актах!

  


 

ЕДИНЫЕ НОРМЫ И РАСЦЕНКИ НА СТРОИТЕЛЬНЫЕ, МОНТАЖНЫЕ И РЕМОНТНО-СТРОИТЕЛЬНЫЕ РАБОТЫ

Сборник Е39

ПОДВОДНО-ТЕХНИЧЕСКИЕ РАБОТЫ

Содержание

ВВОДНАЯ ЧАСТЬ

ГЛАВА 1 ВОДОЛАЗНОЕ ОБСЛЕДОВАНИЕ И ПОДВОДНЫЕ ЗЕМЛЯНЫЕ РАБОТЫ

§ Е39-1. Водолазное обследование дна акватории по ходовому тросу

§ Е39-2. Водолазное обследование конструкций подводных частей гидротехнических сооружений

§ Е39-3. Водолазное обследование уложенных трубопроводов

§ Е39-4. Снятие поперечников (профилей) с прощупыванием грунта

§ Е39-5. Разработка подводного грунта канатно-скреперной установкой

§ Е39-6. Разработка (размыв) подводного грунта гидромониторами

§ Е39-7. Разработка подводного грунта грунтососами

§ Е39-8. Заполнение камнем или щебнем размывов (пустот) под трубопроводами

ГЛАВА 2 СВАРОЧНО-МОНТАЖНЫЕ РАБОТЫ И УКЛАДКА ТРУБОПРОВОДОВ ЧЕРЕЗ РЕКИ И ВОДОЕМЫ

§ Е39-9. Сборка звеньев труб диаметром 1620 мм в плеть

§ Е39-10. Изготовление заглушек на трубопроводы

§ Е39-11. Гидравлическое испытание трубопроводов

§ Е39-12. Монтаж и сварка плетей трубопроводов на плаву

§ Е39-13. Монтаж и приварка "уток" к трубопроводу

§ Е39-14. Футеровка трубопроводов деревянными рейками

§ Е39-15. Устройство опор спусковой дорожки

§ Е39-16. Укладка плетей трубопроводов кранами-трубоукладчиками на спусковую дорожку

§ Е39-17. Спуск со стапеля на воду плетей трубопровода

§ Е39-18. Укладка трубопроводов в подводную траншею протаскиванием по дну

§ Е39-19. Укладка трубопроводов в подводную траншею заполнением водой (свободное погружение)

§ Е39-20. Укладка трубопроводов в подводную траншею со льда заполнением водой

§ Е39-21. Укладка секций трубопроводов на дно подводной траншеи и стыковка их на фланцах

§ Е39-22. Установка под водой соединительных муфт на секциях трубопроводов

§ Е39-23. Подводное соединение "уток" с трубопроводами на фланцах

§ Е39-24. Установка на трубопроводы балластных грузов

§ Е39-25. Установка универсальных жестких (стальных) понтонов на трубопроводы и снятие их

ГЛАВА 3 ПОДВОДНЫЕ РАБОТЫ С МЕТАЛЛИЧЕСКИМИ КОНСТРУКЦИЯМИ

§ Е39-26. Подводная электродуговая резка стали

§ Е39-27. Подводная электрокислородная резка стали и труб

§ Е39-28. Подводная электросварка

§ Е39-29. Перепиливание металлических конструкций ручной ножовкой

§ Е39-30. Срубка заклепок в металлических конструкциях

§ Е39-31. Постановка заглушек на водоприемные отверстия и снятие их

§ Е39-32. Постановка и снятие болтов в трубах и прочих металлических конструкциях

§ Е39-33. Укладка железнодорожных рельсов под водой

§ Е39-34. Очистка металлических конструкций от обрастания, краски и ржавчины под водой

ГЛАВА IV ПОДВОДНЫЕ РАБОТЫ С ДЕРЕВЯННЫМИ КОНСТРУКЦИЯМИ

§ Е39-35. Установка деревянных элементов конструкций гидротехнических сооружений

§ Е39-36. Установка хомутов

§ Е39-37. Постановка стяжек

§ Е39-38. Устройство шипов на сваях

§ Е39-39. Перепиливание и наращивание отдельных венцов ряжей

§ Е39-40. Спиливание свай и шпунтовых рядов

§ Е39-41. Наращивание деревянных свай

§ Е39-42. Обшивка подводных конструкций и заделка щелей в шпунтовых рядах

§ Е39-43. Постановка деревянных пробок длиной до 100 мм в отверстия

§ Е39-44. Постановка деревянных прокладок толщиной до 100 м в зазоры деревянных конструкций

§ Е39-45. Выравнивание свай

§ Е39-46. Сверление отверстий, постановка и снятие болтов

§ Е39-47. Выпиливание окон в шпунтовых стенках, в сплошном свайном ряду или ряже

§ Е39-48. Забивка и вытаскивание ершей, скоб, глухарей, костылей, гвоздей

§ Е39-49. Разборка деревянных конструкций вручную

§ Е39-50. Выдергивание деревянных свай

§ Е39-51. Разборка деревянных настилов вручную

§ Е39-52. Разборка деревянных конструкций с помощью плавучего крана

§ Е39-53. Подводная конопатка щелей в гидротехнических сооружениях

ГЛАВА 5 ПОДВОДНЫЕ БУРОВЗРЫВНЫЕ РАБОТЫ

§ Е39-54. Бурение шпуров под водой

§ Е39-55. Патронирование порошкообразного ВВ и изготовление боевых зарядов для подводного взрывания

§ Е39-56. Рыхление грунта под водой взрывами накладных и шпуровых зарядов

§ Е39-57. Рыхление песчаного грунта взрывами накладных зарядов

§ E39-58. Рыхление грунта под водой в зимних условиях взрывами накладных зарядов

§ E39-59. Взрывание накладными зарядами отдельных камней, свай, топляков и других затопленных предметов

§ E39-60. Взрывание стальных конструкций под водой

§ E39-61. Взрывание под водой элементов сооружений (устоев мостов, плотин, подпорных стенок)

§ E39-62. Взрывание льда

§ Е39-63. Перевозка зарядов ВВ в лодке и на санях

ГЛАВА 6 РАЗНЫЕ РАБОТЫ

§ Е39-64. Подъем из воды разных предметов

§ Е39-65. Очистка подводной траншеи от валунов

§ Е39-66. Очистка дна водоема от камней

§ Е39-67. Переноска и перекидка камня под водой

§ Е39-68. Прокладка тросов через водоем

§ Е39-69. Устройство и разборка деревянных якорей (анкерных опор) тяжелого типа

§ Е39-70. Устройство П-образной береговой опоры для скрепера

§ Е39-71. Установка и разборка щитовой опалубки для подводного бетонирования

§ Е39-72. Укладка бетонной смеси в бадьях

§ Е39-73. Укладка бетонной смеси в мешках

§ Е39-74. Укладка мешков с песком в подводную траншею

§ Е39-75. Пробивка отверстий в каменных и бетонных стенах

§ Е39-76. Пробивка окон в каменной и бетонной кладке

§ Е39-77. Разборка каменной кладки и гранитной облицовки

§ Е39-78. Срубка бетона под водой пневматическими отбойными молотками

§ Е39-79. Выдергивание стальных и железобетонных свай с помощью плавучего крана

Разработаны Государственным институтом проектирования на речном транспорте (Гипроречтранс) Министерства речного флота РСФСР под методическим руководством и при участии Центрального бюро нормативов по труду в строительстве (ЦБНТС) при ВНИПИ труда в строительстве Госстроя СССР.

Технология производства работ, предусмотренная в сборнике, согласована с отделом проектирования подводных сооружений Гипроречтранса.

Ведущие исполнители - С.З. Прилуцкий, Л.А. Павлюченкова (Гипроречтранс).

Исполнители - В.Н. Фадеев, С.А. Муратова (Гипроречтранс), В.П. Гробов (ЦБНТС).

Ответственный за выпуск - В. П. Гробов (ЦБНТС).

Утверждены постановлением Государственного комитета СССР по труду и социальным вопросам, Государственного строительного комитета СССР и Всесоюзного Центрального Совета Профессиональных Союзов от 5 декабря 1986 г. № 43/512/29-50 для обязательного применения на строительных, монтажных и ремонтно-строительных работах.

ВВОДНАЯ ЧАСТЬ

1. Сборник содержит нормы на подводно-технические работы по обследованию дна водоема и конструкций частей гидросооружений, устройство подводных траншей и котлованов, укладку трубопроводов в подводные траншеи, работы с металлическими и деревянными конструкциями под водой, подводные взрывные работы, а также на ряд специфических водолазных работ.

2. Нормами настоящего Сборника предусмотрено выполнение работ с соблюдением правил техники безопасности в соответствии со CНиП III-4-80 "Техника безопасности в строительстве", действующими правилами техники безопасности на реках, водохранилищах, озерах и морях, а также действующей системой стандартов безопасности труда (ССБТ), "Едиными правилами охраны труда на водолазных работах".

3. Нормами предусмотрено производство работ на плаву с применением самоходных и несамоходных судов, плавучих технических средств, а также с берега или с гидротехнических и других сооружений, и со льда. В последних случаях плавучие технические средства заменяются механизмами и оборудованием, обеспечивающими безопасное выполнение работ. Состав и количество судов, плавучих технических средств и механизмов, обеспечивающих производственный процесс и не указанных в параграфах норм, устанавливаются проектом производства работ. Применяемые суда и плавучие технические средства должны отвечать требованиям правил плавания, Речного Регистра РСФСР или Регистра СССР. Оплата экипажей судов и плавучих технических средств нормами и расценками не учтена.

4. Нормами учтено и дополнительной оплате не подлежит время, необходимое на перемещение материалов и изделий только в пределах места работы (подноска, разноска и подъем на подмости и т.п.) на расстояние до 20 м, за исключением отдельных случаев, оговоренных в соответствующих параграфах; перемещение плавучих технических средств в процессе работ в пределах рабочей зоны; перемещение водолазных станций и судов на расстояние до 30 м; подготовку водолазного снаряжения, одевание, раздевание, спуск и подъем водолаза.

Подноска материалов и изделий на расстояние св. 20 м, перемещение плавучих технических средств вне пределов рабочей зоны, водолазных станций на расстояние св. 30 м, перемещение судов и плавучих технических средств к месту работ и обратное возвращение их к местам постоянной стоянки нормируются отдельно.

5. В параграфах, предусматривающих применение плавучих технических средств и механизмов (водолазных катеров, катеров буксирных, барж, плавучих кранов и плавучих средств для работы водолазной станции с передвижным компрессором или помпой, шлюпок, гидромониторов, электросварочных аппаратов, насосов и других машин и плавучих средств), оборудования, инвентаря и т.п., нормы времени и расценки исчислены только для тех рабочих, которые участвуют в монтаже, строповке и перемещении элементов конструкций. Оплата экипажей судов, плавучих технических средств нормами и расценками не учтена. Нормы времени рабочих, обслуживающих плавучие технические средства и механизмы, а также обеспечивающих работу водолазной станции, определяются по норме времени водолазной станции умноженной на коэффициент 1,14, учитывающий разницу в недельной продолжительности рабочего времени водолазов и рабочих (соответственно 36 и 41 ч).

В параграфах, в которых предусматривается дежурство водолазной станции, затраты труда последней определяются проектом производства работ, а оплата производится повременно.

6. При наличии факторов, замедляющих темпы работ или вынуждающих временно приостанавливать работы (метеорологические условия, пропуск судов, плотов и т.п.), время простоя оплачивается особо на основании справок гидрометеослужбы или соответствующих актов.

7. В Сборнике нормы времени водолазных станций приводятся в станцие-часах, рабочих - в человеко-часах. В параграфах, предусматривающих выполнение работ машинами, в скобках приводятся Н. вр. одной машины в машино-часах.

8. При производстве подводных работ размещение водолазных станций предусматривается на специальных водолазных судах или других плавучих технических средствах.

9. Нормами предусматривается полное укомплектование водолазных станций снаряжением и оборудованием (в том числе и страхующим), а также всеми необходимыми средствами обеспечения работ на течении, при волнении, на глубине, в различное время суток, предусмотренными "Едиными правилами безопасности труда на водолазных работах".

10. Нормы разработаны из условий работы на водолазной станции не менее трех водолазов при использовании мягкого трехболтового или двенадцатиболтового водолазного снаряжения вентилируемого типа.

Запрещается использование норм настоящего Сборника при нормировании подводно-технических работ, выполняемых водолазами в инжекторно-регенеративном и регенеративном снаряжении, а также в снаряжении с открытой схемой дыхания.

11. Во всех параграфах норм, предусматривающих работы с применением водолазных станций, подача воздуха водолазу предусмотрена от водолазного компрессора, расположенного на водолазных катерах. При размещении водолазных станций на берегу, сооружении на льду или на плавучих средствах, не имеющих водолазных компрессоров, подача воздуха водолазу производится от водолазного электрокомпрессора или мотокомпрессора. В состав звена при этом следует вводить машиниста водолазного компрессора 5 разр., а при подаче воздуха от водолазной помпы с ручным приводом - речных рабочих 2 разр. (качальщиков) в следующем количестве: при работе водолаза на глубине до 6 м - 3 чел.; св. 6 м до 12 м - 4 чел.; св. 12 до 20 м - 8 чел.

В последнем случае воздух должен подаваться от двух спаренных водолазных помп с ручным приводом, с обслуживанием каждой помпы четырьмя речными рабочими 2 разр. (качальщиками).

На глубинах св. 20 м воздух водолазу должен подаваться только от водолазного компрессора, причем водолазные спуски должны быть обеспечены декомпрессионными камерами, работа по обслуживанию которых учитывается особо.

Нормы времени машиниста водолазного компрессора и речных рабочих (качальщиков) определяются но нормам времени водолазной станции, умноженным на коэффициент 1,14.

12. Нормы рассчитаны исходя из выполнения водолазных работ в объеме, соответствующем выработке водолазной станции за один водолазный спуск продолжительностью не менее половины рабочей смены.

13. Нормами предусматривается выполнение подводно-технических работ водолазами на реках, водохранилищах, озерах и морях (за исключением оговоренных случаев) в нормальных условиях.

Нормальными условиями для выполнения подводно-технических водолазных работ считаются: скорость течения воды не менее 0,5 м/с; волнение менее 2 баллов (высота волны менее 50 см); глубина от 2,5 до 12 м; радиус видимости под водой не менее 1 м; передвижение водолаза на грунте свободное; температура воды не менее 4° и не выше 37 °С; работа в светлое время суток; отсутствие загрязненности воды вредными примесями.

14. При производстве водолазных работ в условиях, отличных от нормальных, к нормам времени и расценкам водолазных станций, рабочих, обслуживающего персонала плавучих технических средств, непосредственно обеспечивающих работу водолазов, следует применять коэффициенты, приведенные в таблице, за исключением случаев, оговоренных в соответствующих параграфах. Применение указанных коэффициентов допускается только при подтверждении условий работ справками гидрометеослужбы и соответствующими актами.

В исключительных случаях (невозможность получения гидрометеоданных в районе производства работ) условия работ могут быть подтверждены специальными двусторонними актами.

Условия работы

Коэффициент

При работе на глубине, м:

 

менее 2,5 и от 12 до 20

1,1 (ВЧ-1)

 

св. 20 “ 25

1,4 (ВЧ-2)

 

“ 25 “ 30

2,3 (ВЧ-3)

 

“ 30 “ 35

3,2 (ВЧ-4)

 

“ 35 “ 40

4,3 (ВЧ-5)

 

“ 40 “ 45

5,2 (ВЧ-6)

 

“ 45 “ 50

8,6 (ВЧ-7)

 

“ 50 “ 55

11 (ВЧ-8)

 

“ 55 “ 60

12 (ВЧ-9)

При скорости течения, м/c:

 

от 0,5 до 1

1,2 (ВЧ-10)

св. 1 “ 1,5

1,4 (ВЧ-11)

При волнении от 2 до 3 баллов

1,4 (ВЧ-12)

При температуре воды ниже 4 °С (при отсутствии обогревающих костюмов) и выше 37 °С, а также при наличии загрязненности воды вредными примесями

1,25 (ВЧ-13)

При работе на вязком или захламленном грунте, с беседки или подо льдом

1,15 (ВЧ-14)

При работе в стесненных условиях (колодцы, туннели, трубопроводы, патерны при расстоянии между сваями, трубами и др. менее 1,5 м)

1,3 (ВЧ-15)

При радиусе видимости под водой, м:

 

менее 1

1,2 (ВЧ-16)

При отсутствии видимости

1,3 (ВЧ-17)

Коэффициенты на условия видимости применяются для общего состояния водоема в период работ. Изменение видимости в процессе выполнения отдельных операций нормами учтено.

Состав и допускаемые предельные показатели вредных примесей в воде, обусловливающие применение коэффициента 1,25, при производстве водолазных работ регламентируются органами санитарного надзора.

При наличии одновременно нескольких видов специфических условий работы водолазов соответствующие коэффициенты перемножаются.

На подводно-технические работы, не связанные с затратами труда водолазов и выполняемые при отрицательной температуре воздуха в надводных условиях, следует применять усредненные коэффициенты на зимние условия работ, приведенные в Общей части ЕНиР. Применение этих коэффициентов на водолазные работы, а также на работы, выполняемые только в зимних условиях, запрещается.

15. Коэффициенты к Н. вр. и Расц. на видимость, приведенные в п. 14 к § Е39-6 и § Е39-7, не применять.

16. При выполнении водолазных работ в темное время суток должно применяться подводное и надводное освещение. На поверхности должны освещаться места, где производятся подготовка к спуску и спуск водолазов, приборы управления устройствами, обеспечивающими спуск и выполнение работ, поверхность воды над местом работы водолазов.

Для подводного освещения в целях увеличения освещенности и дальности видимости предметов применяются специальные светильники. Обслуживание осветительных установок нормами не учитывается и оплачивается отдельно.

17. Выполнение водолазных работ при волнении на акватории морей, озер и водохранилищ св. 3 баллов, а также при работе возле берега в зоне прибоя на глубине до 3 м не разрешается.

18. Все ледокольные работы (устройство майн, околка льда около судов, плавучих технических средств, трубопроводов и др.) нормами не учитываются и должны нормироваться по соответствующим параграфам сб. В13 "Строительство речных гидротехнических сооружений и подводных переходов", вып. 1 "Выправительные и берегоукрепительные работы".

19. Нормами предусмотрено выполнение водолазных работ на высоте 0,6 до 1 м от поверхности грунта. При работе на высоте менее 0,6 м от поверхности грунта Н. вр. и Расц. применять коэффициент 1,4 (ВЧ-18). При работе на высоте св. 1 м от поверхности грунта работу следует выполнять с подвесной беседки и применять коэффициент в соответствии с п. 14.

20. Тарифные ставки водолазов приняты в соответствии с "Положением об условиях оплаты труда водолазов", утвержденным Постановлением Госкомтруда СССР и Секретариата ВЦСПС от 28 августа 1987 г. № 521/25-49. Расценки для водолазной станции приведены для первой группы специализации водолазных работ из расчета часовой тарифной ставки трех водолазов III класса (1-26´3 = -78 руб.) при шестичасовом рабочем дне. В тех случаях, когда по условиям производства работ число водолазов на одной водолазной станции увеличивается, расценки пересчитываются умножением Н. вр. водолазной станции на тарифную ставку водолаза III класса и число водолазов.

Увеличение числа водолазов (св. 3) принимается в соответствии с действующей системой стандартов безопасности труда на водолазных работах.

Водолазам II и I класса выплачивается ежемесячная надбавка в размере 15 и 25 % тарифной ставки водолаза III класса.

21. Расценки для рабочих подсчитаны без учета повышения тарифных ставок на работах с тяжелыми, вредными, особо тяжелыми и особо вредными условиями труда.

22. Тарификация рабочих произведена по ЕТКС, вып. 3 раздел "Строительные, монтажные и ремонтно-строительные работы", утвержденным Госкомтрудом СССР, Госстроем СССР и ВЦСПС 17 июля 1985 г. Речные рабочие на подводно-технических, габионных и фашинных работах, выполняемых с поверхности; машинисты передвижных электросварочных агрегатов с двигателем внутреннего сгорания, машинисты компрессоров передвижных с двигателем внутреннего сгорания в составе звеньев параграфов норм для краткости именуются соответственно "речные рабочие", "машинисты электросварочных агрегатов" и "машинисты компрессоров".

ГЛАВА 1

ВОДОЛАЗНОЕ ОБСЛЕДОВАНИЕ И ПОДВОДНЫЕ ЗЕМЛЯНЫЕ РАБОТЫ

Техническая часть

1. Нормами настоящей главы предусмотрены водолазное обследование, устройство подводных выемок грунторазрабатывающими механизмами и разные земляные работы, выполняемые водолазами.

2. Водолазное обследование дна водоемов и подводных частей гидротехнических сооружений проводят с целью получения исходных данных для организации производства работ по строительству и ремонту подводных сооружений и обеспечения контроля за правильным исполнением работ в процессе строительства, ремонта и эксплуатации.

3. Классификация грунтов для разработки их гидромониторами и плавучими землесосными снарядами принята в соответствии со СНиП IV-2-82.

4. Во всех параграфах настоящей главы нормы исчислены для грунтов в состоянии естественной плотности по замеру в котловане или траншее. Объемы работ определяются по профилям, снятым до начала и после окончания работ.

5. При устройстве траншей и котлованов, сложенных грунтами различных групп, нормы времени определяются как средневзвешенные по соотношению объемов грунтов различных групп, залегающих в пределах забоя.

Пример. При разработке подводной траншеи объемом 300 м3, в том числе: 100 м3 - 33 % песчано-илистого грунта и 200 м3 - 67 % гравелистого грунта, канатно-скреперной установкой с ковшом емкостью 0,75 м3 при длине скреперования до 50 м средняя норма времени в соответствии с § Е39-5, табл. 3, пп. 2 "а" и 2 "б" будет равна: 0,33´9,4+0,67´16,5 = 14,16 маш.-ч на 100 м3 грунта.

6. До начала производства подводных земляных работ должны быть выполнены следующие подготовительные работы: а) водолазное обследование зоны разработки грунта и очистка ее от топляков, деревьев, пней, кустарника, металлического лома и камней; б) разбивка прорезей трассы траншеи и установка створных знаков; в) установка вех и светящихся буев для обозначения мест отвала грунта, расположенного вблизи судоходного фарватера; г) установка основной и контрольных водомерных реек и увязка их нулей с отсчетным уровнем и постоянным репером.

Водомерная рейка должна устанавливаться вблизи места работы снаряда, быть неподвижной и удобной для пользования ею.

Перечисленные подготовительные работы нормами не учитываются.

7. Нормами настоящей главы учтена разработка малозасоренных грунтов грунторазрабатывающими установками, когда время остановок их при работе на отсос не превышает в общей сложности 5 % времени, затраченного на непосредственную разработку грунтов в течение смены без учета технологических перерывов и всех видов простоев.

При разработке грунтов в забоях, поросших камышом или содержащих включения валунов, камней, топляков, пней, корней деревьев и т.п., наличие которых вызывает остановки механизмов в размере от 5 до 30 % времени, затраченного на непосредственную разработку грунтов в течение смены, нормы выработки § Е39-6 и § Е39-7 следует умножить на соответствующие коэффициенты, приведенные в сб. Е2 "Земляные работы, вып. 2 "Гидромеханизированные земляные работы".

Применение указанных коэффициентов должно подтверждаться соответствующими актами.

8. При разработке грунта в траншее и котловане производятся периодические промеры с целью определения размеров выемок и проверки соответствия оси разрабатываемой траншеи проектному створу перехода.

Методы производства промерных работ, а также необходимые для этих целей технические средства устанавливаются проектом производства работ.

9. Нормами настоящей главы не предусмотрены и оплачиваются особо следующие работы: а) околка льда вокруг плавсредств; б) потери времени, связанные с периодическими пропусками судов и плотов; в) периодические промеры разрабатываемых выемок; г) обслуживание дежурной водолазной станцией канатно-скреперной установки и работы по устранению обрывов тросов и опрокидываний ковшей при разработке подводных траншей.

10. При разработке грунта в зимних условиях в связи с отрицательной температурой воздуха, что вызывает усложнение технологического процесса и уменьшение коэффициента использования рабочего времени, а также в связи с наличием факторов, снижающих производительность труда рабочих (стесненность движений теплой одеждой, неудобства при работе в рукавицах, понижение видимости в зимнее время, наличие на рабочем месте снега и т.п.), нормы выработки § Е39-5 следует умножать на коэффициенты, приведенные в соответствующей таблице сб. Е2 "Земляные работы", вып. 2 "Гидромеханизированные земляные работы".

Таблица 1

Распределение грунтов по группам при разработке их гидромониторами и земснарядами производительностью 14 - 18 м3/ч при работе на размыв

Группа грунтов

Грунты

Гранулометрическая характеристика грунтов (размеры частиц, мм, количество их по массе, %)

глинистых менее 0,005

пылеватых 0,005-0,05

песчаных

гравийных 2-40

галечных 40-60

мелких 0,05-0,25

средних 0,25 -0,5

крупных 0,5-2

I

Грунты, предварительно разрыхленные, неслежавшиеся

До 40

Не регламентируются

До 50

-

-

II

Пески мелкие

До 3

До 15

Св. 50

До 50

До 1

-

Пески пылеватые

До 3

Не регламентируются

 

 

-

Супеси (частиц менее 0,005 до 6 %)

3-6

 

 

 

-

Лесс высокопористый (коэффициент пористости св. 0,8)

До 8

До 70

Не регламентируются

 

-

III

Торф, сильно разложившийся

 

Не регламентируются

-

-

Пески средней крупности

До 3

Не регламен- Св. 50 До 50тируются

До 5

До 1

Супеси (частиц менее 0,005 до 10 %)

6-10

 

До 50

До 5

До 1

Суглинки (частиц менее 0,005 до 15 %)

 

Не регламентируются

 

 

 

Лесс низкопористый (коэффициент пористости меньше 0,8)

До 15

До 70

Не регламентируются

 

 

IV

Пески крупные

До 3

 

Св. 50

5-15

До 1

Супеси (частиц менее 0,005 до 15 %)

6-15

Не регламентируются

 

 

 

Суглинки (частиц менее 0,005 до 30 %)

15-30

Не регламентируются

До 10

 

Глины (частиц менее 0,005 до 40 %)

До 40

 

 

 

V

Пески гравелистые

До 5

То же

До 25

Глины (частиц менее 0,005 до 50 %)

40-50

 

до 15

VI

Пески гравелистые

До 5

До 40

Глины (частиц менее 0,005 до 60 %)

50-60

 

до 15

Примечание. По группе 1 нормируются предварительно разрыхленные грунты, предусмотренные настоящей таблицей, кроме грунтов с содержанием гравия св. 1 % и глин VI группы. Грунты с содержанием гравия и гальки св. 1 % и глины VI группы, предварительно разрыхленные, относятся к ближайшей низшей по трудности разработки группе; например, предварительно разрыхленные грунты V группы относятся к IV группе.

Таблица 2

Распределение грунтов по группам при разработке их плавучими землесосными снарядами производительностью 45, 29, 22 м3/ч при работе на отсос и грунтососами

Группа грунтов

Грунты

Гранулометрическая характеристика грунтов (размеры частиц, мм, количество их по массе, %)

глинистых
менее 0,005

пылеватых
0,005-0,05

песчаных

мелких
0,05-0,25

мредних
0,25-0,5

крупных
0,5-

I

Пески мелкие

 

До 15

Св. 50

До 50

До 15

Пески средней крупности

 

 

До 50

Св. 50

 

Пески пылеватые

До 3

До 20

Не регламентируются

Илы (коэффициент пористости св. 1,5)

 

 

Не регламентируются

II

Пески средней крупности, пески крупные и гравелистые

До 3

До 15

До 50

До 50

Св. 15

Пески пылеватые

До 3

20-50

Не регламентируются

Супеси (частиц менее 0,005 до 6 %)

3-6

До 50

 

III

Пески средней крупности

До 3

Не регламентируются

Супеси (частиц менее 0,005 до 10 %)

6-10

До 50

Не регламентируются

IV

Пески гравелистые

До 3

 

Суглинки (частиц менее 0,005 до 15 %)

10-15

Не регламентируются

V

Гравийный

До 5

 

Суглинки (частиц менее 0,005 до 20 %)

15-20

То же

VI

Гравийный

До 5

 

Суглинки (частиц менее 0,005 до 30 %)

20-30

Не регламентируются

Глины (частиц менее 0,005 до 40 %)

До 40

 

Продолжение табл. 2

Группа 

грунтов

Грунты

Гранулометрическая характеристика грунтов (размеры частиц, мм, количество их по массе, %)

гравийно-галечных фракций в зависимости от производительности землесосных снарядов (по пульпе), м3

до 1000

до 2000

св. 2000

2-20

2-40

2-60

2-20

2-60

2-80

2-20

2-60

2-120

I

Пески мелкие

3

2

1

4

2

1

5

3

1

Пески средней крупности

 

 

 

 

 

 

 

 

 

Пески пылеватые

 

 

 

 

 

 

 

 

 

Илы (коэффициент пористости св. 1,5)

 

 

 

 

 

 

 

 

 

II

Пески средней крупности, пески крупные и гравелистые

6

5

3

8

6

3

10

7

5

Пески пылеватые

 

 

 

 

 

 

 

 

 

Супеси (частиц менее 0,005 до 6 %)

 

 

 

 

 

 

 

 

 

III

Пески средней крупности

12

10

8

12

11

10

15

12

10

Супеси (частиц менее 0,005 до 10 %)

8

6

5

10

8

6

12

10

8

IV

Пески гравелистые

25

22

20

30

25

20

30

27

25

Суглинки (частиц менее 0,005 до 15 %)

12

8

6

14

10

8

15

12

10

V

Гравийный

35

30

25

35

30

25

40

35

30

Суглинки (частиц менее 0,005 до 20 %)

15

12

10

15

12

10

20

15

12

VI

Гравийный

45

40

35

45

40

35

50

45

40

Суглинки (частиц менее 0,005 до 30 %)

15

12

10

15

12

10

20

15

10

Глины (частиц менее 0,005 до 40 %)

 

 

 

 

 

 

 

 

 

§ Е39-1. Водолазное обследование дна акватории по ходовому тросу

Указания по применению норм

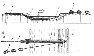
Нормами предусмотрены водолазное обследование дна водоема и подводных котлованов (рис. 1) для определения степени их засоренности посторонними предметами с определением характера и положения их на грунте, установка плавучих знаков в местах обнаружения препятствий или предметов, проверка границ котлованов по контуру и осям, а также состояния дна и откосов.

Нормами учтено обследование дна акватории с разбивкой на полосы шириной до 50 м, по обеим сторонам которых по дну укладываются направляющие тросы.

Рис. 1. Водолазное обследование дна водоема по ходовому тросу

1 - водолазный бот; 2 - границы обследования; 3 - обследуемая полоса (ширина); 4 - ось обследуемой полосы; 5 - ходовой трос; 6 - буйки; 7 - направляющие тросы

В начале обследуемой полосы, поперек ее, укладывается ходовой трос (лучше белый хлопчатобумажный) длиной 60 м, имеющий на концах балласт с буйками.

Водолаз осматривает дно, передвигаясь вдоль ходового троса от одного конца к другому. После перемещения ходового троса на расстояние двойной видимости в данных условиях водолаз передвигается вдоль этого троса в обратном направлении, обследуя следующий участок дна водоема. Перемещение ходового троса вместе с балластом и буями осуществляется речными рабочими с плавсредств.

Обнаруженные предметы отмечаются буйками, доставляемыми на шлюпке речными рабочими.

Состав работы

1. Разбивка обследуемого участка акватории на полосы.

2. Установка створных знаков.

3. Укладка ходового троса и перемещение его в процессе обследования.

4. Осмотр водолазом дна акватории с определением характера и положения предметов на грунте.

5. Установка буйков над обнаруженными предметами.

6. Перемещение водолазного катера с перекладкой якорей.

7. Уборка ходового троса и створных знаков.

Состав звена

Водолазная станция - 1

Речные рабочие 2 разр. - 3

Нормы времени и расценки на обследование 100 м2 дна акватории

Видимость

До 1 м*

Св. 1 до 3 м*

Св. 3 до 5 м*

Св. 5 м*

 

Водолазная станция

0,23

---------

0-86,9

0,16

---------

0-60,5

0,11

---------

0-41,6

0,08

---------

0-30,2

1

Рабочие

0,79

---------

0-50,6

0,55

-----------

0-35,2

0,38

---------

0-24,3

0,27

----------

0-17,3

2

 

а

б

в

г

Примечания: 1. Нормами предусмотрена работа водолазов с водолазного катера. При работе с несамоходных плавучих средств Н. вр. и Расц. водолазной станции и речных рабочих умножать на 1,2 (ПР-1).

2. Коэффициенты на видимость в соответствии с п. 14 Вводной части сб. Е39 не применять (ПР-2).

§ Е39-2. Водолазное обследование конструкций подводных частей гидротехнических сооружений

Указания по применению норм

Нормами предусмотрено водолазное обследование подводных частей гидротехнических сооружений с целью выявления состояния подводной части, а также характера возможных повреждений или дефектов подводных конструкций.

Нормами учтено обследование гидротехнических сооружений с водолазного катера.

Состав работы

1. Разбивка сооружений на участки с помощью буйков.

2. Установка вешек на сооружение по буйкам.

3. Установка люлек футштоков.

4. Осмотр подводной части сооружения с детальным выяснением конструкции и размеров.

5. Выявление состояния и характера повреждений конструкций с выносом образцов на поверхность.

6. Уборка буйков, вешек, люлек и футштоков.

Состав звена

Водолазная станция - 1

Речные рабочие 2 разр. - 2

Нормы времени и расценки на обследование 100 м2 конструкций гравитационных сооружений и на 100 м элементов свайных конструкций

Тип сооружения

Гравитационный*

Свайный*

 

с детальным обследованием конструкций

без детального обследования конструкций

с детальным обследованием конструкций

без детального обследования конструкций

Подводная высота сооружения, м

До 6

Св. 6 до 13

До 6

Св. 6 до 13

До 13

До 13

 

Водолазная станция

3,6

-------

13-61

7,1

-------

26-84

2,5

------

9-45

5

------

18-90

5

-------

18-90

3,5

--------

13-23

1

Рабочие

8,2

-------

5-25

16

-------

10-24

5,7

-------

3-65

11,5

------

7-36

11,5

-------

7-36

8

-------

5-12

2

 

а

б

в

г

д

е

Примечание. При наличии надводных частей сооружений, связанных с берегом, обследование может производиться непосредственно с сооружений, при этом нормы времени и расценки следует применять с коэффициентом 0,7 (ПР-1).

§ Е39-3. Водолазное обследование уложенных трубопроводов

Указания по применению норм

Нормами предусмотрено обследование водолазами уложенных трубопроводов с целью проверки правильности положения трубопровода на дне подводной траншеи, определения характера и объема работ по подбивке грунта под трубопровод на участках его провиса и по срезке грунта под ним, а также на участках, где вследствие обвалов бровки при укладке и заносов траншеи трубопровод лежит выше проектных отметок.

Состав работы

1. Установка водолазного катера с укладкой якорей.

2. Обследование трубопровода.

3. Установка буйков в местах, где требуются работы по подбивке или срезке грунта.

4. Перемещение водолазного катера с перекладкой якорей.

Нормы времени и расценки на обследование 100 м трубопровода

Состав звена

Водолазная станция*

Рабочие*

Водолазная станция - 1

Речные рабочие 2 разр. - 4

0,72

----------

2-72

3,3

---------

2-11

 

а

б

Примечания: 1. Нормами предусмотрена работа водолазов с водолазного катера. При работе с несамоходных плавучих средств Н. вр. и Расц. водолазной станции и речных рабочих умножать на 1,2 (ПР-1).

2. Нормами предусмотрено обследование подводных трубопроводов диаметром до 630 мм. При обследовании трубопроводов диаметром от 720 до 1620 мм к Н. вр. и Расц. применять коэффициент 1,1 (ПР-2).

§ Е39-4. Снятие поперечников (профилей) с прощупыванием грунта

Указания по применению норм

Нормами предусмотрены работы по снятию поперечников подводных сооружений и выемок (траншей и котлованов) при длине поперечника до 15 м и расстоянии между промерными точками 2 м.

Промеры глубин и прощупывание дна поперечника осуществляются с участием водолазной станции.

Снятие поперечников на глубине до 5 м производится нивелиром или футштоком, а на глубине св. 15 м - лотом с привязкой отметок к гидрологическому (водомерному) посту.

Оборудование гидрологического поста нормами не учтено.

Состав работы

1. Разбивка поперечников с установкой вех.

2. Натягивание троса над промеряемым сооружением или выемкой.

3. Подводное обследование со снятием профиля сооружения с помощью нивелира, футштока, рейки или лота.

4. Промеры глубин и прощупывание дна.

5. Перемещение водолазного катера с перекладкой якорей.

Состав звена

Водолазная станция - 1

Речные рабочие 2 разр. - 2

Нормы времени и расценки на 1 поперечник

Глубина воды в месте промеров, м

Водолазная станция*

Рабочие*

 

До 6

0,92

---------

3-48

2,1

---------

1-34

1

Св. 6

0,96

----------

3-63

2,2

---------

1-41

2

 

а

б

§ Е39-5. Разработка подводного грунта канатно-скреперной установкой

Указания по применению норм

Нормами предусмотрено устройство подводной траншеи канатно-скреперной установкой (рис. 2) в песчано-илистых, гравелистых и глинистых грунтах при длине разрабатываемых траншей до 150 м.

Разработка грунта осуществляется перемещением его в отвал скреперным ковшом от хвостового блока к головной опоре с последующим перемещением грунта в сторону с помощью бульдозера.

Транспортирование грунта бульдозером нормами не учитывается.

Работы по устранению обрывов тросов и опрокидывания ковша выполняются дежурной водолазной станцией.

Ширина траншеи по дну зависит от габаритов скреперного ковша и приводится в табл. 1.

Таблица 1

Вместимость ковша канатно-скреперной установки, м3

Ширина траншеи, м

0,5

1

0,75

1,5

1

1,5

1,5

1,75

Скреперование ковшами вместимостью 0,5 и 0,75 м3 производится с помощью двухбарабанной фрикционной лебедки мощностью до 73,5 кВт (100 л.с.), грузоподъемностью 3-5 т, с ковшами вместимостью 1 и 1,5 м3 с помощью тракторных лебедок типа ТЛ-11.

Нормами предусмотрены расстояния скреперования: до 50 м, св. 50 до 100 м и св. 100 до 150 м, в связи с чем нормы должны применяться по отдельным участкам.

Пример. Определить нормативные затраты времени в маш.-ч на разработку подводной траншеи в песчаном грунте скрепером с ковшом вместимостью 0,5 м3при длине траншеи 140 м и объеме грунта 1020 м3, в том числе на первом участке на расстоянии до 50 м - 420 м3, на втором - св. 50 до 100 м - 310 м3 и на третьем - св. 100 до 140 м - 290 м3.

Принимаем нормы по строке № 1 граф “а”, ”г”, ”ж” табл. 3 настоящего параграфа. В этом случае затраты времени будут составлять: 14´4,20+21,5´3,10+31,5´2,90 = 216,8 маш.-ч.

Монтаж скреперной установки, устройство П-образной опоры, закладка мертвяков и якорей, прокладка тросов, установка электродвигателя и лебедки нормами не учтены.

Состав работы

1. Подготовка и пуск установки.

2. Скреперование грунта.

3. Вытаскивание ковша на берег.

4. Разгрузка грунта в отвал.

5. Очистка ковша от налипающего грунта.

6. Смена ковша и тросов (при необходимости).

7. Перестроповка блоков.

Состав звена

Тракторист         5 разр. - 1

Речной рабочий 4 разр. - 1

Рис. 2. Схема работы канатно-скреперной установки

1 - Скреперная тракторная лебедка; 2 - рабочий трос; 3 - скреперный ковш; 4 - холостой трос; 5 - хвостовая опора; 6 – мертвяк


Таблица 2

Нормы выработки в м3 за 1 ч

Тип лебедки

Вместимость ковша, м3

Расстояние скреперования, м

 

до 50

св. 50 до 100

св. 100 до 150

Грунт

песчано-илистый

гравелистый

глинистый

песчано-илистый

гравелистый

глинистый

песчано-илистый

гравелистый

глинистый

Двухбарабанная фрикционная

0,5

7,1

3,9

3,6

4,7

2,9

2,5

3,2

1,9

1,7

1

грузоподъемностью 3-5 т

0,75

10,6

6,1

5,4

7,1

3,9

3,5

4,4

2,7

2,3

2

Тракторная ТЛ-11

1

14,3

8

7,1

8,7

4,7

4,1

5,9

3,4

2,7

3

 

1,5

20

11,2

9,5

12,3

7,1

5,9

8

4,4

3,9

4

 

а

б

в

г

д

е

ж

з

и

Таблица 3

Нормы времени и расценки на 100 м3 грунта

Лебедка

Вместимость ковша, м3

Расстояние скреперования, м

 

до 50

св. 50 до 100

св. 100 до 150

Грунт*

песчано-илистый

гравелистый

глинистый

песчано-илистый

гравелистый

глинистый

песчано-илистый

гравелистый

глинистый

Двухбарабанная фрикционная грузоподъемностью 3-5 т

0,5

28

(14)

------

23-80

51

(25,5)

-----

43-35

55

(27,5)

-----

46-75

43

(21,5)

------

36-55

69

(34,5)

------

58-65

81

(40,5)

-------

68-85

63

(31,5)

------

53-55

107

(53,5)

-----

90-95

118

(59)

------

100-30

1

 

0,75

18,8

(9,4)

-------

15-98

33

(16,5)

------

28-05

37

(18,5)

------

31-45

28

(14)

------

23-80

51

(25,5)

------

43-35

57

(28,5)

-------

48-45

45

(22,5)

------

38-25

5

(37,5)

-----

63-75

87

(43,5)

------

73-95

2

Тракторная ТЛ-11

1

14

(7)

-------

11-90

25

(12,5)

------

21-25

28

(14)

------

23-80

23

(11,5)

------

19-55

43

(21,5)

------

36-55

49

(24,5)

------

41-65

34

(17)

------

28-90

59

(29,5)

-----

50-15

73

(36,5)

------

62-05

3

 

1,5

10

(5)

-------

8-50

17,8

(8,9)

-------

15-13

21

(10,5)

------

17-85

16,2

(8,1)

-------

13-77

28

(14)

------

23-80

34

(17)

-------

28-90

25

(12,5)

------

21-25

45

(22,5)

------

38-25

51

(25,5)

------

43-35

4

 

а

б

в

г

д

е

ж

з

и

Примечание. При применении тракторных лебедок типа ТЛ-5 вместо ТЛ-11 (строки 3-4) Н. вр. и Расц. умножать на 1,15 (ПР-1).


§ Е39-6. Разработка (размыв) подводного грунта гидромониторами

Указания по применению норм

Нормами предусмотрен размыв грунта гидромониторами для устройства подводных траншей (прорезей) шириной по дну до 5 м и глубиной до 1 м.

Гидромониторная установка (рис. 3) располагается на плавучей площадке, на льду или берегу и включает в себя центробежный насос с подачей 70-120 м3/ч и напором 150-80 м, шланги и сменные гидромониторные насадки с внутренним диаметром выходного сечения от 15 до 30 мм.

Рис. 3. Схема разработки грунта гидромонитором

1 - водолазный бот; 2 - плавучая площадка; 3 - гидромонитор; 4 - напорный шланг гидромонитора

Для погашения реактивной силы струи к шлангу гидромонитора на расстоянии 1,5-2 м от насадки прикрепляется балласт массой 40-70 кг.

Состав работы

1. Осмотр участка и подготовка рабочего места.

2. Подача водолазу забалластированного шланга с насадкой.

3. Размыв грунта.

4. Уборка шлангов с насадком по окончании работ.

Состав звена

Водолазная станция                                - 1

Машинист насосной установки 3 разр. - 1

Речные рабочие                          2 разр. - 2

Таблица 1

Нормы выработки в м3 за 1 ч

Группа грунтов

Ширина траншеи по дну, м

 

до 1

св. 1 до 3

св. 3 до 5

Глубина траншеи, м

до 0,5

св. 0,5 до 0,75

св. 0,75 до 1

до 0,5

св. 0,5 до 0,75

св. 0,75 до 1

до 0,5

св. 0,5 до 0,75

св. 0,75 до 1

I

4,8

3,8

2,9

3,7

3,3

2,5

3,1

2,6

1,9

1

II

4

3,2

2,4

3,1

2,8

2,1

2,6

2,2

1,6

2

III

3,1

2,4

2

2,4

2,2

1,7

2

1,7

1,3

3

IV

2,4

1,8

1,5

1,9

1,6

1,3

1,6

1,3

1

4

V

2

1,5

1,2

1,6

1,4

1,1

1,3

1,1

0,77

5

VI

1,8

1,4

1,1

1,4

1,2

0,9

1,2

0,91

0,77

6

 

а

б

в

г

д

е

ж

з

и


Таблица 2

Нормы времени и расценки на размыв 1 м3 грунта

Группа грунтов (табл. 1, гл. 1)

Состав звена

Ширина траншеи по дну, м*

 

до 1

св. 1 до 3

св. 3 до 5

Глубина траншеи, в м

до 0,5

св. 0,5 до 0,75

св. 0,75 до 1

до 0,5

св. 0,5 до 0,75

св. 0,75 до 1

до 0,5

св. 0,5 до 0,75

св. 0,75 до 1

I

Водолазная станция

0,21

-------

0-79,4

0,26

------

0-98,3

0,34

-------

1-29

0,27

------

1-02

0,3

------

1-13

0,4

-------

1-51

0,32

-------

1-21

0,39

------

1-47

0,52

-------

1-97

1

 

Машинист

0,24

-------

0-16,8

0,3

------

0-21

0,39

------

0-27,3

0,31

------

0-21,7

0,34

------

0-23,8

0,46

------

0-32,2

0,36

------

0-25,2

0,44

-----

0-30,8

0,59

-------

0-41,3

2

 

Рабочие

0,48

-------

0-30,7

0,6

------

0-38,4

0,78

------

0-49,9

0,62

------

0-39,7

0,68

------

0-43,5

0,92

-------

0-58,9

0,72

------

0-46,1

0,88

------

0-56,3

1,18

------

0-75,5

3

II

Водолазная станция

0,25

-------

0-94,5

0,31

------

1-17

0,41

------

1-55

0,32

-------

1-21

0,36

------

1-36

0,47

------

1-78

0,38

-------

1-44

0,46

------

1-74

0,61

-------

2-31

4

 

Машинист

0,29

------

0-20,3

0,35

------

0-24,5

0,47

------

0-32,9

0,36

-------

0-25,2

0,41

------

0-28,7

0,54

-------

0-37,8

0,43

------

0-30,1

0,52

------

0-36,4

0,7

------

0-49

5

 

Рабочие

0,58

------

0-37,1

0,7

------

0-44,8

0,94

------

0-60,2

0,72

-------

0-46,1

0,82

------

0-52,5

1,08

------

0-69,1

0,86

------

0-55

1,04

------

0-66,6

1,4

------

0-89,6

6

III

Водолазная станция

0,32

-------

1-21

0,41

------

1-55

0,51

------

1-93

0,41

------

1-55

0,46

------

1-74

0,6

------

2-27

0,49

------

1-85

0,59

------

2-23

0,77

-----

2-91

7

 

Машинист

0,36

------

0-25,2

0,47

-----

0-32,9

0,58

------

0-40,6

0,47

------

0-32,9

0,52

------

0-36,4

0,68

------

0-47,6

0,56

-------

0-39,2

0,67

-----

0-46,9

0,88

-------

0-61,6

8

 

Рабочие

0,72

-------

1-59

0,94

------

2-08

1,16

------

2-57

0,94

------

2-04

1,04

------

2-31

1,36

------

2-91

1,12

------

2-42

1,34

------

2-99

1,76

-------

3-74

9

IV

Водолазная станция

0,42

-------

1-17

0,55

------

1-54

0,68

------

1-90

0,54

------

1-51

0,61

------

1-71

0,77

------

2-15

0,64

------

1-79

0,79

------

2-21

0,99

------

2-77

10

 

Машинист

0,48

-------

0-33,6

0,63

------

0-44,1

0,78

-------

0-54,6

0,62

-------

0-43,4

0,7

------

0-49

0,88

-------

0-61,6

0,73

------

0-51,1

0,9

------

0-63

1,1

-----

0-77

11

 

Рабочие

0,96

------

0-61,4

1,26

-----

0-80,6

1,56

------

0-99,8

1,24

------

0-79,4

1,4

------

0-89,6

1,76

-------

1-13

1,46

------

0-93,4

1,8

------

1-15

2,2

------

1-41

12

V

Водолазная станция

0,5

------

1-89

0,66

------

2-49

0,81

------

3-06

0,64

------

2-42

0,74

------

2-80

0,94

------

3-55

0,77

------

2-91

0,94

------

3-55

1,3

------

4-91

13

 

Машинист

0,57

------

0-39,9

0,75

------

0-52,5

0,92

------

0-64,4

0,73

------

0-51,1

0,84

------

0-58,8

1,1

------

0-77

0,88

------

0-61,6

1,1

------

0-77

1,5

-------

1-05

14

 

Рабочие

1,14

------

0-73

1,5

------

0-96

1,84

------

1-18

1,46

------

0-93,4

1,68

------

1-08

2,2

-------

1-41

1,76

------

1-13

2,2

-----

1-41

3

------

1-92

15

VI

Водолазная станция

0,55

-------

2-08

0,72

------

2-72

0,88

------

3-33

0,7

------

2-65

0,81

------

3-06

1,1

------

4-16

0,84

------

3-18

1,1

------

4-16

1,3

-------

4-91

16

 

Машинист

0,63

-------

0-44,1

0,82

-------

0-57,4

1

------

0-70

0,8

-------

0-56

0,92

------

0-64,4

1,3

------

0-91

0,96

------

0-67,2

1,3

------

0-91

1,5

------

1-05

17

 

Рабочие

1,26

-------

0-80,6

1,64

-------

1-05

2

------

1-28

1,6

------

1-02

1,84

------

1-18

2,6

------

1-66

1,92

------

1-23

2,6

------

1-66

3

------

1-92

18

 

а

б

в

г

д

е

ж

з

и

Примечания: 1. При устройстве траншей и котлованов шириной по низу св. 5 за каждый дополнительный метр размыва Н. вр. и Расц. умножать на 1,1 (ПР-1).

Например: при ширине выемки по дну 7 м, глубине 1 м и грунте 1 группы (графа "и", строка 1) Н. вр. водолазной станции будет равна 1,1´1,1´0,52=0,63 станцие-ч.

2. При замыве траншей ранее извлеченным грунтом, находящимся на бровке траншеи, Н. вр. и Расц. умножать на 0,6 (ПР-2).

3. Допустимые перемывы грунта в нормах учтены (ПР-3).

4. При отмыве грунта непосредственно от стенок сооружений (на расстояние до 3 м) Н. вр. и Расц. умножать на 1,2 (ПР-4).

5. При разработке подводного грунта гидромониторами с подачей 50 м3/ч напором 150 м Н. вр. и Расц. умножать на 1,18 (ПР-5).


§ Е39-7. Разработка подводного грунта грунтососами

Указания по применению норм

Нормами предусмотрен отсос грунта водоструйными или пневматическими грунтососами с диаметром приемной трубы 125 и 150 мм с одновременным рыхлением грунта струей гидромонитора. Грунтососы располагаются на плавучей площадке, на льду или берегу. Вода к водоструйному грунтососу подается от центробежного насоса, а воздух к пневматическому - от компрессора. Разрыхление грунта вокруг всасывающего наконечника грунтососа осуществляется струей от гидромониторной установки (рис. 4). Подача рабочей воды водоструйного насоса - 70-180 м3/ч при напоре 150-80 м, подача воздуха, подаваемого от компрессора к пневматическому грунтососу, - 0,075 м3/с при давлении 0,3-0,5 МПа (3-5 кгс/см2). Нормами учтено транспортирование пульпы в непосредственной близости от грунтососа.

Рис. 4. Схема разработки грунта пневматическим грунтососом с одновременным рыхлением его гидромонитором

1 - водолазный бот; 2 - плавучая площадка; 3 - гидромониторная установка; 4 - грунтосос; 5 - кран-укосина; 6 - компрессор

Состав работы

1. Осмотр участка и подготовка рабочего места.

2. Подача шлангов грунтососа и гидромонитора.

3. Разработка грунта с одновременным рыхлением его гидромониторной струей.

4. Уборка шлангов грунтососа и гидромонитора по окончании работы.

Состав звена

Водолазная станция                                       - 1

Машинист компрессора                   4 разр. - 1

Машинист насосной установки       3 разр. - 1

Речные рабочие                                2 разр. - 2

Таблица 1

Нормы выработки в м3 за 1 ч

Диаметр приемной трубы грунтососа, мм

Группа грунтов (табл. 2, гл. 1)

 

I

II

III

IV

V

VI

125

5,6

4,3

2,9

2,3

1,9

1,7

1

150

7,1

5,3

3,6

2,8

2,3

2

 

 

а

б

в

г

д

е

Таблица 2

Нормы времени и расценки на отсос 1 м3 грунта

Диаметр приемной трубы грунтососа, мм

Состав звена

Группа грунта (табл. 2, гл. 1)*

 

I

II

III

IV

V

VI

125

Водолазная станция

0,18

--------

0-68

0,23

--------

0-86,9

0,35

--------

1-32

0,44

--------

1-66

0,54

--------

2-04

0,6

--------

2-27

1

 

Машинисты

0,42

--------

0-31,3

0,52

--------

0-38,7

0,8

-------

0-59,6

1

--------

0-74,5

1,24

--------

0-92,4

1,36

--------

1-01

2

 

Рабочие

0,42

--------

0-26,9

0,52

--------

0-33,3

0,8

--------

0-51,2

1

--------

0-64

1,24

-------

0-79,4

1,36

-------

0-87

3

150

Водолазная станция

0,14

---------

0-52,9

0,19

--------

0-71,8

0,28

--------

1-06

0,36

-------

1-36

0,44

--------

1-66

0,5

--------

1-89

4

 

Машинисты

0,32

--------

0-23,8

0,44

-------

0-32,8

0,64

-------

0-47,7

0,82

-------

0-61,1

1

--------

0-74,5

1,14

--------

0-84,9

5

 

Рабочие

0,32

--------

0-20,5

0,44

-------

0-28,2

0,64

-------

0-41

0,82

--------

0-52,5

1

--------

0-64

1,14

--------

0-73

6

 

а

б

в

г

д

е

§ Е39-8. Заполнение камнем или щебнем размывов (пустот) под трубопроводами

Указания по применению норм

Нормами предусмотрено заполнение размывов под трубами и равнение бермы и откосов на участках, где провис трубопровода над дном траншеи составляет не более 0,5 м. Подача материалов под воду по лоткам или трубам осуществляется вручную.

Нормами не учитываются предварительное обследование места работы, доставка камня или щебня к месту подбивки, осуществляемая в баржах или шаландах, а также установка лотков, труб и других приспособлений.

Состав работы

1. Подача материалов (камня или щебня) под воду по лоткам или трубам с одновременной засыпкой по месту.

2. Плотная подбивка камня или щебня под трубопровод с устройством бермы и откоса.

Нормы времени и расценки на 1 м3 засыпки

Состав звена

Водолазная станция*

Рабочие*

Водолазная станция - 1

Речные рабочие 2 разр. - 3

0,53

---------

1-48

1,8

---------

1-15

 

а

б

ГЛАВА 2

СВАРОЧНО-МОНТАЖНЫЕ РАБОТЫ И УКЛАДКА ТРУБОПРОВОДОВ ЧЕРЕЗ РЕКИ И ВОДОЕМЫ

Техническая часть

1. Нормами настоящей главы предусмотрены работы, связанные со строительством подводных трубопроводов различного назначения из углеродистых и низколегированных сталей.

2. В параграфах, предусматривающих сварочно-монтажные работы, учтены повышенные требования, предъявляемые к сварке подводных трубопроводов, выполняемые в соответствии с требованиями правил Госгортехнадзора.

3. Работы по обслуживанию газогенератора (доставка карбида кальция и воды, заправка и т.д.) или сварочного агрегата с двигателем внутреннего сгорания (заправка, пуск, смазка, наблюдение за работой и т.п.) нормами не учтены и, как правило, должны производиться машинистом или специально выделенным рабочим. При обслуживании сварочного агрегата или газогенератора самим сварщиком Н. вр. и Расц. следует умножать на 1,2 в соответствии с п. 5 Вводной части сб. Е22 "Сварочные работы", вып. 2 "Трубопроводы" (ТЧ-1).

4. При выполнении работ по укладке подводных трубопроводов необходимо на весь период укладки предусматривать дежурную водолазную станцию.

5. Во всех параграфах диаметры трубопроводов приводятся наружные.

§ Е39-9. Сборка звеньев труб диаметром 1620 мм в плеть

Указания по применению норм

Нормами предусмотрена сборка в плеть звеньев труб диаметром 1620 мм, длиной до 18 м на монтажной площадке с помощью крана-трубоукладчика, который подтаскивает звено к плети на расстояние до 20 м и поддерживает его в процессе стыковки. Центровка стыка осуществляется с помощью двух направляющих стержней на конце плети и струбцин, привариваемых снаружи стыка, с одновременной правкой кромок и прихваткой их ручной электродуговой сваркой электродами УОНИ-13/55. В процессе стыковки струбцины переставляют по периметру стыка. Сборка производится в неповоротном положении.

Состав работы

1. Подтаскивание звеньев труб краном-трубоукладчиком на расстояние до 20 м.

2. Зачистка кромок труб.

3. Приварка направляющих стержней к плети трубопровода.

4. Центровка стыка с одновременной правкой кромок и перестановка струбцин.

5. Прихватка стыка в неповоротном положении.

Нормы времени и расценки на 1 стык

Состав звена

Н.вр.

------------

Расц.

 

Машинист крана-трубоукладчика 5 разр. - 1

1,2

---------

1-09

1

Электросварщик ручной сварки 5 разр. - 1

1,2

---------

1-09

2

Монтажник наружных трубопроводов 5 разр. – 1

То же 4 " - 1

2,4

--------

2-04

3

 

а

Примечание. Сварка стыка нормами не учтена (ПР-1).

§ Е39-10. Изготовление заглушек на трубопроводы

Указания по применению норм

Нормами предусмотрено изготовление плоских заглушек из листовой стали.

Состав работы

1. Разметка по шаблону листовой стали.

2. Вырезка газовой резкой плоской заглушки.

3. Зачистка кромок после резки.

Состав звена

Газорезчик                                                3 разр. - 1

Монтажник наружных трубопроводов 2 разр. - 1

Нормы времени и расценки на 1 заглушку

Диаметр трубопровода, мм*

219

245

273

299

325

351

377

426

478

 

Газорезчик

0,26

-------

0-18,2

0,28

------

0-19,6

0,31

-------

0-21,7

0,34

------

0-23,8

0,36

-------

0-25,2

0,38

-------

0-26,6

0,41

------

0-28,7

0,46

------

0-32,2

0,5

-------

0-35

1

Монтажник наружных трубопроводов

0,26

-------

0-16,6

0,28

------

0-17,9

0,31

-------

0-19,8

0,34

------

0-21,8

0,36

-------

0-23

0,38

-------

0-24,3

0,41

------

0-26,2

0,46

-------

0-29,4

0,5

-------

0-32

2

 

а

б

в

г

д

е

ж

з

и

Продолжение

Диаметр трубопровода, мм*

529

630

720

820

920

1020

1220

1420

1620

 

Газорезчик

0,55

-------

0-38,5

0,65

-------

0-45,5

0,75

------

0-52,5

0,87

------

0-60,9

0,96

------

0-67,2

1,1

------

0-77

1,3

------

0-91

1,5

-------

1-05

1,7

-------

1-19

1

Монтажник наружных трубопроводов

0,55

-------

0-35,2

0,65

------

0-41,6

0,75

-------

0-48

0,87

------

0-55,7

0,96

-------

0-61,4

1,1

-------

0-70,4

1,3

------

0-83,2

1,5

------

0-96

1,7

-------

1-09

2

 

к

л

м

н

о

п

р

с

т

Примечание. При вырезке заглушек криволинейного очертания из труб соответствующего диаметра Н. вр. и Расц. умножать на 1,4 (ПР-1).

§ Е39-11. Гидравлическое испытание трубопроводов

Указания по применению норм

Нормами предусмотрены работы по приварке на концах трубопровода заглушек, установке арматуры и приборов для испытания (патрубков, штуцеров, манометров и др.), гидравлическое испытание трубопровода с заливом его водой насосной установкой малой мощности и доведением давления до 1 МПа (10 кгс/см2) и последующим подъемом давления ручным гидравлическим прессом до 1,5 МПа (15 кгс/см2) (рис. 5). Выкладка трубопровода на монтажной площадке, очистка его от мусора, грунта и окалины, проверка исправности манометров нормами не учтены.

Рис. 5. Схема гидравлического испытания трубопровода

1 - вантуз для спуска воздуха; 2 - трубопровод; 3 - подкладки (опоры); 4 - манометр; 5 - наполнительно-опрессовочный агрегат; 6 - водоем; 7 - водозаборный шланг; 8 - кран высокого давления; 9 - трубопроводная арматура высокого давления

Проведение гидравлического испытания при температуре окружающего воздуха ниже 0 °С допускается лишь при условии предохранения трубопровода и линейной арматуры от замораживания.

Состав работ

При приварке заглушек

1. Установка заглушек на трубопроводе с прихваткой.

2. Приварка заглушек двухслойным швом.

3. Очистка шва от шлака и окалины.

При установке и снятии арматуры

1. Вырезка отверстий в трубопроводе.

2. Установка манометра, ручного гидравлического пресса, патрубка заливки воды и штуцера для спуска воздуха.

3. Срезка установленной арматуры газовой резкой после испытания трубопровода и спуска воды.

4. Заварка отверстий после срезки арматуры.

5. Зачистка заваренных мест.

При испытании трубопровода

1. Подготовка к работе насосной установки.

2. Присоединение шлангов для заливки трубопровода водой.

3. Заполнение трубопровода водой с помощью насосной установки и подъем давления до 1 МПа (10 кгс/см2).

4. Подъем давления до 1,5 МПа (15 кгс/см2) ручным гидравлическим прессом.

5. Уборка насосной установки, пресса, приборов и шлангов после окончания испытаний.

Таблица 1

Состав звена

Профессия и разряд рабочих

Вид работ

приварка плоских заглушек

установка и снятие арматуры

испытание трубопровода

Монтажник наружных трубопроводов 6 разр.

-

-

1

То же 4 "

-

-

2

" 3 "

-

-

1

Электросварщик ручной сварки 6 разр.

-

1

-

То же 5 "

1

-

-

Машинист насосной установки 3 разр.

-

-

1

Газорезчик 3 разр.

-

1

-


Таблица 2

Нормы времени и расценки на 1 плеть

Наименование работ

Профессия

Диаметр трубопровода, мм*

 

219

245

273

299

325

351

377

426

478

Гидравлическое испытание трубопровода

 

15,45

------

13-30

15,85

-----

13-65

16,2

-----

19-96

16,4

-----

14-14

17,0

------

14-63

17,3

-----

14-91

17,5

-----

15-08

18,4

-----

15-85

19,2

------

16-52

1

В том числе:

приварка двух плоских заглушек

Электросварщик

1,8

------

1-64

2

-----

1-82

2,2

-----

2-00

2,3

-----

2-09

2,4

------

2-18

2,6

------

2-37

2,7

-----

2-46

3

-----

2-73

3

------

3-00

2

установка и снятие арматуры

Электросварщик, газорезчик

8,8

------

7-74

8,9

------

7-83

9

-----

7-92

9,1

-----

8-01

9,1

-----

8-01

9,2

------

8-10

9,3

-----

8-18

9,4

-----

8-27

9,4

-----

8-27

3

испытание трубопровода

Рабочие

3,88

-----

3-24

3,96

------

3-31

4

------

3-34

4

------

3-34

4,4

------

3-67

4,4

------

3-67

4,4

-----

3-67

4,8

-----

4-01

5,2

-----

4-34

4

 

Машинист

0,97

-----

0-67,9

0,99

------

0-69,3

1

-----

0-70

1

-----

0-70

1,1

-----

0-77

1,1

-----

0-77

1,1

-----

0-77

1,2

-----

0-84

1,3

-----

0-91

5

Нормы строк № 1 и 4 учитывают заливку водой трубопровода при длине плети до 100 м. При длине плети св. 100 м на каждые последующие 50 м к нормам строк № 1 и 4 добавлять

0,05

------

0-04

0,06

-----

0-04,8

0,08

-----

0-06,5

0,09

-----

0-07,3

0,12

------

0-09,7

0,13

-----

0-10,5

0,16

-----

0-12,9

0,19

-----

0-15,4

0,24

-----

0-19,4

6

 

а

б

в

г

д

е

ж

з

и

Продолжение табл. 2

Наименование работ

Профессия

Диаметр трубопровода, мм*

 

529

630

720

820

920

1020

1220

1420

1620

Гидравлическое испытание трубопровода

 

20,4

-----

17-56

22,6

------

19-43

24,1

-----

20-70

26,6

-----

22-80

29,1

-----

24-92

31,1

-----

26-58

35,7

-----

30-44

41,2

-----

35-02

46,6

------

39-55

1

В том числе: приварка двух плоских заглушек

Электросварщик

3,5

-----

3-19

4,1

-----

3-73

4,6

-----

4-19

5,1

-----

4-64

5,6

-----

5-10

6,1

-----

5-55

7,2

----

6-55

8,2

-----

7-46

9,1

------

8-28

2

установка и снятие арматуры

Электросварщик, газорезчик

9,9

-----

8-71

10,5

-----

9-24

10,5

------

9-24

11

-----

9-68

11,5

-----

10-12

11,5

-----

10-12

12

-----

10-56

12,5

-----

11-00

13,5

------

11-88

3

испытание трубопровода

Рабочие

5,6

-----

4-68

6,4

-----

5-34

7,2

------

6-01

8,4

-----

7-01

9,6

------

8-02

10,8

-----

9-02

13,2

-----

11-02

16,4

-----

13-69

19,2

------

16-03

4

 

Машинист

1,4

-----

0-98

1,6

-----

1-12

1,8

------

1-26

2,1

-----

1-47

2,4

------

1-68

2,7

-----

1-89

3,3

-----

2-31

4,1

-----

2-87

4,8

------

3-36

5

Нормы строк № 1 и 4 учитывают заливку водой трубопровода при длине плети до 100 м. При длине плети св. 100 м на каждые последующие 50 м к нормам строк № 1 и 4 добавлять

0,31

-----

0-25

0,45

-----

0-36,4

0,59

------

0-47,7

0,77

-----

0-62,2

0,98

-----

0-79,2

1,2

-----

0-97

1,8

----

1-45

2,4

-----

1-94

3

------

2-42

6

 

к

л

м

н

о

п

р

с

т

Примечания: 1. При приварке заглушек трехслойным швом Н. вр. и Расц. строки № 2 умножить на 1,4 (ПР-1).

2. При приварке заглушек криволинейного очертания Н. вр. и Расц. строки № 2 умножать на 2 (ПР-2).

3. При испытании плетей на давление св. 1,5 МПа до 7,8 МПа (св. 15 до 80 кгс/см2) с применением опрессовочного агрегата Н. вр. и Расц. строки № 5 умножать на 2 (ПР-3).

4. Время выдержки трубопровода под давлением нормами не учтено (ПР-4).


§ Е39-12. Монтаж и сварка плетей трубопроводов на плаву

Указания по применению норм

Нормами предусмотрены стыковка и неповоротная сварка плетей трубопровода, находящихся на плаву перед укладкой их в подводную траншею.

Нормами учтено выполнение работ по монтажу плетей с помощью плавкрана при волнении не более 1 балла.

Установка и уборка приспособлений, обслуживание их и транспортирование плетей к месту работы, а также работа подручного сварщика при подварке корня шва на трубопроводах диаметром св. 720 мм нормами не учтены.

А. МОНТАЖ ПЛЕТЕЙ

Состав работы

1. Подача плетей к крану.

2. Застропка концов плетей.

3. Срезка заглушек.

4. Зачистка и правка кромок труб.

5. Стыковка плетей.

6. Центровка плетей.

7. Прихватка в неповоротном положении.

8. Отстропка плетей.

Таблица 1

Состав звена

Профессия и разряд рабочих

Диаметр трубопровода, мм

219-478

529-820

920-1620

Электросварщик ручной сварки 6 разр.

1

1

1

Газорезчик 4 разр.

1

1

1

Монтажники наружных трубопроводов 6 разр.

1

1

1

То же 3 "

3

5

7

Таблица 2

Нормы времени и расценки на 1 стык

Диаметр трубопровода, мм*

219

245

273

299

325

351

377

426

478

 

Электросварщик, газорезчик

6

-----

5-55

6,8

----

6-29

7,4

----

6-85

8

----

7-40

8,6

-----

7-96

9,2

-----

8-51

9,8

-----

9-07

11

-----

10-18

12,4

------

11-47

1

Монтажник наружных трубопроводов

12

(3)

------

9-48

13,6

(3,4)

-----

10-74

14,8

(3,7)

------

11-69

16

(4)

-----

12-64

17,2

(4,3)

------

13-59

18,4

(4,6)

------

14-54

19,6

(4,9)

-----

15-48

22

(5,5)

------

17-38

24,8

(6,2)

------

19-59

2

 

а

б

в

г

д

е

ж

з

и

Продолжение табл. 2

Диаметр трубопровода, мм*

529

630

720

820

920

1020

1220

1420

1620

 

Электросварщик, газорезчик

10,2

------

9-44

12

------

11-10

13,6

------

12-58

15,4

------

14-25

13,6

------

12-58

15,2

------

14-06

18

------

16-65

21

------

19-43

24

-------

22-20

1

Монтажник наружных трубопроводов

30,6

(5,1)

------

23-26

36

(6)

-----

27-36

40,8

(6,8)

------

31-01

46,2

(7,7)

-----

35-11

54,4

(6,8)

------

40-53

60,8

(7,6)

------

45-30

72

(9)

------

53-64

84

(10,5)

------

62-58

96

(12)

-------

71-52

2

 

к

л

м

н

о

п

р

с

т

Б. СВАРКА ПЛЕТЕЙ

Состав работы

1. Подмащивание концов плетей для сварки.

2. Сварка расчетно-непроницаемым швом в три слоя в неповоротном положении.

3. Очистка слоев от шлака и окалины.

Состав звена

Электросварщик ручной сварки 6 разр. - 1

Таблица 3

Нормы времени и расценки на 1 стык

Диаметр трубопровода, мм

Сварка плетей при толщине стенок, мм*

 

11

12

13

14

219

1,7

--------

1-80

-

-

-

1

245

2

--------

2-12

-

-

-

2

273

2,2

---------

2-33

-

-

-

3

299

-

2,3

--------

2-44

-

-

4

325

-

2,6

---------

2-76

-

-

5

351

-

2,8

---------

2-97

-

-

6

377

-

3

--------

3-18

-

-

7

426

-

3,4

--------

3-60

-

-

8

478

-

3,8

---------

4-03

-

-

9

529

-

4,2

--------

4-45

-

-

10

630

-

5

--------

5-30

5,5

--------

5-83

6

-------

6-36

11

720

-

5,7

--------

6-04

6,3

-------

6-68

6,9

-------

7-31

12

820

-

6,6

--------

7-00

7,2

--------

7-63

7,9

--------

8-37

13

920

-

7,3

--------

7-74

8,1

--------

8-59

8,5

--------

9-01

14

1020

-

8,1

-------

8-59

9

-------

9-54

9,9

--------

10-49

15

1220

-

9,9

---------

10-49

11

---------

11-66

11,5

----------

12-19

16

1420

-

11,5

----------

12-19

12,5

----------

13-25

13,5

----------

14-31

17

1620

-

12,5

----------

13-25

14

----------

14-84

15,5

----------

16-43

18

 

а

б

в

г

§ Е39-13. Монтаж и приварка "уток" к трубопроводу

Указания по применению норм

Нормами предусмотрены монтаж и приварка "уток" к трубопроводу, спущенному на воду с помощью плавучего крана, портала с лебедками, понтона, автомобильного крана или трубоукладчика. "Утка" - участок трубопровода (подводный и надводный), находящийся в приурезной части водоема и имеющий один или несколько углов поворота.

Состав работ

При монтаже "утки"

1. Застропка и разворот трубопровода и "утки" с помощью портала, крана или трубоукладчика.

2. Подъем конца трубопровода из воды в положение для монтажа или вытаскивание конца трубопровода на берег.

3. Установка талей.

4. Срезка заглушки трубопровода.

5. Стыковка "утки" с трубопроводом.

6. Приварка скоб и направляющих уголков.

7. Центровка "утки" с трубопроводом.

8. Правка кромок.

9. Прихватка "утки" к трубопроводу.

10. Спуск на плав и отстроповка трубопровода с "уткой".

При приварке "утки"

1. Приварка "утки" к трубопроводу в неповоротном положении расчетно-непроницаемым швом в три слоя.

2. Очистка слоев от шлака и окалины в процессе сварки.

3. Перемещение сварщика на понтон или шлюпку и обратно при сварке на плаву.

Таблица 1

Состав звена

Профессия и разряд рабочих

Монтаж "утки" при диаметре трубопровода, мм

Приварка "утки"

219-630

720-1620

Электросварщик ручной сварки 6 разр.

1

1

1

Газорезчик 5 "

1

1

-

Монтажники наружных трубопроводов 6 разр.

1

1

-

То же 3 "

7

9

-


Таблица 2

Нормы времени и расценки на 1 "утку"

Диаметр трубопровода, мм

Монтаж "утки"*

Приварка "утки"*

 

при длине до 6 м и сборка

добавлять на каждый последующий 1 м "утки"

при толщине стенки трубопровода, мм

на плаву

с вытаскиванием конца трубопровода на берег

6-10

10-12

12-14

Профессия

электросварщик, газорезчик

монтажники наружных трубопроводов

электросварщик, газорезчик

монтажники наружных трубопроводов

электросварщик, газорезчик

монтажники наружных трубопроводов

219

0,92

(0,46)

---------

0-90,6

3,68

--------

2-74

0,7

(0,35)

---------

0-69

2,8

--------

2-09

0,14

(0,07)

---------

0-13,8

0,56

-------

0-41,7

1,4

----

1-48

1,9

----

2-01

-

1

245

1

(0,5)

--------

0-98,5

4

-------

2-98

0,76

(0,38)

---------

0-74,9

3,04

-------

2-26

0,16

(0,08)

--------

0-15,8

0,64

-------

0-47,7

1,5

----

1-59

2

----

2-12

-

2

273

1,08

(0,54)

--------

1-06

4,32

-------

3-22

0,82

(0,41)

--------

0-80,8

3,28

--------

2-44

0,16

(0,08)

---------

0-15,8

0,64

-------

0-47,7

1,6

----

1-70

2,1

----

2-23

-

3

299

1,16

(0,58)

---------

1-14

4,64

-----------

3-46

0,86

(0,43)

---------

0-84,7

3,44

---------

2-56

0,18

(0,09)

---------

0-17,7

0,72

-------

0-53,6

1,7

----

1-80

2,1

----

2-23

-

4

325

1,24

(0,62)

---------

1-22

4,96

--------

3-70

0,92

(0,46)

---------

0-90,6

3,68

--------

2-74

0,18

(0,09)

--------

0-17,7

0,72

-------

0-53,6

1,8

----

1-91

2,4

----

2-54

-

5

351

1,3

(0,65)

---------

1-28

5,2

---------

3-87

0,98

(0,49)

---------

0-96,5

3,92

--------

2-92

0,2

(0,1)

---------

0-19,7

0,8

-------

0-59,6

1,9

----

2-01

2,5

-----

2-65

-

6

377

1,36

(0,68)

--------

1-34

5,44

--------

4-05

1,02

(0,51)

---------

1-00

4,08

---------

3-04

0,22

(0,11)

---------

0-21,7

0,88

-------

0-65,6

2

----

2-12

2,6

-----

2-76

-

7

426

1,54

(0,77)

---------

1-52

6,16

----------

4-59

1,16

(0,58)

---------

1-14

4,64

--------

3-46

0,24

(0,12)

---------

0-23,6

0,96

-------

0-71,5

2,2

----

2-33

3

-----

3-18

-

8

478

1,7

(0,85)

---------

1-67

6,8

--------

5-07

1,28

(0,64)

---------

1-26

5,12

--------

3-81

0,26

(0,13)

---------

0-25,6

1,04

-------

0-77,5

2,5

----

2-65

3,3

---

3-50

-

9

529

1,84

(0,92)

---------

1-81

7,36

---------

5-48

1,38

(0,69)

---------

1-36

5,52

--------

4-11

0,28

(0,14)

--------

0-27,6

1,12

-------

0-83,4

2,7

----

2-86

3,6

----

3-82

-

10

630

2,2

(1,1)

---------

2-17

8,8

-------

6-56

1,62

(0,81)

--------

1-60

6,48

--------

4-83

0,34

(0,17)

---------

0-33,5

1,36

-------

1-01

3,3

----

3-50

4,2

---

4-45

-

11

720

2,2

(1,1)

--------

2-17

11

-------

8-10

1,62

(0,81)

--------

1-60

8,1

--------

5-96

0,34

(0,17)

--------

0-33,5

1,7

-------

1-25

3,7

----

3-92

4,8

----

5-09

6,3

----

6-68

12

820

2,2

(1,1)

---------

2-17

11

--------

8-10

1,72

(0,86)

---------

1-69

8,6

--------

6-33

0,38

(0,19)

---------

0-37,4

1,9

-----

1-40

4,2

----

4-45

5,6

----

5-94

7

----

7-42

13

920

2,4

(1,2)

--------

2-36

12

--------

8-83

1,92

(0,96)

---------

1-89

9,6

-------

7-07

0,42

(0,21)

---------

0-41,4

2,1

------

1-55

4,8

----

5-09

6,3

-----

6-68

8

----

8-48

14

1020

2,8

(1,4)

--------

2-76

14

-------

10-30

2

(1)

--------

1-97

10

---------

7-36

0,48

(0,24)

---------

0-47,3

2,4

-----

1-77

5,3

----

5-62

7

---

7-42

8,9

-----

9-43

15

1220

3,2

(1,6)

-------

3-15

16

-------

11-78

2,4

(1,2)

--------

2-36

12

--------

8-83

0,58

(0,29)

--------

0-57,1

2,9

------

2-13

6,6

----

7-00

8,7

----

9-22

10,5

-----

11-13

16

1420

3,8

(1,9)

-------

3-74

19

--------

13-98

2,8

(1,4)

--------

2-76

14

-------

10-30

0,7

(0,35)

--------

0-69

3,5

-----

2-58

7,7

----

8-16

10

----

10-60

12,5

----

13-25

17

1620

4,4

(2,2)

--------

4-33

22

-------

16-19

3,2

(1,6)

--------

3-15

16

--------

11-78

0,74

(0,37)

---------

0-72,9

3,7

----

2-72

9

----

9-54

12

-----

12-72

19,5

-----

20-67

18

 

а

б

в

г

д

е

ж

з

и


§ Е39-14. Футеровка трубопроводов деревянными рейками

Указания по применению норм

Нормами предусмотрена футеровка трубопроводов деревянными рейками с целью защиты изоляционного покрытия от повреждений при укладке трубопроводов через водные преграды.

При строительстве подводных переходов применяется как сплошная, так и несплошная футеровка (рис. 6). Сплошная футеровка производится, когда трубопровод протаскивается по дну подводной траншеи. Несплошная футеровка (в сечении) применяется при опускании трубопровода на дно подводной траншеи для перекладки его и поддерживания кранами.

Рис. 6. Футеровка трубопровода деревянными рейками. Сечение трубопровода:

А - при сплошной футеровке, Б - при несплошной футеровке 1 - деревянные рейки; 2 - изоляция; 3 - скрутки из проволоки

Для трубопроводов диаметром до 426 мм применяются рейки длиной 2 м, сечением 20´50 мм, а св. 426 мм - 30´60 мм.

Рейки прикрепляются к трубопроводу хомутами (скрутками) из 6-миллиметровой проволоки, которые устанавливаются через 1 м.

Количество реек зависит от диаметра трубопровода и приведено в табл. 2.

Перед футеровкой трубопровод должен быть уложен на подкладки. Эта работа нормами не учтена.

Состав работы

1. Раскладка реек вдоль трубопровода.

2. Укладка по тросам (ремням) реек.

3. Обжим трубопровода тросами (ремнями) с разравниванием реек.

4. Крепление реек к трубопроводу проволочными хомутами (скрутками).

Таблица 1

Состав звена

Профессия и разряд рабочих

Диаметр трубопровода, мм

219-325

351-1620

Монтажники наружных трубопроводов 3 разр.

1

1

То же 2 "

1

1

Такелажники на монтаже 2 разр.

1

2

Подсобный (транспортный) рабочий 1 разр.

1

1

Таблица 2

Нормы времени и расценки на 100 м футеровки трубопровода

Диаметр трубопровода, мм

219

245

273

299

325

351

377

426

478

 

Количество реек в сечении, шт.

7

8

9

10

11

12

13

14

15

1

Н. вр.

---------

Расц.

12,8

(3,2)

------

8-22

12,8

(3,2)

------

8-22

13,6

(3,4)

------

8-74

14

(3,5)

-----

9-00

14,4

(3,6)

------

9-25

14,5

(2,9)

------

9-31

15

(3)

------

9-63

16

(3,2)

------

10-27

17

(3,4)

-------

10-91

2

 

а

б

в

г

д

е

ж

з

и

Продолжение табл. 2

Диаметр трубопровода, мм

529

630

720

820

920

1020

1220

1420

1620

 

Количество реек в сечении, шт.

17

20

23

26

29

32

39

45

51

1

Н. вр.

--------

Расц.

18

(3,6)

-------

11-56

19,5

(3,9)

------

12-52

21,5

(4,3)

-------

13-80

23,5

(4,7)

------

15-09

26

(5,2)

-------

16-69

28

(5,6)

-------

17-98

32

(6,4)

------

20-54

37

(7,4)

-------

23-75

42

(8,4)

-------

26-96

2

 

к

л

м

н

о

п

р

с

т

Примечание. При увеличении числа реек в сечении трубопровода к Н. вр. и Расц. табл. 2 добавлять на каждую дополнительную рейку Н. вр. 0,84 чел.-ч и Расц. 0-41,6 (ПР-1).

§ Е39-15. Устройство опор спусковой дорожки

Указания по применению норм

Нормами предусмотрено устройство инвентарных роликовых опор для узкой дорожки, предназначенной для спуска трубопроводов диаметром до 1220 мм при укладке их через водные преграды.

Нормой учтена укладка шпал на грунт на расстоянии 1,2 м друг от друга с креплением к ним роликовых опор с помощью костылей.

Планировка грунта под спусковую дорожку нормой не учтена.

Состав работы

1. Подноска шпал, роликовых опор на расстояние до 50 м.

2. Укладка шпал с заглублением их в грунт на 20 см.

3. Постановка на шпалы роликовых опор.

4. Крепление опор к шпалам костылями.

Нормы времени и расценки на 1 опору

Состав звена

Н. вр.

-------

Расц.

Монтажник наружных трубопроводов 3 разр. - 1

То же 2

2 " - 1

2,7

-------

1-81

§ Е39-16. Укладка плетей трубопроводов кранами-трубоукладчиками на спусковую дорожку

Указания по применению норм

Нормами предусмотрена укладка смонтированной плети трубопровода на спусковую дорожку для протаскивания через водоем. Плеть располагается на стапеле или подкладках (опорах) параллельно спусковому пути на расстоянии 1,5 м от оси пути. Кран-трубоукладчик, передвигаясь вдоль спусковой дорожки, производит через 15-20 м подъем плети, перемещение ее и укладку на вагонетки.

При невозможности подкатки плети производится предварительная перекладка трубопровода краном-трубоукладчиком к пути на расстояние до 5 м.

Состав работы

1. Застроповка плети трубопровода на гаки кранов-трубоукладчиков.

2. Укладка трубопровода на вагонетки.

3. Отстроповка трубопровода.

4. Перемещение кранов-трубоукладчиков вдоль плети.

5. Перекладка трубопровода кранами-трубоукладчиками на расстояние до 5 м с застроповкой, отстроповкой и переходами кранов-трубоукладчиков.

Таблица 1

Состав звена

Профессия и разряд рабочих

При диаметре трубопровода, мм

219-630

720-1620

Машинист крана-трубоукладчика 6 разр.

2

3

Монтажник наружных трубопроводов 6 разр.

1

1

То же 3 "

2

3

Таблица 2

Нормы времени и расценки на 100 м трубопровода

Диаметр трубопровода, мм

Укладка трубопровода на вагонетки без перекладки

Укладка трубопровода на вагонетки с перекладкой на расстояние до 5 м

 

Н. вр.

-----------

Расц.

монтажников наружных трубопроводов

машинистов

монтажников наружных трубопроводов

машинистов

219

1,44

--------

1-18

0,96

---------

1-02

2,85

---------

2-34

1,9

--------

2-01

1

245

1,65

--------

1-35

1,1

--------

1-17

3,15

-----------

2-58

2,1

--------

2-23

2

273

1,8

---------

1-48

1,2

---------

1-27

3,45

---------

2-83

2,3

---------

2-44

3

299

1,95

----------

1-60

1,3

--------

1-38

3,75

----------

3-08

2,5

----------

2-65

4

325

2,1

----------

1-72

1,4

---------

1-48

4,05

----------

3-32

2,7

---------

2-86

5

351

2,1

----------

1-72

1,4

---------

1-48

4,2

---------

3-44

2,8

---------

2-97

6

377

2,25

---------

1-85

1,5

--------

1-59

4,5

---------

3-69

3

----------

3-18

7

426

2,55

-----------

2-09

1,7

----------

1-80

4,95

---------

4-06

3,3

----------

3-50

8

478

2,85

----------

2-34

1,9

-----------

2-01

5,55

----------

4-55

3,7

---------

3-92

9

529

3,15

----------

2-58

2,1

---------

2-23

6,15

----------

5-04

4,1

----------

4-35

10

630

3,75

---------

3-08

2,5

----------

2-65

8,1

----------

6-64

5,4

--------

5-72

11

720

4,28

----------

3-38

3,21

--------

3-40

8,12

--------

6-41

6,09

--------

6-46

12

820

4,8

---------

3-79

3,6

---------

3-82

9,2

---------

7-27

6,9

---------

7-31

13

920

5,32

----------

4-20

3,99

---------

4-23

10,28

---------

8-12

7,71

---------

8-17

14

1020

5,88

----------

4-65

4,41

--------

4-67

11,32

--------

8-94

8,49

----------

9-00

15

1220

6,92

-----------

5-47

5,19

---------

5-50

13,32

---------

10-52

9,99

----------

10-59

16

1420

8,12

-----------

6-41

6,09

----------

6-46

15,32

----------

12-10

11,49

----------

12-18

17

1620

9,2

---------

7-27

6,9

----------

7-31

17,32

----------

13-68

12,99

----------

13-77

18

 

а

б

в

г

§ Е39-17. Спуск со стапеля на воду плетей трубопровода

Указания по применению норм

Нормами предусмотрен спуск на воду плетей трубопровода путем скатывания их с помощью лебедок, установленных на другом берегу водоема, или на понтонах, установленных на якорях, с применением трактора при скатывании и буксирного катера для прокладки тросов и швартовки спущенных плетей трубопровода. При скатывании трубопровода со сварочно-монтажного стапеля на воду необходимо:

а) обеспечить равномерность и надежность крепления тросов к трубопроводу, лебедок и плавучих средств к мертвякам и якорям;

б) отвести плавучие средства от участка скатывания трубопровода.

Количество механизмов и плавсредств определяется в проекте производства работ по расчету в зависимости от длины и массы трубопровода.

Установка и снятие понтонов, лебедок, мертвяков и якорей, а также вытаскивание троса нормами не учтены.

Состав работы

1. Прокладка тросов через водоем.

2. Накладывание 6-8 витков троса на плети трубопровода.

3. Закрепление тросов на лебедках.

4. Спуск плетей трубопровода по лагам на воду.

5. Подкладка лаг по ходу спуска.

6. Уборка лаг после скатывания.

7. Швартовка спущенных плетей трубопровода в пределах участка спуска.

Таблица 1

Состав звена

Профессия и разряд рабочих

Диаметр трубопровода, мм

351-720

820-1620

Монтажник наружных трубопроводов 6 разр.

1

1

То же 4 "

1

1

 “ 3 "

3

3

Подсобные (транспортные) рабочие 1 разр.

2

3

Таблица 2

Нормы времени и расценки на 100 м трубопровода

Расстояние перемещения трубопровода, м

Диаметр трубопровода, мм*

 

351

377

426

478

529

630

До 15

14,7

(2,1)

--------

10-77

15,4

(2,2)

---------

11-29

16,8

(2,4)

---------

12-31

18,9

(2,7)

--------

13-85

21

(3)

-------

15-39

24,5

(3,5)

--------

17-96

1

Добавлять на каждые последующие 10 м

3,08

(0,44)

--------

2-26

3,22

(0,46)

-------

2-36

3,64

(0,52)

--------

2-67

3,99

(0,57)

-------

2-92

4,41

(0,63)

--------

3-23

5,25

(0,75)

--------

3-85

2

 

а

б

в

г

д

е

Продолжение табл. 2

Расстояние перемещения трубопровода, м

Диаметр трубопровода, мм*

 

720

820

920

1020

1220

1420

1620

До 15

27,3

(3,9)

-------

20-01

31,2

(3,9)

--------

22-31

35,2

(4,4)

--------

25-17

39,2

(4,9)

--------

28-03

48

(6)

-------

34-32

56

(7)

-------

40-04

64,8

(8,1)

-------

46-33

1

Добавлять на каждые последующие 10 м

6,02

(0,86)

--------

4-41

6,88

(0,86)

-------

4-92

7,76

(0,97)

--------

5-55

8,8

(1,1)

-------

6-29

10,4

(1,3)

-------

7-44

12

(1,5)

-------

8-58

13,6

(1,7)

--------

9-72

2

 

ж

з

и

к

л

м

н

§ Е39-18. Укладка трубопроводов в подводную траншею протаскиванием по дну

Указания по применению норм

Нормами предусмотрено протаскивание трубопровода без балластных грузов по дну водоема или подводной траншеи по одной из следующих схем (рис. 7): протаскивание трубопровода тракторами или тракторными лебедками, находящимися на противоположном от спускового пути берегу реки; протаскивание трубопровода тракторами или тракторными лебедками, находящимися на том же берегу, что и плети трубопровода, через блок, установленный на противоположном берегу.

Рис. 7. Схема протаскивания трубопровода

а - при расположении тяговых средств и трубопровода на противоположных берегах; б - при расположении тяговых средств и трубопровода на одном берегу; 1 - разгружающие понтоны; 2 - трубопровод; 3 - тяговый трос; 4 - тракторы; 5 - вагонетки; 6 - анкер; 7 - поворотный блок; 8 - рельсовая спусковая дорожка

Подрезка троса нормами не учтена.

Выбор схемы зависит от естественных условий (состояния берегов, ширины водоема, наличия тяговых средств и т.п.).

Плети трубопровода подаются трубоукладчиками к спусковому пути, по которому трубопровод подается в воду для укладки.

При использовании тележек для протаскивания в конце спускового пути устраивается приямок, из которого тележки извлекаются автокраном.

После протаскивания первой плети ее конец оставляется на урезе, к нему пристыковывается вторая плеть и после сварки, изоляции и футеровки стыкового соединения трубопровод протаскивается на длину новой плети (рис. 8).

Рис. 8. Схема протаскивания с последовательным наращиванием трубопровода

1 - секции труб; 2 - тяговый трос; 3 - тракторы

В аналогичной последовательности протаскиваются последующие плети.

Состав и количество плавучих средств, механизмов и другого оборудования определяются проектом производства работ.

Нормами не учтены работы по подрезке троса, установке балластных грузов и разгружающих понтонов, обслуживанию плавучих средств и механизмов, а также дежурство водолазной станции.

Состав работы

1. Установка мертвяков и лебедок.

2. Расстановка плавсредств и механизмов.

3. Прокладка тросов через водоем.

4. Запасовка блоков.

5. Застропка головной плети.

6. Протаскивание первой плети.

7. Наращивание второй плети: срезка заглушек со снятием фасок под сварку, стыковка, сварка, изоляция и футеровка мест стыковки.

8. Протаскивание и наращивание последующих плетей.

9. Уборка плавсредств и механизмов.

Таблица 1

Профессия и разряд рабочих

Диаметр трубопровода, мм

219-377

от 426 до 1620

Монтажник наружных трубопроводов 6 разр.

2

2

То же 5 "

1

1

 “ 4 "

2

2

 “ 3 "

3

3

Изолировщик на гидроизоляции 5 разр.

1

1

То же 3 "

-

1

Электросварщик ручной сварки 6 разр.

1

1

Газорезчик 4 разр.

1

1

Речные рабочие 2 разр.

2

4

Таблица 2

Нормы времени и расценки на протаскивание 100 м трубопровода

Длина трубопровода, м

Состав звена

Диаметр трубопровода, мм*

 

219

245

273

299

325

351

377

426

478

До 200

Изолировщик

2,7

------

2-46

3

------

2-73

3,3

------

3-00

3,6

------

3-28

3,9

------

3-55

4,2

------

3-82

4,4

------

4-00

8

------

6-44

9

------

7-25

1

 

Электросварщик, газорезчик

5,4

------

5-00

6

------

5-55

6,6

------

6-11

7,2

------

6-66

7,8

------

7-22

8,4

------

7-77

8,8

------

8-14

8

------

7-40

9

------

8-33

2

 

Рабочие

27

(2,7)

------

21-57

30

(3)

------

23-97

33

(3,3)

------

26-37

36

(3,6)

------

28-76

39

(3,9)

------

31-16

42

(4,2)

-----

33-56

44

(4,4)

-----

35-16

48

(4)

------

37-08

54

(4,5)

------

41-72

3

Св. 200

Изолировщик

1,9

------

1-73

2

------

1-82

2,2

------

2-00

2,4

------

2-18

2,6

------

2-37

2,8

-------

2-55

3

------

2-73

5,4

------

4-35

6

------

4-83

4

 

Электросварщик, газорезчик

3,8

-----

3-52

4

------

3-70

4,4

-----

4-07

4,8

-----

4-44

5,2

------

4-81

5,6

------

5-18

6

-----

5-55

5,4

-----

5-00

6

------

5-55

5

 

Рабочие

19

(1,9)

------

15-18

20

(2)

------

15-98

22

(2,2)

------

17-58

24

(2,4)

------

19-18

26

(2,6)

------

20-77

28

(2,8)

------

22-37

30

(3)

------

23-97

32,4

(2,7)

------

25-03

36

(3)

------

27-81

6

 

 

а

б

в

г

д

е

ж

з

и

Продолжение табл. 2

Длина трубопровода, м

Состав звена

Диаметр трубопровода, мм*

 

529

630

720

820

920

1020

1220

1420

1620

До 200

Изолировщик

10

------

8-05

11,6

------

9-34

13,2

-----

10-63

14,8

-----

11-91

16,6

-----

13-36

18,4

-----

14-81

22

------

17-71

25

-----

20-13

29

-----

23-35

1

 

Электросварщик, газорезчик

10

-----

9-25

11,6

-----

10-73

13,2

-----

12-21

14,8

-----

13-69

16,6

-----

15-36

18,4

-----

17-02

22

------

20-35

25

-----

23-13

29

-----

26-83

2

 

Рабочие

60

(5)

------

46-35

69,6

(5,8)

------

53-77

79,2

(6,6)

------

61-18

88,8

(7,4)

------

68-60

99,6

(8,3)

------

76-94

110,4

(9,2)

------

85-28

132

(11,0)

-------

101-97

150

(12,5)

------

115-88

174

(14,5)

------

134-42

3

Св. 200

Изолировщик

6,6

-----

5-31

7,8

-----

6-28

9

-----

7-25

10

-----

8-05

11,2

-----

9-02

12,4

-----

9-98

14,6

------

11-75

17

-----

13-69

19,4

-----

15-62

4

 

Электросварщик, газорезчик

6,6

-----

6-11

7,8

-----

7-22

9

-----

8-33

10

-----

9-25

11,2

-----

10-36

12,4

-----

11-47

14,6

-----

13-51

17

-----

15-73

19,4

-----

17-95

5

 

Рабочие

39,6

(3,3)

-----

30-59

46,8

(3,9)

------

36-15

54

(4,5)

------

41-72

60

(5)

-----

46-35

67,2

(5,6)

------

51-91

74,4

(6,2)

------

57-47

87,6

(7,3)

------

67-67

102

(8,5)

------

78-80

116,4

(9,7)

------

89-92

6

 

 

к

л

м

н

о

п

р

с

 

Примечание. При протаскивании трубопровода без наращивания плетей Н. вр. и Расц. умножать на 0,8 (ПР-1).

§ Е39-19. Укладка трубопроводов в подводную траншею заполнением водой (свободное погружение)

Указания по применению норм

Нормами предусмотрено, что трубопровод, покрытый изоляцией, с приваренными по концам заглушками на плаву заводится в створ перехода по схемам, изображенным на рис. 9, 10 и 11.

Рис. 9. Схема установки трубопровода в створ при ширине реки до 250 м

I - начальное положение; II - промежуточное положение; III - конечное положение; 1 - трубопровод; 2 - тяговый трос; 3 - тросы-оттяжки

Рис. 10. Схема установки трубопровода в створ при ширине реки более 250 м

I - начальное положение; II - промежуточное положение; III - конечное положение; 1 - трубопровод; 2 - тяговый трос; 3 - тросы-оттяжки

Рис. 11. Схема установки трубопровода в створ разворотом на плаву

I-IV - положения трубопровода в процессе установки; V - конечное положение; 1 - трубопровод; 2 - тросы-оттяжки; 3 - понтоны; 4 - анкеры

После заводки трубопровода в створ перехода и проверки правильности положения в один из его концов заливается вода и открывается воздушный вентиль на противоположном конце трубопровода. Погружение трубопровода в подводную траншею происходит по мере заполнения его водой.

При выполнении работ по укладке трубопровода способом свободного погружения необходимо перед заливом воды тщательно проверить расстановку судов, плавучих технических средств и механизмов.

Необходимый состав и количество судов, плавучих технических средств и механизмов (катеров, плавучих опор с лебедками, насосных установок, сварочных агрегатов, водолазных станций и т.д.) определяются проектом производства работ.

В зависимости от глубины погружения, скорости течения и длины перехода трубопровод оснащается разгружающими понтонами для уменьшения напряжений от изгиба и оттяжками для предотвращения сноса его со створа перехода. Количество понтонов и оттяжек устанавливается расчетом.

Нормами не учтены: устройство оттяжек, установка и снятие разгружающих понтонов, якорей, обслуживание плавсредств и механизмов, а также дежурство водолазных станций.

Состав работы

1. Расстановка судов, плавучих технических средств и механизмов.

2. Заводка трубопровода в створ.

3. Застропка трубопровода на оттяжки.

4. Центровка трубопровода с помощью лебедок.

5. Заливка трубопровода с опусканием его на дно траншеи.

6. Уборка плавучих средств и механизмов.

Таблица 1

Состав звена

Профессия и разряд рабочих

При диаметре трубопровода, мм

351-478

529-820

920-1620

Монтажник наружных трубопроводов 6 разр.

1

1

2

То же 4 "

2

4

4

Речные рабочие 3 “

8

11

17

Таблица 2

Нормы времени и расценки на укладку 100 м трубопровода

Длина трубопровода, м

Диаметр трубопровода, мм*

 

351

377

426

478

529

630

720

До 200

7,6

(1,6)

-------

13-18

19,8

(1,8)

-------

14-83

22

(2)

-------

16-48

25,3

(2,3)

-------

18-95

28,8

(1,8)

--------

21-46

35,2

(2,2)

-------

26-22

41,6

(2,6)

-------

30-99

1

Св. 200

15,4

(1,4)

------

11-54

16,5

(1,5)

-------

12-36

18,7

(1,7)

-------

14-01

20,9

(1,9)

-------

15-66

24

(1,5)

-------

17-88

30,4

(1,9)

-------

22-65

35,2

(2,2)

-------

26-22

2

 

а

б

в

г

д

е

ж

Продолжение табл. 2

Длина трубопровода, м

Диаметр трубопровода, мм*

 

820

920

1020

1220

1420

1620

До 200

49,6

(3,1)

--------

36-95

57,5

(2,5)

--------

42-95

64,4

(2,8)

--------

48-11

80,5

(3,5)

-------

60-13

96,6

(4,2)

-------

72-16

112,7

(4,9)

-------

84-19

1

Св. 200

41,6

(2,6)

-------

30-99

46

(2)

--------

34-36

52,9

(2,3)

-------

39-52

66,7

(2,9)

--------

49-82

80,5

(3,5)

--------

60-13

92

(4)

--------

68-72

2

 

з

и

к

л

м

н

§ Е39-20. Укладка трубопроводов в подводную траншею со льда заполнением водой

Указания по применению норм

Нормами предусмотрено, что трубопровод, подготовленный к укладке на льду или спусковой дорожке, стаскивается на плав в подготовленную майну и застрапливается за кнехты пал. В зависимости от диаметра трубопровода и глубин водоема применяются разгружающие понтоны, количество которых определяется по расчету.

В зависимости от скорости течения для удержания трубопровода в створе при его погружении забиваются сваи или устанавливаются маятниковые оттяжки.

Состав и количество тракторов, мотопомп, сварочных агрегатов и водолазных станций определяются проектом производства работ.

Нормами не учтены установка пал, маятниковых оттяжек, направляющих свай, навеска грузов, разгружающих понтонов, обслуживание плавсредств и механизмов, а также дежурство водолазных станций.

Состав работы

1. Расстановка механизмов.

2. Спуск трубопровода в майну.

3. Застропка трубопровода за кнехты пал и столбы маятниковых оттяжек.

4. Заливка трубопровода водой с опусканием его на дно траншеи и отстропкой.

5. Уборка механизмов и снятие маятниковых оттяжек.

Таблица 1

Состав звена

Профессия и разряд рабочих

При диаметре трубопровода, мм

351-478

520-820

920-1620

Монтажник наружных трубопроводов 6 разр.

1

1

2

То же 4 "

2

4

4

Речные рабочие 3 “

8

11

17

Таблица 2

Нормы времени и расценки на укладку 100 м трубопровода

Длина трубопровода, м

Диаметр трубопровода, мм*

 

351

377

426

478

529

630

720

До 200

20,9

(1,9)

-------

15-66

22

(2)

-------

16-48

25,3

(2,3)

-------

18-95

28,6

(2,6)

-------

21-42

32

(2)

-------

23-84

38,4

(2,4)

-------

28-61

46,4

(2,9)

-------

34-57

1

Св. 200

16,5

(1,5)

-------

12-36

17,6

(1,6)

-------

13-18

19,8

(1,8)

-------

14-83

23,1

(2,1)

------

17-30

25,6

(1,6)

-------

19-07

32

(2)

-------

23-84

38,4

(2,4)

-------

28-61

2

 

а

б

в

г

д

е

ж

Продолжение табл. 2

Длина трубопровода, м

Диаметр трубопровода, мм*

 

820

920

1020

1220

1420

1620

До 200

54,4

(3,4)

-------

40-53

62,1

(2,7)

-------

46-39

73,6

(3,2)

-------

54-98

89,7

(3,9)

------

67-01

108,1

(4,7)

------

80-75

128,8

(5,6)

-------

96-21

1

Св. 200

43,2

(2,7)

------

32-18

50,6

(2,2)

-------

37-80

57,5

(2,5)

-------

42-95

71,3

(3,1)

-------

53-26

87,4

(3,8)

-------

65-29

101,2

(4,4)

-------

75-60

2

 

з

и

к

л

м

н

§ Е39-21. Укладка секций трубопроводов на дно подводной траншеи и стыковка их на фланцах

Указания по применению норм

Нормами предусмотрена укладка в подводную траншею трубопроводов длиной до 50 м с помощью двух плавучих кранов необходимой грузоподъемности (рис. 12). Секцию трубопровода устанавливают в створе укладки, отдают заглушки и опускают в подводную траншею, после чего водолаз стыкует секцию с ранее уложенной и берет ее на оправки. Место укладки трубопровода обозначают вехами или буйками. Нормами не учтено устройство приямков при стыковке трубопроводов. Постановка болтов нормируется по § Е39-32.

Рис. 12. Схема расположения механизмов и оборудования для секционной укладки трубопроводов

1 - секция трубопровода; 2 - плавучие краны; 3 - водолазный бот; 4 - уложенный трубопровод

Состав работы

1. Установка секции в створ перехода и застропка ее к кранам.

2. Снятие заглушек.

3. Опускание секции под воду

4. Стыковка секций и взятие их на оправки.

5. Постановка буйка или вехи у конца уложенной плети.

6. Отстропка секции.

Состав звена

Водолазная станция                                                  - 1

Монтажник наружных трубопроводов       4 разр. - 2

То же,                                                             3 разр. - 2

Речной рабочий                                            2 разр. - 1

Нормы времени и расценки на 1 секцию

Диаметр трубопровода, мм

При длине секций, м

 

от 20 до 35

св. 35 до 50

Н. вр.

------------

Расц.

водолазной станции

рабочих

водолазной станции

рабочих

273

1,9

---------

7-18

11

(2,2)

--------

7-96

2,6

--------

9-83

15

(3)

-------

10-86

1

299

2

-------

7-56

11,5

(2,3)

--------

8-33

2,7

-------

10-21

15,5

(3,1)

--------

11-22

2

325

2,1

-------

7-94

12

(2,4)

--------

8-69

2,8

-------

10-58

16

(3,2)

--------

11-58

3

От 351 до 377

2,2

-------

8-32

12,5

(2,5)

--------

9-05

2,9

-------

10-96

16,5

(3,3)

---------

11-95

4

426

2,3

-------

8-69

13

(2,6)

--------

9-41

3,1

-------

11-72

17,5

(3,5)

--------

12-67

5

От 478 до 529

2,5

-------

9-45

14,5

(2,9)

--------

10-50

3,3

-------

12-47

19

(3,8)

--------

13-76

6

630

2,8

-------

10-58

16

(3,2)

--------

11-58

3,6

-------

13-61

20,5

(4,1)

--------

14-84

7

720

3,1

-------

11-72

17,5

(3,5)

---------

12-67

3,9

--------

14-74

22

(4,4)

---------

15-93

8

820

3,3

-------

12-47

19

(3,8)

---------

13-76

4,2

--------

15-88

24

(4,8)

--------

17-38

9

920

3,6

--------

13-61

20,5

(4,1)

--------

14-84

4,7

--------

17-77

27

(5,4)

---------

19-55

10

1020

3,7

-------

13-99

21

(4,2)

--------

15-20

4,9

-------

18-52

28

(5,6)

--------

20-27

11

1220

4,1

--------

15-50

23,5

(4,7)

--------

17-01

5,5

-------

20-79

31,5

(6,3)

---------

22-81

12

1420

4,6

-------

17-39

26

(5,2)

--------

18-82

6,1

---------

23-06

35

(7)

--------

25-34

13

1620

5,1

-------

19-28

29

(5,8)

--------

21-00

6,7

--------

25-33

38

(7,6)

---------

27-51

14

 

а

б

в

г

§ Е39-22. Установка под водой соединительных муфт на секциях трубопроводов

Указания по применению норм

Нормами предусмотрена установка под водой на стыки состыкованных между собой секций трубопровода диаметром 820-1220 мм стальных полумуфт с прокладками, изготовленными из пакли или других материалов. Соединение полумуфт между собой производится болтами.

Разработка грунта (приямков) для установки муфт нормами не учтена. Постановка болтов нормируется по § Е39-32.

Состав работы

1. Установка в створе перехода водолазного катера и понтона с лебедкой.

2. Подача водолазу полумуфт.

3. Установка полумуфт на стык.

Нормы времени и расценки на установку 1 муфты

Состав звена

Водолазная станция

Рабочие

Водолазная станция - 1

Монтажник наружных трубопроводов 4 разр. - 1

1,5

--------

5-67

5,1

-------

3-72

Речные рабочие 3 разр. - 2

 

 

 

а

б

§ Е39-23. Подводное соединение "уток" с трубопроводами на фланцах

Указания по применению норм

Установленные под набережной "утки" стыкуется с опущенным в подводную траншею трубопроводом диаметром 630-820 мм. Стыковка производится с помощью плавкранов и лебедок по указанию водолаза. При совмещении фланцев снимаются временные заглушки и производится постановка болтов водолазом, которая нормами не учтена и нормируется по § Е39-32.

Количество и состав плавучих средств, плавкранов, механизмов и другого оборудования определяется проектом производства работ в зависимости от длины "утки", скорости течения, глубины воды и других условий.

Состав работы

1. Водолазное обследование.

2. Застропка "утки" и трубопровода к стрелам плавкранов.

3. Стыковка "утки".

4. Снятие временных заглушек.

5. Центровка фланцев.

Нормы времени и расценки на 1 соединение

Состав звена

Водолазная станция

Рабочие

Водолазная станция - 1

Монтажник наружных трубопроводов 5 разр. - 1

То же 4 разр. - 2

“ 3 “ - 4

2,7

---------

10-21

46,5

(3,1)

--------

32-27

Речные рабочие 2 разр. - 8

 

 

 

а

б

§ Е39-24. Установка на трубопроводы балластных грузов

А. УСТАНОВКА БАЛЛАСТНЫХ КОЛЬЦЕВЫХ ГРУЗОВ НА БЕРЕГУ

Указания по применению норм

Нормами предусмотрена установка на трубопроводы балластных кольцевых, чугунных и железобетонных грузов массой 150-1100 кг, состоящих из двух половинок, скрепляемых четырьмя болтами (рис. 13).

Рис. 13. Установка грузов на трубопровод

1 - трубоукладчик; 2 - верхняя половина груза; 3 - трубопровод; 4 - нижняя верхняя половина груза

Нормами учтена укладка трубопровода с помощью трубоукладчика или автокрана на временные опоры, расположенные на спланированной площадке. Подача грузов к месту установки нормами не учтена.

Состав работы

1. Выкладывание трубопровода на опоры.

2. Застропка и отстропка грузов.

3. Установка нижних половинок грузов под трубопровод.

4. Снятие опор и укладка трубопровода на нижние половинки грузов.

5. Установка верхних половинок грузов.

6. Постановка и затягивание болтов.

Таблица 1

Нормы времени и расценки на 1 груз

Состав звена

Масса груза, кг

Н. вр.

--------

Расц.

Машинист крана-трубоукладчика 6 разр. - 1

До 150

0,85

(0,17)

--------

0-67,2

1

Монтажник наружных трубопроводов

4 разр. - 1

Св. 150 до 450

1,65

(0,33)

---------

1-30

2

То же 3 разр. - 3

 

 

 

Машинист крана-трубоукладчика 6 разр. - 1

Св. 450 до 1100

2,52

(0,42)

--------

1-95

3

Монтажник наружных трубопроводов

4 разр. - 1

 

 

 

То же 3 разр. - 4

 

 

 

Б. УСТАНОВКА БАЛЛАСТНЫХ СЕДЛОВИДНЫХ ГРУЗОВ НА БЕРЕГУ

Указания по применению норм

Нормой предусмотрена установка балластных седловидных железобетонных грузов массой 500-800 кг на подготовленные к укладке спаренные плети трубопроводов трубоукладчиками или автокранами.

Состав работы

1. Застропка грузов.

2. Установка грузов на спаренный трубопровод.

3. Отстропка грузов.

4. Крепление грузов к трубопроводу.

Таблица 2

Нормы времени и расценки на 1 груз

Состав звена

Н. вр.

-------

Расц.

Машинист крана-трубоукладчика 6 разр. – 1

Монтажник наружных трубопроводов 4 разр. - 1

То же 3 “ - 2

1,04

(0,26)

--------

0-84,5

В. УСТАНОВКА БАЛЛАСТНЫХ ГРУЗОВ ПОД ВОДОЙ ВОДОЛАЗАМИ

Указания по применению норм

Нормами предусмотрена установка плавучим краном с участием водолазов балластных седловидных или П-образных грузов массой 4-10 т на уложенный в подводную траншею трубопровод (рис. 14). Грузы находятся на плавучей площадке или барже. Кран и плавучая площадка (баржа) по мере надобности переставляются буксиром вдоль трассы уложенного трубопровода.

Рис. 14. Схема установки грузов на подводный трубопровод

1 - подводный трубопровод; 2 - водолазный бот; 3 - плавучий кран; 4 - баржа с грузами; 5- грузы, установленные на трубопровод

Транспортирование грузов и их погрузка на плавучую площадку (баржу), а также подмыв стенок траншеи гидромониторной струей или грунтососом в местах прилегания уложенного трубопровода к стенкам траншеи для придания устойчивого положения грузов на трубопроводе нормами не учтены.

Состав работы

1. Швартовка крана к плавучей площадке (барже).

2. Застропка груза и его перемещение краном в створ трубопровода.

3. Установка груза водолазами на подводный трубопровод.

4. Отстропка груза и возвращение стрелы крана к месту расположения плавучей площадки (баржи).

5. Перестановка плавучего крана и плавучей площадки с грузами вдоль трубопровода с перекладкой якорей.

Состав звена

Водолазная станция - 1

Речные рабочие 2 разр. - 2

Таблица 3

Нормы времени и расценки на установку 1 груза

Масса груза, т

Водолазная станция

Рабочие

 

До 4

0,32

---------

1-21

0,72

(0,36)

--------

0-46,1

1

Св. 4 до 6

0,52

----------

1-97

1,18

(0,59)

---------

0-75,5

2

“ 6 “ 8

0,73

---------

2-76

1,66

(0,83)

--------

1-06

3

 “ 8 “ 10

0,82

---------

3-10

1,86

(0,93)

--------

1-19

4

 

а

б

Примечание. При установке грузов массой до 500 кг с креплением их к трубопроводу следует применять на 1 груз: Н. вр. водолазной станции 0,94 ст.-ч и Расц. 3-55; Н. вр. рабочих 2,1 чел.-ч и Расц. 1-04 (ПР-1).

§ Е39-25. Установка универсальных жестких (стальных) понтонов на трубопроводы и снятие их

Указания по применению норм

Нормами предусмотрены установка одиночных и спаренных понтонов подъемной силой 15 и 30 кН (1,5 и 3 тс) на трубопроводы на плаву и суше и снятие их под водой.

Заливка понтонов водой перед перерезкой тросов и продувка его воздухом для подъема, а также извлечение понтонов из воды и их буксировка нормами не учтены.

Состав работ

А. При установке на плаву

1. Доставка понтонов к месту работы на расстояние до 20 м.

2. Установка на плавающий трубопровод одиночных или спаренных понтонов.

3. Протаскивание через клюзы понтонов готовых стропов.

4. Крепление понтонов к трубопроводу.

5. Переходы к следующему понтону.

Б. При установке на суше автокраном

1. Заготовка стропов из троса или каната.

2. Подкатывание понтонов на расстояние до 20 м.

3. Установка понтонов на трубопровод с помощью автокрана.

4. Протаскивание через клюзы понтонов готовых стропов.

5. Крепление понтонов к трубопроводу.

6. Переходы к следующему понтону и перевод крана.

В. При снятии понтонов

1. Осмотр водолазами места застропки.

2. Перерезка тросов.

3. Переход водолаза к следующему понтону.

Таблица 1

Состав звена

Профессия и разряд рабочих

Установка понтонов

Снятие понтонов

Водолазная станция

-

1

Монтажник наружных трубопроводов 5 разр.

1

-

Речные рабочие 2 “

2

-

Таблица 2

Нормы времени и расценки на 1 понтон

Наименование работ

Водолазная станция

Рабочие

 

Установка понтонов на плаву

одиночных

-

3

(1)

---------

2-19

1

 

спаренных

-

2,49

(0,83)

---------

1-82

2

Установка одиночных понтонов на суше автокраном

-

1,98

(0,66)

--------

1-45

3

Снятие понтонов под водой

0,72

----------

2-72

-

4

 

а

б

ГЛАВА 3

ПОДВОДНЫЕ РАБОТЫ С МЕТАЛЛИЧЕСКИМИ КОНСТРУКЦИЯМИ

Техническая часть

1. Нормами настоящей главы предусмотрены подводная резка и сварка металла, а также другие работы с металлическими конструкциями.

2. При резке металла под водой электрокислородным способом должны выполняться правила техники безопасности при работе с кислородом.

3. К выполнению водолазных работ по электрической сварке и резке металла допускаются водолазы только в исправном снаряжении, в водолазной рубахе или гидрокомбинезоне с приклеенными рукавицами, прошедшие соответствующую подготовку и имеющие удостоверение на производство указанных работ.

Для защиты металлических частей водолазного снаряжения, в том числе водолазного шлема, от разрушения в результате электролиза, при подводной электросварке и резке необходимо нанести на них изоляционное покрытие с последующей полимеризацией.

4. Производить резку и сварку сосудов и трубопроводов, находящихся под давлением, запрещается.

5. Работы, связанные с перемещением оборудования для подводной сварки и резки металла, подготовкой оборудования, приспособлений и материалов к работе, в нормах не учтены.

6. Предварительный отмыв грунта для обеспечения свободного доступа к конструкциям, очистка металлических конструкций для удобства работ с ними (за исключением параграфов, где эти работы включены в состав работ) нормами не предусмотрены и нормируются отдельно по соответствующим параграфам настоящего Сборника.

7. Место работ по резке и сварке металла тщательно очищается от посторонних предметов и здесь устраивается настил или спускается забалластированная площадка из досок. Производство этих работ нормами не учтено.

8. При подводной сварке и резке металла нормами соответствующих параграфов учтена работа водолаза в зимней рубахе, независимо от температуры воды (коэффициент 1,25 к Н. вр. и Расц. водолазной станции не применять) (ТЧ-2).

§ Е39-26. Подводная электродуговая резка стали

Указания по применению норм

Нормами предусмотрена подводная электродуговая резка стали с применением электродов со специальным покрытием, которое должно быть эластичным, обладать повышенной механической прочностью и образовывать при сварке "козырек", способствующий стабилизации процесса горения дуги.

Для соблюдения направления реза надлежит пользоваться направляющими деревянными шаблонами или стальными угольниками.

Состав работы

1. Подача водолазу электрододержателя, электродов, направляющих шаблонов, скребков и металлических щеток.

2. Зачистка поверхности металла по месту реза.

3. Резка металла.

4. Подъем наверх электрододержателя и вспомогательных приспособлений.

Состав звена

Водолазная станция                                             - 1

Машинист электросварочного агрегата 4 разр. - 1

Нормы времени и расценки на 1 м реза листовой или профильной стали и на 100 резов круглой стали

Сталь

Толщина листовой или профильной и диаметр круглой стали, мм

Положение реза

 

нижнее

вертикальное или горизонтальное

Н. вр.

-----------

Расц.

водолазной станции

машиниста

водолазной станции

машиниста

Листовая или профильная

До 5

0,52

-------

1-97

0,59

-------

0-46,6

0,65

--------

2-46

0,74

-------

0-58,5

1

 

Св. 5 до 8

0,75

-------

2-84

0,86

--------

0-67,9

0,96

--------

3-63

1,1

------

0-86,9

2

 

“ 8 “ 10

0,9

-------

3-40

1

------

0-79

1,2

--------

4-54

1,4

-------

1-11

3

 

“ 10 “ 15

1,2

--------

4-54

1,4

--------

1-11

1,6

--------

6-05

1,8

-------

1-42

4

 

“ 15 “ 20

1,8

--------

6-80

2,1

-------

1-66

2,3

--------

8-69

2,6

-------

2-05

5

 

“ 20 “ 25

2,4

--------

9-07

2,7

-------

2-13

3,2

-------

12-10

3,6

--------

2-84

6

Круглая

До 12

7,3

--------

27-59

8,3

-------

6-56

8,3

-------

31-37

9,5

--------

7-51

7

 

Св. 12 до 25

10,5

--------

39-69

12,0

-------

9-48

12,5

-------

47-25

14,5

-------

11-46

8

 

“ 25 “ 50

20,5

---------

77-49

23,5

--------

18-57

25,5

--------

96-39

29,0

-------

22-91

9

 

“ 50 “ 75

33,5

---------

126-63

38,0

--------

30-02

44,5

-------

168-21

51

-------

40-29

10

 “ 75 “ 100

48,5

--------

183-33

55

-------

43-45

63

-------

238-14

72

--------

56-88

11

 

а

б

в

 

§ Е39-27. Подводная электрокислородная резка стали и труб

Указания по применению норм

Нормами предусмотрена электрокислородная резка труб и стали с помощью специального электрододержателя типа ЭКД-4, который обеспечивает подачу тока и кислорода к электродам ЭПР-1 предназначенным для подводной резки.

Для удобства резки трубопровода, находящегося на дне водоема или траншеи, вокруг него должен быть удален грунт для обеспечения доступа водолаза к месту резки. Удаление грунта нормами не учтено.

Состав работы

1. Регулирование элекрододержателя на горение в надводном и подводном положениях.

2. Подача водолазу электрододержателя, скребков, металлических щеток и электродов.

3. Зачистка поверхности металла по месту реза.

4. Резка металла.

5. Подъем наверх электрододержателя и вспомогательных приспособлений.

Состав звена

Водолазная станция                                             - 1

Машинист электросварочного агрегата 4 разр. - 1

Таблица 1

Нормы времени и расценки на 1 м реза листовой или профильной стали и на 100 резов круглой стали

Сталь

Толщина листовой или профильной и диаметр круглой стали, мм

Положение реза

 

нижнее

вертикальное или горизонтальное

потолочное

Н. вр.

-----------

Расц.

водолазной станции

машиниста

водолазной станции

машиниста

водолазной станции

машини­ста

Листовая или профильная

До 8

0,21

-------

0-79,4

0,24

-------

0-19

0,26

-------

0-98,3

0,3

------

0-23,7

0,42

-------

1-59

0,48

-------

0-37,9

1

Св. 8 до 10

0,24

--------

0-90,7

0,27

-------

0-21,3

0,31

--------

1-17

0,35

-------

0-27,7

0,51

--------

1-93

0,58

-------

0-45,8

2

 

“ 10 “ 15

0,32

--------

1-21

0,36

--------

0-28,4

0,41

--------

1-55

0,47

-------

0-37,1

0,71

-------

2-68

0,81

-------

0-64

3

 

“ 15 “ 20

0,49

--------

1-85

0,56

-------

0-44,2

0,61

-------

2-31

0,7

-------

0-55,3

1

-------

3-78

1,1

-------

0-86,9

4

 

“ 20 “ 30

0,65

--------

2-46

0,74

--------

0-58,5

0,8

--------

3-02

0,91

--------

0-71,9

1,3

--------

4-91

1,5

-------

1-19

5

 

“ 30 “ 40

0,83

--------

3-14

0,95

------

0-75,1

1

-------

3-78

1,1

-------

0-86,9

1,8

-------

6-80

2,1

-------

1-66

6

 

“ 40 “ 50

1

--------

3-78

1,1

-------

0-86,9

1,3

-------

4-91

1,5

-------

1-19

2,2

-------

8-32

2,5

--------

1-98

7

Круглая

До 12

3,9

-------

14-74

4,4

------

3-48

5,8

------

21-92

6,6

-------

5-21

8,7

-------

32-89

9,9

-------

7-82

8

 

Св. 12 до 25

6,8

-------

25-70

7,8

------

6-16

7,8

-------

29-48

8,9

--------

7-03

13

--------

49-14

15

-------

11-85

9

 

“ 25 “ 50

13

--------

49-14

15

-------

11-85

16

-------

60-48

18

-------

14-22

29,5

--------

111-51

33,5

--------

26-47

10

 

“ 50 “ 75

21,5

--------

81-27

24,5

-------

19-36

27,5

--------

103-95

31,5

--------

24-89

58

-------

219-24

66

-------

52-14

11

 “ 75 “ 100

38,5

---------

145-53

44

-------

34-76

45,5

--------

171-99

52

-------

41-08

107

-------

404-46

122

-------

96-38

12

 

а

б

в

г

д

е

Таблица 2

Нормы времени и расценки на 1 рез трубы

 

Диаметр трубы, мм*

 

219

245

273

299

325

351

377

426

478

Водолазная станция

0,26

------

0-98,3

0,29

------

1-10

0,33

------

1-25

0,36

------

1-36

0,39

------

1-47

0,42

------

1-59

0,46

------

1-74

0,51

-----

1-93

0,58

------

2-19

1

Машинист

0,3

------

0-23,7

0,33

------

0-26,1

0,38

------

0-30

0,41

------

0-32,4

0,44

------

0-34,8

0,48

------

0-37,9

0,52

------

0-41,1

0,58

------

0-45,8

0,66

------

0-52,1

2

 

а

б

в

г

д

е

ж

з

и

Продолжение табл. 2

 

Диаметр трубы, мм*

 

529

630

720

820

920

1020

1220

1420

1620

Водолазная станция

0,64

------

2-42

0,76

------

2-87

0,87

------

3-29

0,99

------

3-74

1,1

------

4-16

1,2

------

4-54

1,5

------

5-67

1,7

------

6-43

2,1

------

7-94

1

Машинист

0,73

------

0-57,7

0,87

------

0-68,7

0,99

------

0-78,2

1,1

------

0-86,9

1,3

------

1-03

1,4

------

1-11

1,7

------

1-34

1,9

------

1-50

2,4

------

1-90

2

 

к

л

м

н

о

п

р

с

т

Примечания: 1. Нормы даны для труб с толщиной стенки 10-12 мм. При толщине стенки 8-9 мм Н. вр. и Расц. умножать на 0,9 (ПР-1), при толщине 13-14 мм - на 1,35 (ПР-2).

2. При необходимости зачистки электродов в состав звена следует вводить речного рабочего 2 разр. (ПР-3).

§ Е39-28. Подводная электросварка

Указания по применению норм

Нормами предусмотрена подводная сварка металлических конструкций в неответственных соединениях, не требующих герметизации с применением высококачественных электродов, имеющих специальную обмазку.

Нормы установлены для нижнего, горизонтального или вертикального и потолочного положений шва.

Нормами учитывается постоянный контроль за режимом сварки, который подбирается в зависимости от вида работ по табл. 1.

Таблица 1

Вид работ

Толщина свариваемого металла, мм

Диаметр электрода, мм

Сила сварочного тока, А

Сварка встык

3-5

4

160-180

То же, внахлестку

6-8

4

180-200

Заварка трещин

9-10

5

200-220

Состав работы

1. Подача водолазу элекрододержателя, электродов и инструмента для очистки стали.

2. Зачистка кромок свариваемой стали от краски, ржавчины и обрастания.

3. Установка режима сварки.

4. Сварка стали.

5. Очистка сварного шва от окалины.

6. Подъем наверх инструментов и приспособлений.

Состав звена

Водолазная станция                                             - 1

Машинист электросварочного агрегата 4 разр. - 1

Таблица 2

Нормы времени и расценки на 1 м сварного шва

Сварка

Толщина свариваемой стали, мм

Положение реза

 

нижнее

горизонтальное или вертикальное

потолочное

Н. вр.

-----------

Расц.

водолазной станции

машиниста

водолазной станции

машиниста

водолазной станции

машиниста

Внахлестку

До 4

0,59

------

2-23

0,67

-------

0-52,9

0,95

-------

3-59

1,1

-------

0-86,9

1,5

-------

5-67

1,7

-------

1-34

1

 

Св. 4 до 6

0,81

--------

3-06

0,92

-------

0-72,7

1,3

-------

4-91

1,5

-------

1-19

2

-------

7-56

2,3

-------

1-82

2

 

“ 6 “ 8

1,2

-------

4-54

1,4

-------

1-11

1,9

------

7-18

2,2

-------

1-74

2,7

------

10-21

3,1

------

2-45

3

 

“ 8 “ 10

1,6

-------

6-05

1,8

-------

1-42

2,4

-------

9-07

2,7

-------

2-13

3,3

------

12-47

3,8

------

3-00

4

Встык и заварка трещин

До 4

0,47

-------

1-78

0,54

-------

0-42,7

0,76

-------

2-87

0,87

-------

0-68,7

1,2

-------

4-54

1,4

------

1-11

5

 

Св. 4 до 6

0,65

------

2-46

0,74

-------

0-58,5

1

--------

3-78

1,1

-------

0-86,9

1,6

-------

6-05

1,8

--------

1-42

6

 

“ 6 “ 8

0,95

-------

3-59

1,1

-------

0-86,9

1,6

------

6-05

1,8

-------

1-42

2,1

-------

7-94

2,4

------

1-90

7

 

“ 8 “ 10

1,3

-------

4-91

1,5

------

1-19

1,9

------

7-18

2,2

------

1-74

2,7

------

10-21

3,1

------

2-45

8

 

а

б

в

г

д

е

§ Е39-29. Перепиливание металлических конструкций ручной ножовкой

Указания по применению норм

Нормами предусмотрено перепиливание под водой металлических конструкций с площадью перепила не св. 60 см2 ручной ножовкой.

Состав работ

1. Подача водолазу инструментов.

2. Разметка мест перепиливания.

3. Перепиливание конструкций (элементов).

4. Удаление отпиленных конструкций (элементов) от места работы или подача наверх.

5. Подъем наверх инструментов и приспособлений.

Нормы времени и расценки на 10 см2 площади перепиливания

Состав звена

Марка стали

Ст 1, Ст. 2 и Ст. Л

Ст. 3 и Ст. 4

Ст. 5 и Ст. Л2

Водолазная станция - 1

0,78

-------

2-95

0,97

-------

3-67

1,2

-------

4-54

 

а

б

в

§ Е39-30. Срубка заклепок в металлических конструкциях

Состав работы

1. Подача водолазу инструментов.

2. Срубка заклепок вручную зубилом.

3. Переходы в процессе работы.

4. Подъем наверх инструментов.

Нормы времени и расценки на срубку 1 заклепки

Состав звена

Диаметр заклепок, мм*

до 16

св. 16 до 19

св. 19 до 22

св. 22 до 25

Водолазная станция - 1

0,08

-------

0-30,2

0,12

--------

0-45,4

0,16

-------

0-60,5

0,2

------

0-75,6

 

а

б

в

г

§ Е39-31. Постановка заглушек на водоприемные отверстия и снятие их

Состав работ

При постановке заглушек

1. Спуск под воду заглушки, болтов с гайками, прокладок, ключей и прочих инструментов.

2. Установка заглушки с прокладкой, постановкой болтов и завертыванием гаек до отказа.

3. Подъем из воды инструментов и приспособлений.

При снятии заглушек

1. Спуск под воду инструментов и приспособлений.

2. Отвертывание или срубка гаек и снятие шайбы.

3. Выбивка болтов или перепиливание.

4. Снятие заглушки и подача ее наверх или относка в сторону.

5. Подъем наверх инструментов и приспособлений.

Нормы времени и расценки на постановку или снятие 1 заглушки

Состав звена

Количество болтов, шт.

Водолазная станция*

Рабочие*

 

Водолазная станция - 1

До 8

2

--------

7-56

4,6

-------

2-94

1

 

Св. 8 до 16

4

-------

15-12

9,1

-------

5-82

2

Речные рабочие 2 разр. - 2

Св. 16 до 24

8,1

--------

30-62

18,5

-------

11-84

3

 

Св. 24 до 32

14,5

--------

54-81

33

---------

21-12

4

 

а

б

§ Е39-32. Постановка и снятие болтов в трубах и прочих металлических конструкциях

Указания по применению норм

Нормами предусмотрены постановка и снятие болтов в трубах и прочих металлических конструкциях при расстоянии от места постановки или снятии болтов не менее 0,5 м.

В противном случае следует сделать приямок, затраты на устройство которого в нормы не входят.

Состав работы

1. Подача водолазу инструментов, болтов.

2. Осмотр места работы.

3. Постановка болта с навертыванием гайки с помощью гаечного ключа.

4. Переходы в процессе работы.

5. Подъем из воды инструментов.

Нормы времени и расценки на постановку или снятие 1 болта

Состав звена

Наименование работ

Н. вр.

-----------

Расц.

 

Водолазная станция - 1

Постановка болта

0,2

--------

0-75,6

1

 

Снятие болта

0,12

-------

0-45,4

2

§ Е39-33. Укладка железнодорожных рельсов под водой

Указания по применению норм

Нормами предусмотрена укладка железнодорожных рельсов длиной 12,5 м под водой с помощью плавучего крана при устройстве наклонного подводного пути, используемого для спуска на воду оголовков водозаборных и выпускных сооружений, железобетонных массивов и т.п.

Подготовительные работы по устройству основания (балласт, шпалы, подкладки и т.д.), а также окончательное крепление рельсов нормами не учтены.

Состав работы

1. Спуск рельсов под воду.

2. Укладка рельсов на подготовленное основание.

3. Проверка и уточнение направления ниток рельсов и высоты головок по проекту.

4. Пригонка стяжек и накладок.

5. Закрепление звена рельсов костылями.

Нормы времени и расценки на укладку 1 рельса

Состав звена

Водолазная станция*

Рабочие*

Водолазная станция - 1

Речные рабочие 2 разр. - 3

1,5

--------

5-67

5,1

(1,7)

---------

3-26

§ Е39-34. Очистка металлических конструкций от обрастания, краски и ржавчины под водой

Состав работы

1. Подача водолазу щеток и скребков.

2. Очистка конструкций щетками и скребками от обрастания, краски и ржавчины.

3. Переходы во время работы.

4. Подъем наверх инструментов.

Нормы времени и расценки на 1 м2 очищенной поверхности

Состав звена

Очистка конструкций от*

обрастания

краски и ржавчины

Водолазная станция - 1

0,32

----------

1-21

0,72

-----------

2-72

 

а

б

ГЛАВА IV

ПОДВОДНЫЕ РАБОТЫ С ДЕРЕВЯННЫМИ КОНСТРУКЦИЯМИ

Техническая часть

1. Нормы настоящей главы предусматривают производство работ по устройству и разборке деревянных конструкций под водой.

2. Все элементы деревянных конструкций, подлежащие установке под водой, должны быть заранее заготовлены на берегу или плавучих средствах. Заготовка этих конструкций (опиловка, выделка врубок, сверление отверстий и т.п.) нормами настоящей главы не учтена. Под водой водолаз собирает и устанавливает элементы конструкций с необходимой по ходу работ подгонкой деталей, устройством врубок и сопряжений на ранее установленных (и находящихся под водой) деревянных конструкциях, со сверлением отверстий и постановкой креплений.

3. Все заготовленные детали перед подачей водолазу должны быть забалластированы. Во избежание простоя водолаза на рабочем месте должно находиться не менее двух комплектов балласта.

4. Предварительное обследование водолазом места работ или конструкций с целью определения метода работ, выбора инструментов, приспособлений, а также размыв грунта вблизи деревянных конструкций и очистка стыкуемых деталей от обрастания нормами не учтены.

5. Части деревянных элементов, находящиеся в зоне переменных горизонтов воды, надлежит выполнять из антисептированных лесоматериалов в соответствии с требованиями СНиПа.

§ Е39-35. Установка деревянных элементов конструкций гидротехнических сооружений

Состав работы

1. Разметка водолазом места установки элементов деревянных конструкций.

2. Балластировка деревянных элементов и подача их водолазу.

3. Постановка элементов водолазом с подгонкой и закреплением их.

4. Снятие балласта и подача его наверх.

Таблица 1

Состав звена

Профессия и разряд рабочих

Конструктивные элементы

схватки, раскосы, брусья, насадки

распорки

Водолазная станция

1

1

Речные рабочие 2 разр.

2

1

Рис. 15. Установка деревянных элементов

а - сопряжение схватки со сваями на скобах; б - сопряжение насадки со сваями на шипах; в - сопряжение насадки со сваями с помощью хомутов; г - раскосы из пластин; 1 - сваи; 2 - скоба; 3 - схватка; 4 - насадка; 5 - шип; 6 - хомут; 7 - раскосы

Таблица 2

Нормы времени и расценки на 1 элемент

Конструктивные элементы

Водолазная станция*

Рабочие*

 

Схватки или раскосы длиной до 6,5 м на скобах

0,51

--------

1-93

1,2

--------

0-76,8

1

Брусья длиной от 3 до 6 м при установке на скобах к шпунтовой брусчатой стене

0,61

--------

2-31

1,4

--------

0-89,6

2

То же, к сплошному свайному ряду или одиночным сваям

0,71

-------

2-68

1,6

--------

1-02

3

Готовые насадки длиной до 2 м на шипах

0,48

--------

1-81

1,1

--------

0-70,4

4

То же, на хомутах

2,6

-------

9-83

5,9

-------

3-78

5

Распорки длиной до 2,5 м на гвоздях

0,29

-------

1-10

0,33

--------

0-21,1

6

 

а

б

Примечания: 1. Выравнивание свай перед постановкой брусьев нормами не учтено (ПР-1).

2. При установке деревянных подушек, когда брус неплотно прилегает к свае, Н. вр. и Расц. умножать на 1,4 (ПР-2).

§ Е39-36. Установка хомутов

Состав работы

1. Снятие шаблона со свай и подбор хомутов по шаблону.

2. Установка хомута на место и подгонка его к свае.

3. Стягивание хомута болтами.

Рис. 16. Установка хомутов

а - при наращивании свай; б - на свайные кусты; 1 - сваи; 2 - наросток сваи; 3 - хомуты

Нормы времени и расценки на 1 хомут

Состав звена

Место установки хомутов*

при наращивании свай

на свайные кусты при расстоянии между кустами до 15 м, при числе свай в кусте, шт.

до 10

св. 10 до 15

св. 15 до 25

Водолазная станция - 1

0,74

---------

2-80

1,5

--------

5-67

2

-------

7-56

4

--------

15-12

 

а

б

в

г

§ Е39-37. Постановка стяжек

Состав работы

1. Надевание крючьев на ушки болтов.

2. Подача водолазу стяжек.

3. Установка стальных стяжек в готовые отверстия деревянных конструкций.

4. Подтягивание стяжек талрепами (для составных стяжек).

Состав звена

Водолазная станция       - 1

Речной рабочий 2 разр. - 1

Нормы времени и расценки на 1 стяжку

Стяжки

Длина стяжек, м

Водолазная станция*

Рабочие*

 

Цельные сквозные диаметром до 25 мм

До 3

0,95

--------

3-59

1,1

--------

0-70,4

1

Составные диаметром св. 25 до 65 мм

До 3

1,9

-------

7-18

2,2

-------

1-41

2

 

Св. 3 до 6

3,6

--------

13-61

4,1

--------

2-62

3

 

а

б

§ Е39-38. Устройство шипов на сваях

Указания по применению норм

Нормами предусмотрено устройство шипов высотой от 50 до 70 мм на сваях диаметром от 200 до 300 мм с помощью шаблона, с вырезанными на нем соответственно расположению шипов отверстиями.

Состав работы

1. Подача водолазу забалластированного дощатого шаблона и инструментов.

2. Разметка шипов с помощью шаблона.

3. Запиловка шипа.

4. Сколка и подчистка шипа.

5. Подъем наверх шаблона и инструментов.

Нормы времени и расценки на устройство 1 шипа

Состав звена

Положение шипа*

вертикальное

наклонное

Водолазная станция - 1

0,52

--------

1-97

0,63

--------

2-38

 

а

б

§ Е39-39. Перепиливание и наращивание отдельных венцов ряжей

Состав работ

При перепиливании отдельных венцов ряжей диаметром от 220 до 240 мм ручной ножовкой

1. Разметка водолазом мест перепиливания.

2. Перепиливание венцов ручной ножовкой. 3. Подбивка клина при защемлении ножовки.

При наращивании отдельных венцов ряжей

1. Подача водолазу забалластированного дощатого шаблона.

2. Разметка и подготовка шаблона водолазом.

3. Поднятие шаблона наверх.

4. Подача водолазу заготовляемого по шаблону отрезка венца.

5. Установка отрезка венца на место и закрепление скобами или ершами.

6. Снятие и подача наверх балласта.

Таблица 1

Состав звена

Профессия и разряд рабочих

При перепиливании венцов ряжей

При наращивании венцов ряжей

Водолазная станция

1

1

Речные рабочие 2 разр.

-

2

Таблица 2

Нормы времени и расценки на одно перепиливание бревна в венце и на наращивание 1 м венца

Наименование работы

Водолазная станция*

Рабочие*

 

Перепиливание бревна в венце

0,26

--------

0-98,3

-

1

Наращивание венца

0,31

--------

1-17

0,71

---------

0-45,4

2

 

а

б

§ Е39-40. Спиливание свай и шпунтовых рядов

Указания по применению норм

Нормами предусмотрено спиливание свай и шпунтовых рядов пневматической пилой или ручной ножовкой по предварительно установленным шаблонам на расстоянии 3 м друг от друга.

Состав работы

1. Подача водолазу пневматической пилы или ручной ножовки.

2. Спиливание сваи или шпунтового ряда под водой.

3. Отводка спиленных деревянных элементов в сторону или подача их наверх.

4. Переход к следующей свае.

5. Подъем из воды пневматической пилы или ручной ножовки.

Таблица 1

Состав звена

Профессия и разряд рабочих

При работе

пневматической пилой

ручной ножовкой

Водолазная станция

1

1

Машинист компрессора 4 разр.

1

-

Речные рабочие 2 разр.

2

2

Таблица 2

Нормы времени и расценки на 1 сваю или на 1 м шпунтового ряда

При работе

Конструкции

Водолазная станция*

Машинист*

Рабочие*

 

Пневматической пилой

Сваи диаметром, мм

до 220

0,12

-------

0-45,4

0,14

-------

0-11,1

0,28

-------

0-17,9

1

 

 

св. 220 до 320

0,18

-------

0-68

0,21

------

0-16,6

0,42

-------

0-26,9

2

 

 

св. 320 до 360

0,22

-------

0-83,2

0,25

-------

0-19,8

0,5

-------

0-32

3

Ручной ножовкой

Сваи диаметром, мм

до 260

0,35

---------

1-32

-

0,8

--------

0-51,2

4

 

 

св. 260 до 360

0,59

-------

2-23

-

1,3

-------

0-83,2

5

 

Шпунтовые ряды без засыпки за шпунтом при толщине шпунта, мм

до 75

0,46

--------

1-74

-

1

-------

0-64

6

 

св. 75 до 150

0,73

--------

2-76

-

1,7

--------

1-09

7

 

 

св. 150 до 200

1,3

--------

4-91

-

3,0

-------

1-92

8

 

Шпунтовые ряды с засыпкой за шпунтом при толщине шпунта, мм

до 75

1,6

--------

6-05

-

3,6

--------

2-30

9

 

св. 75 до 150

3

--------

11-34

-

6,8

-------

4-35

10

 

 

в. 150 до 200

4,0

--------

15-12

-

9,1

-------

5-82

11

 

а

б

в

Примечания: 1. При расстоянии между сваями св. 3 мм на каждый последующий метр расстояния к Н. вр. и Расц. применять коэффициент 1,1 (Пр-1).

Пример. При расположении свай диаметром 320 мм на расстоянии 6 м друг от друга Н. вр. водолазной станции (табл. 2, разновидность 2 "а") равна Н.вр. = 1,1´1,1´1,1´0,18 = 0,24 станцие-ч.

2. При спиливании шпунтовых рядов ножовкой по заданному уклону к Н. вр. и Расц. вводить коэффициент 1,1 (ПР-2).

§ Е39-41. Наращивание деревянных свай

Указания по применению норм

Нормами предусмотрено наращивание деревянных свай двумя способами: впритык - путем соединения их торцовых концов с помощью металлического стакана или вполдерева - с креплением свай скобами (рис. 17).

Рис. 17. Способы наращивания свай

а - впритык с металлическим стаканом: 1 - наросток сваи; 2 - металлический стакан; 3 - свая; б - вполдерева с помощью скоб: 1 - наросток сваи; 2 - свая; 3 - скобы

Состав работы

1. Выделка врубки вполдерева водолазом под водой (в наращиваемой части сваи - плотниками) или подборка стакана.

2. Надевание стакана на подводную часть сваи.

3. Наращивание сваи вполдерева с подгонкой врубки или в стакан.

4. Крепление скобами.

Нормы времени и расценки на 1 сваю

Состав звена

Диаметр сваи, мм

Водолазная станция*

Рабочие*

 

Водолазная станция - 1

До 220

0,55

--------

2-08

1,3

--------

0-83,2

1

Плотники 2 разр. - 2

Св. 220

0,73

---------

2-76

1,7

-------

1-09

2

 

а

б

§ Е39-42. Обшивка подводных конструкций и заделка щелей в шпунтовых рядах

Состав работы

1. Снятие размеров для заготовки досок.

2. Спуск водолазу забалластированных досок.

3. Подгонка досок по месту.

4. Закрепление досок гвоздями.

5. Подъем наверх балласта.

Состав звена

Водолазная станция       - 1

Речные рабочие 2 разр. - 1

Нормы времени и расценки на пришивку 1 доски

Длина доски, м

Толщина доски, мм

Водолазная станция*

Рабочие*

 

До 3

До 25

0,09

--------

0-34

0,1

-------

0-06,4

1

 

Св. 25 до 50

0,12

--------

0-45,0

0,14

--------

0-09

2

 

“ 50 “ 75

0,16

--------

0-60,5

0,18

--------

0-11,5

3

Св. 3 до 5

До 25

0,13

---------

0-49,1

0,15

--------

0-09,6

4

 

Св. 25 до 50

0,16

--------

0-60,5

0,18

--------

0-11,5

5

 

“ 50 “ 75

0,21

---------

0-79,4

0,24

--------

0-15,4

6

Св. 5 до 6,5

До 25

0,16

--------

0-60,5

0,18

--------

0-11,5

7

 

Св. 25 до 50

0,29

---------

1-10

0,33

--------

0-21,1

8

 

“ 50 “ 75

0,24

---------

0-90,7

0,27

--------

0-17,3

9

 

а

б

§ Е39-43. Постановка деревянных пробок длиной до 100 мм в отверстия

Состав работы

1. Подача водолазу забалластированных пробок.

2. Установка пробки в ранее обследованное готовое отверстие.

3. Проконопачивание пробки.

4. Переход к следующему отверстию на расстояние до 5 м.

5. Подъем наверх балласта.

Состав звена

Водолазная станция      - 1

Речные рабочие 2 разр. - 2

Нормы времени и расценки на установку 1 пробки

Диаметр пробки*, см

До 5

Св. 5 до 10

Св. 10 до 20

Св. 20 до 30

 

Водолазная станция

0,15

--------

0-56,7

0,21

--------

0-79,4

0,32

--------

1-21

0,43

---------

1-63

1

Рабочие

0,34

--------

0-21,8

0,48

-------

0-30,7

0,73

-------

0-46,7

0,98

-------

0-62,7

2

 

а

б

в

г

§ Е39-44. Постановка деревянных прокладок толщиной до 100 м в зазоры деревянных конструкций

Состав работы

1. Подача водолазу забалластированных прокладок.

2. Подгонка прокладок по месту.

3. Установка прокладок и скрепление их двумя строительными скобами.

4. Подъем наверх балласта.

Нормы времени и расценки на постановку 1 прокладки

Состав звена

Н. вр.

------------

Расц.

Водолазная станция - 1

0,17

----------

0-64,3

§ Е39-45. Выравнивание свай

Состав работы

1. Подача водолазу стропов.

2. Застропка свай под водой и сверху на тали или лебедки.

3. Выравнивание свай с помощью талей или лебедок.

4. Расшивка выравненных свай досками или пластинами с помощью гвоздей или скоб.

Состав звена

Водолазная станция       - 1

Речные рабочие 2 разр. - 4

Нормы времени и расценки на выравнивание 1 сваи

Длина конца сваи*, м

До 2

Св. 2

 

Отклонение свободного конца сваи, см

До 15

Св. 15 до 30

До 15

Св. 15 до 30

Св. 30 до 50

Водолазная станция

0,47

---------

1-78

0,67

---------

2-53

0,35

--------

1-32

0,47

--------

1-78

0,62

-------

2-34

1

Рабочие

2,1

---------

1-34

3,1

--------

1-98

1,6

--------

1-02

2,1

--------

1-34

2,8

-------

1-79

2

 

а

б

в

г

д

§ Е39-46. Сверление отверстий, постановка и снятие болтов

Состав звена

Водолазная станция                    - 1

Машинист компрессора 4 разр. - 1

Нормы времени и расценки на 100 отверстий или болтов

Наименование работ

Водолазная станция*

Машинист компрессора*

 

 

 

до 250

6

--------

22-68

6,8

-------

5-37

1

 

пневматическим сверлом при глубине отверстия, мм

св. 250 до 400

8,3

---------

31-37

9,5

--------

7-51

2

 

 

св. 400 до 700

20

-------

75-60

23

-------

18-17

3

Сверление отверстий диаметром до 50 мм

 

до 250

25

---------

94-50

-

4

 

вручную при глубине отверстия, мм

св. 250 до 400

29,5

---------

111-51

-

5

 

 

св. 400 до 700

73

---------

275-94

-

6

 

Постановка в готовые отверстия болтов длиной, м

до 1

19

--------

71-82

-

7

 

 

св. 1 до 1,5

29,5

--------

111-51

-

8

Снятие болтов

с элементов деревянных конструкций

18

--------

68-04

-

9

 

со шпунтовой стенки

25

----------

94-50

-

10

 

а

б

Примечание. При установке деревянных прокладок (коротышей) во время постановки болтов Н. вр. и Расц. строк № 7 и 8 умножать на 1,1 (ПР-1).

§ Е39-47. Выпиливание окон в шпунтовых стенках, в сплошном свайном ряду или ряже

Состав работы

1. Разметка окна.

2 Сверление отверстия для пропуска ножовки.

3. Выпиливание окна в шпунтовой стенке, в сплошном свайном ряду или в ряже.

Состав звена

Водолазная станция - 1

Нормы времени и расценки на 1 окно

Размер окна, м, до

Толщина шпунтовой стенки свайного ряда или ряжа, мм

Н. вр.

------------

Расц.

 

1´1

До 80

1,8

--------

6-80

1

 

Св. 80 до 160

3,0

----------

11-34

2

 

“ 160 “ 200

5,1

----------

19-28

3

0,25´0,25

“ 200 “ 320

1,5

------------

5-67

4

 

а

§ Е39-48. Забивка и вытаскивание ершей, скоб, глухарей, костылей, гвоздей

Состав работы

1. Разметка места забивки.

2. Подача крепежных деталей водолазу.

3. Забивка или вытаскивание строительных скоб, ершей, костылей или гвоздей.

4. Подъем наверх снятых крепежных деталей.

Состав звена

Водолазная станция - 1

Нормы времени и расценки на 1 предмет

Вид и размеры креплений

Забивка в поверхность*

Вытаскивание

 

горизонтальную при расстоянии между смежными креплениями, м

вертикальную

до 0,5

св. 0,5 до 2

Ерши длиной, мм

до 350

0,08

-------

0-30,2

0,1

-------

0-37,8

0,16

--------

0-60,5

0,19

--------

0-71,8

1

 

св. 350 до 500

0,14

--------

0-52,9

0,16

--------

0-60,5

0,28

--------

1-06

0,32

--------

1-21

2

 

“ 500 “ 700

0,23

--------

0-86,9

0,28

--------

1-06

0,45

--------

1-70

0,53

-------

2-00

3

 

“ 700 “ 1000

0,35

--------

1-32

0,42

--------

1-59

0,71

-------

2-68

0,85

-------

3-21

4

Костыли

0,18

--------

0-68

0,22

-------

0-83,2

0,35

-------

1-32

0,11

-------

0-41,6

5

Гвозди барочные

0,11

--------

0-41,6

0,13

--------

0-49,1

0,22

--------

0-83,2

0,11

--------

0-41,6

6

Гвозди проволочные

0,03

--------

0-11,3

0,04

--------

0-15,1

0,07

-------

0-26,5

0,04

-------

0-15,1

7

Скобы строительные при глубине забивки, мм

до 100

0,11

-------

0-41,6

0,14

-------

0-52,9

0,23

------

0-86,9

0,16

------

0-60,5

8

 

св. 100 до 150

0,17

-------

0-64,3

0,21

-------

0-79,4

0,34

--------

1-29

0,19

------

0-71,8

9

Глухари

0,19

-------

0-71,8

0,26

--------

0-98,3

0,37

-------

1-40

0,23

-------

0-86,9

10

 

а

б

в

 

Примечания: 1. При вытаскивании костылей, ершей и глухарей, не имеющих заплечиков, Н. вр. и Расц. умножать на 2 (ПР-1).

2. При вытаскивании строительных скоб с надрубкой дерева Н. вр. и Расц. умножать на 1,7 (ПР-2).

§ Е39-49. Разборка деревянных конструкций вручную

Состав работы

1. Подача водолазу инструментов.

2. Разборка венцов ряжей, насадок, раскосов, схваток и прочих деревянных конструкций с помощью топора, пилы, лома, гаечного ключа.

3. Снятие металлических креплений.

4. Подъем наверх инструментов и разобранных частей конструкций с помощью ручной лебедки.

Состав звена

Водолазная станция - 1

Речные рабочие 2 разр. - 4

Нормы времени и расценки на разборку 1 м бревен или брусьев

Разбираемые конструкции

Водолазная станция*

Рабочие*

 

Насадки, раскосы, схватки

0,14

-----------

0-52,9

0,64

----------

0-41

1

Ряжи с креплением нагелями или ершами через 1 м

0,22

---------

0-83,2

1

---------

0-64

2

 

а

б

§ Е39-50. Выдергивание деревянных свай

Указания по применению норм

Нормами предусмотрено выдергивание плавучим краном одиночных круглых деревянных свай с глубиной забивки до 3 м (рис. 18). Грузоподъемность крана устанавливается в каждом случае в зависимости от массы свай и характера грунта.

Рис. 18. Выдергивание деревянных свай плавучим краном

1 - сваи; 2 - плавучий кран; 3 - баржа; 4 - водолазная станция на самоходном боте; 5 - буксир

Состав работы

1. Очистка поверхности сваи в месте застропки.

2. Застропка сваи.

3. Выдергивание сваи плавучим краном.

4. Укладка сваи на плавучие средства и отстропки.

5. Перемещение крана и плавучих средств к следующей свае.

Нормы времени и расценки на 1 сваю

Состав звена

Водолазная станция*

Рабочие*

Водолазная станция - 1

Речные рабочие 2 разр. - 2

0,35

---------

1-32

0,80

(0,40)

-----------

0-51,2

 

а

б

§ Е39-51. Разборка деревянных настилов вручную

Состав работы

1. Подача водолазу инструментов. 2. Разборка с расколкой досок настила с помощью топора, пилы, лома. 3. Перемещение разобранных досок в сторону или подача их наверх. 4. Подъем инструмента наверх.

Состав звена

Водолазная станция       - 1

Речные рабочие 2 разр. - 4

Нормы времени и расценки на 1 м2 разобранного настила

Наименование работ

Настил

 

одинарный

двойной

Н. вр.

-----------

Расц.

водолазной станции

рабочих

водолазной станции

рабочих

Разборка палубы судов

0,84

--------

3-18

3,8

---------

2-43

1,6

---------

6-05

7,3

--------

4-67

1

Разборка настила гидротехнических сооружений

0,53

----------

2-00

2,4

---------

1-54

0,96

---------

3-63

4,4

--------

2-82

2

 

а

б

в

г

§ Е39-52. Разборка деревянных конструкций с помощью плавучего крана

Указания по применению норм

Нормами предусмотрено обследование деревянных конструкций водолазом и разборка их с помощью плавучего крана.

Грузоподъемность плавучего крана, а также состав и количество судов и плавучих технических средств устанавливаются проектом производства работ.

Состав работ

1. Осмотр конструкций и определение места для застропки.

2. Застропка элементов конструкции стальными стропами.

3. Отрыв застропленных элементов от основной конструкции с помощью плавучего крана.

4. Подъем элементов на поверхность и складирование их на берегу или погрузка на баржи или плавплощадки.

5. Перестановка плавучего крана на новое место по мере надобности.

Таблица 1

Состав звена

Профессия и разряд рабочих

Плавучий кран

с механической лебедкой

с ручной лебедкой

Водолазная станция

1

1

Речные рабочие 2 разр.

3

8

Таблица 2

Нормы времени и расценки на разборку 100 м бревен и брусья

Плавучий кран

Наименование разбираемых конструкций

Водолазная станция*

Рабочие*

 

С механической лебедкой

Насадки, раскосы, схватки

2,4

--------

9-07

8,1

(2,7)

--------

5-18

1

 

Ряжи

3,2

-------

12-10

10,8

(3,6)

--------

6-91

2

С ручной лебедкой

Насадки, раскосы, схватки

3,2

-------

12-10

29,0

--------

18-56

3

 

Ряжи

4,8

-------

18-14

44,0

-------

28-16

4

 

а

б

§ Е39-53. Подводная конопатка щелей в гидротехнических сооружениях

Состав работы

1. Подача водолазу пакли, планок или жести.

2. Конопатка пазов паклей.

3. Набивка на пазы планок или жести.

Состав звена

Водолазная станция       - 1

Речной рабочий 2 разр. - 1

Нормы времени и расценки на 1 м конопатки

Положение щели

Конопатка

Ширина щели, см

Водолазная станция

Рабочие

 

Горизонтальное

В жгуте

До 1

0,15

-------

0-56,7

0,17

------

0-10,9

1

 

 

Св. 1 до 2

0,17

-------

0-64,3

0,19

-------

0-12,2

2

 

 

Св. 2 до 3

0,20

--------

0-75,6

0,23

-------

0-14,7

3

 

 

Св. 3 до 5

0,39

--------

1-47

0,44

--------

0-28,2

4

 

В кишке

До 2

0,12

--------

0-45,4

0,14

--------

0-09

5

 

 

Св. 2 до 3

0,13

--------

0-49,1

0,15

--------

0-09,6

6

 

 

Св. 3 до 5

0,25

---------

0-94,5

0,29

--------

0-18,6

7

Вертикальное

В жгуте

До 1

0,23

---------

0-86,9

0,26

--------

0-16,6

8

 

 

Св. 1 до 2

0,25

--------

0-94,5

0,29

-------

0-18,6

9

 

 

Св. 2 до 3

0,31

--------

1-17

0,35

-------

0-22,4

10

 

 

Св. 3 до 5

0,59

---------

2-23

0,67

--------

0-42,9

11

 

В кишке

До 2

0,17

---------

0-64,3

0,19

---------

0-12,2

12

 

 

Св. 2 до 3

0,20

--------

0-75,6

0,23

--------

0-14,7

13

 

 

Св. 3 до 5

0,39

--------

1-47

0,44

-------

0-28,2

14

 

а

б

ГЛАВА 5

ПОДВОДНЫЕ БУРОВЗРЫВНЫЕ РАБОТЫ

Техническая часть

1. Нормами настоящей главы предусмотрены специфические буровзрывные работы по рыхлению подводных грунтов, а также работы по взрыванию корчей, топляков, камней и затопленных стальных конструкций при разработке подводных траншей и котлованов и при дноочистительных (дноуглубительных работах).

2. Взрывные работы на берегу и вспомогательные работы по подготовке взрывчатых веществ и средств взрывания, изготовлению и заправке бурового инструмента должны нормироваться по сб. Е2 "Земляные работы", вып. 3 "Буровзрывные работы".

3. При производстве работ в зимних условиях нормами предусмотрены работы при температуре не ниже 15 °С.

4. При взрывных работах без водолазной станции нормами предусмотрено производство работ при глубине воды до 6 м. При глубине воды св. 6 м к Н. вр. и Расц. применять коэффициенты:

при глубине до 11 м         1,25 (ТЧ-3)

“ “ св. 11 до 17                   1,5 (ТЧ-4)

“ “ “ 17 до 20                      1,6 (ТЧ-5)

“ “ “ 20 до 26                      1,75 (ТЧ-6)

“ “ “ 26 м                            1,9 (ТЧ-7)

5. Нормами не предусмотрены работы по разбивке створов, установке предупредительных и запрещающих знаков и несению охраны во время взрывных работ. Эти работы определяются местными условиями и в каждом отдельном случае должны предусматриваться проектом производства работ.

6. При расстояниях перемещения больше или меньше, чем указано в составах работ, к Н. вр. добавлять или вычитать из них на каждые 100 м перемещений:

Параграф сборника

Для водолазной станции

Для рабочих

§ Е39-56, Е39-60, Е39-61

0,005

-----------

(ТЧ-8)

0,025

---------

(ТЧ-9)

§ Е39-57, Е39-63

-

0,019

---------

(ТЧ-10)

7. Группа грунтов (пород) определяется по времени чистого бурения 1 м шпура в соответствии с табл. 1 Вводной части сб. Е2 "Земляные работы", вып. 3 "Буровзрывные работы".

8. Нормами предусматривается длина лезвия коронки или головки бура 42 мм. При бурении бурами, имеющими другую длину лезвия коронки или головки бура, Н. вр. и Расц. умножать на коэффициенты, помещенные в таблице.

Длина лезвия коронки или головки бура, мм

32

34

36

38

40

44

46

48

50

Коэффициент

0,73

------

(ТЧ-11)

0,77

------

(ТЧ-12)

0,83

------

(ТЧ-13)

0,89

------

(ТЧ-14)

0,94

------

(ТЧ-15)

1,06

------

(ТЧ-16)

1,12

------

(ТЧ-17)

1,18

------

(ТЧ-18)

1,24

------

(ТЧ-19)

9. Порядок выполнения подводных взрывных работ, принятый в нормах, учитывает правила техники безопасности. Повышать производительность труда за счет нарушения правил техники безопасности категорически воспрещается.

10. По вопросам техники безопасности, связанным с приемом, хранением, транспортированием взрывчатых материалов, подводным взрыванием и др., следует руководствоваться "Едиными правилами безопасности при взрывных работах".

11. При производстве буровзрывных работ в зимнее время все ледокольные работы следует нормировать по соответствующим параграфам сб. В13 "Строительство и ремонт речных гидротехнических сооружений", вып. 1 "Выправительные и берегоукрепительные работы".

§ Е39-54. Бурение шпуров под водой

А. БУРЕНИЕ ШПУРОВ С ГРУНТА

Указания по применению норм

Нормами предусмотрено бурение шпуров под водой при расстоянии между шпурами под водой до 5 м и глубине бурения до 1 м бурильными молотками.

Работы, предшествующие бурению, - водолазное обследование места работы, разметка мест бурения шпуров с установкой вешек, размыв гидромониторными установками малой мощности мест бурения от наносов нормами не учтены.

Состав работы

1. Запуск и обслуживание компрессора.

2. Подача водолазу бурильного молотка.

3. Бурение шпуров.

4. Очистка шпуров.

5. Закрывание шпуров пробками или вехами.

6. Переход водолаза в процессе работы от шпура к шпуру.

Состав звена

Водолазная станция                    - 1

Машинист компрессора 4 разр. - 1

Речной рабочий              2 разр. - 1

Нормы времени и расценки на 1 м шпура

Группа грунтов

Водолазной станции*

Машиниста компрессора*

Речного рабочего*

 

XI-VIII

1,8

---------

6-80

2,1

--------

1-66

2,1

----------

1-34

1

VII-IV

1

--------

3-78

1,1

-------

0-86,9

1,1

--------

0-70,4

2

 

а

б

в

Примечание. При обслуживании нескольких водолазных станций одной компрессорной установкой норма и расценка для машиниста компрессора не изменяются (ПР-1).

Б. БУРЕНИЕ ШПУРОВ С ПОНТОННОЙ ПЛОЩАДКИ

Указания по применению норм

Нормами предусмотрено бурение шпуров перфоратором ОМ-506 с площадки, смонтированной на спаренных понтонах, оборудованных лебедками. Передвижение площадки производится способом папильонирования. Водолаз производит разметку мест бурения шпуров на расстояниях до 1,5 м друг от друга. Забуривание шпуров на глубину 1-6 см производится с участием водолаза, который удерживает забурник специальными клещами с широкими щеками. Бурение шпуров производится бурильщиками с понтонной площадки. Предварительное водолазное обследование места работы и размыв гидромониторными установками малой мощности мест бурения от наносов в нормы не входят.

Состав работы

1. Установка площадки на месте работ.

2. Установка защитного приспособления.

3. Перемещение площадки в пределах рабочей зоны.

4. Разметка мест бурения шпуров.

5. Запуск и обслуживание компрессора.

6. Забуривание шпуров с помощью водолаза.

7. Бурение шпуров.

8. Закрывание шпуров пробками или вехами.

Состав звена

Водолазная станция                    - 1

Машинист компрессора 4 разр. - 1

Бурильщик                       4 разр. - 3

Речные рабочие              2 разр. - 3

Нормы времени и расценки на 1 м шпура

Группа грунтов

Водолазная станция*

Машинист компрессора*

Бурильщики шпуров*

Речные рабочие*

XI-VIII

1,8

---------

0-68

0,21

--------

0-16,6

0,63

--------

0-49,2

0,63

-------

0-40,3

 

а

б

в

 

В. БУРЕНИЕ ШПУРОВ СО ЛЬДА

Указания по применению норм

Нормами предусмотрено бурение шпуров перфораторами ОМ-506 и ПМ-508 диаметром 42 мм с настила, уложенного над майной. Забуривание шпуров осуществляется так же, как и при бурении шпуров с понтонной площадки, при расстоянии между шпурами до 1,5 м и глубине бурения шпуров от 0,6 до 2 м. Устройство настила над майной нормами не учтено.

Состав работы

1. Водолазное обследование места бурения.

2. Разметка шпуров.

3. Запуск и обслуживание компрессора.

4. Забуривание шпуров с помощью водолаза.

5. Бурение шпуров.

6. Закрывание шпуров пробками или вехами.

Состав звена

Водолазная станция                    - 1

Машинист компрессора 4 разр. - 1

Бурильщики шпуров       4 разр. - 2

Нормы времени и расценки на 1 м шпура

Группа грунтов

Водолазной станции*

Машиниста компрессора*

Бурильщиков*

 

VIII

0,2

---------

0-75,6

0,23

--------

0-18,2

0,46

--------

0-36,3

1

IX

0,26

--------

0-98,3

0,3

--------

0-23,7

0,6

---------

0-47,4

2

X

0,33

---------

1-25

0,38

--------

0-30

0,76

-------

0-60

3

 

а

б

в

§ Е39-55. Патронирование порошкообразного ВВ и изготовление боевых зарядов для подводного взрывания

Состав работ

При патронировании порошкообразных ВВ в бутылки и изготовлении боевых зарядов

1. Подноска ВВ, средств взрывания, песка и бутылок на расстояние до 10 м.

2. Насыпка ВВ в бутылки и уплотнение.

3. Введение в заряд детонатора.

4. Намотка в бухту проводов электродетонатора или бикфордового шнура зажигательной трубки.

5. Засыпка песка.

6. Подноска разогретого парафина.

7. Заливка горлышка бутылки парафином.

8. Укладка готовых боевых зарядов в ящик.

9. Относка ящиков на расстояние до 10 м.

При патронировании порошкообразных ВВ в мешки из крафтбумаги, изготовлении боевых зарядов и заливке их изолирующей смесью

1. Подноска ВВ, средств взрывания, песка и мешков на расстояние до 10 м.

2. Распаковка мешков и заготовка бумажных прокладок.

3. Засыпка песка и укладка бумажной прокладки.

4. Наполнение мешков ВВ с уплотнением встряхиванием.

5. Введение в заряд детонатора.

6. Намотка в бухту проводов электродетонатора или бикфордова шнура зажигательной трубки.

7. Укладка бумажной прокладки и верхнего слоя песка.

8. Растопка печи.

9. Заготовка и разогрев асфальтировочной смеси.

10. Заливка слоев бумажного мешка смесью и заделка его.

11. Заливка смесью ввода детонатора.

12. Подноска и относка изолировочной смеси.

При изготовлении удлиненных зарядов ВВ

1. Подноска взрывчатых материалов, песка и мешков и увязочного материала на расстояние до 10 м.

2. Распаковка банок с ВВ и засыпка их в бункер.

3. Наполнение мешков ВВ и завязка их.

4. Относка готовых зарядов и порожней тары.

Таблица 1

Нормы времени и расценки на патронирование 1 заряда

Состав звена

Патронирование ВВ*

в бутылки

в мешки из крафтбумаги

Масса заряда, кг

до 5

св. 5 до 10

св. 10 до 25

Взрывники 4 разр.

0,31

---------

0-24,5

0,3

--------

0-23,7

0,42

--------

0-33,2

0,56

--------

0-44,2

 

а

б

в

г

Примечания: 1. В нормах предусмотрено патронирование в бутылках с узким горлом. При патронировании в бутылки с широким горлом норму времени умножать на 0,85 (ПР-1).

2. Просушка песка нормами не учтена (ПР-2).

Таблица 2

Нормы времени и расценки на изготовление 100 зарядов

Состав звена

Длина зарядов, см

Диаметр зарядов, см*

 

до 8

св. 8 до 14

св. 14 до 20

Взрывники 4 разр.

100

3,2

------

2-53

5,4

-------

4-27

8,1

-------

6-40

1

 

200

5,8

-------

4-58

9,1

-------

7-19

14,5

------

11-46

2

 

300

-

-

24

---------

18-96

3

 

 

а

б

в

§ Е39-56. Рыхление грунта под водой взрывами накладных и шпуровых зарядов

А. ПРИ УКЛАДКЕ ЗАРЯДОВ ВОДОЛАЗАМИ

Указания по применению норм

Нормами предусмотрено рыхление грунта под водой взрывами накладных и шпуровых зарядов. У места укладки зарядов с водолазного катера спускается оттяжной конец каната с якорем. Находящийся на водолазном трапе водолаз принимает с рабочей лодки заряд и спускается с ним на грунт, придерживаясь одной рукой за оттяжной (спусковой) конец. Уложив заряд, водолаз поднимается на трап, принимает и укладывает в том же порядке очередной заряд.

По окончании укладки всех зарядов, подлежащих одновременному взрыванию, водолаз поднимается на катер, который отходит от места взрыва на безопасное расстояние (при взрывании нескальных грунтов на расстояние не менее 100 м, при взрывании скальных грунтов: шпуровыми зарядами не менее 50 м; накладными зарядами до 100 кг не менее 200 м; накладными зарядами более 100 кг не менее 300 м). Одновременно отходит рабочая лодка с взрывником, который разматывает провода электровзрывной сети.

Состав работы

1. Перемещение водолазного катера и лодки с взрывником от расходного склада ВМ на расстояние до 500 м.

2. Установка катера на якоря.

3. Опускание оттяжного конца каната с якорем.

4. Укладка зарядов водолазом.

5. Перемещение лодки и катера на безопасное расстояние.

6. Производство взрыва.

7. Возвращение лодки и катера к расходному складу ВМ.

Таблица 1

Состав звена

Профессия и разряд рабочих

Количество одновременно взрываемых зарядов

до 5

св. 5

Водолазная станция

1

1

Взрывник 6 разр.

1

1

“ 4 “

-

1

Речные рабочие 2 разр.

3

3

Таблица 2

Нормы времени и расценки на 1 заряд

Заряды

Масса зарядов, кг, до

Количество одновременно взрываемых зарядов

Водолазная станция*

Рабочие*

 

Накладные

1

1

0,21

---------

0-79,4

0,96

--------

0-71,5

1

 

 

От 2 до 5

0,11

-------

0-41,6

0,5

-------

0-37,3

2

 

 

Св. 5

0,09

--------

0-34

0,57

--------

0-43

3

 

5

1

0,25

--------

0-94,5

1,1

-------

0-82

4

 

 

От 2 до 5

0,15

--------

0-56,7

0,68

--------

0-50,7

5

 

 

Св. 5

0,12

--------

0-45,4

0,68

--------

0-51,3

6

 

10

1

0,34

--------

1-29

1,6

-------

1-19

7

 

 

От 2 до 5

0,24

-------

0-90,7

1,1

------

0-82

8

 

 

Св. 5

0,21

--------

0-79,4

1,2

------

0-90,5

9

Шпуровые

1

1

0,31

-------

1-17

1,4

-------

1-04

10

 

 

От 2 до 5

0,22

--------

0-83,2

1

--------

0-74,5

11

 

 

Св. 5

0,2

--------

0-75,6

1,1

-------

0-82,9

12

 

5

1

0,4

-------

1-51

1,8

-------

1-34

13

 

 

От 2 до 5

0,3

--------

1-13

1,4

--------

1-04

14

 

 

Св. 5

0,27

-------

1-02

1,5

-------

1-13

15

 

а

б

Б. ПРИ УКЛАДКЕ УДЛИНЕННЫХ ЗАРЯДОВ С ПОВЕРХНОСТИ

Указания по применению норм

Нормами предусмотрено рыхление подводного скального твердого грунта. Удлиненные заряды монтируются на наклонной, покрытой брезентом, площадке, установленной на спаренном понтоне; специальные мешки-ленты диаметром 35-40 см, длиной 6-8 м, изготовленные из технической марли, заполняются ВВ и в них закладываются боевики. Заряд может быть смонтирован из нескольких мешков-лент, укладываемых параллельно на расстоянии 30 см один от другого. Для придания жесткости заряду поверх мешков выкладывается рама из жердей диаметром 8-12 см. Жерди скрепляются веревкой в местах пересечений и с мешками.

Полностью подготовленный к взрыву заряд буксируется методом толкания к месту установки на расстояние до 3 км. На месте взрыва заряд концевой частью крепится к заранее установленной вехе и при заднем ходе буксирного катера с участием взрывников стаскивается по наклонной площадке в воду и опускается на дно. После отхода катера и понтонной площадки на безопасное расстояние, во время которого производится разматывание магистральных проводов, производится взрыв, магистральные провода сматываются лебедкой и площадка с рабочими буксируется к складу ВМ.

Состав работы

1. Перемещение спаренного понтона на расстояние до 20 м к складу ВМ.

2. Подготовка мешков-лент к заполнению ВВ.

3. Изготовление боевиков.

4. Вскрытие ящиков с ВВ и подноска ВВ на расстояние до 20 м.

5. Заполнение мешков-лент ВВ.

6. Монтаж рамы жесткости.

7. Монтаж заряда, боевиков и электровзрывной цепи.

8. Введение боевиков в заряды.

9. Перемещение спаренного понтона к месту взрыва.

10. Опускание заряда на дно.

11. Отвод понтона на безопасное расстояние с разматыванием электровзрывных проводов.

12. Взрывание заряда.

13. Выборка и наматывание на барабан лебедки магистральных проводов.

14. Возвращение понтона к складу ВМ.

Таблица 3

Нормы времени и расценки на 1 т заряда

Состав звена

Н. вр.

---------

Расц.

Взрывник 6 разр. - 1.

“ 4 “ - 2

Речные рабочие 2 разр. - 4

18,5

--------

13-74

§ Е39-57. Рыхление песчаного грунта взрывами накладных зарядов

Указания по применению норм

Нормами предусмотрено, что заряды грузятся в отдельную лодку, которая буксируется рабочей лодкой на безопасное расстояние от места взрыва. Один, а при групповых взрывах несколько зарядов перегружаются в рабочую лодку, которая направляется к месту взрыва. После взрыва на рабочую лодку грузятся очередные заряды и она снова направляется к месту взрыва.

Состав работы

1. Погрузка зарядов в лодку с расходного склада ВМ.

2. Перемещение лодки на расстояние до 500 м.

3. Установка лодки на якорь на расстоянии 100 м от места взрыва.

4. Погрузка зарядов в рабочую лодку.

5. Перемещение рабочей лодки к месту взрыва.

6. Установка зарядов с отходом в безопасную зону.

7. Взрывание зарядов.

8. Промеры глубин наметкой.

9. Возвращение рабочей лодки за очередными зарядами на расстояние до 500 м.

А. ЭЛЕКТРИЧЕСКОЕ И ОГНЕВОЕ ВЗРЫВАНИЕ ОДИНОЧНЫХ НАКЛАДНЫХ ЗАРЯДОВ

Таблица 1

Нормы времени и расценки на 1 заряд

Состав звена

Способ взрывания

Масса заряда, кг*

 

до 10

св. 10 до 15

Взрывник 6 разр. - 1

“ 4 “ - 1

Речные рабочие 2 разр. - 2

Электрическое взрывание одиночных зарядов

0,74

--------

0-57,9

0,96

--------

0-75,1

1

То же

Огневое взрывание

0,59

-------

0-46,2

0,66

-------

0-51,6

2

Огневое взрывание зарядов укладываемыми сериями до 5 шт.

0,53

--------

0-41,5

0,58

--------

0-45,4

 

 

а

б

Б. ЭЛЕКТРИЧЕСКОЕ ВЗРЫВАНИЕ ГРУППОВЫМИ НАКЛАДНЫМИ ЗАРЯДАМИ

Таблица 2

Нормы времени и расценки на 1 заряд

Состав звена

Количество зарядов в группе*

5-6

7-8

9-10

Взрывник 6 разр. - 1

То же 4 разр. - 1

Речные рабочие 2 разр. - 2

0,42

--------

0-32,9

0,35

--------

0-27,4

0,31

--------

0-24,3

 

а

б

в

§ E39-58. Рыхление грунта под водой в зимних условиях взрывами накладных зарядов

Состав работы

1. Раскладывание зарядов по готовым лункам.

2. Монтаж электровзрывной сети.

3. Опускание зарядов.

4. Подключение электровзрывной магистрали к сети.

5. Размотка магистральных проводов.

6. Уход в укрытие.

7. Производство взрыва.

8. Уборка проводов.

Таблица 1

Состав звена

Количество одновременно взрываемых зарядов

До 5

Св. 5

Взрывник 6 разр.

1

1

“ 4 “

-

1

Таблица 2

Нормы времени и расценки на 1 заряд

Масса заряда, кг

Количество одновременно взрываемых зарядов*

 

1

2-3

4-5

св. 5

До 10

0,37

-------

0-39,2

0,2

-------

0-21,2

0,16

--------

0-17

0,2

-------

0-18,5

1

Св. 10 до 20

0,44

-------

0-46,6

0,25

--------

0-26,5

0,2

--------

0-21,2

0,25

-------

0-23,1

2

 

а

б

в

г

Примечание. Устройство настила на майной в нормы не входит (ПР-1).

§ E39-59. Взрывание накладными зарядами отдельных камней, свай, топляков и других затопленных предметов

Состав работы

1. Перемещение лодки от расходного склада на расстояние до 500 м к месту взрыва.

2. Ощупывание затопленного предмета.

3. Устройство подкопа.

4. Привязывание заряда к месту.

5. Опускание заряда к затопленному предмету.

6. Отвод лодки в безопасное место на расстояние не менее 100 м.

7. Производство взрыва.

8. Возвращение лодки к месту взрыва.

9. Обследование взорванного предмета.

10. Переход к следующему предмету.

11. Возвращение лодки обратно к расходному складу ВМ после взрыва 10 зарядов.

Состав звена

Взрывник            6 разр. -1

Речные рабочие 2 разр. - 3

Нормы времени и расценки на 1 заряд

Способ взрывания

Количество одновременно взрываемых зарядов*

 

1

2-3

4-5

Электрический

1,3

-------

0-96,9

0,71

-------

0-52,9

0,51

--------

0-38

1

Огневой

1,1

--------

0-82

0,69

--------

0-51,4

0,54

--------

0-40,2

2

 

а

б

в

§ E39-60. Взрывание стальных конструкций под водой

Состав работы

1. Перемещение водолазного катера и лодки с ВМ и взрывником от расходного склада ВМ на расстояние до 500 м.

2. Установка катера и лодки на якоря.

3. Обследование и подготовка водолазом места укладки заряда.

4. Перемещение лодки с взрывником к катеру.

5. Укладка заряда водолазом с укреплением заряда на взрываемом элементе.

6. Подъем водолаза на катер.

7. Перемещение катера и лодки в безопасное место на расстояние не менее 100 м.

8. Производство взрыва.

9. Возвращение катера и лодки к расходному складу ВМ после взрыва 10 зарядов.

Состав звена

Водолазная станция       - 1

Взрывник            6 разр. - 1

Речные рабочие 2 разр. - 3

Нормы времени и расценки на 1 заряд

Количество патронов в заряде

Масса патронов, кг

 

до 1

св. 1до 5

св. 5 до 10

Н. вр.

-----------

Расц.

водолазной станции

рабочих

водолазной станции

рабочих

водолазной станции

рабочих

1

0,25

--------

0-94,5

1,1

-------

0-82

0,28

--------

1-06

1,3

------

0-96,9

0,32

-------

1-21

1,5

------

1-12

1

2

0,38

--------

1-44

1,7

-------

1-27

0,44

-------

1-66

2

------

1-49

0,56

-------

2-12

2,6

-------

1-94

2

3

0,5

-------

1-89

2,3

-------

1-71

0,64

-------

2-42

2,9

------

2-16

0,75

------

2-84

3,4

-------

2-53

3

4

0,64

--------

2-42

2,9

-------

2-16

0,75

-------

2-84

3,4

-------

2-53

0,9

------

3-40

4,1

-------

3-05

4

5

0,75

--------

2-84

3,4

------

2-53

0,9

-------

3-40

4,1

------

3-05

1,1

------

4-16

5

------

3-73

5

 

а

б

в

г

д

е

§ E39-61. Взрывание под водой элементов сооружений (устоев мостов, плотин, подпорных стенок)

Состав работы

1. Перемещение водолазного катера и лодки с ВМ и взрывником от расходного склада ВМ на расстояние до 500 м.

2. Установка катера и лодки на якоря.

3. Осмотр и подготовка места укладки заряда водолазом.

4. Перемещение лодки с взрывником к катеру.

5. Укладка заряда водолазом.

6. Подъем водолаза на катер после укладки заряда.

7. Перемещение лодки и катера в безопасное место на расстояние не менее 100 м.

8. Производство взрыва.

9. Возвращение лодки и катера к расходному складу ВМ после производства 10 взрывов.

Состав звена

Водолазная станция       - 1

Взрывник            6 разр. - 1

Речные рабочие 2 разр. - 3

Нормы времени и расценки на 1 заряд

Количество одновременно взрываемых зарядов

Масса заряда, кг

 

до 5

св. 5 до 10

св. 10 до 15

Н. вр.

---------

Расц.

водолазной станции

рабочих

водолазной станции

рабочих

водолазной станции

рабочих

1

0,23

-------

0-86,9

1

--------

0-74,5

0,26

--------

0-98,3

1,2

--------

0-89,4

0,3

--------

1-13

1,4

--------

1-04

1

2

0,16

-------

0-60,5

0,73

-------

0-54,4

0,18

--------

0-68

0,82

--------

0-61,1

0,2

-------

0-75,6

0,91

-------

0-67,8

2

 

а

б

в

г

д

е

Примечание. Устройство ниш для укладки зарядов нормами не предусмотрено (ПР-1).

§ E39-62. Взрывание льда

Указания по применению норм

Нормами предусмотрено, что заряды связываются бечевкой, длина которой соответствует глубине погружения заряда и привязывается к перекладине, укладываемой поперек лунки и удерживающей заряд на нужной глубине. К заряду привязывается груз, по массе равный половине массы заряда.

Взрывник, подготовив серию зарядов, опускает под лед один за другим заряды, зажигает шнур и отходит в безопасное место. В серии должно быть не св. 6 зарядов.

Состав работы

1. Раскладка зарядов у готовых лунок.

2. Связывание патронов.

3. Привязывание заряда и груза к перекладине.

4. Опускание заряда в лунку.

5. Поджигание шнура.

6. Отход на расстояние не менее 200 м.

Состав звена

Взрывник 6 разр. - 1

Нормы времени и расценки на 100 зарядов

Масса заряда, кг

Количество одновременно взрываемых зарядов*

 

1

2-4

5-6

До 3

18

--------

19-08

9,5

--------

10-07

7,1

--------

7-53

1

Св. 3 до 6

22

--------

23-32

12

--------

12-72

9,4

--------

9-96

2

Св. 6 до 10

23

--------

24-38

15

-------

15-90

11,5

-------

12-19

3

 

а

б

в

§ Е39-63. Перевозка зарядов ВВ в лодке и на санях

Состав работы

1. Погрузка боевых зарядов в лодку или сани.

2. Перевозка зарядов.

3. Выгрузка зарядов.

4. Возвращение обратно к месту погрузки.

Таблица 1

Состав звена

Профессия и разряд рабочих

Способ перевозки зарядов

в лодках

на санях

Взрывник 4 разр.

1

1

Речные рабочие 3 разр.

3

 

Таблица 2

Нормы времени и расценки на 1 перевозку

Расстояние перевозки

Способ перевозки зарядов*

 

в лодке по воде

на санях по гладкому льду

на санях по рыхлому снегу в условиях снеготаяния

Масса одновременно перевозимых зарядов, кг

до 40

св. 40 до 80

до 40

св. 40 до 80

До 200 м

0,58

-------

0-41,9

0,15

-------

0-11,9

0,34

-------

0-26,9

0,19

-------

0-15

0,45

------

0-35,6

1

Добавлять на каждые последующие 100 м

0,24

-------

0-17,3

0,05

--------

0-04

0,11

-------

0-08,7

0,09

-------

0-07,1

0,16

-------

0-12,6

2

 

а

б

в

 

д

ГЛАВА 6

РАЗНЫЕ РАБОТЫ

§ Е39-64. Подъем из воды разных предметов

Указания по применению норм

Нормами предусмотрен подъем разных предметов со дна водоема с помощью плавучего крана или крана-балки с ручной лебедкой. Грузоподъемность кранов и лебедок определяется в зависимости от вида и массы поднимаемых предметов. До начала работ производится тщательное водолазное обследование поднимаемых предметов (определение приблизительной массы, конфигурации конструкции и пр.).

При подъеме предметов кран-балкой с ручной лебедкой подъемное оборудование размещается на плавучей площадке.

Состав работы

1. Осмотр предметов.

2. Застропка поднимаемых предметов.

3. Подъем застропленных предметов плавучим краном или кран-балкой с ручной лебедкой.

4. Укладка предметов на плавучие средства.

5. Отстропка предметов.

6. Перемещение плавучих средств и кранов к новому месту подъема.

Таблица 1

Состав звена

Профессия и разряд рабочих

Кран

плавучий

кран-балка с ручной лебедкой

Водолазная станция

1

1

Речные рабочие 2 разр.

2

6


Таблица 2

Нормы времени и расценки на подъем одного предмета

Способ подъема

Состав звена

Поднимаемые конструкции*

 

фермы стальные

обломки железобетонных конструкций (ящики, массивы, и пр.)

рельсы, трубы длиной до 13 м

бревна длиной 6,5 м и диаметром до 300 мм

Масса, т

до 10

св. 10 до 50

до 0,1

св. 0,1 до 0,5

св. 0,5 до 3

св. 3 до 15

до 0,6

до 0,6

Краном

Водолазная станция

2,5

------

9-45

5

------

18-90

0,12

-------

0-45,4

0,28

-------

1-06

0,56

-------

2-12

0,84

-------

3-18

0,3

------

1-13

0,08

-------

0-30,2

1

 

Рабочие

5,8

(2,9)

-------

3-71

11,4

(5,7)

--------

7-30

0,28

(0,14)

-------

0-17,9

0,64

(0,32)

-------

0-41

1,28

(0,64)

--------

0-81,9

1,92

(0,96)

--------

1-23

0,68

(0,34)

--------

0-43,5

0,18

(0,09)

--------

0-11,5

2

Краном-балкой с ручной лебедкой

Водолазная станция

-

-

0,12

------

0-45,4

0,28

-------

1-06

0,56

-------

2-13

0,84

-------

3-18

0,3

------

1-13

0,08

-------

0-30,2

3

 

Рабочие

-

-

0,82

-------

0-52,5

1,9

------

1-22

3,8

-------

2-43

5,7

-------

3-65

2,1

------

1-34

0,55

-------

0-35,2

4

 

а

б

в

г

д

е

ж

з


§ Е39-65. Очистка подводной траншеи от валунов

Указания по применению норм

Нормами предусмотрена очистка дна подводной траншеи от валунов массой до 500 кг с перемещением их на расстояние до 10 м с помощью установленного на плавучей площадке крана-укосины.

Нормами учтен размыв грунта вокруг валуна гидромониторной струей (для создания условий застропки валуна) в объеме до 1 м3. При необходимости разработки вокруг валуна грунта объемом св. 1 м3 к приведенным Н. вр. и Расц. следует добавлять на дополнительный объем разработки Н. вр. и Расц. в соответствии с § Е39-6.

Состав работы

1. Подача водолазу гидромониторного шланга.

2. Отмыв грунта от валуна.

3. Подача водолазу стропов.

4. Застропка валуна.

5. Подъем и отстропка валуна.

6. Подъем гидромониторного шланга.

Нормы времени и расценки на 1 валун

Состав звена

Водолазная станция*

Машинист*

Рабочий*

Водолазная станция - 1

Машинист электростанции передвижной 5 разр. - 1

Машинист насосной установки 3 разр. - 1

Машинист электролебедки 3 разр. - 1

Речной рабочий 2 разр. - 1

0,53

--------

2-00

1,8

--------

1-39

0,6

-------

0-38,4

 

а

б

в

§ Е39-66. Очистка дна водоема от камней

Указания по применению норм

Нормами предусмотрена очистка дна водоема от камней с помощью крана-укосины, установленного на понтоне или плашкоуте с лебедкой грузоподъемностью 1,5-3 т.

Нормами учтен подъем камней массой до 50 кг и щебня в стальных корзинах вместимостью от 0,5 до 1 м3, камень массой св. 50 кг поднимается с помощью специальных захватов или цепей.

Состав работы

1. Подача под воду корзин, цепей и захватов.

2. Сбор и погрузка щебня или камня в корзину.

3. Застропка цепью или накладывание захватов на отдельные крупные камни.

4. Подъем корзин или отдельных камней.

5. Выгрузка камня на плашкоут или на лед.

6. Отвод плашкоута.

7. Передвижка крана.

8. Погрузка камня на сани (при работе зимой) с отвозкой его на расстояние до 100 м.

Таблица 1

Состав звена

Профессия и разряд рабочих

Время производства работ

летом

зимой

Водолазная станция

1

1

Речные рабочие 2 разр.

4

5

Таблица 2

Нормы времени и расценки на 1 м3 камня

Способ подъема

Наименование поднимаемых предметов

Производство работ*

 

с плавсредств

со льда

Н. вр.

---------

Расц.

водолазной станции

рабочих

водолазной станции

рабочих

Корзинами

Камень массой от 8 до 50 кг

1,1

--------

4-16

5,0

-------

3-20

0,9

------

3-40

5,1

------

3-26

1

 

То же, до 8 кг

2,0

-------

7-56

9,1

------

5-82

1,6

------

6-05

9,1

------

5-82

2

 

Щебень

2,9

-------

10-96

13,0

------

8-32

2,3

------

8-69

13,0

------

8-32

3

Захватами или цепями

Камень массой св. 50 кг

2,3

-------

8-69

10,5

-------

6-72

2,1

-------

7-94

12,0

-------

7-68

4

 

а

б

в

г

Примечания: 1. Устройство майны нормируется по гл. 3, сб. В13 "Строительство и ремонт речных гидротехнических сооружений и подводных переходов", вып. 1 "Выправительные и берегоукрепительные работы" (ПР-1).

2. При подъеме камня краном с механической лебедкой Н. вр. и Расц. водолазной станции умножать на 0,8; Н. вр. и Расц. рабочих умножать: строку 1 - на 0,4, а строку 2 - на 0,5 (ПР-2).

§ Е39-67. Переноска и перекидка камня под водой

Состав работы

1. Подъем камней массой от 10 до 50 кг.

2. Подноска камней вручную на расстояние до 4 м.

3. Перекидка камня на бровку траншеи и котлована или через стенку высотой до 1 м.

Нормы времени и расценки на 1 м3 камня

Состав звена

Переноска на расстояние до 4 м

Переноска с перекидкой на бровку выемки или через стенку

Водолазная станция - 1

1,3

--------

4-91

1,7

--------

6-43

 

а

б

§ Е39-68. Прокладка тросов через водоем

Состав работы

1. Разматывание троса с бухты с замером, обрубкой и заделкой конца проволочной оплеткой.

2. Погрузка троса в завозню, катер или баржу.

3. Закрепление одного конца троса на берегу.

4. Стравливание троса по створу при переходе через водоем.

5. Вытаскивание второго конца троса на берег трактором (при прокладке троса диаметром св. 32 мм).

6. Закрепление второго конца троса на другом берегу.

Состав звена

Такелажники на монтаже 3 разр. - 2

Речной рабочий               2 разр. - 1

Нормы времени и расценки на 100 м троса

Диаметр троса, мм

Ширина водоема до 150 м*

Добавлять на каждые следующие 50 м ширины*

 

12

2,8

--------

1-90

0,4

--------

0-27,2

1

25

5,1

---------

3-47

0,7

--------

0-47,6

2

32

9,6

--------

6-53

0,96

--------

0-65,3

3

 

а

б

Примечания: 1. Длина троса равна примерно полуторной ширине водоема (ПР-1).

2. Подрезка троса нормами не учтена (ПР-2).

§ Е39-69. Устройство и разборка деревянных якорей (анкерных опор) тяжелого типа

Указания по применению норм

Нормами предусмотрено устройство якоря (рис. 19), состоящего из бревна (поперечины) длиной 2 м, диаметром 300 мм, укладываемого на дно траншеи, к которому крепится трос, и четырех стоек из бревен длиной 2 м, диаметром 200 мм, связанных двумя поперечными связями из бревен длиной 2 м, диаметром 200 мм, которые пришиваются к стойкам строительными скобами. Стойки устанавливаются в траншее наклонно, опираясь верхними концами на бровку и служат упором для бревна (поперечины).

Рис. 19. Схема деревянного якоря

1 - петля; 2 - скоба; 3 - анкер; 4 - свая; 5 - поперечная связь; 6 - трос

Траншея для установки якоря должна быть размером 1´2 м, длиной 2 м и после установки якоря засыпается грунтом слоями 25-30 см с плотной утрамбовкой.

Разработка грунта для закладки и выемки якорей нормами не учтена.

Состав работ

При устройстве якоря

1. Подноска бревен на расстояние до 10 м.

2. Разметка и перепиливание бревен.

3. Подтеска стоек и связей в местах их сопряжений.

4. Пришивка поперечных связей к стойкам скобами.

5. Установка связанных стоек в готовой траншее.

6. Закрепление троса за якорь.

7. Засыпка траншеи и якоря грунтом с утрамбовкой.

При разборке якоря

1. Открепление и вытаскивание троса.

2. Разборка якоря с подъемом его частей наверх.

3. Относка материалов на расстояние до 10 м с укладкой в штабель.

Состав звена

Такелажник на монтаже 3 разр. - 1

Плотники                         2 разр. - 2

Нормы времени и расценки на 1 якорь

Работа

Н. вр.

---------

Расц.

 

Устройство якоря

7,1

--------

4-69

1

Разборка якоря

3,4

--------

2-24

2

§ Е39-70. Устройство П-образной береговой опоры для скрепера

Указания по применению норм

Нормами предусмотрено устройство береговых опор из бревен диаметром до 250 мм для блока. Стойки опор устанавливаются в землю на глубину в 1,5 м и укрепляются четырьмя подкосами из бревен диаметром 180-200 мм. Верхние брусья крепятся к стойкам штырями и четырьмя строительными скобами.

Нормами не учтены копка ям для закладки стоек опор и монтаж блоков на опоре.

Состав работы

1. Заготовка бревен.

2. Изготовление и установка опоры.

3. Засыпка ям с трамбованием.

4. Постановка подкосов.

5. Насадка и крепление верхнего бруса.

Нормы времени и расценки на 1 опору

Состав звена

Н. вр.

----------

Расц.

Плотники 3 разр. - 1

 “ 2 “ - 1

5,4

--------

3-62

§ Е39-71. Установка и разборка щитовой опалубки для подводного бетонирования

Указания по применению норм

Нормами предусмотрена установка и разборка щитовой опалубки водолазом для подводного бетонирования разных конструкций.

Нормами учтены водолазный осмотр и тщательное уплотнение просмоленной паклей стыков и мест примыкания щитовой опалубки. При возможности опалубку следует уплотнять изнутри бетонируемого блока.

При установке опалубки в виде шпунтового ограждения водолаз проверяет плотность шпунтовых замков и мест примыкания шпунта.

Состав работ

При установке опалубки

1. Забалластирование ранее заготовленного щита.

2. Затопление щита.

3. Пригонка щита к месту.

4. Закрепление его гвоздями или скобами.

5. Уплотнение стыков и мест примыкания опалубки.

6. Снятие балласта со щита.

При разборке опалубки

1. Разборка крепления.

2. Разборка опалубки отдельными щитами.

3. Застропка, подъем щитов и отстропка их.

Таблица 1

Состав звена

Профессия и разряд рабочих

Площадь одного щита, м2

до 4

св. 4 до 8

св. 8 до 16

Водолазная станция

1

1

1

Речные рабочие 2 разр.

2

3

4

Таблица 2

Нормы времени и расценки на установку или снятие 1 щита

Наименование работ

Площадь щита, м2

Водолазная станция*

Рабочие*

 

Установка щитовой опалубки под водой

До 4

1,4

-------

5-29

3,2

-------

2-05

1

 

Св. 4 до 8

2,2

-------

8-32

7,5

------

4-80

2

 

“ 8 “ 16

4,2

--------

15-88

19,0

-------

12-16

3

Разборка щитовой опалубки под водой

До 4

0,68

-------

2-57

1,6

-------

1-02

 

 

Св. 4 до 8

0,94

--------

3-55

3,2

------

2-05

5

 

“ 8 “ 16

1,6

-------

6-05

7,3

------

4-67

6

 

а

б

§ Е39-72. Укладка бетонной смеси в бадьях

Указания по применению норм

Нормами предусмотрена укладка бетонной смеси, подаваемой водолазу в специальных бадьях вместимостью 0,1 м3, при замоноличивании каверн или трещин в сооружениях.

Нормами учтены подача бадьи с бетонной смесью под воду и подъем порожней бадьи рабочими с плавучей площадки с применением простейших приспособлений.

Укладка бетонной смеси в бадьи и подача их на плавучую площадку нормами не учтены.

Состав работы

1. Подача готовой бетонной смеси, уложенной в бадьи, водолазу.

2. Укладка бетонной смеси на место.

3. Разравнивание бетонной смеси.

4. Подъем бадьи наверх.

Нормы времени и расценки на укладку 1 м3 бетонной смеси по обмеру в бадьях

Состав звена

Водолазная станция*

Рабочие*

Водолазная станция - 1

Речные рабочие 2 разр. - 4

1,8

--------

6-80

8,2

-------

5-25

 

а

б

§ Е39-73. Укладка бетонной смеси в мешках

Указания по применению норм

Нормами предусмотрена укладка бетонной смеси в мешках массой до 50 кг.

Нормами учтена укладка бетонной смеси в мешках с соблюдением следующих требований: а) мешки должны заполняться бетонной смесью не более чем на 2/3 объема; б) мешки с бетонной смесью укладываются с перевязкой швов между ними; в) при укладке каждого мешка водолаз должен тщательно распределить его содержимое для заполнения имеющихся неровностей.

Состав работы

1. Подача водолазу бетонной смеси в мешках.

2. Приемка водолазом мешков.

3. Укладка мешков в готовую опалубку или заранее намеченное место.

Состав звена

Водолазная станция      - 1

Речные рабочие 2 разр. - 3

Нормы времени и расценки на укладку 100 мешков

Укладка

Водолазная станция*

Рабочие*

 

Тщательная закладка сопряжений

4,7

--------

17-77

16

-------

10-24

1

Заполнение площадей

3,3

--------

12-47

11,5

-------

7-36

2

 

а

б

Примечание. Заполнение мешков бетонной смесью нормами не учтено (ПР-1).

§ Е39-74. Укладка мешков с песком в подводную траншею

Указания по применению норм

Нормами предусмотрены работы по заполнению песком мешков и укладке их в подводную траншею с целью защиты подводного кабеля от повреждений.

Нормой учтены заполнение мешков песком на берегу вручную или с помощью ленточного транспортера на 2/3 объема (массой до 50 кг) и их укладка на поддоны по 10 шт.

Поддоны с мешками устанавливаются на плавучую площадку, а затем краном подаются в подводную траншею, где водолаз укладывает их с перевязкой швов, распределяя при этом содержимое мешков так, чтобы не было пустот. Затраты времени на установку и перемещение плавучих средств в процессе укладки мешков нормами учтены.

Таблица 1

Состав звена

Профессия или разряд рабочих

Работа

заполнение мешков вручную

заполнение мешков с помощью ленточного транспортера

загрузка транспортера песком вручную

укладка мешков в подводную траншею

Водолазная станция

-

-

-

1

Речные рабочие 2 разр.

-

-

-

2

Такелажник на монтаже 2 разр.

1

1

-

-

Транспортерщик 2 разр.

-

1

-

-

Подсобные (транспортные) рабочие 1 разр.

4

1

4

-

Таблица 2

Нормы времени и расценки на 100 мешков

Состав работ

Водолазная станция*

Рабочие*

 

Загрузка транспортера вручную

-

5,4

-------

3-19

1

Заполнение мешков с укладкой их на поддоны и подачей поддонов краном на плавучую площадку

при заполнении мешков с помощью ленточного транспортера

-

4,2

(1,4)

-------

2-62

2

 

при заполнении мешков вручную

-

15

-------

9-00

3

Укладка мешков с песком в подводную траншею с помощью водолаза с подачей мешков на поддонах под воду плавучим краном

2,3

-------

8-69

5,2

(2,6)

-------

3-33

4

 

а

б

§ Е39-75. Пробивка отверстий в каменных и бетонных стенах

Состав работы

1. Подача водолазу инструментов.

2. Разметка отверстия.

3. Пробивка отверстия с помощью лома или шлямбура и кувалды.

4. Прочистка отверстия.

5. Подъем инструмента наверх.

Состав звена

Водолазная станция - 1

Нормы времени и расценки на 1 м глубины отверстия

Стены

Диаметр отверстия, см*

 

до 2,5

св. 2,5 до 5

св. 5 до 10

Слабая каменная

3,9

-------

14-74

6,5

-------

24-57

9,7

-----

36-67

1

Крепкая каменная или бетонная

6,5

--------

24-57

9,7

-------

36-67

13,5

-------

51-03

2

 

а

б

в

§ Е39-76. Пробивка окон в каменной и бетонной кладке

Указания по применению норм

Нормами предусмотрена пробивка окон в каменной и бетонной кладке при толщине стенки до 50 см.

Состав работы

1. Подача водолазу инструментов.

2. Разметка окон.

3. Пробивка окон с помощью лома или шлямбура и кувалды.

4. Выравнивание стенки окна.

5. Подъем инструментов наверх.

Состав звена

Водолазная станция - 1

Нормы времени и расценки на пробивку 1 окна

Материал кладки

Площадь окна*, м2

 

до 0,25

св. 0,25 до 0,5

св. 0,5 до 0,75

св. 0,75 до 1,0

Слабый известняк или кирпич

6,2

-------

23-44

7,5

-------

28-35

8,3

-------

31-37

9,3

------

35-15

1

Бетон

9,3

-------

35-15

11,5

-------

43-47

12,5

-------

47-25

14

------

52-92

2

 

а

б

в

г

§ Е39-77. Разборка каменной кладки и гранитной облицовки

Состав работ

При разборке каменной кладки

1. Подача водолазу инструментов.

2. Обследование кладки.

3. Разметка мест разборки.

4. Разборка каменной кладки под водой водолазом с помощью отбойного молотка или вручную крючьями, киркой, ломом или клиньями с кувалдой.

5. Откидывание камня.

6. Подъем инструментов наверх.

При разборке гранитной облицовки

1. Подача водолазу инструментов.

2. Обследование места работ.

3. Разборка водолазом гранитной облицовки с помощью клиньев с кувалдой.

4. Застропка камня.

5. Подъем камня плавкраном наверх.

6. Отстропка камня.

7. Перемещение плавкрана.

8. Подъем инструментов наверх.

Таблица 1

Состав звена

Профессия и разряд рабочих

Разборка кладки

Разборка гранитной облицовки

Водолазная станция

1

1

Речные рабочие 2 разр.

-

2

Таблица 2

Нормы времени и расценки на разборку 1 м3 каменной кладки или на разборку и подъем 1 камня гранитной облицовки

Способ разборки камня

Состав звена

Разборка каменной кладки*

Разборка гранитной облицовки с подъемом камня наверх*

 

Род раствора

слабый известковый

крепкий известковый или слабый цементный

крепкий цементный

Отбойными молотками

Водолазная станция

2,4

-------

9-07

4,3

-------

16-25

6,2

-------

23-44

-

1

Вручную

То же

6,2

-------

23-44

9,4

-------

35-53

12

-------

45-36

0,40

-------

1-51

2

 

Рабочие

-

-

-

0,91

-------

0-58,2

3

 

а

б

в

г

Примечания: 1. При разборке каменной кладки под водой нормами не учтен подъем камней из воды (ПР-1).

2. При подъеме камней гранитной облицовки ручной лебедкой состав звена рабочих, а также Н. вр. и Расц. разновидности 3 "г" увеличивать вдвое (ПР-2).

3. Работа машиниста, обслуживающего компрессор, нормами не учтена (ПР-3).

§ Е39-78. Срубка бетона под водой пневматическими отбойными молотками

Указания по применению норм

Нормами предусмотрена срубка гидротехнического бетона марок М 150-200, толщиной до 1 м водолазами с помощью пневматических отбойных молотков типа МО-8У, МО-9У, МО-10У или МО-10П, воздух к которым под давлением 0,5-0,6 МПа (5-6 кгс/см2) поступает от компрессора, установленного на специальной плавучей площадке. Уборка срубленного бетона нормами не учтена.

Состав работы

1. Осмотр водолазом места работ.

2. Подача водолазу пневматического отбойного молотка.

3. Срубка бетона отбойным пневматическим молотком с очисткой забоя в процессе работы.

4. Подъем отбойного молотка наверх.

Нормы времени и расценки на 1 м3 бетона

Состав звена

Водолазная станция*

Машинист*

Водолазная станция - 1

Машинист компрессора 4 разр. - 1

24,5

--------

92-61

28

--------

22-12

 

а

б

§ Е39-79. Выдергивание стальных и железобетонных свай с помощью плавучего крана

Указания по применению норм

Нормами предусмотрено извлечение плавучим краном стальных и железобетонных свай с глубиной забивки до 15 м, расположенных друг от друга на расстоянии до 5 м.

Грузоподъемность крана устанавливается в каждом случае в зависимости от вида, размеров, массы и глубины забивки свай и характера грунта.

Нормами учтено складирование извлеченных свай на барже или плавучей площадке.

Состав работы

1. Очистка поверхности сваи в месте застропки.

2. Застропка сваи.

3. Выдергивание сваи плавучим краном.

4. Укладка сваи на плавучие средства.

5. Отстропка сваи.

6. Перемещение крана и плавучих средств к следующей свае.

Нормы времени и расценки на 1 сваю

Состав звена

Водолазная станция*

Рабочие*

Водолазная станция - 1

Речные рабочие 2 разр. - 2

0,86

--------

3-25

1,96

(0,98)

-------

1-25

 

а

б

 

 




ГОСТЫ, СТРОИТЕЛЬНЫЕ и ТЕХНИЧЕСКИЕ НОРМАТИВЫ.
Некоммерческая онлайн система, содержащая все Российские Госты, национальные Стандарты и нормативы.
В Системе содержится более 150000 файлов нормативно-технической документации, действующей на территории РФ.
Система предназначена для широкого круга инженерно-технических специалистов.

Рейтинг@Mail.ru Яндекс цитирования

Copyright © www.gostrf.com, 2008 - 2026