Крупнейшая бесплатная информационно-справочная система онлайн доступа к полному собранию технических нормативно-правовых актов РФ. Огромная база технических нормативов (более 150 тысяч документов) и полное собрание национальных стандартов, аутентичное официальной базе Госстандарта. GOSTRF.com - это более 1 Терабайта бесплатной технической информации для всех пользователей интернета. Все электронные копии представленных здесь документов могут распространяться без каких-либо ограничений. Поощряется распространение информации с этого сайта на любых других ресурсах. Каждый человек имеет право на неограниченный доступ к этим документам! Каждый человек имеет право на знание требований, изложенных в данных нормативно-правовых актах!

  


 

ГОСУДАРСТВЕННЫЙ ПРОЕКТНЫЙ ИНСТИТУТ ЛЕНПРОЕКТСТАЛЬКОНСТРУКЦИЯ (ГПИ ЛЕНПРОЕКТСТАЛЬКОНСТРУКЦИЯ) ГОССТРОЯ СССР

ПОСОБИЕ
ПО ПРОЕКТИРОВАНИЮ КОНВЕЙЕРНЫХ ГАЛЕРЕЙ
(к СНиП 2.09.03-85)

УТВЕРЖДЕНО
приказом ГПИ Ленпроектстальконструкция Госстроя СССР от 7 мая 1987 г. № 29

Москва Стройиздат 1989

Рекомендовано к изданию Научно-техническим советом ГПИ Ленпроектстальконструкция Госстроя СССР.

Пособие по проектированию конвейерных галерей (к СНиП 2.09.03-85) /ГПИ Ленпроектстальконструкция.

Содержит основные положения по строительному проектированию конвейерных галерей со стальными несущими конструкциями пролетных строений и опор.

Для инженерно-технических работников проектных и строительных организаций.

Разработано ГПИ Ленпроектстальконструкция (кандидаты техн. наук Э.С. Александровская, Ю.С. Плишкин, А.С. Файнштейн, инженеры Ю.С. Зорин, В.А. Крупский, Ю Н. Мирвис, М. Б. Солодарь) совместно с ГПИ Ленпромстройпроект (канд. архит. В.Ф. Хрущев, архит. Л.И. Видяева), ГПИ Днепрпроектстальконструкция (кандидаты техн. наук А.Е. Любин, А.Г. Раздольский, инженеры А.Ф. Сафронков, В.А. Шевченко), Уралпромстройниипроект (инж. А.Д. Ним), институтом Механобр (инж. О.В. Зеленский), ЦНИИПромзданий (канд. техн. наук Н.А. Ушаков) при участии Донецкого Промстройниипроекта (канд. техн. наук В Д. Вейсбейн).

СОДЕРЖАНИЕ

1. ОБЩИЕ ПОЛОЖЕНИЯ

2. КОМПОНОВОЧНЫЕ РЕШЕНИЯ ГАЛЕРЕЙ И ГАБАРИТЫ ПРОЛЕТНЫХ СТРОЕНИЙ

3. НАГРУЗКИ НА ГАЛЕРЕИ

4. РАСЧЕТ СТРОИТЕЛЬНЫХ МЕТАЛЛОКОНСТРУКЦИЙ ГАЛЕРЕЙ

Общие положения

Расчет пролетных строений с несущими конструкциями из ферм

Расчет пролетных строений с несущими конструкциями из сварных двутавровых балок

Расчет пролетных строений с несущими конструкциями из ребристых оболочек прямоугольного сечения

Расчет пролетных строений с несущими конструкциям из круглых цилиндрических оболочек

5. КОНСТРУКТИВНЫЕ РЕШЕНИЯ ГАЛЕРЕЙ

Пролетные строения с несущими конструкциями из ферм

Пролетные строения с несущими конструкциями из сварных двутавровых балок

Пролетные строения с несущими конструкциями из оболочек прямоугольного сечения

Пролетные строения с подвесными конвейерами

Опоры галерей

6. ОГРАЖДАЮЩИЕ КОНСТРУКЦИИ. ТЕПЛОИЗОЛЯЦИЯ

7. ПРИМЕРЫ РАСЧЕТА ПРОЛЕТНЫХ СТРОЕНИЙ ГАЛЕРЕЙ

Пролетные строения с несущими конструкциями из сварных двутавровых балок с гибкой стенкой

Пролетные строения с несущими конструкциями из оболочек прямоугольного сечения

Пролетные строения с несущими конструкциями из круглых цилиндрических оболочек

ПРИЛОЖЕНИЕ 1 Минимальная нормативная ширина проходов

ПРИЛОЖЕНИЕ 2 Нагрузки от средней части конвейера

ПРИЛОЖЕНИЕ 3 Определение частот свободных колебаний пролетного строения и динамических коэффициентов

ПРИЛОЖЕНИЕ 4 Редукционные коэффициенты j для ребристых пластин с погибью со и поперечной нагрузкой q

ПРИЛОЖЕНИЕ 5 Задание технологической организации на проектирование строительной части галереи

1. ОБЩИЕ ПОЛОЖЕНИЯ

1.1. В настоящем Пособии приведены основные положения проектирования строительных конструкций конвейерных галерей - надземных горизонтальных или наклонных сооружений, преимущественно большой протяженности, расположенных, как правило, между зданиями.

В дальнейшем тексте Пособия наименование «конвейерные галереи» заменено термином «галереи».

1.2. Галереи состоят из пролетных строений и опор. Внутри пролетных строений размещаются ленточные конвейеры для транспортировки сыпучих материалов. При необходимости в пролетных строениях могут быть размещены также технологические коммуникации различного назначения.

1.3. При пользовании настоящим Пособием должны соблюдаться требования СНиП 2.09.03-85 «Сооружения промышленных предприятий», регламентирующие проектирование, транспортировку, изготовление и монтаж строительных конструкций, а также нормы проектирования на все технологические коммуникации, проходящие внутри пролетного строения.

1.4. Пособие распространяется на проектирование галерей для предприятий черной и цветной металлургии, химической и угольной промышленности, промышленности строительных материалов.

Для предприятий других отраслей промышленности должны учитываться дополнительные специальные условия.

1.5. В Пособии рассмотрены галереи с металлическими несущими конструкциями пролетных строений и опор, имеющие наибольшее распространение в промышленном строительстве.

Галереи с железобетонными или деревянными несущими конструкциями могут быть запроектированы по соответствующим главам СНиПов с частичным использованием настоящего Пособия.

1.6. В пролетных строениях галерей расположена, как правило, только средняя часть ленточного конвейера, а «головная» и «хвостовая» части конвейера - вне пролетных строений. В соответствии с этим положением определены нагрузки от конвейера на пролетные строения и опоры (глава 3 настоящего Пособия).

В случае иного расположения оборудования нагрузки от конвейера должны быть определены технологической организацией по нормативным материалам для ленточных конвейеров.

1.7. Продольный уклон галереи по условиям нормальной эксплуатации ленточных конвейеров общепромышленного назначении и с учетом свойств сыпучего материала не должен превышать 24°.

1.8. Пособие распространяется на проектирование конвейерных галерей, возводимых в районах с расчетными температурами не ниже минус 50 °С и сейсмичностью не более 6 баллов. При расчетных температурах в интервале - 50 °С ³ t > - 65 °С или при расчетной сейсмичности более 6 баллов проектирование галерей должно осуществляться с учетом специально разработанных технических условий.

1.9. В зависимости от технологических требований, условий эксплуатации и климатического района строительства пролетные строения могут проектироваться отапливаемыми и неотапливаемыми.

Наибольшее распространение имеют отапливаемые пролетные строения галерей.

1.10. Пособие распространяется на проектирование пролетных строений с конвейерами, опирающимися на пол. В целях упрощения уборки просыпи и пыли взамен опирающихся конвейеров могут применяться конвейеры, подвешенные к покрытию.

1.11. Как показывает практика, при существующих конструкциях конвейеров и режимах их эксплуатации, на отдельных участках пола галереи образуется слой сыпучего материала - просыпь, возникающая от обрыва ленты конвейера, налипания материала на ленту, сбрасывания материала с ленты во время движения конвейера на всем протяжении галереи.

Нагрузка от просыпи соответствующим образом учитывается при проектировании строительных конструкций галерей (глава 3 настоящего Пособия).

1.12. Условия нормальной эксплуатации галерей и условия сохранения надежности строительных конструкций требуют периодической уборки образовавшейся просыпи.

1.13. Удаление пыли и просыпи в галереях рекомендуется производить сухим способом. Применения гидросмыва и других мокрых способов уборки, как правило, следует избегать.

Способ уборки назначается технологической организацией в соответствии с указаниями настоящего пункта.

Использование мокрых способов уборки должно иметь обоснование, учитывающее значительный дополнительный расход воды на промышленном предприятии, необходимость обеспечения надежной герметичности перекрытия и коррозионной стойкости металлоконструкций пролетных строений и специального устройства у нижнего конца галереи для отвода воды и сбора просыпи.

1.14. В Пособии не рассмотрено проектирование пролетных строений и опор галерей для открытых складов сыпучих материалов.

1.15. Архитектурное и цветовое решение конструкций галерей должно соответствовать их композиционному значению в пространственной организации предприятия как элементов, дополняющих архитектуру основных производственных зданий.

2. КОМПОНОВОЧНЫЕ РЕШЕНИЯ ГАЛЕРЕЙ И ГАБАРИТЫ ПРОЛЕТНЫХ СТРОЕНИЙ

2.1. Галерея представляет собой инженерное сооружение мостового типа.

2.2. Взаимное расположение несущих и ограждающих конструкций определяет компоновку пролетного строения: несущие конструкции по высоте располагаются в пределах технологического габарита или вне его, ниже пола галереи. Последний вариант компоновки в настоящем Пособии не рассматривается.

2.3. По типу конструктивных решений пролетные строения галереи принадлежат к одной из трех групп:

несущие конструкции пролетных строений из стальных ферм с параллельными поясами, с ограждающими конструкциями панельного типа из различных материалов (рис. 1);

несущие конструкции пролетных строений из сварных двутавровых балок, в том числе - с гибкими стенками, с ограждающими конструкциями покрытия и перекрытия различного типа (рис. 2);

несущие конструкции пролетных строений из металлических оболочек прямоугольного или круглого сечения, совмещающих несущие и ограждающие функции (рис. 3, 4).

2.4. Изучение отечественного и зарубежного опыта проектирования и строительства галерей показало, что в пределах каждой из трех групп, указанных в п. 2.3, имеется большое количество разнообразных компоновочных и конструктивных решений. Однако в Пособии рассмотрены только те типы решений, которые получили широкое применение в практике строительства или являются наиболее перспективными для дальнейшего внедрения.

2.5. Выбор трассы, уклоны и расстановка опор определяются требованиями технологии и особенностями генплана промышленного предприятия.

2.6. При необходимости иметь, по условиям технологии, два параллельных конвейера, их следует, как правило, размещать в одном. пролетном строении. В отдельных случаях для конвейеров с шириной ленты 1600 мм и более, при соответствующем обосновании, допускается, по согласованию с технологической организацией, размещение конвейеров в двух отдельных пролетных строениях.

2.7. Длины пролетных строений галереи следует принимать, как правило, равными 18, 24, 30, 36, 42 и 48 м.

Допускается при обосновании назначать пролеты менее 18 и более 48 м, по возможности кратными 3 м. Конструктивные решения этих пролетов должны приниматься индивидуальными.

2.8. Стальные опоры галерей выполняются двух типов: плоские (качающиеся) и пространственные (неподвижные).

Рис. 1. Пролетное строение конвейерной галереи с несущими конструкциями из ферм с параллельными поясами

Рис. 2. Пролетное строение конвейерной галереи с несущими конструкциями из сварных двутавровых балок

Рис. 3. Пролетное строение конвейерной галереи с несущими конструкциями из оболочки прямоугольного сечения

Рис. 4. Пролетное строение конвейерной галереи из круглой цилиндрической оболочки

2.9. При назначении длин пролетов в соответствии с генпланом следует иметь в виду, что чем выше опоры, тем эффективнее применение увеличенной длины пролетного строения.

2.10. В галереях большой протяженности необходимо предусматривать температурные швы. Зазор в температурном шве принимается не менее 100 - 200 мм.

2.11. В температурном блоке галерей следует предусматривать одну неподвижную опору, обеспечивающую устойчивость конструкции в продольном направлении. В качестве такой опоры допускается использовать перегрузочные узлы.

2.12. Наибольшая длина температурного блока неотапливаемых и отапливаемых пролетных строений с расположением несущих конструкций снаружи, определяемая как расстояние от неподвижной опоры до температурного шва, не должна превышать 130 м в районах с расчетной температурой воздуха выше или равной минус 40 °С и 100 м - при расчетной температуре ниже минус 40 °С.

В необходимых случаях, возможно, принимать большую длину температурного блока, допустимость которой должна быть подтверждена расчетом.

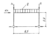
2.13. При проектировании галерей возможны три принципиальные схемы их продольной компоновки. Схема 1 предусматривает неподвижное закрепление галереи в нижней части температурного блока (рис. 5, а). Схема 2 предусматривает устройство неподвижной опоры в середине галереи (рис. 5, б).

Во избежание дополнительных воздействий от галереи на каркас здания примыкание пролетных строений в схемах 1 и 2 осуществляется консольно. В целях уменьшения длины консоли плоскую опору рекомендуется устанавливать в непосредственной близости от здания. Примыкание к зданию следует решать по аналогии с температурным швом.

Схема 3 (рис. 5, в) используется, если необходимо осуществить опирание верхней части пролетного строения непосредственно на здание (невозможность установки вблизи здания плоской опоры из-за наличия пониженного пролета здания, подземных коммуникаций, железнодорожных путей и др.). Возможность температурных перемещений в этом случае обеспечивается введением дополнительного температурного шва на парных плоских опорах независимо от длины галереи.

2.14. В зависимости от общей длины галереи каждая из трех схем, приведенных в п. 2.13, допускает возможность устройства промежуточных температурных швов с соответствующим размещением плоских и пространственных опор.

2.15. Внутренние размеры пролетного строения галереи по ширине и высоте должны обеспечивать нормальные и безопасные условия эксплуатации и ремонта конвейеров.

2.16. Внутренние размеры поперечных сечений пролетного строения обуславливаются:

по ширине - количеством конвейеров, размерами их станин, шириной проходов для обслуживания, монтажа и ремонта конвейеров и шириной коммуникационных зон;

по высоте - высотами проходов и коммуникационных зон.

2.17. Для всех типоразмеров конвейеров необходимо устройство проходов с двух сторон.

Рис. 5. Принципиальные схемы продольной компоновки галерей

а - схема 1; б - схема 2; в - схема 3; 1 - неподвижное закрепление, 2 - плоская (качающаяся) опора, 3 - пространственная (неподвижная) опора

2.18. Ширина проходов вдоль конвейеров определяется шириной конвейера, режимом его работы, характеристикой транспортируемого материала, удобством эксплуатации и ремонта и правилами техники безопасности.

2.19. В табл. 1 и 2 приведены габариты конвейеров и рекомендуемые внутренние технологические размеры поперечных сечений пролетных строений галерей для одного и двух конвейеров (рис. 6, 7).

Таблица 1

Ширина ленты В, мм

Габарит ленточного конвейера, мм

Внутренние технологические размеры одноконвейерных галерей и привязки осей конвейеров и монорельса, мм

Г1

Г2

Н1

Г5

П1

П2

Н2

а

а1

d

650

800

1000

1200

1400

1600

2000

950

1200

1350

1600

1800

1950

2400

1150

1350

1600

1800

2050

2300

2800

1050

1250

1350

1550

1600

1750

1900

2650

2950

3300

3650

4050

4450

5100

700

700

700

750

800

850

900

800

900

1000

1100

1200

1300

1400

2100

2200

2300

2300

2400

2400

2500-2600

1275

1375

1500

1650

1825

2000

2300

1375

1575

1800

2000

2225

2450

2800

700

850

950

1100

1250

1350

1600

Таблица 2

Ширина ленты В, мм

Внутренние технологические размеры двухконвейерных галерей и привязки осей конвейеров и монорельса в мм при

соосном расположении барабанов

несоосном расположении барабанов

Г6

П4

f

Г¢6

П¢4

f'

650

800

1000

1200

1400

1600

2000

4950

5750

6200

6900

7450

8000

9200

1250

1650

1600

1800

1750

1700

1800

2400

3000

3200

3600

3800

4000

4600

4800

5400

5900

6500

7100

7650

8900

1100

1300

1300

1400

1400

1350

1500

2250

2650

2900

3200

3450

3650

4300

Примечание. В табл. 1 и 2 обозначены: Г1, Г2, Н1 - габариты конвейеров; Г5, Г6, Н2 - внутренние размеры пролетного строения; Гпр - габариты коммуникационной зоны; П2, П4, П¢4 - основной (рабочий) проход; П1 - вспомогательный проход. Размеры Н1 и Н2 указаны для сечения пролетного строения, перпендикулярного его продольной оси.

2.20. Габарит конвейера дан с учетом ограждений конвейера, центрирующих роликоопор и максимальной высоты груза на ленте.

Рис. 6. Размеры одноконвейерной галереи

Рис. 7. Размеры двухконвейерной галереи

2.21. В табл. 1 и 2 минимальные размеры проходов по ширине и, следовательно, ширина пролетного строения назначены не только из условий техники безопасности, как это предусмотрено в ГОСТ 12.2.022-80*, но также с учетом условий установки, эксплуатации и ремонта конвейеров [1].

2.22. По согласованию с технологической организацией возможно уменьшение ширины пролетного строения за счет сужения ширины любого прохода (кроме среднего в двухконвейерной галерее) не более чем на 300 мм. При этом ширина прохода должна быть не меньше, чем регламентируемая [1], (см. прил. 1).

2.23. Габарит коммуникационной зоны Гпр для расположения приборов отопления и промышленных проводок следует принимать не менее 300 мм.

2.24. Высота проходов в галереях Н2 должна обеспечивать удобные и безопасные условия установки, ремонта и эксплуатации конвейеров. Высоту проходов по нормали к полу следует принимать по табл. 1, но не менее 1,9 м.

2.25. Внутренние размеры пролетных строений для двух конвейеров зависят от расположения приводных и натяжных устройств, которое может быть соосным и несоосным, что должно быть указано в задании на проектирование галерей (см. табл. 2).

2.26. Необходимость устройства и расположения противопожарных зон и эвакуационных выходов решается в каждом конкретном случае с учетом типа ограждающих конструкций, протяженности галереи и свойств транспортируемого материала с учетом положений действующих СНиП 2.01.02-85 и СНиП 2.09.03-85.

2.27. В галереях длиной более 200 м необходимо устраивать переходные площадки через конвейеры для удобства их обслуживания и прохода людей к эвакуационным выходам.

2.28. Эвакуационные выходы из галерей, лестницы, переходные площадки и противопожарные зоны следует, как правило, размещать либо на неподвижной опоре призматического типа (см. рис. 5, б), либо совмещать, где это возможно, с перегрузочными узлами. В местах расположения переходных площадок следует обеспечить необходимый по высоте габарит для прохода человека.

2.29. Для обеспечения естественного освещения и вентиляции в галереях в соответствии с технологическими требованиями следует проектировать открывающиеся окна, дефлекторы и другие устройства. Окна следует располагать, как правило, со стороны основного прохода. В галереях шириной более 5 м следует предусматривать устройство окон с обеих сторон. Допускается, при соответствующем обосновании, проектировать галереи без естественного освещения.

2.30. При высоте галереи от уровня земли до верха пролетного строения 10 м и более следует предусматривать перила на кровле и наружные лестницы на кровлю не реже, чем через 200 м. Эти лестницы должны быть продолжением эвакуационных лестниц.

При больших продольных и поперечных уклонах кровель галерей (от 12° и более) или для пролетных строений из круглых цилиндрических оболочек перила на кровле следует предусматривать по всей длине галереи, независимо от ее высоты над уровнем земли.

Крепление перильного ограждения рекомендуется производить непосредственно к конструкциям покрытия.

2.31. При уклоне галерей более 12° по ширине проходов вдоль трассы конвейеров должны предусматриваться ступени. Рекомендуется устройство съемных или откидных металлических ступеней с использованием решетчатого настила или дерева. При уклоне галерей от 6 до 12° включительно в проходах должны устраиваться съемные ходовые трапы (настилы с поперечинами), металлические или деревянные. При сухой уборке допускается замена трапов и ступеней в проходах приклеенными дорожками из профилированной резины.

2.32. Внутренние поверхности стен и потолков пролетных строений галерей должны, по возможности, исключать скопление пыли и влаги.

2.33. Для производства ремонтных работ на конвейере в горизонтальных галереях возможно устройство подвесного транспорта (монорельса). В наклонных галереях для этой цели рекомендуется использовать напольный транспорт. Монорельсы могут быть применены только при обеспечении их надежной эксплуатации.

3. НАГРУЗКИ НА ГАЛЕРЕИ

3.1. В Пособии под термином «нагрузка», «величина нагрузки» понимается «нормативная нагрузка», «нормативная величина». Коэффициенты надежности по нагрузке для перехода к расчетным нагрузкам принимаются по СНиП 2.01.07-85.

3.2. Нагрузки, направленные параллельно линии наклона галереи, называются продольными нагрузками.

3.3. Нагрузки на галереи подразделяются на три группы: технологические, строительные, от атмосферных воздействий.

3.4. Нагрузки, действующие на галерею, приведены в табл. 3.

Таблица 3

Вил нагрузки

Наименование нагрузки

Классификация по СНиП 2.01.07-85

Строительная

Вес несущих стальных конструкций, ограждения, теплоизоляции

Постоянные

Технологическая

Вес груза на ленте

Длительные

Вес промпроводок

Вес конструкций конвейера

Сопротивление движению ленты

Ремонтная

Кратковременные

Нагрузка от пуска конвейера

Вес просыпи при расчете элементов перекрытия

Вес просыпи при расчете продольных несущих конструкций пролетного строения (см. п. 3.9)

Особые

Нагрузка от обрыва или заклинивания ленты

Атмосферная

Вес пыли на покрытии

Длительная

Вес снега

Кратковременные

Давление ветра

3.5. Нагрузки от конвейера передаются на перекрытие пролетного строения в виде вертикальных Qв и продольных Qп сил от каждой опоры стойки конвейера (рис. 8).

Рис. 8. Схема технологических нагрузок от конвейера

Вертикальная сила Qв включает вес транспортируемого груза, ленты, рядовых и центрирующих роликоопор, станины конвейера.

Продольная сила Qп включает в себя продольную составляющую от веса транспортируемого груза и ленты конвейера, силу сопротивления движению ленты на роликоопорах, силы инерции от изменения скорости вращения, роликов при пуске. Все составляющие силы Qп направлены вверх по уклону.

3.6. В табл. 4 и 5 приведены величины нормативных вертикальных сил Qв и продольных сил Qп от одной стойки станины при шаге стоек 3 м для лент различной ширины в зависимости от насыпной плотности транспортируемого груза. Табл. 4 и 5 составлены в соответствии с прил. 2 на основании технологических нагрузок, соответствующих оптимальному заполнению ленты. В таблицах учтены параметры резинотканевых лент. Значение обобщенного коэффициента сопротивления движению ленты принято равным 0,04. В величине силы Qв учтен коэффициент динамичности 1,15 на вес транспортируемого груза и ленты.

При несовпадении исходных данных для проектирования конкретной галереи с параметрами, положенными в основу табл. 4 и 5, значения сил Qв и Qп определяются технологической организацией в соответствии с указаниями прил. 2.

Силы Qв и Qп указываются технологической организацией в задании на проектирование.

Таблица 4

Ширина ленты В, мм

Нормативная вертикальная нагрузка Qв в кН на одну опору стойки конвейера при шаге стоек 3 м и насыпной плотности груза g, т/м3

0,8

1,2

1,6

2

2,4

2,8

3,2

650

800

1000

1200

1400

1600

2000

2

3,9

4,7

5,9

7,2

9,9

14,1

2,3

4,3

5,4

6,9

8,5

11,7

16,8

2,6

4,8

6,1

7,9

9,9

13,5

19,6

3,1

5,5

7,2

9,5

12,5

15,9

22,7

3,4

6

7,9

10,5

13,8

17,7

25,5

3,7

6,4

8,6

11,4

15,2

19,5

28,5

4

6,8

9,3

12,4

16,5

21,3

30,9

Таблица 5

Ширина ленты В, мм

Угол наклона галерей, а°

Нормативная продольная нагрузка Qп в кН на одну опору стойки конвейера при шаге стоек 3 м и насыпной плотности груза g, т/м3

0,8

1,2

1,6

2

2,4

2,8

3,2

650

0

10

15

23

0,1

0,3

0,4

0,5

0,1

0,4

0,5

0,6

0,2

0,4

0,5

0,7

0,2

0,5

0,6

0,8

0,2

0,5

0,6

0,9

0,2

0,6

0,8

1,1

0,2

0,6

0,8

1,1

800

0

10

15

23

0,2

0,4

0,5

0,6

0,2

0,5

0,6

0,8

0,2

0,6

0,8

1

0,2

0,7

0,9

1,2

0,3

0,8

1

1,4

0,3

0,8

1,1

1,5

0,3

0,9

1,2

1,7

1000

0

10

15

23

0,2

0,6

0,7

0,9

0,2

0,6

0,8

1,1

0,3

0,8

1

1,4

0,3

1

1,2

1,7

0,4

1,1

1,4

2

0,4

1,3

1,6

2,3

0,4

1,3

1,8

2,5

1200

0

10

15

23

0,3

0,7

0,9

1,1

0,3

0,9

1,1

1,5

0,4

1,1

1,4

2

0,4

1,2

1,6

2,3

0,5

1,5

1,9

2,7

0,5

1,7

2,2

3,2

0,6

1,9

2,5

3,5

1400

0

10

15

23

0,3

0,9

1,1

1,5

0,4

1,1

1,4

2

0,4

1,4

1,8

2,5

0,6

1,8

2,3

3,2

0,6

2

2,6

3,6

0,7

2,3

3

4,2

0,8

2,6

3,4

4,7

1600

0

10

15

23

0,4

1,1

1,4

2

0,5

1,4

1,8

2,6

0,6

1,8

2,4

3,3

0,7

2,2

2,9

4

0,8

2,6

3,3

4,7

0,9

3

3,9

5,4

1

3,2

4,4

6

2000

0

10

15

23

0,6

1,6

2,1

2,8

0,7

2,1

2,8

3,9

0,9

2,8

3,6

5

1

3,2

4,2

6

1,1

3,8

5,1

7,1

1,3

4,4

5,9

8,2

1,5

5

6,6

9,3

3.7. Полезная нагрузка от промышленных проводок создается массой различных трасс и коммуникаций. Промышленные проводки рекомендуется располагать вдоль стен пролетного строения. В отдельных случаях возможна подвеска части коммуникаций к балкам покрытия. Фактическое размещение промпроводок следует учитывать при определении нагрузок на основные продольные конструкции пролетных строений и балки покрытия.

При проектировании галерей для конкретных объектов нагрузка от промышленных проводок и габариты их размещения задаются технологической и общестроительной проектными организациями.

В тех случаях, когда нагрузки от промышленных проводок не могут быть конкретизированы технологической организацией, для расчета основных продольных конструкций пролетного строения рекомендуется принимать линейную нагрузку q1 (по табл. 6), приложенную вдоль стен галереи. Для расчета балок покрытия в этом случае рекомендуется принимать равномерно распределенную по покрытию нагрузку q2, равную 150 Па для галерей шириной b £ 4 мм и 100 Па - для галерей шириной b > 4 м (рис. 9).

Таблица 6

№ п.п.

Промышленные проводки

Нагрузка q1, кН/м

1

Разводка

0,2

2

Приборы отопления

1

3

Трубопроводы транзитных теплотрасс, воздуховоды и трубопроводы специального назначения для подачи нефти, мазута, масла, пульпы и т.д.

1,5

4

Трубопроводы водоснабжения и канализации

0,4

5

Электрокабели силовые, осветительные, КИП и другие, а также кабели связи и сигнализации

0,3

 

Итого

3,4

Примечание. В неотапливаемых галереях нагрузка по пп. 1 и 2 не учитывается.

Рис. 9. Схема нагрузки от промпроводок

3.8. При определении нагрузок, имеющих большой разброс значений (просыпь, ремонтная), для уточнения их влияния на результаты расчета в Пособии в соответствии с указаниями СНиП 2.09.03-85 использован дифференцированный подход. Каждая из них задается двумя величинами: большей, учитывающей возможность высокого уровня местного нагружения, - для расчета элементов перекрытия, и меньшей - для расчета несущих конструкций пролетного строения в целом с учетом осреднения нагрузки по его длине.

3.9. Значение нормативной нагрузки от веса просыпи, людей и ремонтных материалов для расчета конструкций пролетных строений принимается по табл. 7.

В отдельных случаях, при расчете продольных конструкций, возможно отнесение просыпи к кратковременным нагрузкам при соответствующем обосновании технологической организации, что должно быть отмечено в задании на проектирование галерей. Независимо от числа конвейеров в пролетном строении вес просыпи определяется от одного конвейера.

Таблица 7

Элементы пролетного строения

Вид нагрузки

Единица измерения

Величина нагрузки

Основные продольные конструкции пролетного строения

Вес ремонтных материалов и людей

кН/м

1,5 qрр, но не менее 1,5П

тс/м

1,5 qрр, но не менее 0,15П

Вес просыпи

кН/м

1,5 gВ

тс/м

0,15 gВ

Элементы перекрытия

Вес просыпи, ремонтных материалов и людей

кПа

1,2 g, но не менее 1,5

тс/м2

0,12 g, но не менее 0,15

Примечание. Все нагрузки относятся к кратковременным, кроме веса просыпи при расчете основных продольных конструкций, который является особой нагрузкой. В табл. 7 обозначены: qрр - линейная нагрузка от массы роликоопор, кН/м (тс/м); g - плотность насыпного груза, т/м3; В - ширина ленты одного конвейера, м; П - общая ширина проходов, м.

3.10. Нагрузки от обрыва и заклинивания ленты возникают при аварийных режимах работы конвейера и воспринимаются в основном конструкциями, расположенными вне пролетного строения галереи. Однако для повышения надежности конструкций галереи часть этой нагрузки учитывается в расчете.

Величина усилия принимается условно, независимо от числа лент, равной 100 кН при ширине ленты 1000 мм и менее, и 300 кН - при ширине ленты 2000 мм. Для промежуточные значений ширины ленты усилия определяются по линейной интерполяции. Усилие передается на перекрытие через стойки конвейера по направлению движения верхней ветви ленты и может быть приложено в любом месте по длине галереи.

3.11. Продольные нагрузки от ленточных конвейеров учитываются при расчете неподвижных опор галерей, а также при определении усилий в нижних поясах продольных несущих конструкций пролетных строений.

3.12. При работе конвейера пролетные строения галереи испытывают динамические воздействия вследствие перемещения подвижных частей оборудования. Движение ветвей ленты и груза, а также вращение роликов вызывают колебания пролетного строения в вертикальной плоскости. Основной причиной возбуждения колебаний являются отклонения от номинала формы роликов и центровки их осей, а также удары по роликам крупных кусков груза.

3.13. Вследствие разброса частот и фаз вращения, дисбаланса геометрических эксцентриситетов роликов динамические нагрузки от ленточного конвейера являются случайными величинами.

Среднее значение частоты динамического возмущения от конвейера w, рад/с, определяется по формуле

w = 2v/dр,                                                                                                      (1)

где v - скорость движения ленты, м/с; dр - диаметр роликов верхней ветви.

Динамическая нагрузка увеличивает суммарную статическую нагрузку на пролетное строение не более чем на 2 %. Поэтому влияние динамического воздействия от конвейера становится ощутимым только при близости частоты вынужденных колебаний w к первой частоте q1 свободных колебаний, т.е. при режимах, близких к резонансу.

Область (q¢I, q¢¢I) значений первой частоты qI, свободных колебаний пролетного строения, учитывающая возможные изменения его массы временными нагрузками и погрешности определения величины называется первой резонансной зоной, а величины q¢I = 0,9qImin, q¢¢I = 1,1qImax - ее нижней и верхней границами.

Значения первой частоты qImin и qImax соответствуют наибольшей и наименьшей массам пролетного строения, учитываемым при определении первой частоты.

Указания по определению величин этих масс даны в прил. 3.

3.14. Если средняя частота возмущения w не попадает внутрь интервала (q¢I, q¢¢I), то воздействие динамических нагрузок от конвейера на пролетное строение допускается учитывать коэффициентом динамичности kд = 1,15 к технологической нагрузке qr + 2qл.

Расчет пролетного строения на динамическую нагрузку при этом не выполняется.

3.15. Если среднее значение частоты возмущения w попадает в первую резонансную зону, т.е. выполняется условие

q¢I £ w £ q¢¢I,                                                                                                  (2)

может реализоваться резонансный режим. Однако вероятность его появления даже в случае выполнения условия (2) не является высокой.

3.16. Работа пролетных строений галерей при резонансных колебаниях не допускается по условиям эксплуатации конструкций и оборудования.

Анализ результатов динамических расчетов показал, что в условиях резонанса напряжения в элементах конструкции возрастают не более чем на 15 - 20 %. Наличие при расчете по предельным состояниям ряда дифференцированных коэффициентов запаса, учитываемых одновременно, а также специфика назначения расчетных сочетаний нагрузок обеспечивают конструкциям пролетного строения определенный запас прочности. По указанным причинам допускается при проектировании галерей не производить расчет на резонанс.

Уточнение величины динамической добавки может быть выполнено в соответствии с прил. 3.

Из многолетнего опыта эксплуатации галерей известно, что резонансные колебания - редкое явление, и их появление не приводит к возникновению аварийной ситуации, реализующейся в относительно короткий срок.

В случае же возникновения резонансных колебаний в процессе эксплуатации галереи следует производить отстройку от резонанса с помощью специальных конструктивных мероприятий или установки гасителей.

3.17. Вес снегового покрова на покрытии учитывается в соответствии с указаниями СНиП 2.01.07-85 и СНиП 2.09.03-85.

Нормативное значение снеговой нагрузки на горизонтальную проекцию покрытия определяется с помощью коэффициента перехода от веса снегового покрова земли к снеговой нагрузке на покрытие, равного 0,8, который учитывает небольшую ширину галерей.

При расчете основных продольных несущих конструкций пролетного строения (ферм, балок, оболочек) коэффициент надежности по нагрузке следует принимать 1,4. При расчете конструкций покрытия коэффициент надежности по нагрузке должен приниматься равным 1,4 - 1,6 в зависимости от отношения нормативного значения веса покрытия к нормативному значению снеговой нагрузки.

При определении усилий в основных продольных элементах консольных пролетных строений снеговую нагрузку на консоли, оказывающую разгружающее воздействие, учитывать не следует.

3.18. Определение ветровой нагрузки на галереи производится в соответствии со СНиП 2.01.07-85 и СНиП 2.09.03-85.

Воздействие возможного ветрового резонанса для галерей с круглым поперечным сечением допускается не учитывать в расчете.

3.19. Вес отложений пыли определяется на основании опытных данных для конкретной площадки строительства и указывается в задании на проектирование в соответствии с ведомственными нормами.

В случае отсутствия конкретных указаний рекомендуется для производств со средним уровнем выделения пыли принимать вес пыли равным 500 Па.

3.20. Нагрузки на опоры галерей определяются в зависимости от типа опор.

Нагрузки на шарнирные (плоские) опоры состоят из вертикального опорного давления, передающегося на опору с пролетного строения (при учете всех видов его нагружения), и горизонтальной ветровой нагрузки, передающейся на опору с пролетного строения, а также воспринимаемой самой опорой.

На неподвижные (пространственные) опоры принимаются те же воздействия, а также продольные технологические нагрузки, собранные с температурного блока пролетного строения и направленные вдоль оси галереи.

4. РАСЧЕТ СТРОИТЕЛЬНЫХ МЕТАЛЛОКОНСТРУКЦИЙ ГАЛЕРЕЙ

Общие положения

4.1. При проектировании галерей выполняются расчеты пролетных строений, опор и фундаментов. Все пролетные строения, различные по конструктивным решениям и типам поперечных сечений, работают по балочной схеме.

Расчеты различных типов пролетных строений имеют общие принципы, характерные для балочных конструкций, и специфические особенности, характерные для работы конструкций каждого типа. В этой главе даны основные положения расчета отдельно, для каждого типа пролетных строений с несущими конструкциями в виде ферм, сварных двутавровых балок, в том числе - с гибкими стенками, ребристых оболочек прямоугольного сечения и круглых цилиндрических оболочек.

4.2. Основные положения расчета пролетных строений соответствуют традиционным методам практики проектирования, опирающейся на возможность членения пролетного строения на отдельные плоские системы и элементы, определение усилий и перемещений в которых может быть проведено независимо и последовательно.

Расчеты галерей целесообразно выполнять по специализированным алгоритмам и программам на ЭВМ. При выполнении расчетов необходимо учитывать коэффициент надежности по назначению, равный 0,95, установленный Правилами учета степени ответственности зданий и сооружений при проектировании конструкций.

4.3. Для рассматриваемых типов пролетных строений расчеты на прочность, устойчивость, деформативность и динамические воздействия аналогичны по структуре и последовательности и состоят из следующих этапов:

сбор местных нагрузок на элементы покрытия и перекрытия и определение расчетных схем;

расчет элементов покрытия и перекрытия на местные нагрузки, подбор сечений элементов по условиям прочности, устойчивости и деформативности;

определение нагрузок на несущие конструкции пролетных строений;

расчет несущих конструкций пролетных строений и подбор их сечений по условиям прочности, устойчивости и деформативности;

определение наименьших частот свободных колебаний пролетных строений по плоской или пространственной схеме; определение низшей частоты колебаний балок перекрытия;

определение частот динамического возмущения галерей при скоростях лент конвейеров v ³ 1 м/с;

сопоставление частот свободных колебаний и возмущения для определения возможности появления резонансного режима колебаний;

расчет узлов и соединений пролетного строения;

определение нагрузок на опоры и расчет опор;

определение нагрузок на фундаменты.

4.4. Анализ результатов проверки выносливости продольных конструкций и балок перекрытия пролетных строений, выполненной по указаниям гл. 9 СНиП II-23-81*, показал, что в связи с относительно незначительной величиной динамических добавок коэффициент асимметрии цикла даже в условиях резонансных колебаний близок к единице.

Вследствие этого расчет на выносливость не является определяющим при подборе сечения элементов пролетного строения и может не производиться.

При необходимости уточнения влияния динамических добавок их величины могут быть определены в соответствии с прил. 3.

Расчет пролетных строений с несущими конструкциями из ферм

4.5. Стальные конструкции пролетных строений этого типа при расчете расчленяются на плоские системы:

две вертикальные плоские фермы, воспринимающие всю нагрузку в пролете и передающие ее на опоры;

система связей и поперечных балок покрытия;

система связей и балок перекрытия, несущих основные технологические нагрузки.

4.6. В пролетных строениях с фермами расчету на прочность, устойчивость и деформативность в зависимости от характера их работы подлежат следующие элементы в указанной ниже последовательности:

поперечные балки покрытия - на вертикальные нагрузки от массы снега, пыли, строительных конструкций, промышленных проводок и технологического оборудования (последнее - только в случае подвесных конвейеров), а также на воздействие продольных нагрузок и скатных составляющих с учетом эксцентриситета их приложения по отношению к осям балок;

поперечные балки перекрытия - на вертикальные нагрузки от массы строительных и технологических нагрузок, а также на продольные технологические нагрузки и скатные составляющие с учетом их эксцентриситетов;

вертикальные фермы - на узловые нагрузки, передаваемые на них балками и связями покрытия и перекрытия;

связевые системы по покрытию и перекрытию - на восприятие ветровых нагрузок, а также на продольные технологические нагрузки (для покрытия - только при подвесных конвейерах) и скатные составляющие в зависимости от наличия и схемы расположения тяжей;

тяжи (при их наличии) связевых систем - на передаваемые на них с поперечных балок продольные усилия от технологического оборудования и скатных составляющих;

опорные рамы пролетных строений, состоящие из крайних балок покрытия и опорных стоек и обеспечивающие геометрическую неизменяемость и поперечную жесткость пролетного строения, - на восприятие ветровой нагрузки;

опорные узлы ферм - на восприятие и передачу реакций с пролетного строения на подвижные и неподвижные опоры, причем для последних - также на дополнительные узловые моменты за счет эксцентричной передачи продольных усилий.

Расчет пролетных строений с несущими конструкциями из сварных двутавровых балок

4.7. Расчет пролетных строений галерей с несущими конструкциями из сварных двутавровых балок выполняется в соответствии со СНиП II-23-81*

4.8. Применение балок с гибкой стенкой в соответствии с п. 18.2 СНиП II-23-81* разрешается при действии на них статической нагрузки. Учитывая, что динамические воздействия от ленточных конвейеров общего назначения невелики, балки с гибкой стенкой могут быть допущены к применению в качестве основных несущих конструкций пролетных строений.

4.9. Для повышения надежности балок с гибкой стенкой, в отличие от СНиП, предельное состояние расчетных поперечных сечений балки определяется фибровой текучестью верхней кромки стенки в сжатой зоне. Такое предельное состояние обеспечивает надежность работы балки в условиях динамических воздействий.

В связи с этим методика расчета, приведенная в пп. 4.11 - 4.20, несколько усложнена по сравнению со СНиП II-23-81*.

4.10. Применение в качестве несущих конструкций пролетных строений балок с гибкой стенкой при возможности появления резонансных колебаний, определяемых по прил. 3, не допускается.

4.11. В качестве несущих конструкций пролетных строений галерей допускается применение стальных разрезных балок симметричного двутаврового сечения с условной гибкостью стенки 6 £  £ 13. Допускается применять стали с пределом текучести до 430 МПа.

Условная гибкость стенки

                                                                                              (3)

где t, h - толщина и высота стенки балки; Rу - расчетное сопротивление стали по пределу текучести; Е - модуль упругости стали.

4.12. Пролетное строение рассчитывается на горизонтальные (продольную и поперечную) и вертикальную нагрузки.

Горизонтальная поперечная нагрузка воспринимается верхней и нижней горизонтальными связевыми фермами, которые образованы поясами балок и соединительными решетками.

Предельное допустимое напряжение sи в сжатом поясе, обусловленное изгибом балки в плоскости стенки, устанавливается из условия обеспечения устойчивости внецентренно сжатого стержня таврового сечения, состоящего из пояса и примыкающего к нему участка стенки высотой  

                                                                                   (4)

где sс - напряжение в сжатом поясе балки, обусловленное действием горизонтальных продольных и поперечных нагрузок и определяемое в результате расчета горизонтальной связевой фермы; gс - коэффициент условий работы; jy - коэффициент продольного изгиба стержня в направлении, параллельном полке балки.

Коэффициент с следует определять в соответствии с п. 5.31 СНиП II-23-81* по формуле

                                                                                        (5)

где bо = 1, если ly £ lс, и  если ly > lс,

где ly - гибкость стержня из плоскости стенки;  - граничное значение гибкости ly; jс - значение коэффициента jy при ly =lс.

За расчетную длину стержня при вычислении гибкости принимается расстояние между смежными узлами решетки.

Относительный эксцентриситет тx, вычисляется по формуле

,                                                                                               (6)

где y1 и y2 - расстояние от нейтральной оси таврового сечения до крайних волокон; yс - коэффициент, вычисляемый по формуле

                                                                                       (7)

Коэффициент y определяется с помощью формул:

                                                                                (8)

                                                          (9)

                                                                               (10)

где Аf - площадь сечения полки балки.

Коэффициент yо, входящий в определяющее неравенство,

                                                                                             (11)

4.13. Прочность балок пролетного строения при изгибе в плоскости стенки проверяется в соответствии с п. 18.2 СНиП II-23-81* по формуле

(М/Ми)4 + (Q/Qu)4 £ 1,                                                                                  (12)

где М и Q - значения изгибающего момента и поперечной силы в рассматриваемом сечении, определяемые в результате статического расчета балки; Ми, Qu - предельные значения момента и поперечной силы, воспринимаемые балкой при изгибе в плоскости стенки.

Предельное значение изгибающего момента определяется формулой

                                     (13)

соответствующей закритической стадии работы стенки в упругой области.

Предельное значение поперечной силы

                                                             (14)

где Rs - расчетное сопротивление стали сдвигу; tc, m - критическое касательное напряжение и отношение размеров отсека стенки, определяемые в соответствии с п. 7.4 СНиП II-23-81*; b - коэффициент, вычисляемый по формулам: при а £ 0,03 b = 0,05 + 5а ³ 0,15; при 0,03 < а £ 0,1 b = 0,11 + 3а £ 0,40.

Здесь а = 8Wmin(h2 + а2)/(th2а2),

где Wmin - минимальный момент сопротивления таврового сечения, состоящего из сжатого пояса балки и примыкающего к нему участка стенки высотой  (относительно собственной оси тавра, параллельной поясу балки); а - шаг ребер жесткости.

4.14. Жесткостные характеристики соединительной решетки должны обеспечивать общую устойчивость балки. Площадь поперечного сечения раскоса Аd должна удовлетворять условию

                                                                                                (15)

где If - момент инерции полки балки в своей плоскости, l - длина раскоса, d -длина проекции раскоса на ось галереи, b -расстояние между осями балок

4.15. Поперечные ребра жесткости, сечения которых следует принимать не менее указанных в п 7.10 СНиП II-23-81*, должны быть рассчитаны на устойчивость как стержни, сжатые силой N, определяемой по формуле

                                                                             (16)

где все обозначения приняты по п. 4.13.

Значение N следует принимать не менее сосредоточенной нагрузки, расположенной над ребром.

Расчетную длину стержня следует принимать равной lef = h(1 ‑ b), но не менее 0,7h.

Симметричное двухстороннее ребро следует рассчитывать на центральное сжатие, одностороннее - на внецентренное сжатие с эксцентриситетом, равным расстоянию от оси стенки до центра тяжести расчетного сечения стержня.

В расчетное сечение стержня следует включать сечение ребра жесткости и полосы стенки шириной  с каждой стороны ребра.

4.16. Участок стенки балки пролетного строения над опорой следует укреплять двухсторонним опорным ребром жесткости, которое конструктивно представляет собой стойку опорной рамы, обеспечивающей пространственную жесткость блока пролетного строения.

На расстоянии не более  от опорного ребра следует устанавливать дополнительное двухстороннее ребро жесткости размером согласно п. 4.15. Дополнительное ребро жесткости и промежуточные (пролетные) ребра жесткости должны быть приварены к верхнему поясу.

4.17. При определении прогиба балок момент инерции поперечного сечения брутто балки следует уменьшать умножением на коэффициент

4.18. Отношение ширины свеса сжатого пояса к его толщине должно быть не более .

4.19. В целях упрощения расчета взамен формулы (13) для определения предельного значения изгибающего момента Mu может быть применена более простая методика, приведенная в п. 182 СНиП II-23-81*, с введением коэффициента 0,9

                                                              (17)

4.20. В целях дальнейшего снижения расхода стали балки с гибкой стенкой, возможно, проектировать несимметричного двутаврового сечения с облегченным нижним поясом Расчет в этом случае должен выполняться по специально разработанной методике.

Расчет пролетных строений с несущими конструкциями из ребристых оболочек прямоугольного сечения

4.21. Расчетной схемой для пролетных строений в виде протяженной ребристой оболочки прямоугольного поперечного сечения является однопролетная коробчатая балка, обшивка которой совмещает несущие и ограждающие функции.

По периметру поперечное сечение обшивки балки набирается из С-образных профилей, чередующихся с тонкими плоскими листами. В стенах коробки предусмотрены подкрепленные вырезы под оконные проемы Расчетная схема шпангоута представлена на рис 10.

Рис. 10. Схема нагрузок на поперечную раму шпангоута

4.22. Расчет общей прочности пролетного строения как изгибаемого стержня, нагруженного поперечной нагрузкой и внецентренными продольными усилиями, состоит в определении изгибающих моментов, поперечных и продольных сил в его расчетных сечениях и в проверке прочности по главным, нормальным и касательным напряжениям в соответствии со СНиП II-23-81*.

Характеристики жесткости расчетных поперечных сечений коробчатой балки пролетного строения - площади и моменты инерции - определяются с учетом неполного включения в работу на изгиб обшивки путем введения в характеристики жесткости обшивки редукционных коэффициентов ji < 1, переменных по высоте балки. Определение их величин производится по графику рис 11 [5] или по более точным данным прил. 4.

Рис. 11. График для определения редукционных коэффициентов пластин

Редукционные коэффициенты приведены в прил. 4 для ряда значений относительной начальной погиби  (где со - допустимая погибь по СНиП III-18-75, t - толщина обшивки) и поперечных нагрузок q - фактической на покрытие и условной q = 1,5 кПа на перекрытие - в зависимости от отношения продольных напряжений в стрингерах sр к критическому Эйлерову напряжению шарнирно опертых по контуру прямоугольных листов обшивки scrn = sр/scr э.

По опыту изготовления прямоугольных оболочек, как правило, величина

Рекомендуемое значение величины п принимается для сжатой зоны не более 4, для растянутой зоны ограничений не имеет.

4.23. Расчет прочности стрингеров при действии местной поперечной нагрузки заключается в определении изгибающих моментов и поперечных сил, возникающих в ребре от нагрузки, собранной с прилегающей к нему грузовой площади обшивки. Эти усилия допускается определять в стрингерах как в разрезных или неразрезных балках на жестких или упругих опорах в зависимости от крепления стрингеров на поперечных ребрах и соотношения жесткостей ребер обоих направлений. При расчете на местную нагрузку в сечение стрингера вводится примыкающий к ребру участок обшивки шириной b1. Эта ширина определяется величиной редукционного коэффициента, которая уточняется при расчете коробчатой балки пролетного строения.

Ориентировочные значения редукционных коэффициентов составляют:

в сжатой зоне jс = 0,55 - 0,6;

в растянутой зоне jp = 0,85 - 0,9.

Проверку прочности стрингеров следует выполнять в соответствии со СНиП II-23-81* на суммарные напряжения от местного изгиба и продольные напряжения, возникающие при их работе в составе коробчатой балки пролетного строения.

4.24. Поперечные рамы шпангоутов допускается рассчитывать путем расчленения рамы на отдельные шарнирно опертые элементы с учетом горизонтального опирания рамы на диски покрытия и перекрытия. Передающиеся на шпангоут сосредоточенные опорные реакции от стрингеров допускается заменять распределенной нагрузкой.

Опорные П-образные рамы пролетного строения рассчитываются с учетом жесткого соединения стоек с ригелем.

При расчете с использованием ЭВМ рама шпангоута рассчитывается на местную нагрузку как замкнутая стержневая конструкция, поддерживаемая распределенной опорной реакцией обшивки стен при вертикальном нагружении и покрытия и перекрытия - при горизонтальном. При этом необходимо учесть эксцентриситеты крепления обшивки к шпангоуту.

4.25. Проверки устойчивости должны быть выполнены для следующих элементов пролетного строения:

сжатой пластины всего покрытия, подкрепленной ребрами двух направлений (рис. 12);

Рис. 12. Схема покрытия галереи и напряжения в нем

секции ребристой пластины покрытия между верхними ригелями шпангоутов (рис. 13);

Рис. 13. Схема стрингерного отсека покрытия и напряжения в нем

стрингеров в сжатой зоне пролетного строения и стоек опорных рам порталов;

сжатого листа обшивки между стрингерами (рис. 14);

Рис. 14. Схема листа обшивки покрытия и напряжения в нем

секции стенки коробчатой балки пролетного строения в условиях комбинированного воздействия неравномерного по высоте сжатия и сдвига (рис. 15).

Рис. 15. Схема отсека стенки с проемом

Для последних двух элементов пролетных строений допускается их закритическая работа.

Ограничения по местной устойчивости для элементов коробчатых балок являются определяющими - от них зависят основные конструктивные решения, поиск оптимальных соотношений размеров, металлоемкость и экономичность пролетных строений галерей.

4.26. Проверку устойчивости всего покрытия галереи и отсека между шпангоутами допускается производить по упрощенной расчетной схеме:

обшивка имеет одинаковую толщину t по всему покрытию;

покрытие равномерно сжато по длине L и ширине b напряжениями, равными максимальным напряжениям сжатия в нем при изгибе пролетного строения с учетом дополнительного сжатия обшивки от местного нагружения;

покрытие шарнирно оперто по контуру;

стрингеры имеют одинаковую изгибную жесткость и отстоят друг от друга и от краев покрытия на равных расстояниях.

Покрытие в галереях, как правило, не удовлетворяет перечисленным упрощениям идеализированной расчетной схемы. Для возможности его использования при расчете реальной конструкции по ширине покрытия производится осреднение толщины обшивки и расстояний между стрингерами.

4.27. Устойчивость пластины покрытия обеспечена, если удовлетворено условие

scr(1) ³ sр,                                                                                                      (18)

где scr(1) - критическое напряжение в покрытии; sр - действующее напряжение в ребрах покрытия.

                                                         (19)

где  - цилиндрическая жесткость обшивки;

tпр = t(1 + k1d), d = A1/bt;                                                                             (20)

A1 - площадь поперечного сечения продольного ребра без учета присоединенного участка обшивки;

                                                         (21)

где I1 - момент инерции сечения продольного ребра без учета присоединенного участка обшивки относительно нейтральной оси ребра, определяемой с учетом присоединенного участка обшивки, площадь сечения которого вводится с коэффициентом редукции обшивки j; I2 - момент инерции сечения верхнего ригеля шпангоута относительно собственной оси; ki(i = 1, 2) - количество продольных и поперечных ребер (без учета стрингеров, расположенных над стенами, и крайних шпангоутов).

Устойчивость стрингерного отсека покрытия обеспечена при выполнении условия

scr(2) ³ sр,                                                                                                      (22)

где scr(2) - критическое напряжение в ребристой прямоугольной пластине стрингерного отсека (между шпангоутами);

                                                              (23)

где а = l/b; l - шаг шпангоутов.

Устойчивость стрингеров при воздействии осевой силы с изгибом должна быть проверена также по СНиП II-23-81*. Предельная гибкость продольных ребер как внецентренно сжатых стержней определяется по формуле

                                                                                                    (24)

Фактическая гибкость стрингера как стержня, шарнирно опертого на верхний ригель шпангоута, должна быть меньше предельной гибкости lcr.

4.28. Степень участия панелей обшивки в работе на изгиб различна для сжатой и растянутой зон пролетного строения. Это находит свое выражение в различии величины редукционных коэффициентов, вводимых при расчете эффективной площади сечения листов обшивки в этих зонах. Превышение действующими в обшивке напряжениями их критических значений по-разному влияет на участие обшивки в работе при сжатии и растяжении. По мере развития закритических деформаций в сжатой обшивке редукционные коэффициенты уменьшаются и все большая часть ее выключается из работы. В растянутой зоне увеличение напряжений сопровождается их выравниванием. Это приводит к возрастанию редукционных коэффициентов и увеличению степени участия растянутой обшивки в работе.

Поскольку напряжения sр в стрингерах зависят от характеристик жесткости пролетного строения, на величины которых, как указано ранее, влияют редукционные коэффициенты обшивки ji, определение напряжений и редукционных коэффициентов осуществляется методом последовательных приближений. Два-три шага приводят к результатам приемлемой для инженерных расчетов точности. Критерием этого является совпадение значений редукционных коэффициентов двух последовательных шагов, вычисленных с точностью до 10 %. Для ускорения сходимости рекомендуется принимать начальные значения редукционных коэффициентов jо в соответствии с указаниями п. 4.23.

В предварительных расчетах при компоновке пролетного строения с распределением материала между несущими элементами коробчатой балки - ребрами обоих направлений, обшивкой, покрытием, перекрытием и стенами, - как правило, достаточно первого приближения.

4.29. Проверка устойчивости стенок балки пролетного строения производится в соответствии с теоретической основой разд. 7 СНиП II-23-81*.

Проверке подлежат крайний, средний и один из промежуточных отсеков стенки между шпангоутами при загружении их нормальными и касательными напряжениями изгиба. Определение критически нормальных и касательных напряжений и проверки устойчивости выполняются для участков стенки, расположенных между стрингерами по формулам разд. 7 СНиП II-23-81*, откорректированным с учетом разбиения обшивки стенки по ее высоте на отдельные прямоугольные отсеки горизонтальными ребрами.

Допустима закритическая работа обшивки на верхнем участке стенки при соотношении действующих напряжений к критическим n £ 2.

4.30. Влияние ослабления оконным проемом отсека стенки при проверке его устойчивости допускается не учитывать, если суммарная площадь поперечного сечения верхнего и нижнего ребер, окаймляющих проем, компенсирует ослабление (см. рис. 15). Крайние отсеки стенки пролетного строения рекомендуется не ослаблять оконными проемами.

Высота проема не должна превышать 0,2H, где H - высота стенки галереи. Проем желательно располагать на минимально возможном расстоянии от нейтральной оси балки пролетного строения.

4.31. Определение прогиба пролетного строения, а также балок покрытия и перекрытия производится в соответствии с указаниями табл. 40 разд. 13 СНиП II-23-81*. При этом момент инерции коробчатой балки пролетного строения определяется с учетом редуцирования площади сечения обшивки. Расчет выполняется по нормативным нагрузкам.

Расчет пролетных строений с несущими конструкциям из круглых цилиндрических оболочек

4.32. Пролетные строения галерей из цилиндрических оболочек выполняются по схеме разрезной балки с консолями или без консолей.

4.33. Расчет пролетных строений с несущими конструкциями из круглых цилиндрических оболочек выполняется в соответствии со СНиП II-23-81*.

4.34. Поперечные ветровые нагрузки при расчете цилиндрических пролетных строений, как правило, из-за малости их влияния на напряженное состояние не учитываются.

4.35. При расчете на прочность пролетное строение, подкрепленное шпангоутами, рассматривается как стержень кольцевого поперечного сечения (рис. 16), изгибаемый и внецентренно сжатый в одной из главных плоскостей. Напряжения определяются по формулам:

                                                                   (25)

 

где r - радиус срединной поверхности оболочки; уo - координата геометрического центра сечения (центра окружности); t - толщина оболочки, соответствующая угловой координате.

В выражении для касательных напряжений для упрощения расчета не учитывается влияние несовпадения центра тяжести и центра окружности для несимметричных сечений на величины осевого момента инерции и статического момента.

Рис. 16. Поперечное сечение несущей оболочки галереи

4.36. Расчет местной устойчивости пролетного строения производится как замкнутой круговой цилиндрической оболочки. Расчетными сечениями при проверке устойчивости являются:

сечение в пролете с наибольшим изгибающим моментом и наибольшими нормальными напряжениями;

сечение на опоре с наибольшей поперечной силой и наибольшими касательными напряжениями и соответствующим изгибающим моментом и нормальными напряжениями в случае наличия консоли.

4.37. В пролете проверка на устойчивость выполняется по формуле

                                                                                (26)

где s1 - расчетное напряжение в оболочке; scr1 - критическое напряжение, равное меньшему из значений yRy или сЕt/r;                                                                                                      (27)

s¢I - наименьшее напряжение (растягивающие напряжения считать отрицательными).

Значения коэффициентов y при 0 < r/t £ 300 определяются по формуле

                                                                    (28)

Значения коэффициентов с следует определять по табл. 8.

Таблица 8

r/t

100

200

300

400

600

800

1000

1500

2500

с

0,22

0,18

0,16

0,14

0,11

0,09

0,08

0,07

0,06

4.38. На опоре проверка устойчивости оболочки производится раздельно для зоны наибольших нормальных напряжений и для зоны наибольших касательных напряжений.

4.39. В зоне наибольших нормальных напряжений проверка на устойчивость выполняется по формуле

                                                                                                     (29)

Все обозначения по пп. 4.35, 4.37.

4.40. В зоне наибольших касательных напряжений проверка на устойчивость выполняется по формуле 1

                                                                                                     (30)

где tI - наибольшее касательное напряжение в оболочке; tcrI - критическое напряжение, вычисляемое по формуле

                                                                                    (31)

где l - расстояние между шпангоутами.

Значение коэффициентов k следует определять по табл. 9.

Таблица 9

r/t

250

500

1000

1500

k

0,8

0,7

0,6

0,5

4.41. При совместном действии в сечении нормальных s и касательных t напряжений устойчивость оболочки проверяется по формуле

                                                                                            (32)

4.42. Прямоугольные проемы, расположенные в пролете галере в растянутой зоне оболочки симметрично относительно вертикальной оси поперечного сечения оболочки у, должны быть усилены про дельными ребрами - стрингерами.

Проверка прочности поперечного сечения с проемом (рис. 17) выполняется по формулам:

                                                                                     (33)

Проверка устойчивости оболочки в сечении с проемом выполняется по п. 4.37 настоящего Пособия.

Минимальная, площадь сечения ребра Ар = 0,25 bt.

Ребра усиления должны быть заведены за край проема в сторону ненарушенного сечения на расстояние, достаточное для прикрепления ребра к оболочке на усилие N = 0,25 AрRy.

Рис. 17. Поперечное сечение несущей оболочки галереи, ослабленной вырезом

1 - продольное ребро

4.43. Шпангоуты - кольцевые ребра - служат для передачи местных сосредоточенных и распределенных вдоль дуги нагрузок, в том числе - опорных реакций, на оболочку пролетного строения.

В общем случае расчетная схема шпангоута представляет собой кольцевую раму радиусом rk (рис. 18) с затяжкой, загруженную в своей плоскости активными силами Р и q и реактивными силами qo, заменяющими действие оболочки на шпангоут и представляющими собой поток касательных усилий.

Расчетные схемы промежуточных шпангоутов в зависимости от конструкции узла присоединения затяжки принимаются с жестко или шарнирно прикрепленной затяжкой (см. рис. 18).

Рис. 18. Конструктивная и расчетная схема промежуточного шпангоута

а - конструктивная и расчетная схема; б - расчетная схема; 1 - оболочка; 2 - шпангоут; 3 - поперечная балка-затяжка; 4 - монорельс

4.44. Конструктивные и расчетные схемы опорных шпангоутов показаны на рис. 19.

Рис. 19. Конструктивная и расчетная схема опорного шпангоута

4.45. Статический расчет кольцевых рам шпангоутов должен выполняться на ЭВМ.

При расчете на ЭВМ рама, очерченная по окружности rk, заменяется правильным многоугольником, вписанным в эту окружность. Достаточную точность расчета дает заменяющий многоугольник с центральным углом 6 - 10°. При этом необходимо обеспечить равновесие внешней нагрузки и реактивных касательных усилий.

В исключительных случаях при расчете кольцевых рам шпангоутов без использования ЭВМ следует руководствоваться соответствующими таблицами для расчета кольцевых рам.

4.46. При расположении опорных шпангоутов в вертикальной плоскости (при наклонных галереях) следует учесть в расчете их очертание по эллипсу.

4.47. Нормальные напряжения в шпангоутах определяются с учетом одновременного действия в рассматриваемом сечении изгибающего момента Мх и осевой силы N:

                                                                                               (34)

где Ix, A - собственный момент инерции и площадь поперечного сечения шпангоута с присоединенной оболочкой; y - расстояние от нейтральной оси шпангоута до наружной или внутренней кромки шпангоута.

Правило знаков: положительный момент увеличивает кривизну шпангоута.

В зависимости от принятого конструктивного решения шпангоут с присоединенным участком оболочки может образовывать одностенчатое или двухстенчатое сечение.

Ширина (общая) присоединенной части оболочки определяется по формуле

                                                                                         (35)

где b - расстояние между стенками двухстенчатого шпангоута; для одностенчатого шпангоута b = 0; t - толщина оболочки.

Наибольшие касательные напряжения в стенке (стенках) шпангоута

                                                                                     (36)

где ti - толщина стенки шпангоута (i = 1,2).

4.48. Поясные швы шпангоутов рассчитываются по правилам расчета поясных швов балок с учетом касательных усилий qo, действующих между шпангоутом и оболочкой.

5. КОНСТРУКТИВНЫЕ РЕШЕНИЯ ГАЛЕРЕЙ

5.1. Традиционными решениями несущих конструкций пролетных строений галерей на протяжении многих лет являлись фермы с сечениями из парных уголков.

Требования индустриализации строительства привели к необходимости создания пролетных строений более совершенных конструктивных форм, из которых в настоящее время получили распространение пролетные строения из сварных двутавровых балок, а также из круглых цилиндрических и прямоугольных оболочек.

Три группы компоновочных и конструктивных решений пролетных строений галерей, используемые в настоящее время, приведены в п. 2.3.

В зависимости от производственных возможностей завода-изготовителя, монтажной организации и условий строительства проектная организация производит выбор типа конструкций для конкретного объекта.

5.2. При разработке проекта галереи рекомендуется, в зависимости от типа несущих конструкций, следующая номенклатура величин пролетов, приведенная в табл. 10.

Таблица 10

Тип несущей конструкции

Пролет, м

18

24

30

36

42

48

Фермы

+

+

+

+

 

 

Балки

+

+

+

(+)

 

 

Прямоугольные оболочки

 

(+)

+

+

+

+

Круглые цилиндрические оболочки

 

(+)

+

+

+

+

Примечание. В скобках указаны величины пролетов, которые могут применяться в порядке исключения.

5.3. Марки стали для конструкций галерей принимаются, в соответствии со СНиП II-23-81* «Стальные конструкции» и Рекомендациями по применению сокращенного сортамента металлопроката в строительных стальных конструкциях (М.:ЦНИИПроектстальконструкция, 1987).

Пролетные строения с несущими конструкциями из ферм

5.4. К первой группе относятся пролетные строения с несущими конструкциями из ферм с параллельными поясами, имеющими горизонтальное сопряжение с опорой, независимо от продольного уклона галереи (рис. 20).

Рис 20. Узел сопряжения фермы с опорой

5.5. При конструировании галерей рекомендуется принимать разрезную схему пролетного строения.

5.6. Пролетное строение состоит из несущих ферм, поперечных балок покрытия и перекрытия, горизонтальных связей по нижним и верхним поясам ферм и опорных рам по торцам.

5.7. Минимальная высота ферм определяется в соответствии с указаниями п. 2.19.

5.8. Для ферм с пролетами не более 36 м их высота с учетом опорных узлов и узлов крепления балок перекрытия (в случае наличия выступающих фасонок) не должна превышать транспортного габарита.

5.9. В отдельных случаях допускается применение ферм для пролетов более 36 м. При этом фермы проектируются индивидуальными и, как правило, негабаритной высоты. Технологический габарит пролетного строения следует сохранять в соответствии с п. 2.19.

5.10. При проектировании отапливаемых пролетных строений фермы, преимущественно, располагаются снаружи.

При внутреннем расположении ферм нижние пояса и решетка должны находиться в одинаковых температурных условиях.

В обоих случаях следует принимать конструктивные решения, обеспечивающие удобство антикоррозионной защиты элементов ферм от атмосферных воздействий или мокрых способов уборки.

5.11. Для несущих ферм пролетных строений применяются разнообразные конструктивные решения, отличающиеся схемой решетки, типами сечений элементов и узловыми соединениями.

5.12. Традиционные решения ферм с сечениями элементов из парных уголков являются устаревшими, в наименьшей степени отвечающими требованиям экономичности, снижения трудоемкости изготовления и коррозионной стойкости.

При необходимости использовать прокатные уголки, в целях увеличения коррозионной стойкости, все элементы целесообразно проектировать крестового сечения.

5.13. Для поясов ферм вместо прокатных уголков возможно применение прокатного таврового сечения (при условии поставки его металлургическими заводами).

5.14. В наибольшей степени современным требованиям отвечают фермы с сечениями элементов из замкнутых гнутосварных профилей. При этом возможно применение этих профилей также и для других элементов пролетного строения (балки перекрытия, покрытия, элемент связей). Однако область применения конструктивных элементов и гнутосварных профилей в настоящее время ограничена из-за отсутствия соответствующего сортамента.

5.15. При значительных усилиях в поясах ферм рационально использовать сечения из прокатных двутавров с параллельными гранями полок, расположенных вертикально или горизонтально.

5.16. При применении для поясов ферм вертикально расположенных двутавров сечения элементов решетки могут выполняться из замкнутых гнутосварных профилей (рис. 21, а), примыкающих непосредственно к полке двутавра, или прокатных уголков крестового сечения с узловыми фасонками (рис. 21, б, см. с. 37).

Рис. 21. Узел фермы с поясами и вертикально расположенных двутавров

5.17. При применении для поясов ферм горизонтально расположенных двутавров раскосы выполняются из одиночных прокатных уголков или предварительно напряженных полос высокопрочной стали, стойки из замкнутых гнутосварных профилей. Примыкание элементов решетки к поясам бесфасоночное (рис. 22).

Рис. 22. Узел фермы с поясами из горизонтально расположенных двутавров с бесфасоночным примыканием элементов решетки с раскосами

а - из одиночных уголков; б - из предварительно напряженных полос

Фермы с поясами из горизонтально расположенных двутавров имеют лучшие технико-экономические показатели по сравнению с фермами из вертикально расположенных двутавров, однако их применение снаружи пролетного строения требует дополнительных мероприятий для защиты поясов ферм от коррозии

5.18. Для всех типов ферм, приведенных в пп 5.11 - 5.17, рационально применение треугольной решетки.

Для ферм с поясами из горизонтально расположенных двутавров применяется только раскосная решетка (растянутые раскосы и сжатые стойки).

5.19. Для многопролетных галерей необходимо обеспечить непрерывную передачу продольных сил от технологических нагрузок в уровне нижних поясов ферм на неподвижную опору с помощью специальных деталей, устанавливаемых на монтаже (рис. 23).

Рис. 23. Узел соединения фермы с неподвижной опорой

5.20. При конструировании узлов ферм, устанавливаемых на неподвижные опоры, необходимо учитывать изгибающий момент, возникающий от эксцентриситета продольных сил (по п. 5.19) относительно верха неподвижной опоры.

Так, например, для восприятия указанного изгибающего момента в фермах из парных уголков или тавров используются конструктивные мероприятия в виде установки дополнительного жесткого элемента вдоль опорной панели нижнего пояса (вертикально расположенный двутавр или швеллер).

5.21. Балки покрытия и перекрытия, имеющие, как правило, сечение из прокатных двутавров, крепятся шарнирно к несущим фермам в уровне верхних и нижних поясов и имеют шаг 3 или 6 м в зависимости от типа ограждающих конструкций.

5.22. В галереях с наклоном св. 5° необходимо обеспечить восприятие скатной составляющей вертикальных нагрузок либо верхними поясами балок, либо установкой продольных тяжей, уменьшающих пролеты балок в плоскости покрытия и перекрытия с передачей этих усилий на пояса ферм (рис. 24).

5.23. Передача усилий от тяжей на верхние пояса ферм обычно происходит с эксцентриситетом. Для восприятия возникающего изгибающего момента в этом случае необходимо в верхней по уклону панели каждого пролетного строения выполнить конструктивные мероприятия, аналогичные п. 5.19 (см рис. 24).

Рис. 24. Узлы элементов покрытия

5.24. Пространственная жесткость пролетного строения обеспечивается горизонтальными связями по верхним и нижним поясам ферм и опорными рамами, имеющими жесткое соединение ригеля с опорными стойками несущих ферм (см. рис. 24).

5.25. В зависимости от типа ограждающих конструкций кровли балки покрытия пролетного строения могут быть прямолинейными или двускатными.

Пролетные строения с несущими конструкциями из сварных двутавровых балок

5.26. Ко второй группе относятся пролетные строения с несущими конструкциями из сварных двутавровых балок, преимущественно с гибкими стенками, совмещающих несущие и ограждающие функции.

5.27. При конструировании галерей с несущими конструкциями из сварных двутавровых балок может приниматься как разрезная, так и неразрезная схема пролетного строения, при использовании балок с гибкими стенками рекомендуется принимать разрезную схему пролетного строения.

5.28. Конструкция пролетного строения образуется двумя продольными несущими балками, поперечными балками по нижним и верхним поясам, горизонтальными связями по верхним поясам продольных балок и опорными рамами по торцам. Покрытие выполняется плоским из профилированного настила, перекрытие, как правило, - из металлического листа, усиленного приваренными ребрами (рис. 25).

Рис. 25. Узлы сопряжения балок покрытия и перекрытия с продольной балкой

По предварительному согласованию с заводами-изготовителями, в зависимости от мощности гибочного оборудования, возможно, отказаться от поперечных балок с металлическим настилом, заменив их металлическими щитами с отгибами швеллерного типа. Щиты укладываются поперек пролетного строения. Несущая способность щитов обеспечивается отгибами и приваркой поперечных ребер. Возможно также устройство металлического перекрытия по второстепенным продольным балкам, которые устанавливаются под опорами конвейера и этажно крепятся к поперечным балкам.

При соответствующем обосновании возможна конструкция перекрытия из железобетонных плит; в этом случае необходимы дополнительно горизонтальные связи по нижним поясам продольных балок.

5.29. Минимальная высота балок определяется в соответствии с указаниями п. 2.19.

5.30. Участок стенки балки в месте опирания следует укреплять двухсторонними ребрами, фактически являющимися стойками опорной рамы, обеспечивающей пространственную жесткость пролетного строения.

5.31. Ребра жесткости в пролете балки должны быть приварены к верхнему поясу.

5.32. Для естественного освещения и аэрации в стенке балки устраиваются окна-иллюминаторы в виде патрубков с установленными внутри поворотными форточками. Вырезы для патрубков выполняются круглыми, с соответствующим усилением, компенсирующим вырезанное сечение стенки.

В целях упрощения изготовления балок с гибкими стенками естественное освещение пролетного строения можно выполнять путем установки специальных зенитных фонарей на кровле, а не с помощью оконных проемов.

5.33. Сварные двутавровые балки поставляются на монтаж двенадцатиметровыми секциями. Укрупнительный стык балок выполняется на высокопрочных болтах или на сварке.

Пролетные строения с несущими конструкциями из оболочек прямоугольного сечения

5.34. Пролетные строения из оболочек прямоугольного сечения, совмещающих несущие и ограждающие, функции, являются новой конструктивной формой, которая в наибольшей степени обеспечивает возможность комплектной поставки конструкций совместно с теплоизоляцией (рис. 26).

Рис. 26. Поперечное сечение пролетного строения из прямоугольной оболочки с плоскими стеновыми панелями

Галереи такого типа начали внедряться в практику строительства только в последние годы, в связи, с чем возможно дальнейшее их совершенствование на основании обобщения опыта строительства и эксплуатации.

5.35. При проектировании пролетных строений с несущими конструкциями из оболочек прямоугольного сечения принимается разрезная схема. Размеры и форма поперечного сечения пролетного строения этого типа максимально приближены к технологическому габариту.

5.36. Оболочка, совмещающая несущие и ограждающие функции, состоит из обшивки, поперечных рам - шпангоутов, расположенных с шагом 3 м, образованных балками покрытия, перекрытия и стойками стен, и продольных ребер - стрингеров (см. рис. 26).

5.37. Обшивка представляет собой плоские панели, состоящие из набора чередующихся между собой плоских листов и гнутых С-образных профилей, отгибы которых являются продольными ребрами - стрингерами. Длина панели принимается равной 12 м, ширина не должна превышать транспортный габарит.

5.38. Конструкция из оболочек прямоугольного сечения позволяет устанавливать пролетное строение в проектное положение как в полностью собранном на земле виде, так и поэлементно, в зависимости от грузоподъемных механизмов, имеющихся на строительной площадке. Одним из компоновочных решений пролетного строения, допускающего поэлементную сборку, является использование вместо плоской панели стеновой панели швеллерного сечения, включающей участки оболочки покрытия и перекрытия (рис. 27).

Рис. 27. Поперечное сечение пролетного строения из прямоугольной оболочки со стеновыми панелями швеллерного сечения

5.39. С-образный профиль, поставляемый металлургической промышленностью, принимается, как правило, по ГОСТ 8282-83 в соответствии с Рекомендациями (см. п. 5.3) и имеет размеры 400´160´50´3 и 400´160´60´4.

5.40. При использовании в панелях гнутого С-образного профиля по п. 5.39 необходимая площадь поперечного сечения обшивки в соответствии с напряженно-деформированным состоянием оболочки обеспечивается за счет варьирования ширины и толщины плоских листов. Отношение ширины листа к его толщине не должно превышать 120 в сжатой зоне и 180 - в растянутой. При этом толщина листа должна приниматься не менее 4 мм, исходя из соображений существующей технологии изготовления и монтажа конструкций.

5.41. Перспективным решением для значительного сокращения объема сварки в панелях покрытия является применение специального типа профилированного настила (в настоящее время отсутствует), а для снижения расхода металла - применение листа толщиной 3 мм при условии совершенствования технологии изготовления и монтажа и соответствующем расчетном обосновании.

5.42. Элементы шпангоута расположены по-разному по отношению к обшивке балки покрытия - внутри пролетного строения, стойки стен и балки перекрытия - снаружи.

5.43. В целях уменьшения количества стыков, влияющего на трудоемкость изготовления и монтажа и надежность конструкции пролетного строения, а также в целях лучшего использования транспортных средств, балки покрытия и перекрытия из прокатного двутавра при изготовлении и транспортировке отделены от обшивки и поставляются на площадку строительства проектной длины. При укрупнительной сборке пролетного строения балки покрытия и перекрытия соединяются с панелями обшивки с помощью сварки.

5.44. При сборке пространственных секций длиной 12 м продольные и укрупнительные стыки панелей обшивки выполняются аналогично заводским - односторонним сплошным швом автоматической сваркой с полным проваром.

5.45. Пролетные строения с одним конвейером с шириной ленты до 1000 мм, поперечные сечения которых являются габаритными для транспортировки, необходимо поставлять на площадку строительства в полностью собранном виде секциями длиной 12 м.

5.46. Поперечный сварной укрупнительный стык отдельных секций пролетного строения длиной 12 м выполняется на накладках, paвнопрочных основному сечению. При этом отгибы С-образных профилей стыкуются с помощью приварки накладок швеллерного профиля.

При наличии соответствующих производственных условий, особенно при изготовлении конструкций, в перспективе целесообразно произвести замену сварного стыка отдельных секций пролетного строения на болтовой.

5.47. В торцах пролетного строения устанавливаются опорные рамы, перпендикулярные продольной оси галереи. При этом опирание пролетного строения на нижележащие конструкции осуществляется через горизонтальные плоскости (рис. 28, б).

5.48. В шпангоутах узлы соединения балок покрытия и перекрытия со стойками стен должны обеспечить передачу вертикальных опорных реакций (рис. 29).

5.49. В опорных П-образных рамах узлы соединения балок покрытия со стойками должны быть жесткими, обеспечивать геометрическую неизменяемость поперечного сечения пролетного строения и передачу горизонтальных ветровых нагрузок с пролетного строения на опоры (см. рис. 28, а).

5.50. Все элементы шпангоутов и опорных рам выполняются, как правило, двутаврового сечения.

5.51. Опирание стоек конвейера на пол производится через специальные подставки. Оболочка пола в местах расположения подставок укрепляется с помощью ребер (рис. 30).

Рис. 28. Узлы опорной рамы

а - верхний узел; б - нижний узел

Рис. 29. Узлы шпангоута

а - верхний узел; б - нижний узел

Рис. 30. Узлы опирания стоек конвейера

5.52. Оконные проемы в пролетных строениях следует располагать через шаг шпангоутов. Не рекомендуется делать оконные проемы в шагах шпангоутов, примыкающих к опоре.

Пролетные строения с несущими конструкциями из круглых цилиндрических оболочек

5.53. Пролетные строения с несущими конструкциями из круглых цилиндрических оболочек рационально применять, как правило, только при поперечных сечениях, габаритных для транспортировки в собранном виде, что предопределяет размещение в них одного конвейера с ограниченной шириной ленты.

5.54. При соответствующем обосновании и по согласованию с монтажной организацией в отдельных случаях возможно применение пролетных строений с несущими конструкциями из круглых цилиндрических оболочек, негабаритных для транспортировки и поставляемых на площадку строительства в виде рулонных заготовок.

В связи с малой эффективностью данного решения круглые цилиндрические оболочки, негабаритные для транспортировки, в настоящем Пособии не рассматриваются.

5.55. Пролетные строения с несущими конструкциями из круглых цилиндрических оболочек следует проектировать разрезными.

5.56. Оболочка, совмещающая несущие и ограждающие функции, состоит из обшивки и поперечных кольцевых ребер - шпангоутов.

К шпангоутам в нижней части оболочки крепятся поперечные балки, на которые этажно опираются второстепенные продольные балки. Последние предназначены для установки стоек конвейера и укладки листового настила пола (рис. 31).

Рис. 31. Поперечное сечение пролетного строения из круглой цилиндрической оболочки

5.57. Промежуточные шпангоуты, перпендикулярные оси оболочки, имеют переменный шаг 3, 2,5 и 1 м и располагаются, как правило, внутри оболочки, опорные шпангоуты, вертикальные или перпендикулярные оси оболочки, - снаружи (рис. 32).

Рис. 32. Опорный узел

5.58. Габаритные пролетные строения собираются из отдельных секций заводского изготовления длиной 12 м. Укрупнительный стык секций выполняется сварным встык или на полубандажах (рис. 33).

Рис. 33. Секция пролетного строения из круглой цилиндрической оболочки и укрупнительные стыки

5.59. В случае применения мокрых способов уборки просыпи и пыли предусматриваются устройство лотка, расположенного несимметрично относительно оси галереи, и поперечный уклон пола в сторону лотка.

5.60. При конструктивном решении по п. 5.56 в пролетном строении образуется замкнутое подполье, ухудшающее условия эксплуатации, в связи, с чем необходимо обратить особое внимание на обеспечение водонепроницаемости листового настила пола и лотка.

5.61. В целях экономии металла обшивку пролетного строения, возможно, делать разной толщины по периметру: при этом листы большей толщины должны располагаться в сжатой зоне.

5.62. Для естественного освещения и аэрации в оболочках пролетных строений устанавливаются окна - иллюминаторы. В случае необходимости для дополнительной вентиляции предусматривается установка дефлекторов.

В обоих случаях в оболочке делаются овальные вырезы с соответствующим усилением для патрубков, привариваемых на монтаже.

Пролетные строения с подвесными конвейерами

5.63. Одним из возможных решений, ведущих к улучшению эксплуатационных качеств галерей, является применение конвейеров, подвешенных к покрытию (рис. 34).

Рис. 34. Размещение подвесных конвейеров в пролетном строении

а - поперечное сечение пролетного строения с одним конвейером; б - поперечное сечение пролетного строения с двумя конвейерами; в - схема подвесок и продольных связей конвейера

5.64. Проектирование галерей с подвесными конвейерами выполняется по заданию технологической организации. При этом необходимо иметь в виду, что для подвески к покрытию конструкция ленточного конвейера должна быть соответственно изменена.

5.65. В связи с отсутствием опыта проектирования, строительства и эксплуатации пролетных строений с подвесными конвейерами в пп. 5.66 - 5.69 приведены только некоторые общие положения.

5.66. Подвесными конвейерами могут быть оборудованы пролетные строения с несущими конструкциями из ферм, сварных двутавровых балок и оболочек прямоугольного сечения, конструкции которых включают поперечные балки покрытия.

5.67. При проектировании пролетных строений с подвесными конвейерами необходимо предусматривать систему связей для передачи продольных технологических нагрузок с уровня покрытия на неподвижные опоры.

5.68. Конструкция подвесного конвейера должна включать систему поперечных и продольных связей, обеспечивающих неподвижность конвейера. Продольные связи собственно конвейера предназначены также для передачи продольных сил на покрытие (см. рис. 34, в).

5.69. В связи с расположением конструкций и подвески конвейера в верхней части пролетного строения следует при назначении размеров проходов обратить особое внимание на обеспечение требований техники безопасности.

Опоры галерей

5.70. Опоры, на которые устанавливаются пролетные строения, проектируются двух типов: плоские (качающиеся) и пространственные (неподвижные).

5.71. Плоские опоры допускают смещение в продольном направлении при температурных перемещениях пролетного строения.

5.72. Плоские опоры, как правило, состоят из вертикальных ветвей и соединительной решетки. Схема решетки может быть любой и принимается в зависимости от типа сечений элементов решетки, соотношения геометрических размеров опоры и требований по экономному расходу металла. Наиболее распространенные схемы решетки приведены на рис. 35.

Рис. 35. Схема решетки опор

5.73. Ширина опоры в уровне фундамента равна обычно расстоянию между осями несущих конструкций пролетного строения. Если отношение ширины опоры основания к ее высоте получается меньше 1/8, необходимо увеличить ширину опоры. В этом случае ветви опоры проектируются наклонными прямолинейными (рис. 35).

5.74. Ветви плоских опор выполняются, как правило, из прокатных двутавровых профилей. Минимальная высота профиля зависит от расстояния между осями опорных рам и принимается обычно не менее 500 мм из условия удобства размещения опорных узлов двух пролетных строений. Максимальная высота профиля определяется действующим сортаментом. При этом величина гибкости ветви находится в пределах 70 - 120, что необходимо для обеспечения выполнения требований п. 5.71. При гибкости ветви менее 70 следует выполнять указания п. 5.77.

5.75. Решетка опоры может располагаться в одной плоскости - по оси ветвей или в двух плоскостях - по наружным граням полок двутавров.

Распорки должны препятствовать повороту сечения ветви при крутильной форме потери устойчивости. Для этой цели распорки должны иметь достаточную жесткость в горизонтальном направлении.

В одноплоскостной решетке распорки крепятся либо к горизонтальному ребру (рис. 36, а), либо, как и в двухплоскостной решетке, - непосредственно к полкам двутавра ветви (рис. 36, б).

Рис. 36. Узлы крепления распорок

5.76. Наиболее распространенным типом сечения для элементов решетки являются прокатные уголки. Применение тавровых сечений из парных уголков не рекомендуется по условиям коррозионной стойкости.

В одноплоскостной решетке эффективно применение замкнутых гнутосварных и гнутых С-образных профилей.

5.77. Базой ветви является опорная плита, толщина которой определяется расчетом. Закрепление ветви на фундаменте осуществляется с помощью анкерных болтов; расстояние между анкерными бортами вдоль галереи не должно превышать 250 мм.

Базы опор устанавливаются непосредственно на фундамент с последующей подливкой (рис. 37, б).

При гибкости ветвей менее 70 рекомендуется передачу вертикального опорного давления производить на специальный лист, предусмотренный в фундаменте, через центрирующую планку, приваренную к опорной плите. Лист устанавливается на фундамент в проектное положение строго горизонтально (рис. 37, а).

Рис. 37. Узел соединения ветви опоры с фундаментом

5.78. Пространственные опоры должны обеспечивать устойчивость галереи в продольном направлении и передачу горизонтальных сил на фундаменты. Пространственные опоры выполняются обычно двух типов: плоская опора с подкосами или связевая опора башенного типа (рис. 38).

Рис. 38. пространственные опоры

Опора должна быть ориентирована таким образом, чтобы подкос работал на сжатие. Применяемые для пространственных опор типы сечений и конструктивные решения аналогичны плоским опорам.

5.79. В пространственных опорах базы ветвей, передающие на фундаменты горизонтальные силы, должны прикрепляться к специальным закладным деталям фундаментов (см. рис. 37, в).

5.80. Опоры галерей имеют, как правило, негабаритные для транспортировки размеры, поэтому поставляются на монтаж в виде отдельных элементов. Монтажные укрупнительные стыки рекомендуется выполнять на болтах.

5.81. В целях снижения трудоемкости изготовления и монтажа для плоских опор перспективным решением в ряде случаев является применение опор Л-образной формы с ветвями из трубчатых профилей без соединительной решетки. При соответствующих геометрических размерах опоры и наличии изгибающих моментов, возникающих от расцентровки ветвей в верхнем узле опоры, возможна постановка распорок в средней части (рис. 39).

Рис. 39. Опора с ветвями из трубчатых профилей без соединительной решетки

5.82. Наличие в Л-образной опоре расцентровки ветвей и двухконсольной балки коробчатого сечения для установки пролетного строения сужает область рационального применения таких опор. Л-образные опоры рекомендуется применять преимущественно для одноконвейерных галерей или двухконвейерных галерей ограниченной ширины.

6. ОГРАЖДАЮЩИЕ КОНСТРУКЦИИ. ТЕПЛОИЗОЛЯЦИЯ

6.1. Для ограждающих конструкций неотапливаемых пролетных строений следует принимать:

при несущих конструкциях из ферм - волнистые асбестоцементные листы для кровли и стен, полы - по железобетонным плитам или металлическим щитам;

при несущих конструкциях из сварных двутавровых балок - волнистые асбестоцементные листы для покрытия, полы по железобетонным плитам или металлическим щитам.

При соответствующем обосновании для пролетных строений с несущими конструкциями из ферм для покрытия и стен допускается замена волнистых асбестоцементных листов на оцинкованный профилированный лист. Такое же решение возможно для покрытия пролетных строений с несущими конструкциями из балок.

6.2. Неотапливаемые пролетные строения с несущими конструкциями из замкнутых тонколистовых оболочек и балок при строительстве в районах с жарким климатом должны быть защищены от перегрева при инсоляции с помощью специальных конструктивных мероприятий или путем устройства естественной вентиляции.

6.3. Для ограждающих конструкций отапливаемых пролетных строений следует принимать:

при несущих конструкциях из ферм - кровлю с теплоизоляцией по профилированному настилу для покрытия, панели разных типов - для стен и полы по железобетонным плитам или металлическим щитам;

при несущих конструкциях из сварных двутавровых балок - кровлю с теплоизоляцией по профилированному настилу для покрытия и полы по металлическим щитам или железобетонным плитам;

при несущих конструкциях из круглых цилиндрических оболочек пол устраивается по перекрытию из металлического листа, укладываемого по балкам.

6.4. Ограждающие конструкции отапливаемых пролетных строений должны иметь теплоизоляцию.

Устройство теплоизоляции и способы ее крепления должны соответствовать индустриальному методу строительства галерей и выполняться преимущественно в виде крупноразмерных элементов панельного типа или наноситься на ограждающие конструкции способом напыления или другими прогрессивными методами.

6.5. Теплоизоляция должна быть выполнена с учетом создания положительной температуры воздуха внутри галереи не менее + 5 °С. При этом должна быть обеспечена положительная температура на внутренней поверхности пролетного строения.

6.6. В качестве утеплителя рекомендуется применять несгораемые и трудносгораемые эффективные материалы плотностью до 200 кг/м3. При устройстве пола по железобетонным плитам в качестве утеплителя рекомендуется применять слой пенобетона плотностью до 600 кг/м3.

6.7. Толщину теплоизоляционного слоя следует назначать по теплотехническому расчету в соответствии с требованиями СНиП II-3-79** «Строительная теплотехника».

6.8. Для пролетных строений с несущими конструкциями из ферм наиболее целесообразно применение стеновых панелей, совмещающих функции ограждения и теплоизоляции.

6.9. Для теплоизоляции конструкций пролетных строений, совмещающих несущие и ограждающие функции (оболочки, сварные двутавровые балки), эффективно применение в качестве утеплителя различного типа поропластов в трудносгораемом исполнении (рецептуре) способом напыления или методом заливки.

В конструкциях, имеющих сложную конфигурацию поверхностей, удобнее применять способ напыления.

6.10. Теплоизоляция стен и покрытия пролетного строения из оболочек прямоугольного сечения должна, как правило, располагаться на внутренней поверхности, перекрытия - снаружи.

Теплоизоляция пролетных строений из круглых цилиндрических оболочек должна, как правило, располагаться на внутренней поверхности по всему периметру.

Теплоизоляция стен пролетного строения с несущими конструкциями из сварных двутавровых балок может располагаться как на внутренней, так и на наружной поверхности; расположение теплоизоляции пола и кровли в пролетных строениях с несущими конструкциями из балок и ферм зависит от принятых конструктивных решений (железобетонные плиты или металлические щиты).

6.11. Пролетные строения с несущими конструкциями из прямоугольных оболочек, состоящих из отдельных плоских панелей, пролетные строения с несущими конструкциями из круглых цилиндрических оболочек габаритного поперечного сечения должны поставляться заводами-изготовителями на площадку строительства вместе с утеплителем (комплектная поставка).

6.12. В отдельных случаях, когда устройство теплоизоляции пролетных строений из оболочек и сварных двутавровых балок выполняется непосредственно на строительной площадке, должно быть обращено особое внимание на выполнение указаний п. 6.4.

6.13. Во всех случаях, где это необходимо, швы и стыки ограждающих конструкций и теплоизоляции отапливаемых пролетных строений утепляются и уплотняются герметизирующими нетвердеющими мастиками, упругими прокладками и погонажными фасонными элементами из синтетических материалов для внутренней отделки.

6.14. Тип теплоизоляции и способ производства работ по ее устройству принимаются в каждом конкретном проекте в зависимости от наличия необходимых материалов, возможностей производственных организаций и условий эксплуатации галерей. На рис. 40 - 43 приведены некоторые примеры эскизных решений теплоизоляции ограждающих конструкций пролетных строений с различными типами несущих конструкций.

Рис. 40. Теплоизоляция галерей с ограждающими конструкциями из балок

1 - кровельное покрытие, стяжка, теплоизоляция; 2 - устройство карниза; 3 - профилированный настил; 4 - оцинкованный кровельный лист; 5 - стеновое ограждение типа «монопанель»; 6 - губчатая резина; 7 - плинтус; 8 - плитная теплоизоляция

Рис. 41. Теплоизоляция галерей комплектной поставки прямоугольного сечения методом заливки

Рис. 42. Устройство карниза и сопряжение трехслойной панели с покрытием и перекрытием

Рис. 43. Теплоизоляция галереи кругло-цилиндрической формы

6.15. Кровельные покрытия из рулонных материалов следует проектировать в соответствии с требованиями действующих нормативных документов.

6.16. На кровле из асбестоцементных волнистых листов следует предусматривать устройство настилов шириной 400 мм из досок вдоль коньков по скату у торцевых стен, деформационных швов, а также в местах прохода к вентиляционному обслуживаемому оборудованию.

6.17. Для увеличения долговечности и надежности кровли, уменьшения трудозатрат при строительстве рекомендуется устройство безрулонных кровельных покрытий.

6.18. При продольных уклонах галерей на их кровлях рекомендуется устройство наружного организованного водоотвода для равномерного удаления воды в виде рассекателей (деревянных реек под рулонный ковер, стальных уголков и т.п.).

6.19. В целях лучшего сохранения стен галерей, а также избежания образования подтеков, покрытия пролетных строений следует проектировать с выносом карниза не менее 150 мм.

6.20. Тип покрытия пола галерей следует назначать в соответствии с действующими нормативными материалами, в зависимости от специальных требований, предъявляемых к покрытию пола, с учетом технологических особенностей.

6.21. При использовании для уборки пыли и просыпи гидросмыва, для полов по железобетонным плитам рекомендуется устройство поперечного уклона пола и лотков для стока воды за счет набетонки.

Лотки, как правило, следует располагать под конвейером. Поперечный уклон пола к лотку должен приниматься не менее 0,02 в пределах проходов и не менее 0,04 - в пределах лотков под конвейерами (рис. 44).

В горизонтальных галереях следует обеспечивать продольный уклон лотков не менее 0,02.

Рис. 44. Поперечное сечение перекрытия с железобетонными плитами

6.22. В пролетных строениях с перекрытием и виде металлических панелей и щитов пол предусматривается плоским, так как устройство поперечного уклона и лотков существенно усложняет конструкцию перекрытия и снижает надежность работы пролетного строения. В то же время такая конструкция пола лишь незначительно ухудшает условия уборки при гидросмыве (рис. 45). При обоснованной необходимости устройства поперечных уклонов пола и лотков по плоскому металлическому настилу последние решаются в каждом конкретном проекте в составе его архитектурно-строительной части.

Рис. 45. Поперечное сечение перекрытия с металлическим настилом

6.23. В галереях должны быть предусмотрены плинтусы высотой не менее 200 мм или другие технические решения, исключающие возможность замачивания и повреждения теплоизоляции и поверхностей стен в зоне их примыкания к полу.

6.24. При размещении конвейеров не должна нарушаться гидроизоляция перекрытия. С этой целью стойки станины конвейера следует ставить выше уровня чистого пола пролетного строения или применять конвейеры, подвешенные к покрытию.

6.25. Пол и стыки пола смежных пролетных строений должны быть водонепроницаемыми при применении мокрых способов уборки.

6.26. (15.11)*. В галереях, предназначенных для транспортировки абразивных сыпучих грузов (руд черных и цветных металлов, кокса, песка, щебня и др.), покрытия полов следует проектировать устойчивыми против абразивного воздействия шлама при гидросмыве пыли и просыпи согласно СНиП II-В.8-71.

* Пункт приведен из СНиП 2.09.03-85.

Для пола по железобетонным плитам, возможно, использовать полимербетонные покрытия из плотных бетонов высоких марок на заполнителях из высокопрочных инертных материалов. Лоток следует, как правило, облицовывать абразивоустойчивым материалом.

Для пола по металлическим панелям или щитам может быть рекомендовано, к примеру, эпоксидно-каучуковое пятислойное покрытие.

6.27. В галереях, предназначенных для транспортировки взрывоопасных материалов, следует предусматривать участки легкосбрасываемой кровли или других ограждающих конструкций согласно специальным требованиям. Для галерей с несущими конструкциями из оболочек такими являются окна или другие специально предусмотренные проемы.

6.28. В галереях с повышенной влажностью внутренней среды материалы для теплоизоляции ограждающих конструкций должны быть гидрофобизированы либо обеспечены надежной пароизоляцией.

6.29. В галереях, предназначенных для перемещения горячих материалов, следует предусматривать дополнительные защитные мероприятия, исключающие перегрев несущих конструкций пролетного строения.

6.30. При привязке типовых серий или при индивидуальном проектировании галерей, в зависимости от конкретных условий строительства и характеристик внутренней и наружной среды, определяется цветовое решение интерьера и экстерьера.

Цветовое решение интерьеров галерей должно осуществляться в соответствии с «Рекомендациями по комплексному решению интерьеров производственных зданий» 1985 г. и СН 181-70.

7. ПРИМЕРЫ РАСЧЕТА ПРОЛЕТНЫХ СТРОЕНИЙ ГАЛЕРЕЙ

7.1. Даны примеры расчета пролетных строений галерей с несущими конструкциями из балок с гибкими стенками и из оболочек прямоугольного и круглого сечения.

Пример расчета пролетных строений с несущими конструкциями из ферм не приводится, так как методика его выполнения общеизвестна.

7.2. В примерах расчета условно не введен коэффициент надежности по назначению, равный 0,95.

7.3. Для лучшего восприятия расчеты изложены в традиционной форме и снабжены подробными комментариями. В практике проектирования расчеты могут выполняться как в приведенной форме, так и с использованием ЭВМ.

Пролетные строения с несущими конструкциями из сварных двутавровых балок с гибкой стенкой

7.4. Задание технологической организации на проектирование строительной части галереи.

Характеристика галереи и конвейера

Схема трассы конвейера .................................... См. чертеж №

Угол наклона галереи ........................................ 15°

Число конвейеров ............................................... 2

По условиям отопления и вентиляции ............. Отапливаемая

Способ уборки пыли и просыпи ....................... Сухой

Степень огнестойкости ...................................... IIIа

Ширина ленты конвейера, мм ........................... 1000

Расстояние между осями стоек

станины Г1, мм...................................................... 1350

Диаметр роликов роликоопоры верхней

ветви dp, мм............................................................ 159

Шаг роликоопор верхней ветви l¢р, мм .............. 1000

Скорость ленты v, м/с .......................................... 2

Коэффициент сопротивления движению

ленты w .................................................................. 0,04

Расположение приводных и натяжных

устройств: соосное, несоосное (указывается

для двухконвейерных галерей) ........................... Несоосное

Специальные требования .................................... Отсутствуют

Характеристика транспортируемого груза

Насыпная плотность g, т/м3 ................................ 2,5

Влажность, % ........................................................ 3

Температура, °С ................................................... 20

Пылящий - непылящий ..................................... Непылящий

Агрессивность к строительным

конструкциям ..................................................... Не агрессивен

Сгораемый - несгораемый .............................. Несгораемый

Взрывоопасный - невзрывоопасный .......... Невзрывоопасный

Нормативные технологические нагрузки на одну опору стойки конвейера

Вертикальная Qв, кН ........................................... 8,1

Продольная Qп, кН .............................................. 1,45

7.5. Исходные данные

Галерея для двух конвейеров с шириной ленты В = 1000 мм состоит из двух пролетных строений пролетами 48 +(48 + 6) м, двух плоских и одной пространственной опоры. Схема галереи показана на рис. 46. Поперечное сечение галереи - на рис. 47. Размеры поперечника приняты в соответствии с табл. 2.

Рис. 46. Схема галереи

Рис. 47. Поперечное сечение галереи

7.6. Галерея теплая. Покрытие и перекрытие утеплены минераловатными плитами толщиной 60 мм, облицованными изнутри профилированным стальным листом. По стенам установлены утепленные панели.

7.7. Пролетное строение состоит из двух продольных (главных) сварных двутавровых балок с гибкой стенкой высотой 3 м и системы поперечных балок, имеющих шаг 3 м. Сечение главных балок одинаково по всему пролету. Полы в поперечном направлении предусмотрены горизонтальными, без лотков. Суммарная ширина проходов П =1 + П¢4 = 2,7 м.

Материал главных балок - низколегированная сталь 09Г2С-12; Rs = 0,58 Ry = 183 МПа; Ry = 315 МПа.

7.8. Расчетные нагрузки на галерею приведены в табл. 11.


Таблица 11

Наименование элемента

Классификация нагрузки

№ п. п.

Наименование нагрузки

Единица измерения

Нормативная нагрузка

Коэффициент надежности по нагрузке

Расчетная нагрузка

Пункт Пособия

1

2

3

4

5

6

7

8

9

Покрытие

Постоянная

1

Балки покрытия, связи

кН/м

1,6

1,05

1,68

 

2

Профилированный настил t = 1 мм на покрытии

кН/м

0,73

1,05

0,77

 

3

Теплоизоляция

кН/м

0,45

1,2

0,54

 

4

Цементная стяжка у = 1,8 т/м3 t = 15 мм

кН/м

1,6

1,3

2,08

 

5

3 слоя рубероида на битумной мастике

кН/м

1

1,2

1,2

 

 

Итого

кН/м

 

 

6,27

 

Длительная

6

Промышленные проводки

кПа

0,1

1,1

0,11

п. 3.7

7

Пыль на покрытии

кПа

0,5

1,2

0,6

п. 3.19

Кратковременная

8

Снеговая по IV району

кПа

1,2

1,4

1,68

п. 3.17

(1,6)

(1,92)

Стены

Постоянная

9

Главные балки

кН/м

7,5

1,05

7,88

 

10

Утепленные стеновые панели

кН/м

1,9

1,2

2,28

 

Длительная

11

Промышленные проводки

кН/м

3,4

1,1

3,74

п. 3.7

Кратковременная

12

Ветровая по IV району на отметке 10 м

кПа

0,48

1,4

0,67

п. 3.18

Перекрытие

Постоянная

13

Балки перекрытия, настил, связи

кН/м

5,9

1,05

6,2

 

14

Профилированный настил t = 1 мм на перекрытии

кН/м

0,73

1,05

0,77

 

15

Теплоизоляция

кН/м

0,45

1,2

0,54

 

 

Итого

кН/м

 

 

21,75

 

Кратковременная

16

Ремонтная от массы людей, оборудования

кН/м

1,5´2,7

1,3

5,27

п. 3.9

Длительная

От двух конвейеров В = 2´1000 мм, g = 2,5 т/м3

17

Вертикальная

кН

8,1´4

1,1

35,6

п. 3.6

18

Продольная

кН

1,45´4

1,1

6,4

п. 3.6

Особая

Аварийные нагрузки

19

От заклинивания ленты

кН

100

1,1

110

п. 3.10

20

Просыпь под конвейерами

кН/м

3,75

1,2

4,5

п. 3.9

Примечания: 1. Нагрузка от массы металлоконструкций по пп. 1, 9, 13 соответствует общей линейной нагрузке qс.в = 15 кН/м. 2. Нагрузка по п. 6 учитывается только при расчете балок покрытия. 3. Коэффициент надежности по нагрузке по п. 8, равный 1,6, применяется при расчете балок покрытия. 4. Нагрузки по пп. 9 ¸ 11 приведены для двух стен. 5. Нагрузка ветровая по п. 12 дана без учета коэффициентов динамичности и увеличения скоростного напора в зависимости от высоты. 6. Величина расчетной ремонтной нагрузки по п. 16 для расчета балок перекрытия принимается qрем = 1,2 gg1 = 1,2 × 2,5 × 1,2 = 3,6 кПа. Нагрузка прикладывается по всей длине балки. 7. Нагрузка от просыпи под конвейерами по п. 20 принята по СНиП 2.09.03-85: qпрос = 1,5gВ = 1,5 × 2,5 × 1 = 3,75 кН/м. Учтена нагрузка от просыпи под одним конвейером.


7.9. Пролетное строение галереи рассчитывается на изгиб.

Расчетная схема главной балки и эпюры усилий приведены на рис. 48.

Рис. 48. Расчетная схема главной балки и эпюры усилий

7.10. В табл. 12 приведено определение вертикальной расчетной линейной нагрузки (кН/м) на пролетное строение (на две главные балки).

Qрасч = qнормg1y1y2, где g 1 - коэффициент надежности по нагрузке, y1,y2 - коэффициенты сочетаний.


Таблица 12

Сочетание нагрузок

Обозначение нагрузок и коэффициентов

Строительная нагрузка

Техническая нагрузка

От атмосферных воздействий

Итого

металло­конструкции пролетного строения

теплоизоляция, профилированный настил

от двух конвейеров

промыш­ленные проводки

ремонт­ная

просыпь под конвей­ером

снег

пыль на кровле

Основное

qнорм

15

6,86

10,8

3,4

4,05

-

1,2´6,5=7,8

0,5´6,5=3,25

51,2

g1

1,05

1,2

1,1

1,1

1,3

-

1,4

1,2

-

y1

0,95

0,95

0,95

0,95

0,95

-

0,95

0,95

-

y2

1

1

1

1

0,9

-

0,9

1

-

qрасч

14,96

7,82

11,29

3,53

4,5

-

9,34

3,71

55,5

Особое

qнорм

15

6,86

10,8

3,4

-

4,5

7,8

3,25

51,6

g1

1,05

1,2

1,1

1,1

-

1,2

1,4

1,2

-

y1

0,95

0,95

0,95

0,95

-

0,95

0,95

0,95

-

y2

1

1

1

1

-

1

0,8

1

-

qрасч

14,96

7,82

11,29

3,53

-

5,13

8,3

3,71

53,9

Примечание. qрасч = qнормg1y1y2, где g1 - коэффициент надежности по нагрузке; y1y2 - коэффициенты сочетаний. В качестве расчетной линейной нагрузки на пролетное строение принимается нагрузка основного сочетания qрасч = 55,5 кН/м. На одну главную балку расчетная нагрузка q = 0,5 qрасч = 27,8 кН/м.


7.11. В качестве расчетных сечений приняты сечения 1, 2 и 3 (рис. 48) на опоре и на расстоянии от опоры  

В табл. 13 приведены расчетные усилия в главной балке.

Таблица 13

№ сечения

М, кН×м

Q, кН

1

0

667

2

6021

334

3

8006

0

7.12. При определении усилий в поясах главных балок от ветрового воздействия нагрузки на плоскости связей по верхним и нижним поясам балок приняты одинаковыми.

Коэффициент высотности kвыс = 1,33 принят для отметки 27 м (тип местности А). Линейная ветровая нагрузка q равна

Момент в связевой ферме как балке М определяют по формуле

 

Усилие в поясе балки N определяют по формуле

 

Напряжение в сжатом поясе от ветровой нагрузки s равно

7.13. В соответствии с данными табл. 13 выполняется проверка несущей способности сечения главной балки. Сечение балки приведено на рис. 49.

Рис. 49. Сечение главной балки

Расчет балки выполнен в основном по СНиП II-23-81*, п. 18.2 с уточнениями формулы для предельных значений Ми и Qи согласно п. 4.13. Расстояние между осями поперечных основных ребер жесткости принято l = 8 м.

Условная гибкость стенки определяется по формуле (3):

 

 

Проверка отношения ширины свеса сжатого пояса к его толщине по п. 18.6 СНиП II-23-81*:

 

В табл. 14 приведены геометрические характеристики сжатого пояса главной балки.

Таблица 14

Состав сечения

Af,

a,

y,

y2,

A,

Iy,

l,

ry,

ly

lc

jу

см2

см

см

см

см2

см

см

см

125

21,9

3,1

21,3

147

26042

300

13,3

22,6

81

0,946

Примечание. Обозначения в таблице: Af, Iy - площадь и момент инерции сечения пояса балки относительно оси y; jу - коэффициент продольного изгиба пояса относительно оси y. Предельное значение гибкости  - принято по п. 5.31 СНиП II-23-81*. Высота участка стенки, включенного в расчетное сечение пояса, принята по п. 4.12.

В табл. 15 приведены значения предельного изгибающего момента, вычисленного по формуле (13), в соответствии с указаниями пп. 4.11 - 4.13.

Таблица 15

 

w

и

v

y

yc

yo

bo

тх

c

sc,

sy,

Mu,

МПа

МПа

кН×м

11,4

0,496

0,926

0,069

0,770

0,868

0,983

1,0

0,017

0,988

10

290

11820

Значение поперечной силы Qu определено по формуле (14) в соответствии с указаниями п. 4.13 и приведено в табл. 16.

Таблица 16

Состав сечения

l,

h1,

A,

z,

Ix,

wmin,см3

a

b

m

tс,

Qu,

см

см

см2

см

см4

кН

300

12,9

138

0,72

876

65

0,012

0,15

1,017

11,4

18

1564

Несущая способность главной балки проверяется по формуле (12) (табл. 17).

Таблица 17

№ сечения (рис. 48)

Действующие усилия

Предельные усилия

 

М,

Q,

Мu,

Qu,

-

 

 

кН×м

кН

кН×м

кН

1

-

667

11820

1564

-

0,43 < 1

-

2

6021

334

0,51 < 1

0,21 < 1

0,07 < 1

3

8006

-

0,68 < 1

-

-

7.14. Определение прогиба главной балки в середине пролета выполнено с учетом уменьшенной жесткости балки согласно п. 4.17

 где

 см4;

a = 1,2 - 0,033 × 11,4 = 0,82.

7.15. Расчет поперечных ребер жесткости выполняется в соответствии с п. 4.15. Расчетное сечение ребра жесткости приведено на рис. 51. Расчетное усилие в ребре определено по формуле (16)

 кН.

Расчетная длина ребра llf = 295 (1 - 0,15) = 251 см.

В расчетное сечение ребра включается участок стенки шириной

 см.

Сечение парного симметричного ребра принято по СНиП II-23-81*, п. 7.10.

 мм.

Принимается ts = 140 мм.

 мм.

Принимается ts = 12 мм;

А = 33,6 × 1 + 2 × 16,8 = 67 см2;

 см4;

Рис. 50. Схема связей по верхним поясам главных балок

Рис. 51. Расчетное сечение ребра жесткости

Рис. 52. Расчетная схема опорной рамы

 см; ;

7.16. Расчетная схема опорной рамы приведена на рис. 52.

Вертикальная нагрузка на раму

 кН/м,

где 1,5 м - ширина грузовой площади ригеля; 1,92 кПа - учет снегового мешка; N = 1205 кН; Wп = 2,85 × 24 = 68,4 кН.

Дополнительное двухстороннее ребро жесткости установлено на расстоянии  см от опорного ребра.

7.17. Схема связей по поясам главных балок приведена на рис. 50. Сечение раскоса должно удовлетворять условию формулы (15)

 

Пролетные строения с несущими конструкциями из оболочек прямоугольного сечения

7.18. Задание технологической организации на проектирование строительной части галереи.

Характеристика галереи и конвейера

Схема трассы конвейера ................................. См. чертеж №

Угол наклона галереи a ................................... 15°

Число конвейеров ............................................. 2

Условия отопления и вентиляции ................... Отапливаемая

Способ уборки пыли и просыпи .................... Сухой

Степень огнестойкости ..................................... IIIа

Ширина ленты конвейера, мм ......................... 1200

Расстояние между осями стоек станины

Г1, мм .................................................................. 1600

Диаметр роликов роликоопоры верхней

ветви d¢р, мм ...................................................... 159

Шаг роликоопор верхней ветви l¢р, мм ........ 1000

Скорость ленты v, м/с ..................................... 2

Коэффициент сопротивления движению

ленты w ............................................................ 0,04

Расположение приводных и натяжных

устройств: соосное или несоосное

(указывается для двухконвейерных

галерей) ............................................................ Соосное

Специальные требования .............................. Отсутствуют

Характеристика транспортируемого груза

Насыпная плотность g, т/м3 ........................... 2,5

Влажность, % ................................................... 3

Температура, °С .............................................. 20

Пылящий, непылящий ................................... Непылящий

Агрессивность к строительным

конструкциям ................................................. Не агрессивен

Сгораемый - несгораемый ......................... Несгораемый

Взрывоопасный - невзрывоопасный ...... Невзрывоопасный

Нормативные технологические нагрузки на одну опору стойки конвейера

Вертикальная Qв, кН .................................... 10,7

Продольная Qп, кН ..................................... 2

7.19. Исходные данные.

Галерея для двух конвейеров с шириной ленты В=1200 мм состоит из двух пролетных строений пролетами 48+(48+6) м, двух плоских опор и одной пространственной опоры. Схема галереи и ее поперечное сечение показаны на рис. 53, 54. Размеры поперечника приняты в соответствии с табл. 2.

Рис. 53. Схема галереи

Рис. 54. Поперечное сечение галереи

7.20. Галерея утеплена минераловатными плитами толщиной 80 мм, облицована профилированным стальным листом.

7.21. Пролетное строение представляет собой оболочку прямоугольного поперечного сечения. Оболочка включает в себя собственно обшивку, стойки стен, балки покрытия и перекрытия. Обшивка состоит из набора С-образных профилей 400´160´60´4, чередующихся с плоскими накладными листами. Толщины накладных листов приняты разными по периметру оболочки и не изменяются по длине пролетного строения. С-образные профили по покрытию и перекрытию располагаются с интервалом 490 мм, по стенам - 600 мм. Полы в поперечном направлении предусмотрены горизонтальными, без лотков. Суммарная ширина проходов П = 2П1 + П4 = 3,3 м.

Материал - углеродистая сталь. Ry = 235 МПа; Rs = 0,58Ry = 136 МПа.

7.22. Расчетные нагрузки на галерею приведены в табл. 18.

Таблица 18

Наименование элемента

Классификация нагрузки

№ п.п.

Наименование нагрузки

Единица измерения

Нормативная нагрузка

Коэффициент надежности по нагрузке

Расчетная нагрузка

Пункт Пособия

Покрытие

Постоянная

1

Собственный вес металлоконструкций

кПа

1

1,05

1,05

 

2

Теплоизоляция

кПа

0,23

1,2

0,28

 

Длительная

3

Промпроводки

кПа

0,1

1,1

0,11

п. 3.7

4

Пыль на покрытии

кПа

0,5

1,2

0,6

п. 3.19

Кратковременная

5

Снеговая по IV району

кПа

1,2

1,4

1,68

п. 3.17

(1,5)

(1,8)

Стены

Постоянная

6

Собственный вес металлоконструкций

кПа

0,75

1,05

0,79

 

7

Теплоизоляция

кПа

0,23

1,2

0,28

 

Длительная

8

Промпроводки

кН/м

1,7

1,1

1,87

п. 3.7

Кратковременная

9

Ветровая по IV району на отметке 10 м

кПа

0,48

1,4

0,67

п. 3.18

Перекрытие

Постоянная

10

Собственный вес металлоконструкций

кПа

0,6

1,05

0,63

 

11

Теплоизоляция

кПа

0,23

1,2

0,28

 

Кратковременная

12

Ремонтная от массы людей, оборудования

кН/м

1,5´3,3

1,3

6,44

п. 3.9

Длительная

От двух конвейеров В = 2 ´ 200 мм, g = 2,5 т/м3

13

Вертикальная

кН

10,7´4

1,1

47,1

п. 3.6

14

Продольная

кН

2,0´4

1,1

8,8

п. 3.6

Особая

Аварийные нагрузки

15

От заклинивания ленты

кН

140

1,1

154

п. 3.10

16

Просыпь под конвейерами

кН/м

4,5

1,2

5,4

п. 3.9

Примечания: 1. Нагрузка от массы металлоконструкции по пп. 1, 6, 10 соответствует общей линейной нагрузке qсв = 16 кН/м. 2. Равномерно распределенная нагрузка по пп. 2, 7, 11 от теплоизоляции с плотностью g = 0,26 т/м3 и толщиной t = 80 мм составляет 230 Па. Линейная нагрузка от теплоизоляции на пролетное строение qтепл = 230(2 × 7,5 + 2 × 2,6) = 4,65 кН/м. 3. Нагрузка по п. 3 учитывается только при расчете балок покрытия. 4. Коэффициент надежности по нагрузке по п. 5 равный 1,5, применяется при расчете балок покрытия. 5. Нагрузки по пп. 6 - 9 приведены для одной стены. 6. Нагрузка ветровая по п. 9 дана без учета коэффициентов динамичности и увеличения скоростного напора в зависимости от высоты. 7. Величина расчетной ремонтной нагрузки по п. 12 для расчета балок перекрытия принимается qрем = 1,2gg1 = 1,2 × 2,5 × 1,2 = 3,6 кПа. Нагрузка прикладывается по всей длине балки. 8. Нагрузка от просыпи под конвейерами по п. 161 принята по СНиП 2.09.03-85 qпрос = 1,5gВ = 1,5 × 2,5 × 1,2 = 4,5 кН/м. Учтена нагрузка от просыпи под одним конвейером.

7.23. Пролетное строение галерей рассчитывается на изгиб. Расчетная схема пролетного строения и эпюры усилий приведены на рис. 55.

Рис. 55. Расчетная схема пролетного строения и эпюры усилий

7.24. Определение вертикальной расчетной линейной нагрузки (кН/м) на пролетное строение приведено в табл. 19.

qрасч. = qнормg1j1j2.

В качестве расчетной линейной нагрузки на пролетное строение принимается нагрузка основного сочетания qрасч. = 60,6 кН/м.


Таблица 19

Сочетание нагрузок

Обозначение нагрузок и коэффициентов

Строительная нагрузка

Технологическая нагрузка

От атмосферных воздействий

Итого

металлоконструкции пролетного строения

теплоизоляция

от двух конвей­еров

промышлен­ные проводки

ремонтная

просыпь под конвейером

снег

пыль на покрытии

Основное

qнорм

16

4,65

14,3

3,4

4,95

 

1,2´´7,5=9

0,5´7,5=3,75

56,1

g1

1,05

1,2

1,1

1,1

1,3

-

1,4

1,2

-

j1

0,95

0,95

0,95

0,95

0,95

-

0,95

0,95

-

j2

1

1

1

1

0,9

-

0,9

1

-

qрасч

15,96

5,3

14,94

3,53

5,5

-

10,77

4,28

60,6

Особое

qнорм

16

4,65

14,3

3,4

-

4,5

9

3,75

55,6

g1

1,05

1,2

1,1

1,1

-

1,2

1,4

1,2

-

j1

0,95

0,95

0,95

0,95

-

0,95

0,95

0,95

-

j2

1

1

1

1

-

1

0,8

1

-

qрасч

15,96

5,30

14,94

3,53

-

5,13

9,58

4,28

58,7


7.25. В качестве расчетных сечений приняты сечения 1, 2, 3 (см. рис. 55) соответственно на опоре и на расстоянии от опоры

Расчетные усилия в оболочке пролетного строения приведены в табл. 20.

Таблица 20

сечения

М, кН×м

Q, кН

1

0

1454

2

13125

727

3

17453

0

7.26. Определение напряжений от общего изгиба в элементах оболочки приведено в табл. 21.

Таблица 21

Элемент

jо

А, см2

а, см

Аа×10-4, см

Аа2×10-4, см4

Покрытие

8‑550´6

0,6

158

‑146

‑2,31

337

9‑400´4

0,6

86

‑146

‑1,26

184

18L160´60´4

1

158

‑136

‑2,15

292

Стены

2‑660´6

0,6

48

‑100

‑0,48

48

2L160´60´4

1

18

‑70

‑0,13

9

2‑400´4

0,6

19

‑50

‑0,1

5

2L160´60´4

1

18

‑30

‑0,05

2

2‑660´6

0,6

48

0

0

0

2L160´60´4

1

18

30

0,05

2

2‑400´4

0,8

26

50

0,13

7

2L160´60´4

1

18

70

0,13

9

2‑660´6

0,8

63

100

0,63

63

Итого пo стенам

 

274

0,18

145

Перекрытие

8‑550´4

0,8

141

130

1,83

238

9‑400´4

0,8

115

130

1,5

195

18L160´60´4

1

158

140

2,21

309

 

 

å

1091

0

1700

Продолжение таблицы 21

Элемент

S×10-4,см3

Сечение 1

Сечение 2

Сечение 3

М=0 Q=1454 кН

М=13125 кН×м Q=727 кН

М=17453 кН×м Q=0

 МПа

 МПа

 МПа

 МПа

Покрытие

8‑550´6

‑113

‑150

9‑400´4

‑113

‑150

18L160´60´4

‑105

‑140

Стены

2‑660´6

6,19

44

‑77

22

‑103

2L160´60´4

‑54

‑72

2‑400´4

6,40

68

‑39

34

‑51

2L160´60´4

‑23

‑31

2‑660´6

6,42

46

0

23

0

2L160´60´4

23

31

2‑400´4

6,41

69

39

34

51

2L160´60´4

54

72

2‑660´6

6,15

44

77

22

103

Итого пo стенам

Перекрытие

8‑550´4

100

134

9‑400´4

100

134

18L160´60´4

108

144

 

 

Поправка к ординате нейтральной оси  у = а - D.

Центральный момент инерции I = åАа2 - åАD2 = 1700 × 104 см4.

Примечания: 1. Начальная величина редукционного коэффициента принята по п. 4.23. Площадь сечения отгибов С-образных профилей не редуцируется. Расчетная ширина накладных листов дана с учетом нахлеста по 30 мм на сторону.

2. Отсчет ординат «± а» ведется от исходной оси (рис. 54). 3. S - статистический момент отсеченных частей сечения относительно нейтральной оси.

7.27. Фактические редукционные коэффициенты для пластин в середине пролета (сечение 3, рис. 55) определены в табл. 22.

Таблица 22

Элемент

h1, см

t, см

h1

t

q, КПа

scr, МПа

jo

sрасч, МПа

j1

Покрытие

55

0,6

92

2,9

90

0,6

‑150

1,66

0,606

1

40

0,4

100

2,9

76

0,6

‑150

1,.97

0,597

0,5

Стена

66

0,6

-

-

63

0,6

‑103

1,64

0,623

3,8

Перекрытие

55

0,4

138

1,5

40

0,8

134

3,35

0,79

1,3

40

0,4

100

1,5

76

0,8

134

1,76

0,79

1,3

Примечание. В таблице обозначено: t, h1 - толщина и ширина пластины.

Критические напряжения в листах обшивки scr, МПа, определены как в шарнирно опертых по контуру прямоугольных пластинах по формуле

Уточнение редукционных коэффициентов произведено по прил. 4 с учетом начальной погиби со и расчетной поперечной нагрузки q.

Расчетная начальная погибь принята для всех пластин равной толщине пластины (cо= 1).

Расчетная нагрузка принята:

qпокр. = qсв. + qпыли + qсн = 0,50 + 0,6 + 1,8 = 2,9 кПа;

qпер. = 1,5 кПа (см. п. 4.22).

Редукционный коэффициент для листов обшивки стены уточнен только для верхнего сжатого листа. Местные напряжения в пластинах обшивки от местного изгиба стрингеров sм пренебрежимо малы (табл. 26), поэтому в табл. 22 принято sр = sо.и. sм » sо.и.

Расхождение между j1 и jо не превышает 10 % (см. п. 4.28). Следовательно, полученные в табл. 21 величины напряжений являются окончательными.

7.28. Прогиб галереи в середине пролета равен

7.29. Проверка устойчивости покрытия выполнена для сечения в середине пролета (сечение 3, рис. 55). Проверка других сечений выполняется аналогично.

Схема покрытия приведена на рис. 56. Определение геометрических характеристик стрингера приведено в табл. 23.

Рис. 56. Схема покрытия

Таблица 23

Элементы пролетного строения

Расчетное сечение стрингера

Исходные данные

b1,

t1,

b2,

t2,

bср,

j1

j2

мм

мм

мм

мм

мм

Покрытие

При расчете устойчивости

400

4

550

6

445

0,6

0,6

Покрытие

При расчете прочности

400

4

550

6

-

0,6

0,6

Перекрытие

400

4

550

4

-

0,8

0,8

Продолжение таблицы 23

Элементы пролетного строения

Расчетное строение стрингера

Геометрические характеристики

А1,

А2,

А3,

А4,

åАi,

tпр,

у,

I,

W1,

W2,

 

см

см2

см2

см2

см2

см2

мм

см

см4

см3

см3

Покрытие

При расчете устойчивости

4,7

9,9

6,4

2,2

23,2

5,2

3,6

588

-

-

-

Покрытие

При расчете прочности

4,7

9,9

6,4

2,2

23,2

-

3,6

793

189

64

5,8

Перекрытие

6,3

8,8

6,4

2,2

23,7

-

3,6

788

197

64

5,8

Примечания: 1. Размеры пластин обшивки b1, b2, t1, t2 и bср соответствуют рис. 57. 2. Значения редукционных коэффициентов для присоединенных участков обшивки j1 и j2 принимаются по табл. 22. 3. Приведенная толщина обшивки tпр = åА/вср.

Рис. 57. Фрагмент панели обшивки

7.30. Устойчивость стрингерного отсека проверяется по формуле (23), которая после подстановки в нее значения у по формуле (21) имеет вид:

 

Здесь  

Так как условие (22) выполнено, то устойчивость стрингерного отсека обеспечена.

7.31. Устойчивость пластины покрытия (в целом) проверяется по формуле (19), которая после подстановки в нее значения scr(2) по по формуле (23) имеет вид

 

где z определяется по формуле (21), имеющей после преобразования следующий вид:

 

Так как условие (18) выполнено, то устойчивость пластины покрытия обеспечена.

7.32. Проверка устойчивости стрингера как внецентренно сжатого стержня в составе покрытия выполнена в соответствии со СНиП II-23-81*. Геометрические характеристики стрингера определены с учетом присоединенного пояска редуцированной обшивки:

r = 5,8 см;  

  

где sм1 определяется для наиболее сжатого волокна в соответствии с п. 5.29 СНиП II-23-81*

mlf = hm = 3,18 × 0,02 = 0,064,

где коэффициент влияния формы сечения h принят по табл. 73 СНиП II-23-81*, тип сечения 11.

 

jвн = 0,845;

 

Критическое напряжение для стрингера составляет

.

Таким образом, устойчивость стрингера обеспечена.

7.33. Проверка устойчивости стены пролетного строения выполняется по СНиП II-23-81*, п. 7.7 с некоторыми уточнениями расчетных формул, обусловленными членением стены по высоте рядом продольных ребер.

Сечение стены и эпюры нормальных и касательных напряжений приведены на рис. 58.

Рис. 58. Схема стены и эпюры нормальных и касательных напряжений

Устойчивость пластин стены в сжатой зоне проверяется по формуле (82) СНиП II-23-81*, где величины s и t являются напряжениями в середине пластины по ее высоте; tcr определяется по формуле (76) СНиП II-23-81*  

Условная гибкость пластины стены  

Устойчивость пластин в растянутой зоне проверяется только по касательным напряжениям t < tcr.

Результаты проверки устойчивости пластин приведены в табл. 24.

Для пластины 1 в соответствии с п. 4.29 допускается закритическая работа (n £ 2). Результаты проверки подтверждают устойчивость пластин стены.

Таблица 24

№ сечения (рис. 55)

№ пластин (рис. 58)

Вспомогательные величины

s, МПа

t, МПа

h1,

t,

m

scr, МПа

tcr, МПа

см

см

1

1

-

44

66

0,6

3,67

4,55

-

108

2

-

68

40

0,4

3,33

7,5

-

128

3

-

46

66

0,6

3,67

4,55

-

108

4

-

69

40

0,4

3,33

7,5

-

128

5

-

44

66

0,6

3,67

4,55

-

108

2

1

-77

22

66

0,6

3,67

4,55

83

108

2

-39

34

40

0,4

3,33

7,5

101

128

3

-

23

66

0,6

3,67

4,55

-

108

4

39

34

40

0,4

3,33

7,5

-

128

5

77

22

66

0,6

3,67

4,55

-

108

3

1

-103

-

66

0,6

3,67

4,55

83

-

2

-51

-

40

0,4

3,33

7,5

101

-

3

0

-

66

0,6

3,67

4,55

-

-

4

51

-

40

0,4

3,33

7,5

-

-

5

103

-

66

0,6

3,67

4,55

-

-

Продолжение таблицы 24

№ сечения (рис. 55)

№ пластин (рис. 58)

Результаты проверки

 

1

1

-

0,41<1

 

2

-

0,53<1

 

3

-

0,43<1

 

4

-

0,53<1

 

5

-

0,41<1

 

2

1

0,93

0,21

0,97<2

2

0,38

0,27

0,45<1

3

-

0,22<1

-

4

-

0,27<1

-

5

-

0,21<1

-

3

1

1,24<2

-

 

2

0,51<1

-

 

3

-

-

 

4

-

-

 

5

-

-

 

7.34. Стрингеры рассчитываются на изгиб по балочной схеме от местной нагрузки. Схема стрингера и эпюры нормальных напряжений приведены на рис. 59.

Рис. 59. Схема стрингера и эпюры нормальных напряжений

7.35. Сбор нагрузок на стрингеры приведен в табл. 25.

Таблица 25

Классификация нагрузок

Наименование нагрузки

Расчетная нагрузка q, кПа

стрингер покрытия

стрингер перекрытия

Постоянная

Собственный вес

0,6

0,48

Теплоизоляция

0,28

0,28

Длительная

Пыль

0,6

-

Кратковременная

Снег

1,8

-

Ремонтная

-

3,6

 

Итого

3,3

4,4

Ширина грузовой площади  

Линейная нагрузка на стрингер qстр =  qb', кН/м

1,5

2

7.36. Проверка несущей способности стрингеров (для середины пролета галереи - сечение 3, рис. 55) приведена в табл. 26. Геометрические характеристики стрингеров приняты по табл. 23.

Таблица 26

Схема загружения

Эпюра моментов

Элемент

qстр,

W1,

W2,

Опора

кН/м

см3

см3

sм1,

sм2,

кН×м

МПа

МПа

Покрытие

1,5

189

64

1,13

6

-18

Перекрытие

2

185

64

1,5

8

-23

Продолжение таблицы 26

Элемент

Пролет

sо.и (табл. 21), МПа

ås = sом+ sм, МПа

 

sм1,

sм2,

кН×м

МПа

МПа

Покрытие

0,57

-3

9

-140

158 < 235

Перекрытие

0,75

-4

12

-144

156 < 235

Прогибы стрингеров -  

7.37. Ригели шпангоута рассчитываются как разрезные однопролетные балки.

7.38. Сбор нагрузок на балки шпангоута приведен в табл. 27.

Таблица 27

Обозначение нагрузки

Классификация нагрузок

Наименование нагрузки

Расчетная нагрузка

балка покрытия

балка перекрытия

q, кПа

Постоянная

Собственный вес

1,05

0,63

Теплоизоляция

0,28

0,28

Длительная

Пыль

0,6

-

Промышленные проводки

0,11

-

Кратковременная

Снег

1,8

-

Ремонтная

-

3,6

 

Итого

3,8

4,5

 

Ширина грузовой площади b = 3 м

Линейная нагрузка на балку qb, кН/м

11,4

13,5

Р, кН

Длительная

На 1 стойку конвейера В = 1200 мм у = 2,5 т/м3 при шаге 3 м

-

11,8

7.39. Проверка несущей способности балок шпангоута приведена в табл. 28.

Таблица 28

Элемент

Схема загружения

Нагрузки

R,

М, кН×м

Сечение

кН

Покрытие

q = 11,4

42,8

80,2

135Б1

Перекрытие

кН/м 

74,2

140,9

140Б1

Продолжение таблицы 28

Элемент

Схема загружения

l,

W,

s,

 

см4

см3

мПа

Покрытие

10060

582

138

Перекрытие

15750

804

175

7.40. Расчет стойки шпангоута выполняется в соответствии с расчетной схемой, приведенной на рис. 60.

Рис. 60. Расчетная схема стойки

На стойку передаются реакции от поперечных балок покрытия и перекрытия и нагрузка от промышленных проводок:

Рпром = 1,87 × 3 = 5,6кН;

N = - 42,8 - 74,2 - 5,6 = 122,6 кН;

М = 5,6 × 0,3 = 1,7 кН×м.

7.41. Проверка устойчивости стойки в плоскости рамы шпангоута приведена в табл. 29.

Таблица 29

Усилия

Сечение

А,

W,

l1,

r,

s,

Устойчивость в плоскости

М, кН×м

N, кН

см2

см3

м

см

МПа

l

е, см

m

1,7

-122,6

120Ш1

38,6

275

2,8

8,3

38

34

1,1

1,4

0,2

Продолжение таблицы 29

Усилия

Сечение

А,

W,

l1,

r,

s, МПа

Устойчивость в плоскости

М, кН×м

N, кН

см2

см3

м

см

h

m1

jвн

 МПа

1,7

-122,6

120Ш1

38,6

275

2,8

8,3

38

1,75

0,35

0,81

39

Устойчивость стойки из плоскости рамы обеспечивается сдвиговой жесткостью обшивки.

7.42. Расчетная схема опорной рамы приведена на рис. 61.

Вертикальная нагрузка на раму

q = (3,84 + 1,8) 0,75 = 4,2 кН/м,

где 1,8 кПа - учет снегового мешка; 0,75 м - ширина грузовой площади ригеля.

Рис. 61. Расчетная схема опорной рамы

 кН;

,

где

qветр = qоg1kвысckд = 0,48 × 1,4 × 1,33 × 1,4 × 1,3 = 1,63 кПа.

Коэффициент высотности kвыс = 1,33 принят для отметки 27 м (тип местности А).

7.43. Усилия в элементах опорной рамы определены в табл. 30.

Таблица 30

Расчетная нагрузка

Усилия в ригеле

Усилия в стойке

Суммарные усилия

в ригеле

в стойке

М,

N,

М,

N,

М,

N,

М,

N,

кН×м

кН

кН×м

кН

кН×м

кН

кН×м

кН

q = 4,2 кН/м

16

4,4

16

16,4

-

-

-

-

Wn = 57,1 кН

102,8

28,6

102,8

26,4

119

33

119

770

N = 727 кН

-

-

-

727

-

-

-

-

7.44. Подбор сечения ригеля произведен в табл. 31.

Таблица 31

Усилия

Сечение

А,

f,

W,

s,

Проверка устойчивости

 

М,

N,

см2

см4

см3

МПа

jб

 

кН×м

кН

119

33

135Ш1

96

19790

1171

105

0,74

137

Коэффициент jб для ригеля определен как для балки без закрепления в пролете при равномерно распределенной нагрузке, приложенной к верхнему поясу.

7.45. Подбор сечения стойки приведен в табл. 32.

Таблица 32

Усилия

Сечение

А,

W,

rx,

rу,

lf,

lx

ly

s,

Проверка устойчивости

М,

N,

см2

см3

см

см

м

 

 

МПа

в плоскости рамы

кН×м

кН

mx

h

m1

jвн

s, мПа

119

770

130К1

108

1223

13

7,5

3,6

28

48

169

1,36

0,94

1,67

2,27

0,46

155

Продолжение табл. 32

Усилия

Сечение

А,

W,

rx,

rу,

lf,

lx

ly

s,

Проверка устойчивости

М,

N

см2

см3

см

см

м

 

 

МПа

из плоскости рамы

кН×м

кН

c

jy

s, МПа

119

770

130К1

108

1223

13

7,5

3,6

28

48

169

0,51

0,862

162

7.46. Определение динамических характеристик и исходных данных для динамического расчета производится в соответствии с указаниями разд. 3 и прил. 3.

Круговая частота вынужденных колебаний пролетного строения от конвейера определяется по формуле (1)

 

Круговая частота свободных (балочных) колебаний пролетного строения по 1 форме определяется по формуле (40): при L = 48 м; Е = 2,1 × 107 Н/см2; I = 1700 см2 × м2; g = 9,8 м/с2.

Погонная нормативная нагрузка q на пролетное строение, согласно прил. 3, определяется для двух сочетаний. Значения составляющих нагрузок приняты по табл. 19:

q1 = 56,1 - 4,95 - (9 + 3,75) 0,2 = 48,6 кН/м = 48 600 Н/м;

q2 = [56,1 - 4,95 - (9 + 3,75)] 0,9 = 34,6 кН/м = 34 600 Н/м;

Определение границ частотной зоны:

 

 

График рабочих частот приведен на рис. 62. Так как w > q²1, то систематические резонансные колебания пролетного строения исключены.

Рис. 62. График рабочих частот

Пролетные строения с несущими конструкциями из круглых цилиндрических оболочек

7.47. Характеристика конвейера, транспортируемого груза, требования к галерее и технологические нагрузки приняты по заданию технологической организации, к примеру, расчета пролетного строения с несущими конструкциями из сварных двутавровых балок (п. 7.4).

7.48. Галерея для одного конвейера с шириной ленты В = 1000 мм состоит из двух пролетных строений пролетами 48 + (48 + 6) м, двух плоских и одной пространственной опоры. Схема галереи показана на рис. 63. Поперечное сечение галереи - на рис. 64. Габариты поперечника определяются условиями транспортировки и не соответствуют габаритам по табл. 1.

Рис. 63. Схема галереи

Рис. 64. Поперечное сечение галереи

7.49. Галерея утеплена минераловатными плитами толщиной 60 мм, облицована изнутри профилированным стальным листом.

7.50. Пролетное строение галереи представляет собой замкнутую цилиндрическую оболочку диаметром D = 3,2 м. На I участке (рис. 65) толщина оболочки принята t = 6 мм, на II участке толщина верхнего полуцилиндра t1 = 8 мм, нижнего - t2 = 6 мм. Оболочка изнутри подкреплена шпангоутами с шагом 3 м. Перекрытие галереи состоит из системы продольных балок, опирающихся на поперечные. Полы в поперечном направлении предусмотрены горизонтальными, без лотков. Суммарная ширина проходов П = 1 м. Материал - углеродистая сталь, Ry = 235 Мпа, Rs = 0,5Ry = 136 МПа.

7.51. Расчетные нагрузки на галерею приведены в табл. 33.

Таблица 33

Классификация нагрузки

№ п. п.

Наименование нагрузки

Единица измерения

Нормативная нагрузка

Коэффициент надежности по нагрузке

Расчетная нагрузка

Пункт Пособия

Постоянная

1

Оболочка

кН/м

5

1,05

5,33

 

2

Шпангоуты

кН/м

0,45

1,05

0,47

 

3

Пол (балки и настил)

кН/м

2,47

1,05

2,59

 

4

Теплоизоляция

кН/м

1,71

1,2

2,05

 

 

Итого

кН/м

 

 

10,44

 

Длительная

5

Промышленные проводки

кН/м

3,4

1,1

3,74

п. 3.7

6

Пыль на оболочке

кН/м

0,98

1,2

1,18

п. 3.19

 

Итого

кН/м

 

 

4,92

 

Кратковременная

7

Ремонтная от массы людей, оборудования

кН/м

1,5´1

1,3

1,95

п. 3.9

8

Снеговая по IV району

кН/м

2,94

1,4

4,12

п. 3.17

9

Ветровая по IV району на отметке 10 м

кПа

0,48

1,4

0,67

п. 3.18

Длительная

От конвейера В = 1000 мм у = 2,5 т/м3

10

Вертикальная

кН

8,1´2

1,1

17,8

п. 3.6

11

Продольная

кН

1,45´2

1,1

3,2

п. 3.6

Особая

Аварийные нагрузки

12

От заклинивания ленты

кН

100

1,1

110

п. 3.10

13

Просыпь под конвейером

кН/м

3,75

1,2

4,5

п. 3.9

Примечания: 1. Нагрузка от массы металлоконструкций по пп. 1 - 3 соответствует общей линейной нагрузке qсв = 8 кН/м. 2. Равномерно распределенная нагрузка по п. 4 от теплоизоляции с плотностью у = 0,26 т/м3 и толщиной t = 60 мм составляет 170 Па. Линейная нагрузка от теплоизоляции на пролетное строение qтепл = 170p × 3,2 = 1,71 кН/м. 3. Схема распределения нагрузки от пыли и снега по покрытию принята по СНиП 2.01.07-85, прил. 3, профиль покрытия и схема снеговой нагрузки 2 (величина m1 принята равной 0,8). 4. Нагрузка от пыли по п. 6 принимается qпыли = qпыли(о)Dcos40°m1 = 0,5 × 3,2 × 0,766 × 0,8 = 0,98 кН/м. 5. Нагрузка от снега по п. 8 принимается qcн = qch(o) Dcos40°m1 = 1,5 × 3,2 × 0,766 × 0,8 = 2,94 кН/м. 6. Величина расчетной ремонтной нагрузки по п. 7 для расчета балок перекрытия принимается qрем = 1,2yyI = 1,2 × 2,5 × 1,2 = 3,6 кПа. Нагрузка прикладывается по всей длине пролета балки. 7. Нагрузка ветровая по п. 9 дана без учета коэффициентов динамичности и увеличения скоростного напора в зависимости от высоты. 8. Нагрузка от просыпи под конвейером по п. 13 принята по СНиП 2.09.03-85: qпрос = 1,5уВ = 1,5 × 2,5 × I = 3,75 кН/м.

7.52. Пролетное строение галереи рассчитывается на изгиб. Расчетная схема пролетного строения и эпюры усилий приведены на рис. 65. Геометрическая схема оболочки приведена на рис. 66.

Рис. 65. Расчетная схема пролетного строения и эпюры усилий

Рис. 66. Геометрическая схема оболочки

7.53. Определение вертикальной расчетной линейной нагрузки (кН/м) на пролетное строение приведено в табл. 34.

qрасч. = qнopм.gljlj2.

В качестве расчетной линейной нагрузки на пролетное строение принимается нагрузка особого сочетания qрасч = 28 кН/м.

Таблица 34

Сочетание нагрузок

Обозначение нагрузок коэффициентов

Строительная нагрузка

Технологическая нагрузка

От атмосферных воздействий

Итого

металлоконструкции пролетного строения

теплоизоляция

от конвейера

промыш­ленные проводки

ремонт­ная

просыпь под конвейером

снег

пыль на по­крытии

Основное

q

8

1,71

5,4

3,4

1,5

 

2,94

0,98

23,9

g1

1,05

1,2

1,1

1,1

1,3

 

1,4

1,2

 

j1

0,95

0,95

0,95

0,95

0,95

 

0,95

0,95

 

j2

1

1

1

1

0,9

 

0,9

1

 

qрасч

7,98

1,96

5,64

3,53

1,67

 

3,52

1,12

25,5

Особое

qнорм

8

1,71

5,4

3,4

 

3,75

2,94

0,98

26,2

g1

1,05

1,2

1,1

1,1

 

1,2

1,4

1,2

 

j1

0,95

0,95

0,95

0,95

 

0,95

0,95

0,95

 

j2

1

1

1

1

 

1

0,8

1

 

qрасч

7,98

1,96

5,64

3,53

 

4,28

3,13

1,12

28

7.54. В качестве расчетных сечений приняты сечения 2, 3, 4 (рис. 65) на расстоянии от опоры  

В табл. 35 приведены расчетные усилия в оболочке пролетного строения.

Таблица 35

№ сечения

М, кН×м

Q, кН

2

3548

504

3

6064

336

4

8064

0

7.55. Проверка несущей способности пролетного строения выполнена по СНиП II-23-81* в п. 8.5 и приведена в табл. 36. Эпюры напряжений в оболочке приведены в табл. 37.

Таблица 36

№ сечения (рис. 65)

М, кН×м

Q, кН

t1, см

t2, см

А, см2

уо, см

lx×10-6, ñì4

Wx××10-4,  см3

s1, МПа

sI, МПа

t, МПа

r t1

j

2

3548

504

0,6

0,6

7,81

4,86

‑73

73

17

268

0,62

3

6064

336

0,6

0,6

7,81

4,86

‑125

125

11

268

0,62

4

8064

 

0,8

0,6

706

14,6

8,97

6,14

‑135

157

0

201

0,71

Продолжение таблицы 36

№ сечения (рис. 65)

с

scr1 = jRy, МПа

 МПа

tcr, МПа

s1<scr, МПа

 

2

0,166

145

130

156

88

73<156

0,5<1

3

0,166

145

130

156

88

125<156

0,82<1

4

0,180

166

188

202

135<202

-

Примечания: 1. Устойчивость оболочки проверяется по формуле (32). 2. Действующие нормальные и касательные напряжения в оболочке определяются по формуле (25). 3. Нормальные напряжения в оболочке от продольных усилий не учитываются ввиду их малости. 4. Критические нормальные напряжения определяются по формулам (26) и (27), критические касательные напряжения - по формуле (31).

Таблица 37

№ сечения

Геометрическая схема оболочки

Эпюра s, МПа

Эпюра t, МПа

2

3

4

t = 0

7.56. Определение прогиба галереи в середине пролета как для однопролетной балки

 

где

7.57. В соответствии с п. 4.45 выполнение расчета шпангоутов без использования ЭВМ не рекомендуется и не приводится в пример расчета в связи с высокой степенью трудоемкости его выполнения.

7.58. Расчет поперечных и продольных балок перекрытия не приводится в связи с его простотой.

ПРИЛОЖЕНИЕ 1

Минимальная нормативная ширина проходов

1. Согласно ГОСТ 12.2.022-80*, минимальная ширина основного прохода для обслуживания конвейеров должна быть:

0,75 м - для конвейера, обслуживаемого с одной стороны;

1 м - между параллельно установленными конвейерами.

Ширина основных проходов между параллельно установленными конвейерами, закрытыми по всей трассе жесткими или сетчатыми ограждениями, может быть уменьшена до 0,7 м.

При наличии в основном проходе строительных конструкций (колонн, пилястр и т.д.), создающих местное сужение прохода, расстояние между ними и станиной конвейера должно быть не менее 0,5 м. При длине сужения до 1 м эти участки прохода должны иметь сетчатое ограждение со стороны конвейера.

Ширина вспомогательных проходов для монтажа и ремонта конвейеров должна быть не менее 0,4 м.

Высота проходов в галереях до низа выступающих конструкций или коммуникационных зон должна быть в чистоте не менее 1,9 м.

2. Минимальный размер прохода для конвейеров с шириной ленты 650, 800, 1000 и 1200 мм должен быть с одной стороны 700 мм, а с другой - 800 мм, для конвейеров с шириной ленты 1400, 1600 и 2000 мм - по 800 мм с каждой стороны [1].

ПРИЛОЖЕНИЕ 2

Нагрузки от средней части конвейера

К нагрузкам от прямолинейных участков средней части конвейера относятся вес транспортируемого груза qr, опорных металлоконструкций qк, ленты qл, роликоопор qр.р.

Нормативные статические линейные нагрузки от массы транспортируемого груза и элементов средней части конвейеров с шириной ленты от 650 до 2000 мм для наиболее распространенных технологических параметров приведены в таблице прил. 2 [2].

Ниже даны пояснения по определению каждой из этих нагрузок и некоторые ограничения по их применению.

Линейная нагрузка от массы транспортируемого груза qr в Н/м в таблице принята для ряда значений насыпной плотности груза g от 0,8 до 3,2 т/м3 с интервалом 0,2 - 0,4. Для промежуточных значений насыпной плотности рекомендуется принимать расчетные нагрузки по интерполяции.

Линейные нагрузки от массы транспортируемого груза определяются из условий нормального (оптимального) заполнения поперечного сечения верхней ветви ленты с помощью питателей. Для определения этих нагрузок приняты следующие исходные данные: роликоопоры желобчатые с тремя роликами, угол наклона боковых роликов 30°, угол наклона конвейера 0 - 10°, угол естественного откоса груза в покое 40 - 45°.

Схема нагрузок от средней части конвейера

При отсутствии регулируемых питающих устройств в узле загрузки конвейера, а также в ряде других случаев, при которых возможно максимальное заполнение ленты (заполнение всей ширины ленты грузом с «шапкой»), линейная нагрузка от массы груза возрастает. В этих условиях предлагаемые линейные нагрузки подлежат соответствующей корректировке.

При проектировании галерей с большими углами наклона (св. 12 - 14°), галерей для конвейеров с шириной ленты, принятой с завышением по условиям эксплуатации (с целью максимального уменьшения просыпи), фактические линейные нагрузки от массы груза могут быть меньше, чем приведенные в таблице прил. 2. В этих случаях нагрузка определяется по расчетной производительности конвейера Q

qr = Qg/36v,

где g = 10 м/с2 - ускорение свободного падения; v -скорость ленты, м/с.

Линейная нагрузка от массы ленты qл.ср в Н/м принята для резинотканевых лент. Для резинотросовых лент к значениям нагрузок, приведенным в таблице, необходимо прибавить:

для лент шириной 1200 мм - 250 Н/м,

»         »          »                      1400 » - 300 »,

»         »          »                      1600 » - 450 »,

»         »          »                      2000 » - 550 ».

При определении линейной нагрузки от массы роликоопор Qр.р (Н/м) общие массы одной (рядовой) роликоопоры верхней и нижней ветвей ленты (кг) приняты по оборудованию общего назначения [2,4].

Вес роликоопор Qр.р включает вес вращающихся частей роликоопор верхней и нижней ветвей ленты (q'p и q''p), а также вес неподвижных частей. Шаг роликоопор верхней и нижней ветвей равен 1 и 3 м.

Для участков конвейера с центрирующими роликоопорами в таблице прил. 2 дана линейная приведенная нагрузка qр.пр, учитывающая вес рядовых и центрирующих роликоопор. Нагрузка определена по данным [4].

При конвейерах, предназначенных для транспортирования грузов с размером наибольших кусков 500 - 600 мм, нагрузки от роликоопор и металлоконструкций конвейера, приведенные в прил. 2, должны быть изменены.

Ширина ленты В, мм

Нормативные статические линейные нагрузки, Н/м

вес груза qr при насыпной плотности груза g, т/м3

0,8

1

1,2

1,4

1,6

1,8

2

2,4

2,8

3,2

650

340

420

510

600

680

760

850

1000

1200

1350

800

520

640

770

900

1050

1150

1300

1550

1800

2050

1000

800

1000

1200

1400

1600

1800

2000

2400

2800

3200

1200

1150

1450

1750

2000

2300

2600

2900

3500

4050

4600

1400

1600

2000

2350

2750

3150

3600

3950

4700

5500

6300

1600

2050

2600

3100

3600

4100

4600

5100

6150

7200

8200

2000

3200

4000

4800

5600

6400

7200

8000

9600

11200

12800

Продолжение

Шири на ленты, В, мм

Нормативные статические линейные нагрузки, Н/м

вес одной ветви резинотканевой ленты qл.ср

вес роликоопор верхней и нижней ветвей ленты на участках

вес металлоконструкций (стойки, секции, ограждения) qк при g, т/м3

без центрирующих роликоопор qр.p при g, т/м3

с центрирующими роликоопорами qp.пр  при g, т/м3

<1,6

³1,6

<l,6

³1,6

<1,6

³1,6

650

110

250

250

-

-

450

600

800

140

460

750

1100

1200

550

650

1000

170

520

900

1250

1350

600

750

1200

200

600

1100

1450

1650

700

850

1400

240

1000

1750

1600

2200

800

1000

1600

280

1400

2100

2500

2800

1100

1300

2000

350

2600

2600

3600

3600

1300

1500

Примечание. Для наклонных галерей нагрузки даны по длине галереи, а не по се горизонтальной проекции.

Линейная нагрузка от массы металлоконструкций средней части конвейера общего назначения qк (Н/м) определена в соответствии с данными рабочих чертежей, технологической организации.

На основании данных табл. прил. 2 составлены табл. 4, 5 по нижеприведенным зависимостям.

Вертикальная сила на одну опору стойки конвейера Qв (см. рис. 8) определяется по формуле

Qв = 0,5l0[kд(qr + 2qл.ср) + qр.пр + qк],

где kд - коэффициент динамичности (п. 3.6); l0 - шаг стоек конвейера (рис. 8).

Обозначения нагрузок приняты по данным прил. 2.

Продольная сила Qп, передающаяся от конвейера через одну опору стойки, вычисляется по формуле

,

где t0 = [0,5qл.ср + qr + q¢p - 0,5q²p] wkп cosa; w - коэффициент сопротивления движению ленты при установившемся режиме: kп = 1,5 - коэффициент увеличения сопротивления движению ленты при пуске; tп = 0,la(q¢p - q²p) - продольная нагрузка, вызываемая разностью сил инерции вращения роликов верхней и нижней ветви: tск = (qr + 2qл)sina - продольная составляющая от веса ленты и груза, на ней, ; но не более 5 м/с2 - ускорение ленты.

ПРИЛОЖЕНИЕ 3

Определение частот свободных колебаний пролетного строения и динамических коэффициентов

1. При расчете галереи допускается ограничиваться определением первой (низшей) частоты свободных колебаний пролетного строения по балочной схеме.

2. Определение частоты свободных колебаний галерей, возможно, выполнять с использованием как плоской, так и пространственной расчетных схем.

3. Для галерей прямоугольного поперечного сечения пространственная расчетная схема пролетного строения для динамического расчета принимается в виде двух продольных балок (ферм) и опирающихся на них поперечных балок покрытия и перекрытия. Массы учитываемых в расчете нагрузок приводятся к этим балкам.

4. Уменьшение величины частоты свободных колебаний, вызванное уточнением расчета при использовании пространственной схемы, составляет для галерей с прямоугольным поперечным сечением не более 20 %. Основным фактором, определяющим величину этого уточнения является отношение ширины пролетного строения к пролету. Для галерей с круглым поперечным сечением учет пространственной расчетной схемы мало изменяет результаты расчета по плоской схеме.

5. При определении частоты свободных колебаний учитываются массы, соответствующие нормативным нагрузкам.

6. В связи с тем, что линейная масса пролетного строения с учетом всех видов нагрузок изменяется в процессе эксплуатации, необходимо определять наибольшее и наименьшее значения частоты q1, соответствующие двум сочетаниям нагрузок. Сочетание 1 состоит из строительных, атмосферных (снег и пыль на покрытии с понижающим коэффициентом 0,8) и длительных технологических нагрузок. В сочетании 2 исключаются атмосферные нагрузки, на остальные нагрузки вводится коэффициент 0,9.

7. Частота свободных колебаний пролетного строения при расчете по плоской схеме определяется зависимостью

где EI, L - жесткость при изгибе и длина пролетного строения; g - ускорение свободного падения; q1(i = 1,2) - линейная нагрузка на пролетное строение, определяемая по п. 6 настоящего приложения.

8. Частота свободных колебаний пролетного строения прямоугольного поперечного сечения с учетом пространственной схемы определяется выражением

где m = 1/[1 + 0,81(e1x1 + e2x2)]; коэффициент  определен в табл. 1 в зависимости от соотношения масс ei, и жесткостей покрытия и перекрытия xi:

 

 

где ;

li - шаг поперечных балок покрытия или перекрытия; т - линейная масса пролетного строения в целом; тi, Ei, Ii - линейные массы и изгибные жесткости покрытия или перекрытия; b - ширина галереи.

Таблица 1

e1x1 + e2x2

0

0,1

0,2

0,3

0,4

0,5

0,6

0,7

 

1

0,96

0,93

0,89

0,87

0,84

0,82

0,8

9. Формы колебаний пролетного строения в целом и поперечных балок определяются следующим образом:

динамический прогиб основных балок или ферм - с помощью балочных функций со значением в середине пролета равным единице;

динамические прогибы поперечных балок галерей с конвейерами на перекрытии и прямоугольным поперечным сечением аппроксимируются кубическими параболами с максимальными значениями при единичном смещении опор, определяемыми для низшей собственной формы по формуле

где hi - амплитуды динамических прогибов балок покрытия (i = 1) и перекрытия (i = 2).

10. Значение коэффициента неупругого сопротивления gнс принимается равным:

для отапливаемых галерей с металлическими несущими конструкциями gнс = 0,025;

для неотапливаемых галерей с металлическими несущими конструкциями gнс = 0,02.

11. Расчетные значения динамических напряжений (усилий) в продольных элементах ферм пролетного строения определяются умножением статических напряжений (усилий) на коэффициент, определяемый по формуле

Если в галерее располагаются два конвейера с совпадающими значениями номинальных частот динамических нагрузок, то коэффициент kД определяется по формуле

где kДj - коэффициент, определяемый для j-ого конвейера (j = 1,2), т - линейная масса пролетного строения с учетом масс всех временных нагрузок, включаемых в расчетную нагрузку на галерею; l, lр - длина пролета и расстояние между роликоопорами верхней ветви ленты; y - коэффициент приведения нагрузок, определяемый по табл. 2 в зависимости от отношения расстояния между продольной осью конвейера и ближайшей основной фермой, балкой или стенкой прямоугольной галереи-оболочки Xk к ширине галереи b и параметра h2.

Таблица 2

h2

xk/b

0

0,05

0,10

0,15

0,20

0,25

0,30

0,35

0,4

0,45

0,5

0

1

1

1

1

1

1

1

1

1

1

1

3,0

1,0

1,47

1,93

2,36

2,76

3,12

3,43

3,67

3,85

3,96

4,00

Для промежуточных значений величин xk/b и h2 коэффициент определяется с помощью линейной интерполяции.

y1, y2 - коэффициенты, учитывающие влияние деформативности поперечных балок покрытия и перекрытия на приведенную массу пролетного строения, определяемые по табл. 3.

Таблица 3

Значения параметров yi (i = 1,2)

e1

Значения параметров xI = mxi

0,04

0,08

0,12

0,16

0,20

0,24

0,28

0,32

0,36

0,05

0,00

0,01

0,01

0,02

0,02

0,03

0,04

0,05

0,06

0,65

0,04

0,09

0,16

0,21

0,30

0,39

0,49

0,61

0,77

Продолжение таблицы 3

e1

Значения параметров xI = mxi

0,40

0,44

0,48

0,52

0,56

0,60

0,64

0,68

0,05

0,07

0,09

0,11

0,14

0,17

0,21

9,27

0,36

0,65

0,94

1,16

1,43

1,76

2,20

2,77

3,54

4,63

Примечание. Значения параметров y1, y2 для промежуточных значений e1, e2 определяются по линейной интерполяции.

Среднеквадратическое значение распределенной по длине трассы конвейера динамической нагрузки РД, Н/м, определяется по формуле

РД = 0,027dpw2îD,

где  mл, mr - линейные массы ленты и транспортируемого груза, кг/м; mр, mх - линейные массы роликов верхней и нижней ветвей ленты, кг/м; lp, lx - шаги роликоопор тех же ветвей, м.

Величины динамической нагрузки для стандартных скоростей и ширины ленты в зависимости от насыпной плотности груза и диаметров роликов верхней ветви приведены в табл. 4.

Таблица 4

Среднеквадратические значения динамических нагрузок от конвейеров (РД), Н/м

Скорость движения ленты v, м/с

Среднее значение частоты wо, с-1 (dp = 0,159 м)

Ширина конвейерной ленты В, мм

800

l000

1200

1400

Насыпная плотность груза g (т/м3)

1,0

3,5

1,0

3,5

1,0

3,5

1,0

3,5

1,6

20,13

69

96

83

126

104

165

172

258

2,0

25,16

107

149

l29

197

163

258

269

402

2,5

31,45

168

234

202

308

255

403

421

629

3,15

39,62

266

371

320

489

404

640

668

998

3,5

44,03

329

458

395

603

499

791

825

1233

4,0

50,31

429

598

516

788

652

1032

1077

1609

Продолжение табл. 4

Скорость движения ленты v, м/с

Среднее значение частоты wо, с-1 (dp = 0,159 м)

Ширина конвейерной ленты В, мм

1600

2000

Насыпная плотность груза g (т/м3)

1,0

3,5

1,0

3,5

1,6

16,49

154

237

195

327

2,0

20,62

241

371

305

511

2,5

25,77

376

580

477

799

3,15

32,47

597

920

758

1268

3,5

36,08

738

1136

935

1566

4,0

41,24

964

1484

1222

2045

Примечание. Динамические, нагрузки для промежуточных значений насыпной плотности груза g определяются по линейной интерполяции.

12. Расчетные значения динамических изгибающих моментов в середине пролета МрД, кН×м, и динамических поперечных сил QрД, кН, на опорах поперечных балок покрытия (i = 1 ) и перекрытия (i = 2) по первой форме свободных колебаний определяются соотношениями:

 

 

где Di - прогибы балок покрытия (i = 1) или перекрытия (i = 2) от нормативных нагрузок.

13. Расчет на прочность основных продольных элементов пролетного строения и балок покрытия и перекрытия выполняется по формуле

где  - расчетное напряжение в элементе от статической нагрузки, МПа;  - расчетное напряжение в элементе от динамической добавки, МПа; Ry - расчетное сопротивление материала, МПа.

14. Проверка выносливости элементов пролетного строения может быть выполнена по указаниям разд. 9 СНиП II-23-81*.

ПРИЛОЖЕНИЕ 4

Редукционные коэффициенты j для ребристых пластин с погибью со и поперечной нагрузкой q

q, КПа

Сжатие

Растяжение

 

 

0,5

1

1,5

2

0,5

1

1,5

2

0

-

1

740

645

593

563

‑1

897

772

655

593

2

663

610

576

554

‑2

919

827

708

617

3

621

588

564

548

‑3

923

850

756

650

4

596

573

555

542

‑4

934

879

794

691

 

 

 

 

 

‑5

937

893

821

722

2,5

100

1

701

624

581

556

‑1

860

728

630

579

2

642

597

568

549

‑2

893

787

669

598

3

609

579

558

543

‑3

910

827

719

613

4

588

566

551

539

‑4

919

854

760

650

 

 

 

 

 

‑5

925

871

791

695

133

1

640

590

562

544

‑1

763

650

589

558

2

607

574

553

539

‑2

813

700

613

568

3

586

563

547

535

‑3

853

740

658

583

4

572

554

542

532

‑4

874

787

684

602

 

 

 

 

 

‑5

889

815

721

630

166

1

573

551

537

528

‑1

613

570

547

534

2

562

545

534

526

‑2

607

585

554

537

3

553

540

531

524

‑3

690

606

563

542

4

547

536

528

523

‑4

731

633

576

547

 

 

 

 

 

‑5

766

669

593

555

200

1

530

523

518

515

‑1

536

526

520

516

2

527

521

517

514

‑2

540

529

522

517

3

525

520

516

513

‑3

545

531

523

518

4

524

519

516

513

‑4

552

535

525

519

 

 

 

 

 

‑5

560

539

527

520

5

100

1

669

607

571

550

‑1

816

688

609

562

2

624

585

560

544

‑2

861

746

629

582

3

597

571

552

539

‑3

886

792

683

602

4

580

560

546

536

‑4

901

824

724

631

 

 

 

 

 

‑5

910

847

759

663

133

1

588

560

543

532

‑1

640

536

556

539

2

572

552

538

529

‑2

692

609

566

544

3

561

546

535

527

‑3

741

643

580

550

4

553

541

532

525

‑4

780

677

598

558

 

 

 

 

 

‑5

809

714

622

569

166

1

531

524

519

515

‑1

538

528

521

517

2

529

522

518

515

‑2

543

530

523

518

3

527

521

517

514

‑3

548

533

525

519

4

525

520

516

513

‑4

556

537

527

520

 

 

 

 

 

‑5

566

542

529

521

200

1

509

508

507

506

‑1

510

509

507

506

2

509

508

507

506

‑2

510

509

507

506

3

509

508

507

506

‑3

511

509

508

506

4

509

507

506

506

‑4

511

509

508

507

 

 

 

 

 

‑5

512

509

508

507

Примечания: 1. Значения коэффициентов увеличены в 1000 раз. 2. Условные обозначения: sp - напряжение в контурных продольных ребрах листа обшивки; sсrэ - критическое напряжение сжатия в том же листе, t - толщина листа, h1 - ширина листа.

ПРИЛОЖЕНИЕ 5

Задание технологической организации на проектирование строительной части галереи

¾¾¾¾ ленточного конвейера №__________ объекта ¾¾¾¾

предприятия №¾¾¾¾¾¾

Характеристика галереи и конвейера

Схема трассы конвейера

Угол наклона галереи a

Число конвейеров

Условия отопления и вентиляции

Способ уборки пыли и просыпи

Степень огнестойкости

Ширина ленты конвейера, мм

Расстояние между осями стоек станины Г1, мм

Диаметр роликов роликоопоры верхней ветви d¢p, мм

Шаг роликоопор верхней ветви l¢p

Скорость ленты v, м/с

Коэффициент сопротивления движению ленты w

Расположение приводных и натяжных устройств: соосное или несоосное (указывается для двух конвейерных галерей)

Специальные требования

Характеристика транспортируемого груза

Насыпная плотность g, т/м3

Влажность, %

Температура, °С

Пылящий, непылящий

Агрессивность к строительным конструкциям

Сгораемый - несгораемый

Взрывоопасный - невзывоопасный

Нормативные технологические нагрузки на одну опору стойки конвейера

Вертикальная Qв, кН

Продольная Qn, кН

Подпись

 




ГОСТЫ, СТРОИТЕЛЬНЫЕ и ТЕХНИЧЕСКИЕ НОРМАТИВЫ.
Некоммерческая онлайн система, содержащая все Российские Госты, национальные Стандарты и нормативы.
В Системе содержится более 150000 файлов нормативно-технической документации, действующей на территории РФ.
Система предназначена для широкого круга инженерно-технических специалистов.

Рейтинг@Mail.ru Яндекс цитирования

Copyright © www.gostrf.com, 2008 - 2026