Крупнейшая бесплатная информационно-справочная система онлайн доступа к полному собранию технических нормативно-правовых актов РФ. Огромная база технических нормативов (более 150 тысяч документов) и полное собрание национальных стандартов, аутентичное официальной базе Госстандарта. GOSTRF.com - это более 1 Терабайта бесплатной технической информации для всех пользователей интернета. Все электронные копии представленных здесь документов могут распространяться без каких-либо ограничений. Поощряется распространение информации с этого сайта на любых других ресурсах. Каждый человек имеет право на неограниченный доступ к этим документам! Каждый человек имеет право на знание требований, изложенных в данных нормативно-правовых актах!

  


 

МЕЖГОСУДАРСТВЕННЫЙ СТАНДАРТ

ИЗОЛЯТОРЫ КЕРАМИЧЕСКИЕ ОПОРНЫЕ НА НАПРЯЖЕНИЕ СВЫШЕ 1000 В ДЛЯ РАБОТЫ В ПОМЕЩЕНИИ

Типы, основные параметры и размеры

Base ceramic indoor insulators for systems with nominal voltage over 1000 V. Types, basic parameters and dimensions

ГОСТ
19797-85

Дата введения 01.01.87

1. Настоящий стандарт распространяется на опорные керамические армированные изоляторы климатического исполнения У, УХЛ, Т категории размещения 2, 3 по ГОСТ 15150, предназначенные для изоляции и крепления токоведущих частей в электрических аппаратах и распределительных устройствах.

Настоящий стандарт устанавливает типы, основные параметры и размеры изоляторов, изготовленных для нужд народного хозяйства и экспорта.

Изоляторы должны соответствовать требованиям ГОСТ 9984*.

* На территории Российской Федерации действует ГОСТ Р 52034-2003.

Стандарт полностью соответствует СТ СЭВ 5021-85.

(Измененная редакция, Изм. № 1, 2).

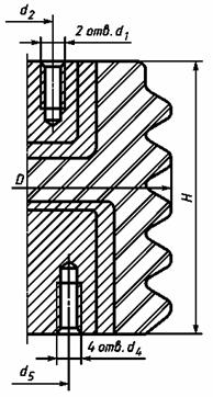
2. Типы, основные параметры, размеры и коды ОКП изоляторов должны соответствовать указанным на черт. 1 - 3, 5, 6, 8 - 19 и в таблице.

В условном обозначении вновь разрабатываемых типов изоляторов, основные параметры и размеры которых указаны на черт. 1 и в таблице, буквы и цифры означают:

И - изолятор;

4, 8, 16, 25 - минимальная разрушающая сила на изгиб (разрыв), кН;

80, 125, 170, 195 - испытательное напряжение грозового импульса, кВ;

УХЛ - климатическое исполнение;

3 - категория размещения.

Пример условного обозначения при заказе изолятора опорного армированного керамического с минимальной разрушающей силой на изгиб (разрыв) 4 кН, испытательным напряжением грозового импульса 80 кВ, климатического исполнения УХЛ, категории размещения 3:

И4-80 УХЛ3 ГОСТ 19797-85

В условном обозначении изоляторов, основные параметры и размеры которых указаны на черт. 2 - 15 и в таблице, буквы и цифры означают:

И - изолятор;

О - опорный;

Р - ребристый;

6, 10, 20, 35 - номинальное напряжение;

3,75; 7,50; 20,00; 30,00 - минимальная разрушающая сила на изгиб (разрыв), кН;

I, II, III - вариант исполнения;

У, УХЛ, Т - климатическое исполнение;

2, 3 - категория размещения.

Пример условного обозначения при заказе изолятора опорного армированного керамического на номинальное напряжение 10 кВ с минимальной разрушающей силой на изгиб (разрыв) 3,75 кН, климатического исполнения У, категории размещения 3:

ИО-10-3,75 У3 ГОСТ 19797-85

Черт. 1

Черт. 2

Черт. 3

Черт. 5*

* Черт. 4. (Исключен, Поправка).

Черт. 6

Черт. 8*

* Черт. 7. (Исключен, Поправка).

Черт. 9

Черт. 10

Черт. 11

Черт. 12

Черт. 13

Черт. 14

Черт. 15

Черт. 16

Черт. 17

Черт. 18

Черт. 19


Размеры в мм

Условное обозначение типа изолятора

Номер чертежа

Код ОКП

Номинальное напряжение, кВ

Наибольшее допустимое напряжение, кВ

Испытательное напряжение грозового импульса, кВ

Минимальная разрушающая сила на изгиб, кН

Высота изолятора, Н

Номинальное значение максимального диаметра изолятора D

Установочные размеры

Масса, кг, не более

Номин.

Пред. откл

Верхняя арматура

Нижняя арматура

d

d1

d2

d6

d3

d4

d5

d7

P0

P50

Номин.

Пред. откл

Номин.

Пред. откл

И4-80 УХЛ3

1

34 9341 0082

10

12,0

80

4,00

2,90

130

±1

75

М12

М6

36

±0,5

60

М16

-

-

-

70

1,40

И8-80 УХЛ3

34 9341 0083

8,00

5,80

100

М16

М10

46

70

95

2,20

И16-80 УХЛ3

 

16,00

11,60

125

66

95

М20

115

 

И25-80 УХЛ3

 

25,00

18,00

160

115

140

 

И4-125 УХЛ3

34 9341 0084

20

24,0 (25,0)

125

4,00

3,20

210

85

М12

М6

36

60

М16

80

2,50

И8-125 УХЛ3

34 9341 0085

8,00

6,45

125

М16

М10

46

70

М20

115

5,40

И16-125 УХЛ3

 

16,00

13,00

140

66

95

130

 

И25-125 УХЛ3

34 9341 0088

25,00

20,00

170

115

М24

150

13,50

И4-170 УХЛ3

 

30

36,0

170

4,00

3,40

300

105

М12

М6

36

60

М16

100

 

И8-170 УХЛ3

 

8,00

6,85

130

М16

М10

46

70

М24

120

 

И4-195 УХЛ3

34 9341 0086

35

40,5

195

4,00

3,50

355

115

М12

М6

36

60

М16

100

7,00

И8-195 УХЛ3

34 9341 0087

8,00

7,00

145

М16

М10

46

70

М24

120

11,50

И4-60 УХЛ, Т2

16

34 9341 0098

6

7,2

60

4,00

2,70

95

90

М12

М6

36

-

М16

-

1,20

И4-60 I УХЛ, Т2***

5

34 9341 0099

8,70

±2

85

-

М8

18

М12

И4-80 УХЛ, Т2

16

34 9341 0101

10

12,0

80

2,90

130

±1

105

М12

М6

36

М16

2,20

И4-80 I УХЛ, Т2

5

34 9341 0102

120

±2

-

М8

18

М12

2,10

И4-80 II УХЛ, Т2

17

34 9341 0109

96

1,70

И8-80 УХЛ, Т2

16

34 9341 0103

8,00

5,80

130

±1

110

М16

М10

46

М16

2,75

И8-80 I УХЛ, Т2

5

34 9341 0104

124

±2

-

23

И16-80 УХЛ, Т2

16

34 9341 0105

16,00

11,60

130

±1

125

М16

М12

66

М20

М12

40

±0,5

4,00

И16-80 I УХЛ, Т2

18

34 9341 0106

±2

140

-

25

-

5,40

И8-125 УХЛ, Т2

16

34 9341 0107

20

24,0 (25,0)

125

8,00

6,45

210

±1

130

М16

М10

46

М20

-

-

-

6,60

И8-125 I УХЛ, Т2

19

34 9341 0108

±2

М24

-

-

-

М24

6,20

ИО-6-3,75 I У3**

2

34 9341 0005

6

7,2

60

3,75

-

100

77

М10

М12

1,10

ИО-6-3,75 II У3*

3

34 9341 0065

-

М8

18

±0,5

1,20

ИОР-6-3,75 УХЛ, Т2

5

34 9341 0052

84

ИО-10-3,751 У3**

2

34 9341 0010

10

12,0

80

120

82

М10

-

-

-

1,50

ИО-10-3,75 II У3*

3

34 9341 0066

-

М8

18

±0,5

ИОР-10-7,50 II УХЛ, Т2

5

34 9341 0080

7,50

112

М10

23

М16

3,00

ИОР-10-7,50 III УХЛ, Т2*4

6

34 9341 0028

115

М16

М8

30

М8

30

±0,5

3,40

ИОР-10-20,00 УХЛ, Т2

8

34 9341 0032

20,00

134

170

-

М12

25

-

М12

40

7,20

ИОР-10-30,00 УХЛ, Т2

9

34 9341 0033

30,00

150

200

11,00

ИО-20-3,75 У3*

3

34 9341 0017

20

24,0 (25,0)

125

3,75

210

110

М10

23

М12

-

-

-

4,90

ИОР-20-3,75 УХЛ, Т2*

10

34 9341 0048

146

 

6,00

ИОР-20-7,50 У, Т3

11

34 9341 0036

7,50

160

160

М24

-

-

-

М24

6,90

ИО-20-30,00 У3

12

34 9341 0019

20

24,0 (25,0)

125

30,00

206

186

-

М12

40

±0,5

-

М16

65

±0,5

13,80

ИОР-20-30,00 УХЛ, Т2

13

34 9341 0049

206

15,90

ИО-35-3,75 У3*

14

34 9341 0022

35

40,5

195

3,75

372

110

М10

23

М16

-

-

-

7,70

ИОР-35-3,75 УХЛ, Т2*

15

34 9341 0042

148

12,50

ИО-35-7,50 У3

14

34 9341 0024

7,50

140

11,00

ИОР-35-7,50 УХЛ, Т2

15

34 9341 0043

148

12,00

* Допускается вариант отверстий d1 = М6 по согласованию между изготовителем и потребителем.

** Изолятор допускается армировать системой «болт-болт» или «болт-вставка» (диаметр М8, М10).

*** Допускается изготавливать изолятор высотой (100 ± 2) мм.

*4 Допускается изготавливать изолятор с глубиной нарезки резьбы центральных отверстий 28 мм.

Примечания:

1. P0 - минимальная разрушающая сила на изгиб, кН, прикладываемая к верхней поверхности изолятора;

Р50 - минимальная разрушающая сила на изгиб, кН, прикладываемая на расстоянии 50 мм над верхней поверхностью изолятора.

2. Глубина нарезки резьбы должна быть не менее:

- для чугунной арматуры - 1,5 d;

- для алюминиевой арматуры - 2,0 d.

(Измененная редакция, Изм. № 1, 2; Поправка).


ИНФОРМАЦИОННЫЕ ДАННЫЕ

1. РАЗРАБОТАН И ВНЕСЕН Министерством электротехнической промышленности

2. УТВЕРЖДЕН И ВВЕДЕН В ДЕЙСТВИЕ Постановлением Государственного комитета СССР по стандартам от 28.10.85 № 3455

3. Стандарт полностью соответствует СТ СЭВ 5021-85, международному стандарту МЭК 273-79

4. ВЗАМЕН ГОСТ 19797-80

5. ССЫЛОЧНЫЕ НОРМАТИВНО-ТЕХНИЧЕСКИЕ ДОКУМЕНТЫ

Обозначение НТД, на который дана ссылка

Номер раздела

ГОСТ 9984-85

Вводная часть

ГОСТ 15150-69

Вводная часть

6. Ограничение срока действия снято по протоколу № 7-95 Межгосударственного совета по стандартизации, метрологии и сертификации (ИУС 11-95)

7. ИЗДАНИЕ с Изменениями № 1, 2, утвержденными в январе 1989 г., сентябре 1990 г. (ИУС 4-89, 12-90); Поправкой (ИУС 1-95)

 

 




ГОСТЫ, СТРОИТЕЛЬНЫЕ и ТЕХНИЧЕСКИЕ НОРМАТИВЫ.
Некоммерческая онлайн система, содержащая все Российские Госты, национальные Стандарты и нормативы.
В Системе содержится более 150000 файлов нормативно-технической документации, действующей на территории РФ.
Система предназначена для широкого круга инженерно-технических специалистов.

Рейтинг@Mail.ru Яндекс цитирования

Copyright © www.gostrf.com, 2008 - 2026