Крупнейшая бесплатная информационно-справочная система онлайн доступа к полному собранию технических нормативно-правовых актов РФ. Огромная база технических нормативов (более 150 тысяч документов) и полное собрание национальных стандартов, аутентичное официальной базе Госстандарта. GOSTRF.com - это более 1 Терабайта бесплатной технической информации для всех пользователей интернета. Все электронные копии представленных здесь документов могут распространяться без каких-либо ограничений. Поощряется распространение информации с этого сайта на любых других ресурсах. Каждый человек имеет право на неограниченный доступ к этим документам! Каждый человек имеет право на знание требований, изложенных в данных нормативно-правовых актах!

  


 

МЕЖГОСУДАРСТВЕННЫЙ СТАНДАРТ

МАТЕРИАЛЫ ЭЛЕКТРОИЗОЛЯЦИОННЫЕ НА ОСНОВЕ СЛЮДЯНЫХ БУМАГ

Общие технические условия

Electrical insulating materials on mica paper base. General specifications

ГОСТ
26103-84

I.

Дата введения 01.01.86

Содержание

Настоящий стандарт распространяется на электроизоляционные материалы из слюдяных бумаг - слюдиниты и слюдопласты (далее - слюдяные материалы), предназначенные для применения в электрических машинах и аппаратах.

Требования разделов 1, 2 (в части электрической прочности), 3, 5, 7 настоящего стандарта являются обязательными; требования разделов 2 (кроме электрической прочности), 4, 6 являются рекомендуемыми.

(Измененная редакция, Изм. № 1, 3, 4).

1. КЛАССИФИКАЦИЯ, ТИПЫ, ОСНОВНЫЕ ПАРАМЕТРЫ И РАЗМЕРЫ

1.1. Слюдяные материалы классифицируются по типам в зависимости от назначения, вида слюдяной бумаги, связующего вещества и от их основных отличительных свойств.

Тип слюдяного материала обозначается тремя или четырьмя цифрами, из которых первая обозначает назначение материала, вторая - вид слюдяной бумаги, третья - вид связующего вещества, четвертая (при необходимости) - модификацию связующего вещества.

Условные обозначения:

слюдяных материалов по назначению:

1 - коллекторный слюдяной материал;

2 - прокладочный слюдяной материал;

3 - формовочный слюдяной материал;

4 - гибкий слюдяной материал;

5 - ленточный слюдяной материал;

6 - конструкционный слюдяной материал;

слюдяной бумаги:

1 - слюдинитовая бумага;

2 - слюдопластовая бумага;

связующих:

1 - шеллачное;

2 - грифталевое и масляно-битумное;

3 - полиэфирное и полиэфирно-эпоксидное;

4 - эпоксидное;

5 - кремнийорганическое;

6 - фосфатное;

7 - каучуковое;

8 - полиуретановое;

9 - полиакрилатное.

Примечание. Связующие вещества могут иметь различную модификацию. В этом случае к обозначению типа материала добавляется четвертая цифра 1, 2, 3 и т. д.

1.2. Типы, диапазон толщин, длительно допустимая рабочая температура и назначение слюдяных материалов приведены в табл. 1.

Таблица 1

Тип

Диапазон толщин, мм

Длительно допустимая рабочая температура, ºС

Назначение

1. Коллекторный слюдяной материал

111

0,45-1,50

130

Для межламельной изоляции коллекторов электрических машин

114*

0,45-1,50

155

То же

121

0,40-1,50

130

»

123

0,40-1,50

155

»

124*

0,40-1,50

155

»

125

0,40-1,50

180

»

126

0,40-1,50

Свыше 180

»

2. Прокладочный слюдяной материал

214*

0,30-1,50

155

Для шайб и прокладок в электрических машинах и аппаратах

221

0,30-1,50

130

То же

226-1

0,30-1,50

Свыше 180

»

3. Формовочный слюдяной материал

315-2

0,10-1,15

Свыше 300

Для фасонных деталей и коллекторных манжет электрических машин

321

0,20-0,35

130

Тоже

322

0,15-0,30

130

»

323

0,20-0,35

155

»

324

0,25-0,50

180

»

325

0,25-0,35

180

»

326

0,10-0,50

Свыше 300

»

4. Гибкий слюдяной материал

412

0,10-0,15

130

Для изоляции электродвигателей

413

0,15-0,30

130

Для пазовой и межвитковой изоляции электрических машин

415-1

0,10-0,30

155

То же

415-2

0,20-0,35

180

»

415-3

0,10-0,30

300

»

415-4

0,10-0,50

Свыше 300

Для пазовой и межвитковой изоляции электрических машин специального назначения

422

0,20-0,50

130

Для пазовой и межвитковой изоляции электрических машин

423

0,25-0,55

155

То же

425

0,20-0,55

180

»

426

0,15-0,30

Свыше 300

»

5. Ленточный слюдяной материал

513

0,08-0,30

130-180

Для изоляции обмоток электрических машин

514

0,09-0,17

155

То же

515

0,08-0,17

155-180

»

517

0,09-0,15

Определяется пропитывающим составом в процессе применения

Для изоляции обмоток электрических машин с последующей пропиткой

518*

0,10-0,15

130-155

Для изоляции обмоток электрических машин

519

0,10-0,17

155

То же

522

0,11-0,17

180

»

523

0,09-0,13

130-155

»

525

0,10-0,19

180

»

527

0,14-0,17

Определяется пропитывающим составом в процессе применения

Для изоляции обмоток электрических машин с последующей пропиткой

6. Конструкционный слюдяной материал

615*

0,5-1,5

800

Применяется в качестве жестких изоляционных прокладок в высокотемпературных нагревательных элементах бытового назначения

625*

0,5-1,5

800

626

0,5-1,0

800

* Разрабатываемый или перспективный тип слюдяного материала.

1.1, 1.2. (Измененная редакция, Изм. № 4).

1.3. Слюдяные материалы должны изготовляться в листах, рулонах и роликах.

1.4. Размеры листов должны быть: гибкого слюдяного материала - ширина не менее 500 мм, длина не менее 600 мм с предельными отклонениями ±15 мм; других слюдяных материалов - ширина не менее 200 мм с предельными отклонениями +15 мм, длина от 200 до 1300 мм с предельными отклонениями ±20 мм.

Допускаются листы материала в количестве не более 10 % партии меньших размеров, которые указываются в стандартах или технических условиях на конкретный тип слюдяного материала.

(Измененная редакция, Изм. № 1).

1.5. Размеры роликов должны быть: ширина от 12 до 100 мм с предельными отклонениями ±1 мм, диаметр (100±10) мм.

Размеры рулона должны быть: ширина от 100 до 1200 мм, диаметр от 100 до 200 мм.

1.6. Слюдяной материал в рулонах и роликах должен быть намотан на жесткую втулку с внутренним диаметром не менее 30 мм.

Внутренний диаметр втулки должен быть указан в стандарте или технических условиях на конкретный тип слюдяного материала.

1.7. Количество отрезков в рулоне или ролике должно быть не более трех для пропитанных материалов и не более двух - для непропитанных. Длина отдельного отрезка должна быть не менее 15 м. Для материалов на основе слюдопластовых бумаг допускается длина отрезка не менее 5 м.

1.8. Слюдяные материалы должны изготовляться следующих толщин:

коллекторный слюдяной материал

0,40; 0,45; 0,50; 0,55; 0,60; 0,65; 0,70; 0,75; 0,80; 0,85; 0,90; 0,95; 1,0; 1,05; 1,10; 1,20; 1,30; 1,40; 1,50 мм;

прокладочный слюдяной материал

0,3; 0,4; 0,5; 0,6; 0,7; 0,8; 0,9; 1,00; 1,2; 1,5 мм;

формовочный слюдяной материал

0,15; 0,20; 0,25; 0,30; 0,35 мм;

гибкий слюдяной материал

0,10; 0,12; 0,15; 0,20; 0,25; 0,30; 0,40; 0,50; 0,55 мм;

ленточный слюдяной материал

0,08; 0,09; 0,10; 0,11; 0,12; 0,13; 0,14; 0,15; 0,17; 0,19; 0,20; 0,25; 0,30 мм.

Номинальная толщина и предельные отклонения от номинальной толщины должны быть указаны в стандарте или технических условиях на конкретный тип слюдяного материала.

1.9. Условное обозначение слюдяного материала должно содержать: для материалов в листах - наименование марки, номинальную толщину и обозначение стандарта или технических условий на конкретный тип слюдяного материала;

для материала в роликах (рулонах) - наименование марки, номинальную толщину, ширину ролика или рулона и обозначение стандарта или технических условий на конкретный тип слюдяного материала.

Пример условного обозначения должен быть указан в стандарте или технических условиях на конкретный тип слюдяного материала.

2. ТЕХНИЧЕСКИЕ ТРЕБОВАНИЯ

2.1. Слюдяные материалы должны изготовляться в соответствии с требованиями настоящего стандарта, стандарта или технических условий на конкретный тип слюдяного материала по технологической документации, утвержденной в установленном порядке.

(Измененная редакция, Изм. № 4).

2.2. Слюдяной материал должен быть без расслоений, посторонних включений, сквозных отверстий, разрывов слюдяной бумаги и подложки. На подложках не допускаются морщины и складки, приводящие к увеличению толщины материала более допустимых значений. Подложка не должна отслаиваться. Листы слюдяного материала должны быть с ровно обрезанными краями.

Торцы роликов или рулонов должны быть ровно обрезаны. Материал в роликах не должен иметь сдвигов по слоям. Втулки не должны быть деформированы.

Ленточный материал должен свободно разматываться с ролика или рулона без отслоения подложки и отделения нитей по кромке.

Дополнительные требования к внешнему виду слюдяного материала должны быть указаны в стандарте или технических условиях на конкретный тип слюдяного материала.

2.3. Формовочный слюдяной материал должен в нагретом состоянии формоваться в трубки.

2.4. Гибкий и ленточный слюдяные материалы должны быть гибкими в условиях комнатной среды по ГОСТ 6433.1.

2.5. (Исключен, Изм. № 4).

2.6. Электрические и физико-механические свойства слюдяных материалов для соответствующих типов должны быть не ниже указанных в табл. 2-6, 6а.

Таблица 2

Наименование показателя

Норма для коллекторного слюдяного материала типа

111

114

121

123

124

125

126

1. Усадка при постоянном давлении, %, не более:

 

 

 

 

 

 

 

суммарная

8

7

7

7

7

7

7

горячая

2

1

1

0,5

0,5

1

1

2. Усадка при циклическом давлении, %, не более:

 

 

 

 

 

 

 

упругая усадка

4

4

4

4

4

4

4

пластическая деформация

5

5

5

5

5

5

5

3. Электрическая прочность, кВ/мм, средняя, не менее

28

22

22

22

25

24

24

4. Массовая доля связующего вещества, %, не более

9

9

6

6

6

8

8

5. Расслаиваемость, %, не более

3

1

1

1

1

1

3

6. Удельное объемное электрическое сопротивление, Ом×м, не менее

-

-

-

-

-

-

1×1011

Таблица 3

Наименование показателя

Норма для прокладочного слюдяного материала типа

214

221

226-1

1. Элекрическая прочность, кВ/мм, не менее

26

26

26

2. Массовая доля связующего вещества, %

3-15

3-15

2,5-6,5

3. Расслаиваемость, %, не более

1

1

1

4. Удельное объемное электрическое сопротивление, Ом·м, не менее, после выдержки в условиях:

 

 

 

18 ч (15-35 °С) 45-75 %;

1×1011

1×1011

1×1011

48 ч (23 °С) 93 %

1×108

1×108

1×108

Таблица 4

Наименование показателя

Норма для формовочного слюдяного материала типа

315-2

321

322

323

324

325

1. Электрическая прочность кВ/мм, не менее

28

28

23

36

30

45

2. Массовая доля компонентов, %:

 

 

 

 

 

 

слюды, не менее

-

-

55

-

82

75

связующего, не более

-

11

25

10

18

-

летучих

-

Не более 1

1,0-3,0

0,25-1,50

Не более 1

-

3. Удельное объемное электрическое сопротивление, Ом×м, не менее, после выдержки в условиях:

 

 

 

 

 

 

18 ч (15-35 °С) 45-75 %;

1×1011

1×1011

-

1×1011

-

1×1011

48 ч (23 °С) 93 %

1×107

1×108

-

1×108

-

1×109

4. Пробивное напряжение, кВ, не менее

1,5

-

1,7

-

-

-

5. Потери массы при прокаливании, %, не более

16,5

-

-

-

-

-

Таблица 5

Наименование показателя

Норма для гибкого слюдяного материала типа

412

413

415-1

415-2

415-3

415-4

422

423

425

426

1. Электрическая прочность, кВ/мм, средняя, не менее:

 

 

 

 

 

 

 

 

 

 

до перегиба

-

26

20

-

20

15

18

-

22

18

после перегиба

-

23

13

-

10

8

-

-

-

-

при температуре (200±3) °С

-

-

-

-

10

-

-

-

-

-

после выдержки в условиях:

 

 

 

 

 

 

 

 

 

 

24 ч (200 °С) 20 %,

-

-

-

-

15

-

-

-

-

-

при температуре 600 °С

-

-

-

-

-

10

-

-

-

-

2. Массовая доля компонентов, %:

 

 

 

 

 

 

 

 

 

 

слюды не менее

46-65

35

30

-

40

-

75

-

75

-

связующего

25-40

25-45

30-55

-

25-45

-

15-25

-

15-25

10-17

летучих, не более

4,5

2

2

1,5

2

-

5

-

5

1

3. Удельное объемное электрическое сопротивление, Ом×м, не менее:

 

 

 

 

 

 

 

 

 

 

в условиях комнатной среды

-

1×1011

1×1011

-

1×1011

-

-

1×1011

1×1011

-

при повышенной температуре 130-200 °С

-

1×108

1×109

-

1×109

-

-

-

-

-

после выдержки в условиях

 

 

 

 

 

 

 

 

 

 

48 ч (23 °С) 93 %

-

1×109

1×109

-

1×109

-

-

1×1010

-

-

4. Пробивное напряжение в отдельных точках, кВ, не менее:

 

 

 

 

 

 

 

 

 

 

до перегиба

1,5

4,0

4,4

1,5

2,0

-

3,5

4,0

4,0

-

после перегиба

-

3,0

3,6

-

1,5

-

3,2

2,8

2,8

-

5. Удельная разрушающая нагрузка при растяжении, Н/см, не менее

 

 

 

170

 

 

 

 

 

 

6. Потери массы при прокаливании, %, не более

-

-

-

14,5

-

20

-

-

-

-

7. Стойкость к надрыву*, Н, не менее

 

 

 

 

 

 

 

200

180

 

8. Жесткость*, Н, не менее

-

-

-

-

-

-

-

250

-

-

* Нормы устанавливаются в стандартах или технических условиях на конкретный тип материала после набора статистических данных.

Таблица 6

Наименование показателя

Норма для ленточного слюдяного материала типа

513

514

515

517

518

519

522

523

525

527

1. Электрическая прочность, кВ/мм, не менее:

 

 

 

 

 

 

 

 

 

 

электроды цилиндрические

20*

20

11

10

20

30

18

40

12

_

на изоляции из лент

-

30

-

-

-

-

-

-

-

-

2. Массовая доля компонентов, %:

 

 

 

 

 

 

 

 

 

 

слюды, не менее

20

30

20

-

20

30

40

30

30

-

связующего

25-40

35-45

25-45

-

20-35

30-40

15-35

15-22

31-53

3-5

летучих, не более

2

1,5

1,5

0,5

2,0

2,0

1,0

1,8

0,35

0,5

3. Тангенс угла диэлектрических потерь, не более:

 

 

 

 

 

 

 

 

 

 

в условиях комнатной среды

-

0,02

-

-

-

-

-

-

-

-

при температуре 130-155 °С

-

0,45

-

-

-

-

-

-

-

-

4. Пробивное напряжение, кВ, не менее:

 

 

 

 

 

 

 

 

 

 

электроды цилиндрические

1,4*

1,2

1,2

-

1,4

-

1,8

2,5

0,6

-

5. Удельная разрушающая нагрузка при растяжении, Н/см, не менее

60

100

60

100**

60

80

25

-

-

-

6. Текучесть связующего вещества в материале, %, не менее

-

35

-

-

-

-

-

-

-

-

7. Коэффициент плотности намотки, не менее

-

-

-

0,8

-

-

-

-

-

-

* Для лент без пленки характеристики должны быть ниже на 25 %.

**Для материалов с подложками из термохимобработанной стеклоткани марки ЛСКО-180-ТА-50 Н/см.

Таблица 6а

Наименование показателя

Норма для конструкционного слюдяного материала типа

615

625

626

1. Электрическая прочность, кВ/мм, не менее

20

16

16

2. Содержание слюды, %, не менее

90

90

 

3. Плотность, г/см3, не более

2,4

2,4

-

4. Потери массы при прокаливании, %, не более

2,0

1,0

-

5. Расслаиваемость, %, не более

0

0

5

6. Нагревостойкость, °С, не менее

800

800

800

7. Влагостойкость, г, не менее

-

-

48

(Измененная редакция, Изм. № 1,4).

2.7. Значения показателей для соответствующих марок слюдяного материала в зависимости от толщины материала, вида слюдяной бумаги, подложки и связующего вещества должны устанавливаться в стандарте или технических условиях на конкретный тип слюдяного материала.

(Измененная редакция, Изм № 3).

3. ТРЕБОВАНИЯ БЕЗОПАСНОСТИ

3.1. Слюдяные материалы нетоксичны, при их переработке не возникает отходов, требующих утилизации.

3.2. При механической обработке слюдяных материалов образуются слюдяная пыль и пыль отвержденного связующего вещества, вдыхание которых может привести к возникновению заболеваний дыхательных путей.

Предельно допустимая концентрация пыли в воздухе рабочей зоны должна соответствовать требованиям ГОСТ 12.1.005 и не должна превышать 4 мг/м3, класс опасности - 4.

3.3. Механическая обработка материала должна производиться в помещении с воздухообменом, осуществляющимся приточной и вытяжной вентиляцией. Рабочие места должны быть оборудованы отсасывающими устройствами. Основные требования к контролю за содержанием вредных веществ в воздухе рабочей зоны должны соответствовать ГОСТ 12.1.007. Воздух, удаленный с места механической обработки слюдяного материала, перед выбросом в атмосферу должен подвергаться очистке.

3.4. Лица, производящие механическую обработку слюдяного материала, должны быть обеспечены марлевыми повязками или респираторами ШБ-1 по ГОСТ 12.4.028.

3.5. При проведении электрических испытаний образцов материала должны соблюдаться требования безопасности по ГОСТ 12.1.019.

3.6. Дополнительные требования безопасности труда при переработке слюдяных материалов, при необходимости, должны быть указаны в стандарте или технических условиях на конкретный тип слюдяного материала.

4. ПРАВИЛА ПРИЕМКИ

4.1. Для проверки соответствия слюдяных материалов требованиям настоящего стандарта, стандартов или технических условий на конкретные типы слюдяных материалов устанавливают приемосдаточные, периодические и типовые испытания.

4.2. Слюдяные материалы принимают партиями.

За партию принимают слюдяной материал одной марки и толщины, изготовленный из одной партии связующего вещества и оформленный одним документом о качестве.

Масса партии должна устанавливаться в стандартах или технических условиях на конкретный тип слюдяного материала.

4.3. Документ о качестве должен содержать:

наименование предприятия или товарный знак предприятия-изготовителя;

условное обозначение слюдяного материала;

номер партии и дату изготовления;

результаты испытаний.

(Измененная редакция, Изм. № 1,3).

4.4. Приемо-сдаточным испытаниям должна быть подвергнута каждая партия слюдяного материала по показателям, которые устанавливаются в стандартах или технических условиях на конкретный тип слюдяного материала.

Испытания проводятся не менее чем на двух листах, рулонах, роликах, отобранных от партии.

4.5. Периодические испытания должны проводиться не реже одного раза в 6 мес на одном листе, рулоне, ролике слюдяного материала из партии, прошедшей приемо-сдаточные испытания на соответствие требованиям, приведенным в стандартах или технических условиях на конкретный тип слюдяного материала.

4.6. При получении неудовлетворительных результатов приемо-сдаточных и периодических испытаний хотя бы по одному из показателей проводят повторные испытания удвоенного количества листов (рулонов, роликов) слюдяного материала, взятых от той же партии, по тем показателям, по которым получены неудовлетворительные результаты.

Результаты повторных приемо-сдаточных испытаний распространяют на всю партию.

В случае неудовлетворительных результатов повторных периодических испытаний отгрузка слюдяного материала потребителю должна быть прекращена до выявления и устранения причин несоответствия требованиям настоящего стандарта, а также требованиям стандартов и технических условий на конкретный тип слюдяного материала.

4.7. Типовые испытания должны быть проведены на соответствие требованиям стандартов или технических условий на конкретный тип слюдяного материала, а также требованиям настоящего стандарта при изменении технологического процесса изготовления слюдяного материала, а также при замене исходных материалов. Объем выборки устанавливают в соответствии с требованиями к периодическим и приемо-сдаточным испытаниям.

По требованию потребителя предприятие-изготовитель должно представлять протоколы периодических и типовых испытаний.

5. МЕТОДЫ ИСПЫТАНИЙ

5.1. Перед испытанием образцы слюдяных материалов должны быть нормализованы в течение 24 ч в условиях комнатной среды по ГОСТ 6433.1, если в стандартах или технических условиях на конкретный тип слюдяного материала нет других указаний.

Если испытания проводят в течение 24 ч после изготовления слюдяного материала и при его хранении соблюдаются условия комнатной среды, образцы перед испытанием можно не нормализовать.

Испытания слюдяных материалов проводят в условиях комнатной среды по ГОСТ 6433.1, если в стандарте или технических условиях на конкретный тип материала нет других указаний.

(Измененная редакция, Изм. № 2).

5.2. Размеры и количество образцов, необходимых для испытания, приведены в табл. 7 или должны указываться в стандартах или технических условиях на конкретный тип слюдяного материала.

Таблица 7

Наименование показателя

Пункт стандарта

Параметр образца

Количество образцов

Номинальный

Пред. откл.

1. Расслаиваемость

5.7

Длина (20-100) мм

Ширина (5, 20, 40 ) мм

±1 мм

Не менее 100*

2. Гибкость

5.8

Двукратная длина окружности оправки

Ширина 50 мм (или ширина ролика)

±1 мм

3

3. Массовая доля компонентов:

5.9

 

 

 

методом выжигания

 

100 см2

±2 см2

2

методом экстрагирования

 

5 г

±0,5 г

2

4. Потери массы при прокаливании

5.10

±0,5 г

2

5. Пробивное напряжение и электрическая прочность:

5.11

Не менее:

 

 

в листах или рулонах

 

Длина 300 мм

Ширина 150 мм

-

1

в роликах

 

Длина 3 м 250´250

-

1

изоляции из материала

 

Толщина 1 мм

±0,2 мм

5

6. Удельное объемное электрическое сопротивление:

5.12

Не менее:

 

 

в исходном состоянии

 

100´100 мм,

±1 мм

3

при повышенной температуре

 

100´100 мм,

±1 мм

3

после выдержки в условиях 48 ч (23 °С) 93 %

 

100´100 мм

±1 мм

3

7. Тангенс угла диэлектрических потерь

5.13

100´100 мм

±1 мм

3

8. Усадка материала толщиной:

5.14

 

 

 

0,40-0,60 мм

 

50´70 или 40´40

±1 мм

20

0,70-1,50 мм

 

50´70 или 40´40

±1 мм

10

9. Формуемость

5.15

Двукратная длина окружности оправки, ширина 50 мм

±1 мм

2

10 Плотность намотки

5.16

Ролик

-

1

11. Разрушающая нагрузка при растяжении (или удельная разрушающая нагрузка):

5.17

 

 

 

в листах или рулонах

 

Длина не менее 260 мм Ширина 20 мм

±1 мм

10

в роликах

 

Длина не менее 260 мм

±1 мм

10

12. Текучесть связующего вещества в материале

5.18

85´85 мм или 50´50 мм

+0,2

2

13. Содержание растворимой части связующего вещества в материале

5.19

1 г

 

2

14. Стойкость к надрыву

5.20

Длина 240 мм

Ширина 15 или 20 мм

±0,5 мм

Не менее 5

15. Жесткость

5.21

Длина (50, 100 или 200) мм

Ширина 10 или 15 мм

±0,5 мм

Не менее 10

16. Поверхностная плотность** (масса, отнесенная к 1 м2)

5.22

100 см2

±1 см2

3

17. Изгибающее напряжение при разрушении

5.23

Длина 80 мм

Ширина 10 мм

Толщина 4 мм

±0,2

5

18. Толщина:

5.6

 

 

 

в листах или рулонах

 

Длина 250 мм

±5 мм

1

в роликах

 

Длина 2 м

±5 мм

1

* При испытании гибких материалов количество образцов должно быть не менее 10.

** Показатель «поверхностная плотность» нормируется только для слюдяной ленты типа 514. Нормы поверхностной плотности указаны в приложении 2.

Для испытания листовых и рулонных слюдяных материалов образцы вырезают на расстоянии не менее 50 мм от края листа, а от рулонов шириной менее 200 мм - на расстоянии 20 мм от края полотна после снятия двух наружных слоев. При ширине слюдяного материала более 30 мм образцы отбирают равномерно по этой ширине.

Для испытания слюдяных материалов в роликах от ролика отрезают образец на расстоянии не менее 1 м от конца ленты в ролике.

(Измененная редакция, Изм. № 1, 3).

5.3. Образцы для испытания должны иметь ровно обрезанные края, не должны иметь дефектов в виде соединений внахлест, мест, не содержащих слюды и (или) связующего вещества, отделения нитей по кромке.

5.4. Проверка длины и ширины листа, ширины и диаметра рулона, диаметра ролика слюдяного материала должна проводиться измерительным инструментом с погрешностью измерения ±1 мм, проверка ширины ролика - измерительным инструментом с погрешностью измерения ±0,1 мм.

5.3, 5.4. (Измененная редакция, Изм. № 1).

5.5. Внешний вид слюдяного материала, состояние поверхности, качество обрезки, отсутствие разрывов слюдяной бумаги и пленки проверяются визуально.

5.6. Толщина слюдяного материала должна измеряться толщиномером с диаметром измерительных поверхностей 6-8 или 25 мм, оснащенным отсчетным устройством с ценой деления не более 0,01 мм и обеспечивающим давление на образец не менее 0,1 МПа ±10 %.

Диаметр измерительных поверхностей толщиномера и величина давления должны быть указаны в стандарте или технических условиях на конкретный тип слюдяного материала.

Измерение производится в десяти точках, расположенных равномерно по площади образца. Отсчет производится после того, как окончательно установится стрелка на шкале отсчетного устройства.

Погрешность измерения ±0,01 мм.

Допускается применение автоматических устройств и приборов, обеспечивающих указанную погрешность измерения.

За толщину слюдяного материала принимают среднее арифметическое десяти определений.

Для коллекторных и прокладочных материалов в стандартах или технических условиях на конкретный тип материала должны указываться следующие показатели: среднее отклонение от номинального значения толщины для партии материала и для каждого листа и предельная разница между минимальным и максимальным значениями толщины материала для каждого листа.

(Измененная редакция, Изм. № 2).

5.7. Проверку расслаиваемости проводят путем нарезания полос шириной 5, 20, 40 мм остро отточенными ножницами (типа гильотинных или рычажных) или круглой пилой для поперечной распиловки по ГОСТ 980 (с симметричной формой зубьев при окружной скорости пилы от 1000 до 3000 м/мин) от листа слюдяного материала по всей его длине и ширине.

Затем полосы разрезают на пластинки прямоугольной формы, при этом полоски не должны расслаиваться более чем на 25 % по их длине. Процент расслаиваемости определяют по числу расслоившихся при разрезании пластин.

Размер полос и пластин должен быть указан в стандарте или технических условиях на конкретный тип слюдяного материала.

Расслаиваемость (Р) в процентах вычисляют по формуле

где н - количество расслоившихся пластинок;

Н - общее количество пластинок.

5.8. Проверку гибкости слюдяного материала проводят путем огибания образца материала вокруг оправки на 360°, при этом материал должен свободно изгибаться, без излома и расслоений.

Диаметр оправки должен быть равен 20- или 100-кратной толщине слюдяного материала и указываться в стандарте или технических условиях на конкретный тип слюдяного материала. Если материал имеет на поверхности пленку, то образец располагают на оправке пленкой наружу.

5.9. Проверка массовой доли компонентов позволяет определить процентное содержание в массе материала слюды, связующих и летучих веществ.

Определение указанных показателей проводят на одном и том же образце.

За результат испытания принимают среднее арифметическое двух определений по каждому показателю с точностью до 0,1 %.

5.9.1. Для определения содержания летучих веществ образец слюдяного материала нарезают на пластинки размером примерно 15´20 мм, помещают в предварительно взвешенный фарфоровый тигель, взвешивают с погрешностью ±0,001 г и сушат при температуре (105±2) °С или (155±2) °С до постоянной массы. За постоянную массу образца принимают такую массу, которая при последовательных взвешиваниях в процессе сушки изменяется не более чем на 0,1 %.

После сушки тигель с образцом охлаждают в эксикаторе с хлористым кальцием до температуры комнатной среды.

Содержание летучих веществ (X1) в процентах вычисляют по формуле:

где т1 и т2 - соответственно масса образца до и после сушки, г.

5.9.2. Для определения содержания связующего вещества и слюды методом выжигания тигель с образцом прокаливают до постоянной массы при температуре (500±25) °С не менее 1 ч. Затем тигель с образцом охлаждают в эксикаторе с хлористым кальцием до температуры комнатной среды и взвешивают с погрешностью ±0,001 г.

Содержание связующих веществ (Х2) и слюды (Х3) в процентах в зависимости от вида применяемых связующих веществ и подложки вычисляют по формулам, указанным в табл. 8.

Таблица 8

Материал

Формула для определения содержания

связующего вещества

слюды

1. Органическое связующее вещество:

 

 

без подложек

с органическими подложками

с комбинированными подложками (органической и неорганической)

с неорганическими подложками

2. Кремнийорганическое связующее вещество:

 

 

без подложек

с неорганическими подложками

где т3 - масса образца после прокаливания, г;

т4 - масса органической подложки в образце площадью 100 см2, определяемая по массе 1 м2 подложки, г;

т5 - масса неорганической подложки в образце площадью 100 см2, определяемая по массе 1 м2 подложки, г;

К - эмпирический коэффициент для слюдяных материалов на кремнийорганических связующих веществах.

Значение коэффициента должно быть указано в стандарте или технических условиях на конкретный тип слюдяного материала.

5.9.3. Для определения содержания связующего вещества и слюды методом экстрагирования образец упаковывают в предварительно высушенную фильтровальную бумагу и взвешивают с погрешностью ±0,001 г.

Упакованный образец помещают в экстрактор аппарата Сокслета, наливают химически чистый диэтиламин до тех пор, пока он не начнет стекать через отводную трубку в колбу. Затем добавляют еще половину объема налитого растворителя, после чего присоединяют к экстрактору холодильник и пускают в него воду. Аппарат устанавливают в водяную баню.

Экстрагирование связующего вещества проводят в течение 4 ч при шестикратном обновлении в час растворителя в экстракторе с образцом.

После охлаждения аппарата растворитель сливают, заменяют ацетоном по ГОСТ 2603 и продолжают процесс экстрагирования (1,5±0,1) ч.

Для определения окончания экстрагирования пробу экстракции наносят на стекло. После испарения растворителя визуально определяют наличие осадка. Отсутствие осадка указывает на полное удаление связующего вещества из материала.

По окончании экстрагирования аппарат охлаждают, образцы вынимают, высушивают на часовом стекле на воздухе (10,0±0,3) мин и при температуре (105±2) или (135±3) ºС (30±0,3) мин.

После охлаждения в эксикаторе с хлористым кальцием до температуры комнатной среды образец взвешивают с погрешностью ±0,01 г.

Содержание связующего вещества (Х2) и слюды (Х3) в процентах вычисляют по формулам:

 - для материала без подложки и с неорганическими подложками;

 - для материала без подложек;

 - для материала с неорганическими подложками,

где т2 - масса образца после высушивания, г;

т3 - масса образца после экстрагирования, г;

т5 - масса неорганической подложки в образце, определяемая путем взвешивания подложки, которую аккуратно отделяют после экстрагирования, г.

5.9.4. Метод определения содержания связующего вещества и слюды, температура высушивания и вид растворителя должны быть указаны в стандарте или технических условиях на конкретный тип материала.

5.9.1-5.9.4. (Измененная редакция, Изм. № 1).

5.10. Для проверки потери массы при прокаливании образец нарезают на пластинки, помещают в предварительно взвешенный фарфоровый тигель и взвешивают с погрешностью +0,01 г. Тигель с образцом выдерживают в условиях (500 °С) < 20 % по ГОСТ 6433.1 в течение 1 ч. Затем тигель с образцом охлаждают до температуры комнатной среды в эксикаторе с хлористым кальцием и взвешивают. Потери массы при прокаливании (т500 °С) в процентах вычисляют по формуле:

где т2 и т3 - соответственно масса образца до и после термообработки.

За результат испытания принимают среднее арифметическое двух определений, вычисленное с точностью до 0,1 %.

5.11. Проверку пробивного напряжения и электрической прочности проводят по ГОСТ 6433.3 при переменном напряжении частоты 50 Гц. Испытания проводят на воздухе на образцах с размерами, исключающими поверхностное перекрытие.

Погрешность измерения пробивного напряжения не должна превышать 4 %. Электрическая прочность материала должна быть вычислена с точностью до 1 кВ/мм.

(Измененная редакция, Изм. № 1).

5.11.1. Для проверки пробивного напряжения и электрической прочности слюдяного материала в листах или рулонах должны применяться цилиндрические электроды из меди или латуни диаметром 25,0 мм для верхнего и 75,0 мм для нижнего электродов с радиусом закругления на краях 3 мм.

Измерение проводят не менее чем в пяти точках, расположенных равномерно по площади образца.

За результат испытания принимают среднее арифметическое всех определений.

5.11.2. Для проверки пробивного напряжения и электрической прочности слюдяного материала в роликах должны применяться электроды из меди или латуни в виде прямоугольных пластин или цилиндрические электроды диаметром 6 мм.

Масса верхнего цилиндрического электрода должна быть (50±2) г.

За результат испытания принимают среднее арифметическое десяти определений.

5.11.3. Для проверки пробивного напряжения и электрической прочности слюдяного материала после перегиба образец сгибают вокруг прокладки, толщина которой равна толщине испытуемого образца. Линия перегиба должна быть параллельна большей стороне образца.

В случае применения в слюдяном материале подложки в виде ткани линия перегиба должна быть расположена в продольном направлении подложки. Слюдинитовый материал, имеющий подложку из ткани с одной стороны, перегибают подложкой вовнутрь.

Места перегиба прокатывают один раз стальным валиком длиной (100±1) мм и диаметром (90±1) мм.

Масса валика должна быть (4,9±0,1) кг или (2,0±0,1) кг и должна указываться в стандарте или технических условиях на конкретный тип слюдяного материала.

Валик прокатывают свободно, без нажима.

После прокатки валиком образец расправляют и электроды устанавливают так, чтобы линия перегиба пересекала контрольную поверхность электрода пополам.

5.11.4. Для проверки пробивного напряжения и электрической прочности после прогрева при повышенной температуре образец слюдяного материала, обернутый алюминиевой фольгой толщиной 0,01-0,04 мм по ГОСТ 618, помещают между двумя стальными пластинами, размер которых должен быть не менее размера образца, и выдерживают при заданной температуре не менее 24 ч. Масса верхней стальной пластины должна быть не менее 2 кг.

Измерение проводят после охлаждения образца до температуры комнатной среды в этих же условиях.

(Измененная редакция, Изм. № 3).

5.11.5. Для проверки пробивного напряжения и электрической прочности слюдяного материала при повышенной температуре электроды прогревают до температуры испытания, затем прогревают не менее 15 мин образец слюдяного материала и проводят испытание в тех же условиях. Размеры и материал электродов должны быть указаны в стандартах или технических условиях на конкретный тип слюдяного материала.

(Измененная редакция, Изм. № 1).

5.11.6. Проверку пробивного напряжения и электрической прочности изоляции, изготовленной на основе слюдяного материала (лент), проводят в трансформаторном масле.

Образец изготовляют путем прессования стопки из нескольких (не менее 3) слоев лент. Отрезки ленты для образования слоя укладывают с 50 %-ным перекрытием. Отрезки ленты в двух соседних слоях располагают под прямым углом. Количество слоев в стопке должно быть определено с учетом усадки материала при прессовании.

Собранную стопку вкладывают между двумя металлическими пластинками толщиной от 1 до 1,5 мм, предварительно обработанными адгезионной смазкой, и помещают в пресс.

Прессование проводят двумя методами.

Метод 1. Прессование должно проводиться при температуре (160±5) °С, если в стандартах или технических условиях на конкретный тип материала нет других указаний, не менее 30 мин при давлении, достаточном для получения необходимой толщины образца.

После выдержки в прессе образец выдерживают без давления при температуре прессования в течение 16 ч.

Метод 2. Доводят давление до 0,15 Н/мм2, нагревают пресс до 70 °С при давлении 0,15 Н/мм2, снижают давление до нуля, открывают пресс на короткое время (вентиляция).

Нагревают пресс до 90 °С при давлении 0,15 Н/мм2, снижают давление до нуля, открывают пресс на короткое время (вентиляция).

Нагревают пресс до 110 °С при давлении 15 Н/мм2, снижают давление до нуля, открывают пресс на короткое время (вентиляция).

Нагревают пресс до (160±5) °С при давлении 0,15 Н/мм2, пока связующее не вступит в стадию гелеобразования. Этот этап контролируют визуально при помощи прутка. В момент начала гелеобразования давление доводят до 3 Н/мм2.

Отверждают при давлении 3 Н/мм2 и 160 °С или другой температуре, указанной в стандартах или технических условиях на конкретный тип материала, в течение 1 ч.

Охлаждают образец в прессе под давлением.

После прессования проводят окончательное отверждение в условиях, указанных в стандартах или технических условиях на конкретный тип материала.

Проверку пробивного напряжения допускается проводить на одном образце, если он позволяет провести испытание в пяти точках.

За результат испытания принимают среднее арифметическое пяти определений.

(Измененная редакция, Изм. № 2).

5.12. Проверку удельного объемного электрического сопротивления проводят по ГОСТ 6433.2 и ГОСТ 10315 при напряжении 100-1000 В (напряжение 1000 В является предпочтительным).

Допускается проводить проверку удельного объемного сопротивления при повышенной температуре на образцах, прошедших испытание в исходном состоянии.

Для испытания применяют электроды из отожженной алюминиевой фольги или нажимные электроды из нержавеющей стали. Диаметр измерительного электрода (50±0,2) мм.

Контакт электрода с образцом осуществляется давлением (10,0±0,2) кПа. Контакт электрода из фольги с образцом осуществляется давлением через резину.

Электроды из фольги рекомендуется применять при определении удельного объемного сопротивления в исходном состоянии и после воздействия влажной среды.

Определение удельного объемного сопротивления при повышенной температуре проводят после выдержки образца при этой температуре не менее 15 мин.

Определение удельного объемного сопротивления после воздействия влажной среды допускается проводить в условиях комнатной среды не позднее чем через 3 мин после извлечения образцов из условий влажной среды.

За результат испытания принимают среднее арифметическое трех определений.

5.13. Проверка тангенса угла диэлектрических потерь проводится по ГОСТ 6433.4 при напряжении 1000 В. Для испытания применяют электроды, указанные в п. 5.12. Для проверки тангенса угла диэлектрических потерь материалов, поставляемых в роликах, предприятие-изготовитель в одно из упаковочных мест от партии помещает образцы для испытания. На упаковочном месте делается пометка «С образцами для испытаний».

Условия нормализации, кондиционирования и испытания - по ГОСТ 6433.1:

15 ч (155 °С) < 20 % + 1 ч (15-35 °С) 45-75 %; М (15-35 °С) 45-75 %.

Для предотвращения коробления и залипания образцов при нормализации их помещают между прокладками из стеклоткани и металлическими пластинами толщиной 2-3 мм такого же размера, что и образцы.

Измерение тангенса угла диэлектрических потерь при повышенной температуре проводят после достижения образцом требуемой температуры.

За результат испытания принимают среднее арифметическое трех определений.

Определение тангенса угла диэлектрических потерь изоляции на основе слюдяного материала проводят при напряжении 2000 В на образцах толщиной (2±0,2) мм, изготовленных по п. 5.11.6.

(Измененная редакция, Изм. № 1).

5.14. Проверка усадки

5.14.1. Для проведения испытания применяют:

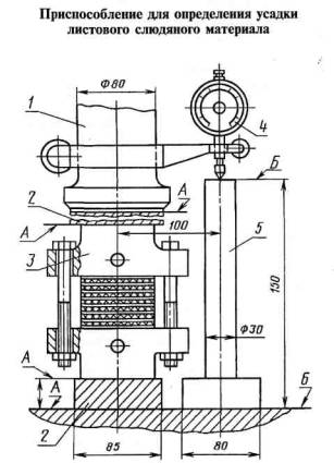
гидравлический пресс, позволяющий создавать удельное давление на образец до 100 МПа и оборудованный приспособлением для измерения сжатия под действием давления и нагрева (черт. 1);

одиннадцать стальных шлифованных прокладок, изготовленных из стали по ГОСТ 1435, размером 70´50´3 мм с предельным отклонением на сторону ±0,1 мм. Параметр шероховатости прокладок Ra по ГОСТ 2789 должен быть не более 1,25, прокладки должны быть закалены с последующим отпуском до твердости 50 ... 55 HRC;

оправку по черт. 2 для крепления стопки образцов материала и остальных прокладок.

1 - шток; 2 - прокладка; 3 - оправка; 4 - индикатор часового типа; 5 - цилиндрическая подставка
Черт. 1

Примечание. Чистота обработки поверхностей по ГОСТ 2789: А - 1,25 мкм, Б - 2,5 мкм.

1 - обойма; 2 - отверстие для термометра; 3 - стальная прокладка; 4 - образец слюдяного материала
Черт. 2

5.14.2. Давление и температура, при которых должна определяться усадка, должны быть указаны в стандарте или технических условиях на конкретный тип слюдяного материала.

5.14.3. Проверку усадки проводят на образцах (пластинках), вырезанных из разных участков листа материала. Толщину каждой пластинки измеряют в пяти точках с погрешностью ±0,01 мм.

За результат измерения принимают среднее арифметическое пяти определений. За суммарную толщину пластинок (а) в миллиметрах принимают сумму средних значений толщин 10 или 20 пластинок.

5.14.4. Для определения усадки материала при постоянном давлении первоначально определяют толщину оправки в сборке с 11 стальными прокладками при температуре комнатной среды после выдержки (5,0±0,3) мин под давлением, величина которого зависит от вида испытуемого материала. Толщину оправки и стальных прокладок под давлением определяют в четырех углах.

За толщину оправки и стальных прокладок в холодном состоянии под давлением (б) в миллиметрах принимают среднее арифметическое четырех измерений.

Оправку с прокладками нагревают в термостате до температуры (210±10) °С, выдерживают (10,0±0,3) мин при этой температуре, помещают в пресс и после выдержки (5,0±0,3) мин под давлением и при температуре измеряют толщину в четырех углах.

За толщину оправки и стальных прокладок в горячем состоянии под давлением (в) в миллиметрах принимают среднее арифметическое четырех измерений.

Толщину оправки стальных прокладок под давлением в холодном и горячем состоянии измеряют не реже одного раза в 30 сут.

Для определения усадки слюдяного материала в оправку помещают стопку образцов со стальными прокладками. При измерении на 20 образцах стальные прокладки помещают через каждые два образца, при измерении на 10 образцах - через каждый образец. Оправку зажимают болтами от руки, помещают в пресс и определяют толщину оправки с образцами и стальными пластинами после выдержки (5,0±0,3) мин при давлении в условиях комнатной среды.

За толщину оправки, стальных прокладок и образцов слюдяного материала в холодном состоянии под давлением (г) в миллиметрах принимают среднее арифметическое четырех измерений.

Оправку с образцами и прокладками под давлением стягивают от руки болтами, нагревают в термостате до температуры (210±10) °С и выдерживают при этой температуре (10,0±0,3) мин.

Затем оправку помещают в пресс и после выдержки (5,0±0,3) мин под давлением и при температуре измеряют толщину в четырех углах.

За толщину оправки, стальных прокладок и образцов слюдяного материала в горячем состоянии под давлением (д) в миллиметрах принимают среднее арифметическое четырех определений.

Усадку слюдяного материала в холодном состоянии при постоянном давлении (У1) в процентах вычисляют по формуле

Усадку слюдяного материала в горячем состоянии при постоянном давлении (У2) в процентах вычисляют по формуле

Суммарную усадку слюдяного материала (У) в процентах вычисляют с точностью до 0,1 % по формуле

У = У1 + У2.

(Измененная редакция, Изм. № 1).

5.14.5. Для определения усадки материала при циклическом давлении стопку образцов с прокладками помещают в пресс, доводят давление до 7 МПа и измеряют высоту стопки d0.

Стопку закрывают теплоизоляцией и нагревают до температуры на 5-10 °С выше температуры испытания, указанной в стандартах или технических условиях на конкретный тип материала, и выдерживают до установления заданной температуры. Определяют высоту стопки d1.

Давление на стопку повышают в течение 10 мин до 60 МПа, выдерживают 15 мин и определяют высоту стопки d2.

Давление снижают до 7 МПа в течение 5 мин и снова измеряют высоту стопки.

Новый цикл проводят в тех же условиях: давление доводят до 60 МПа в течение 10 мин, выдерживают его в течение 5 мин и снижают до 7 МПа в течение 5 мин.

Цикл повторяют, пока последовательные измерения d1 и d2 не будут изменяться более чем на 0,02 мм.

Величины d1 и d2 последнего стабильного цикла обозначают D1 и D2, стопке дают остыть до комнатной температуры при давлении 7 МПа и отмечают высоту стопки d5.

Для учета деформации прокладочных пластин определяют высоту стопки прокладочных пластин при заданной температуре и давлении 7 МПа и 60 МПа, соответственно d3 и d4. Высота стопки прокладочных пластин d6 определяется при 7 МПа и комнатной температуре.

Упругую усадку материала в процентах определяют по формуле

Пластическую деформацию материала в процентах определяют по формуле

(Измененная редакция, Изм. № 2).

5.15. Для проверки формуемости слюдяного материала в трубку образец материала, нагретый до температуры испытания, быстро обертывают вокруг нагретой до той же температуры оправки, затягивают термостойкой лентой и выдерживают при той же температуре. Образец материала с одной подложкой располагают слюдяным слоем к оправке.

Температура и время выдержки должны быть указаны в стандарте или технических условиях на конкретный тип слюдяного материала.

Диаметр оправки должен быть равен пятидесятикратной толщине слюдяного материала, но не более 50 мм.

После охлаждения образца до температуры комнатной среды ленту и оправку удаляют. В полученной таким образом трубке материал должен сохранять приданную ему форму, не расслаиваясь.

5.16. Проверку плотности намотки слюдяного материала в рулоне (ролике) проводят на одном ролике.

Ролик взвешивают с погрешностью ±5 г, измеряют его диаметр, наружный и внутренний диаметры втулки с погрешностью ±0,1 см.

От ролика отрезают образец длиной (100±0,1) см, взвешивают с погрешностью ±0,01 г и определяют толщину с погрешностью ±0,001 см.

Коэффициент плотности намотки (К) вычисляют по формуле

где d - диаметр ролика (рулона), см;

d1 - наружный диаметр втулки, см;

d2 - внутренний диаметр втулки, см;

b - ширина ролика (рулона), см;

l - длина образца, см;

h - толщина образца, см;

т - масса ролика (рулона), г;

т1 - масса образца материала, г;

r = 0,92 г/см3 - плотность материала втулки.

5.17. Проверку разрушающей нагрузки при растяжении проводят на образцах, нарезанных в продольном направлении. Для проверки используется разрывная машина с постоянной скоростью нагружения и погрешностью отсчета не более 1 %.

Время с момента приложения нагрузки до момента разрыва образца должно быть (60±10) с.

Расстояние между зажимами разрывной машины должно быть (200±1) мм.

Для исключения скольжения образца в зажимах применяются прокладки из наждачной бумаги или других материалов.

Если образец при испытании разрывается в зажимах или ближе 10 мм от зажима испытательной машины, то результат не засчитывается и проводят испытание другого образца.

За результат испытания принимают среднее арифметическое десяти определений разрушающей нагрузки или удельной разрушающей нагрузки.

(Измененная редакция, Изм. № 1,4).

5.17.1. Разрушающую нагрузку (Fmax), Н, снимают непосредственно со шкалы разрывной машины.

Результат испытания должен быть указан с точностью до 1 Н.

5.17.2. Удельную разрушающую нагрузку  Н/см, определяют по формуле

где b - ширина испытуемой полоски, см.

5.18. Проверка текучести связующего вещества в материале проводится на двух параллельных образцах, представляющих собой стопки слоев ленты, уложенной вполнахлеста с расположением отрезков ленты в двух соседних слоях под прямым углом.

Суммарная толщина всех слоев ленты в стопке должна быть (2±0,1) мм. Текучесть связующего определяется путем кратковременного горячего прессования образцов между плитами гидравлического пресса, предварительно нагретыми до температуры испытания.

Температура, давление и время прессования должны быть оговорены в стандарте или технических условиях на конкретный материал.

Перед проведением испытания края собранной стопки обрезают по шаблону таким образом, чтобы на кромках не оставалось свободных нитей или частиц бумаги. Затем образец взвешивают с погрешностью ±0,01 г и помещают между двумя металлическими пластинами толщиной не более 1,5 мм. Поверхность пластин, прилегающая к образцам, должна быть предварительно обработана антиадгезионной смазкой. В течение времени выдержки образца в прессе заданная температура плит должна поддерживаться с погрешностью ±2 °С. После прессования образец охлаждают до температуры комнатной среды, освобождают от вытекшей смолы и взвешивают с погрешностью до 0,01 г. Текучесть смолы определяют по формуле

где т1 и т2 - масса образца соответственно до и после прессования, г;

с - массовая доля смолы в ленте, %.

За результат испытания принимают среднее арифметическое двух определений.

(Измененная редакция, Изм. № 1, 3).

5.19. Массовая доля растворимой части связующего вещества в материале (ленте) определяется сравнением масс образца ленты до и после обработки его ацетоном в приборе Сокслета. Испытания проводятся на образце в исходном состоянии, а также на образце ленты, прошедшей термообработку. Время и температура термообработки должны быть указаны в стандарте или технических условиях на конкретный тип ленты.

5.19.1. Аппаратура и материалы:

весы аналитические с погрешностью взвешивания 0,0002 г;

термостат воздушный (сушильный шкаф), обеспечивающий температуру 150 °С;

муфельная печь, обеспечивающая температуру 600 °С;

эксикатор по ГОСТ 25336;

баня нагревательная водяная;

насадка для экстрагирования НЭТ-100 по ГОСТ 25336;

холодильник по ГОСТ 25336;

плоскодонная колба по ГОСТ 25336;

фильтры бумажные обеззоленные;

ацетон чистый для анализа по ГОСТ 2603.

5.19.2. Проведение испытаний

Образец ленты массой около 1 г взвешивают с погрешностью не более 0,0002 г, мелко нарезают на пластинки размером около 5´5 мм, помещают в предварительно высушенные в течение часа при температуре (105±2) °С патроны для экстрагирования, сделанные из беззольного бумажного фильтра, и снова взвешивают. Для проведения экстракции плотно соединяют плоскодонную колбу с насадкой для экстрагирования и помещают взвешенные патроны с образцами лент в экстрактор. Затем наливают туда ацетон до тех пор, пока он не начнет стекать через отводную трубку; добавляют еще половину объема налитого ацетона, присоединяют к экстрактору холодильник, проверяют плотность соединений отдельных частей прибора и начинают нагревать колбу на водяной бане. Экстрагирование проводят ацетоном в течение 6 ч при 3-5-кратном обмене растворителя в течение часа. После окончания экстракции прибор охлаждают и разбирают. Патроны переносят в сушильный шкаф и высушивают при (105±2) °С в течение 1 ч. После охлаждения патронов в эксикаторе их снова взвешивают. Затем их помещают в предварительно прокаленные до постоянного веса фарфоровые тигли и прокаливают в муфельной печи в течение часа при температуре (500±10) °С. После прокаливания тигли охлаждают в эксикаторе и взвешивают.

(Измененная редакция, Изм. № 2).

5.19.3. Обработка результатов

Общую массу связующего вещества в ленте (а) в граммах определяют по формуле

а = т1 - т4,

где т1 - масса образца ленты до испытаний, г;

т4 - масса образца ленты после термообработки, г.

При определении массовой доли растворимой части связующего вещества в лентах с органической подложкой общую массу связующего вещества определяют по формуле

А = т1 - (т4 - т5),

где т5 - масса органической подложки в образце площадью 100 см2, определяемая по массе 1 м2 подложки, г.

Массовую долю растворимой части связующего вещества в материале (в) в граммах определяют по формуле

в = т2 - т3,

где т2 - масса патрона с образцом до экстрагирования, г;

т3 - масса патрона с образцом после экстрагирования, г.

Массовую долю растворимой части связующего вещества (с) в процентах определяют по формуле

За результат испытания принимают среднее арифметическое двух определений, подсчитанное с точностью до 1 %.

(Измененная редакция, Изм. № 3).

5.20. Проверка стойкости к надрыву - по ГОСТ 21555-76.

5.21. Проверка жесткости - по ГОСТ 25922-83.

5.22. Проверку поверхностной плотности (массы, отнесенной к 1 м2) слюдяного материала проводят путем взвешивания образца с погрешностью не более 0,001 г.

Поверхностную плотность слюдяного материала тА в граммах на квадратный метр вычисляют по формуле

где т1 - масса образца, г;

А - площадь образца, м2.

За результат проверки принимают среднее арифметическое трех определений.

5.23. Проверку изгибающего напряжения при разрушении проводят по ГОСТ 4648 на образцах, подготовленных по п. 5.11.6.

За результат испытания принимают среднее арифметическое пяти определений с указанием среднего квадратического отклонения.

Проверку напряжения разрушения при изгибе в продольном и поперечном направлениях проводят на образцах, подготовленных по п. 5.11.6, в которых отрезки ленты в двух соседних слоях располагают в одном направлении.

За результат испытаний принимают среднее арифметическое пяти определений в каждом направлении.

5.2.2, 5.2.3. (Введены дополнительно, Изм. № 1).

6. УПАКОВКА, МАРКИРОВКА, ТРАНСПОРТИРОВАНИЕ И ХРАНЕНИЕ

6.1. Каждый лист слюдяного материала должен быть переложен битумированной бумагой по ГОСТ 515 или парафинированной по ГОСТ 9569, или оберточной по ГОСТ 8273, или водонепроницаемой по ГОСТ 8828.

Допускается листы коллекторного, прокладочного и гибкого слюдяных материалов не перекладывать бумагой.

(Измененная редакция, Изм. № 1).

6.2. Слюдяные материалы должны плотно упаковываться в дощатые ящики типов II-1, III-1 по ГОСТ 2991 или фанерные ящики типа VI по ГОСТ 5959, или ящики, изготовленные по нормативно-технической документации.

Дно и стенки ящиков должны выстилаться водонепроницаемой бумагой по ГОСТ 8828 или парафинированной бумагой по ГОСТ 9569.

6.3. Слюдяной материал в рулонах должен быть завернут в водонепроницаемую бумагу по ГОСТ 8828, или парафинированную бумагу по ГОСТ 9569, или полиэтиленовую пленку по ГОСТ 10354, а сверху в плотную упаковочную бумагу по ГОСТ 515 в несколько слоев.

Крепление рулонов должно осуществляться при помощи вкладышей, упоров, прокладок, обеспечивающих неподвижность рулонов в упаковке.

Рулоны должны быть уложены в дощатые ящики типов II-1, III-1 по ГОСТ 2991, или фанерные ящики типа VI по ГОСТ 5959, или ящики, изготовленные по нормативно-технической документации.

6.4. Ролики слюдяного материала должны быть упакованы в пакеты из полиэтиленовой пленки по ГОСТ 10354 (тип упаковки ВУ-II по ГОСТ 23216) или банки из оцинкованной стали, или металлические банки, или картонные навивные барабаны по ГОСТ 17065, или пеналы из водонепроницаемой бумаги по нормативно-технической документации (тип упаковки ВУ-IV по ГОСТ 23216). При этом в банки, пакеты, барабаны и пеналы помещают ролики, нарезанные от одного или разных рулонов одной партии материала.

Банки или пакеты должны быть уложены в дощатые ящики типов II-1, III-1 по ГОСТ 2991 или фанерные ящики типа VI по ГОСТ 5959, или ящики, изготовленные по нормативно-технической документации.

Банки могут быть уложены в обрешетку по ГОСТ 12082 или ящики № 81, 82,78 по ГОСТ 18573.

Слюдяной материал, упакованный в металлические банки, допускается транспортировать в контейнерах, не упаковывая их в ящики.

(Измененная редакция, Изм. № 2, 3).

6.5. Ящики или обрешетки должны быть обиты по торцам стальной лентой по ГОСТ 3560, скрепленной в замок или внахлест.

Масса брутто не должна быть более 80 кг.

6.6. На каждый упакованный рулон слюдяного материала, полиэтиленовый пакет, банку должна быть наклеена этикетка, содержащая:

товарный знак предприятия-изготовителя;

условное обозначение слюдяного материала;

номер партии и дату ее изготовления;

массу нетто в килограммах;

штамп отдела технического контроля.

(Измененная редакция, Изм. № 3).

6.7. Транспортная маркировка грузового места должна соответствовать ГОСТ 14192 с нанесением на транспортную тару или фанерный ярлык манипуляционного знака «Беречь от влаги».

Кроме того, на транспортную тару наносят:

номер партии или номер ящика;

массу нетто в килограммах;

условное обозначение слюдяного материала.

(Измененная редакция, Изм. № 1, 3, 4).

6.8. Транспортирование слюдяных метериалов проводится любым видом транспорта в крытых транспортных средствах в соответствии с действующими на каждом виде транспорта правилами, утвержденными в установленном порядке с учетом максимального использования грузоподъемности (вместимости) транспортных средств.

Слюдяные материалы в ящиках транспортируют в контейнерах по ГОСТ 22225 или крытых вагонах. При перевозке в крытых вагонах материалы, упакованные в ящики, формируют в транспортные пакеты на плоских поддонах 800´1200-1, ОД/ВГ по ГОСТ 9557. Средства скрепления в транспортные пакеты - по ГОСТ 21650. Для скрепления ящиков в пакет используется стальная упаковочная лента по ГОСТ 3560. Количество обвязочных поясов должно обеспечивать прочность транспортного пакета и должно быть указано в стандарте или технических условиях на конкретный тип материала. Масса пакета не должна превышать 1000 кг, размеры пакета 1240´840´1350 мм в соответствии с требованиями ГОСТ 24597.

6.9. Условия транспортирования в части воздействия механических факторов при перевозке мелкими отправками - группа (С) по ГОСТ 23216. Во всех остальных случаях - группа (Л) по ГОСТ 23216. В части воздействия климатических факторов условия транспортирования такие же, как условия хранения 5 по ГОСТ 15150.

6.10. Слюдяные материалы у изготовителя и потребителя должны храниться в упаковке предприятия-изготовителя в закрытом сухом помещении на стеллажах на расстоянии от пола не менее 5 см и не менее 1 м от действующих отопительных и нагревательных приборов. Материалы, упакованные в герметичную металлическую тару, помещенную в деревянные ящики, разрешается хранить без стеллажа.

Перед применением слюдяные материалы должны находиться не менее 24 ч в отапливаемом помещении при температуре не ниже плюс 10 °С.

Дополнительные требования к условиям хранения слюдяных материалов должны быть указаны в стандартах или технических условиях на конкретный тип материала.

(Измененная редакция, Изм. № 2).

7. ГАРАНТИИ ИЗГОТОВИТЕЛЯ

7.1. Изготовитель гарантирует соответствие слюдяного материала требованиям настоящего стандарта при соблюдении условий транспортирования и хранения.

7.2. Гарантийный срок хранения слюдяного материала должен быть указан в стандарте или технических условиях на конкретный тип слюдяного материала.

По истечении гарантийного срока хранения перед использованием слюдяной материал должен быть проверен на соответствие требованиям стандартов или технических условий на конкретный тип слюдяного материала.

ПРИЛОЖЕНИЕ 1. (Исключено, Изм. № 2).

ПРИЛОЖЕНИЕ 2
Справочное

Поверхностная плотность (масса, отнесенная к 1 м2)

Толщина, мм

Поверхностная плотность, г/м2

От 0,08 до 0,13

От 100 до 200

Св. 0,13 до 0,17

От 150 до 300

Св. 0,17 до 0,25

От 200 до 450

ПРИЛОЖЕНИЕ 2. (Введено дополнительно, Изм. № 1).

ИНФОРМАЦИОННЫЕ ДАННЫЕ

1. РАЗРАБОТАН И ВНЕСЕН Министерством электротехнической промышленности

РАЗРАБОТЧИКИ

П.М. Хазановский, канд. техн. наук В.П. Вайсфельд

2. УТВЕРЖДЕН И ВВЕДЕН В ДЕЙСТВИЕ Постановлением Государственного комитета СССР по стандартам от 28.02.84 № 642

Изменение № 4 принято Межгосударственным Советом по стандартизации, метрологии и сертификации (протокол № 11 от 25.04.97)

Зарегистрировано Техническим секретариатом МГС № 2512

За принятие изменения проголосовали:

Наименование государства

Наименование национального органа по стандартизации

Азербайджанская Республика

Азгосстандарт

Республика Армения

Армгосстандарт

Республика Беларусь

Госстандарт Беларуси

Республика Казахстан

Госстандарт Республики Казахстан

Киргизская Республика

Киргизстандарт

Республика Молдова

Молдовастандарт

Российская Федерация

Госстандарт России

Республика Таджикистан

Таджикгосстандарт

Туркменистан

Главная государственная инспекция Туркменистана

Республика Узбекистан

Узгосстандарт

3. ВВЕДЕН ВПЕРВЫЕ

4. Стандарт полностью соответствует СТ СЭВ 5241-85, СТ СЭВ 5242-85

5. В стандарт введены международные стандарты: МЭК 371-1-80, МЭК 371-2(1987), МЭК 371-3-1(1984)

6. ССЫЛОЧНЫЕ НОРМАТИВНО-ТЕХНИЧЕСКИЕ ДОКУМЕНТЫ

Обозначение НТД, на который дана ссылка

Номер пункта

Обозначение НТД, на который дана ссылка

Номер пункта

ГОСТ 12.1.005-88

3.2

ГОСТ 6433.1-71

2.4; 5.1; 5.10; 5.13

ГОСТ 12.1.007-76

3.3

ГОСТ 6433.2-71

5.12

ГОСТ 12.1.019-79

3.5

ГОСТ 6433.3-71

5.11

ГОСТ 12.4.028-76

3.4

ГОСТ 6433.4-71

5.13

ГОСТ 515-77

6.1; 6.3

ГОСТ 8273-75

6.1; 6.4

ГОСТ 618-73

5.11.4

ГОСТ 8828-89

6.1; 6.2; 6.3

ГОСТ 980-80

5.7

ГОСТ 9557-87

6.8

ГОСТ 1435-90

5.14.1

ГОСТ 9569-79

6.1; 6.2; 6.3; 6.4

ГОСТ 2603-79

5.9.3; 5.19.1

ГОСТ 10315-75

5.12

ГОСТ 2789-73

5.14.1

ГОСТ 10354-82

6.3; 6.4

ГОСТ 2991-85

6.2; 6.3; 6.4

ГОСТ 12082-82

6.4

ГОСТ 3560-73

6.5; 6.8

ГОСТ 14192-96

6.7

ГОСТ 4648-71

5.23

ГОСТ 15150-69

6.9

ГОСТ 5959-80

6.2; 6.3; 6.4

ГОСТ 17065-94

6.4

ГОСТ 18573-86

6.4

ГОСТ 23216-78             

6.4; 6.9

ГОСТ 21555-76

5.20

ГОСТ 24597-81

6.8

ГОСТ 21650-76

6.8

ГОСТ 25336-82

5.19.1

ГОСТ 22225-76

6.8

ГОСТ 25922-83

5.21

7. Ограничение срока действия снято по протоколу № 5-94 Межгосударственного Совета по стандартизации, метрологии и сертификации (ИУС 11-12-94)

8. ПЕРЕИЗДАНИЕ (июль 1999 г.) с Изменениями № 1, 2, 3, 4, утвержденными в марте 1986 г., декабре 1987 г., августе 1988 г., июле 1997 г. (ИУС 6-86, 3-88, 12-88, 10-97)

 




ГОСТЫ, СТРОИТЕЛЬНЫЕ и ТЕХНИЧЕСКИЕ НОРМАТИВЫ.
Некоммерческая онлайн система, содержащая все Российские Госты, национальные Стандарты и нормативы.
В Системе содержится более 150000 файлов нормативно-технической документации, действующей на территории РФ.
Система предназначена для широкого круга инженерно-технических специалистов.

Рейтинг@Mail.ru Яндекс цитирования

Copyright © www.gostrf.com, 2008 - 2026