| |
МЕЖГОСУДАРСТВЕННЫЙ СТАНДАРТ
|
Изделия крепежные
|
ГОСТ
27148-86
|
|
ВЫХОД РЕЗЬБЫ, СБЕГИ, НЕДОРЕЗЫ И ПРОТОЧКИ
|
|
Размеры
|
|
Fasteners. Screw thread run-out. Washout
threads, total thread run-outs and undercuts. Dimensions
|
Дата
введения 01.01.88
Настоящий стандарт
распространяется на крепежные изделия с метрической резьбой по ГОСТ
8724 и устанавливает размеры сбегов резьбы, выполненной нарезанием или
накатыванием, размеры недорезов при выполнении резьбы до упора, форму и размеры
проточек для выхода резьбообразующего инструмента.
Стандарт допускается
распространять на изделия с метрической резьбой, не относящиеся к крепежным.
Допускается для изделий,
спроектированных до 1 января 1988 г., применять сбеги, недорезы и проточки по ГОСТ
10549.
1. Размеры сбегов и недорезов
для наружной метрической резьбы должны соответствовать указанным на черт. 1 и 4
(при выполнении резьбы нарезанием), на черт. 2,
3 и 5
(при выполнении резьбы накатыванием) и в табл. 1.

Черт. 1

Черт. 2

Черт. 3

Черт. 4

Черт. 5
Таблица
1
мм
|
Шаг резьбы P
|
Номинальный диаметр резьбы
с крупным шагом d
|
Сбег x,
не более
|
Недорез а, не более
|
Проточка
|
|
нормальный ≈2,5P
|
короткий ≈1,25P
|
нормальный ≈3P
|
короткий ≈2P
|
длинный ≈4P
|
dg h 13*
|
g1,
не менее
|
g2,
не более ≈3P
|
r ≈ 0,5P
|
|
0,2
|
0,8
|
0,5
|
0,25
|
0,6
|
0,4
|
0,8
|
d - 0,3
|
0,32
|
0,6
|
0,1
|
|
0,25
|
1; 1,2
|
0,6
|
0,3
|
0,75
|
0,5
|
1
|
d - 0,4
|
0,4
|
0,75
|
0,12
|
|
0,3
|
1,4
|
0,75
|
0,4
|
0,9
|
0,6
|
1,2
|
d - 0,5
|
0,5
|
0,9
|
0,16
|
|
0,35
|
1,6; 1,8
|
0,9
|
0,45
|
1,05
|
0,7
|
1,4
|
d - 0,6
|
0,6
|
1,05
|
0,16
|
|
0,4
|
2
|
1
|
0,5
|
1,2
|
0,8
|
1,6
|
d - 0,7
|
0,6
|
1,2
|
0,2
|
|
0,45
|
2,2; 2,5
|
1,1
|
0,6
|
1,35
|
0,9
|
1,8
|
d - 0,7
|
0,7
|
1,35
|
0,2
|
|
0,5
|
3
|
1,25
|
0,7
|
1,5
|
1
|
2
|
d - 0,8
|
0,8
|
1,5
|
0,2
|
|
0,6
|
3,5
|
1,5
|
0,75
|
1,8
|
1,2
|
2,4
|
d - 1
|
0,9
|
1,8
|
0,4
|
|
0,7
|
4
|
1,75
|
0,9
|
2,1
|
1,4
|
2,8
|
d - 1,1
|
1,1
|
2,1
|
0,4
|
|
0,75
|
4,5
|
1,9
|
1
|
2,25
|
1,5
|
3
|
d - 1,2
|
1,2
|
2,25
|
0,4
|
|
0,8
|
5
|
2
|
1
|
2,4
|
1,6
|
3,2
|
d - 1,3
|
1,3
|
2,4
|
0,4
|
|
1
|
6; 7
|
2,5
|
1,25
|
3
|
2
|
4
|
d - 1,6
|
1,6
|
3
|
0,6
|
|
1,25
|
8
|
3,2
|
1,6
|
3,75
|
2,5
|
5
|
d - 2
|
2
|
3,75
|
0,6
|
|
1,5
|
10
|
3,8
|
1,9
|
4,5
|
3
|
6
|
d - 2,3
|
2,5
|
4,5
|
0,8
|
|
1,75
|
12
|
4,3
|
2,2
|
5,25
|
3,5
|
7
|
d - 2,6
|
3
|
5,25
|
1
|
|
2
|
14; 16
|
5
|
2,5
|
6
|
4
|
8
|
d - 3
|
3,4
|
6
|
1
|
|
2,5
|
18; 20; 22
|
6,3
|
3,2
|
7,5
|
5
|
10
|
d - 3,6
|
4,4
|
7,5
|
1,2
|
|
3
|
24; 27
|
7,5
|
3,8
|
9
|
6
|
12
|
d - 4,4
|
5,2
|
9
|
1,6
|
|
3,5
|
30; 33
|
9
|
4,5
|
10,5
|
7
|
14
|
d - 5
|
6,2
|
10,5
|
1,6
|
|
4
|
36; 39
|
10
|
5
|
12
|
8
|
16
|
d - 5,1
|
7
|
12
|
2
|
|
4,5
|
42; 45
|
11
|
5,5
|
13,5
|
9
|
18
|
d - 6,4
|
8
|
13,5
|
2
|
|
5
|
48; 52
|
12,5
|
6,3
|
15
|
10
|
20
|
d - 1
|
9
|
15
|
2,5
|
|
5,5
|
56;
60
|
14
|
7
|
16,5
|
11
|
22
|
d
- 1,1
|
11
|
17,5
|
3,2
|
|
6
|
64;
68
|
15
|
7,5
|
18
|
12
|
24
|
d
- 8,3
|
11
|
18
|
3,2
|
* Для d ≤
3 мм h 12.
Примечания:
1. Номинальный
сбег и нормальная проточка - для всех изделий классов точности А, В и С.
2. Нормальный
недорез - для изделий класса точности А, длинный недорез - для изделий классов
точности В и С.
3. Короткий
сбег и короткий недорез - для изделий, в которых по техническим причинам
необходим уменьшенный выход резьбы.
4.
Допускается изготовлять проточки с размерами, указанными в приложении.
2. Форма и размеры проточек
наружной метрической резьбы должны соответствовать указанным на черт, 6 и в табл. 1.

Черт. 6
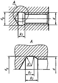
3. Размеры сбегов, недорезов и
проточек для внутренней метрической резьбы должны соответствовать указанным на
черт. 7 и 8 и в табл. 2.

Черт. 7

Черт. 8
Таблица
2
мм
|
Шаг резьбы P
|
Номинальный диаметр резьбы с крупным шагом d
|
Сбег x, не более
|
Недорез a, не менее
|
Проточка
|
|
нормальный
|
короткий
|
длинный
|
нормальный
|
короткий
|
длинный
|
g1,
не менее
|
g2,
не более ≈3P
|
dg Н13
|
R ≈ 0,5P
|
|
нормальная
|
узкая
|
нормальная
|
узкая
|
|
0,2
|
0,8
|
0,4
|
0,3
|
0,8
|
1,6
|
1,0
|
2,0
|
0,8
|
0,5
|
1,2
|
0,9
|
d + 0,1
|
0,1
|
|
0.25
|
1; 1,2
|
0,5
|
0,3
|
1,0
|
1,8
|
1,2
|
2,5
|
1,0
|
0,6
|
1,4
|
1,0
|
d + 0,1
|
0,12
|
|
0,3
|
1,4
|
0,6
|
0,4
|
1,2
|
2,0
|
1,2
|
2,8
|
1,2
|
0,75
|
1,6
|
1,25
|
d + 0,1
|
0,16
|
|
0,35
|
1,6; 1,8
|
0,7
|
0,4
|
1,4
|
2,2
|
1,5
|
3.2
|
1,4
|
0,9
|
1,9
|
1,4
|
d + 0,2
|
0,16
|
|
0,4
|
2
|
0,8
|
0,6
|
1,6
|
2,5
|
1,5
|
3,5
|
1,6
|
1,0
|
2,2
|
1,6
|
d + 0,2
|
0,2
|
|
0,45
|
2,2; 2,5
|
0,9
|
0,6
|
1,8
|
3,0
|
2,0
|
4,0
|
1,8
|
1,1
|
2,4
|
1,7
|
d + 0,2
|
0,2
|
|
0,5
|
3
|
1,0
|
0,8
|
2,0
|
3,0
|
2,0
|
5,0
|
2,0
|
1,25
|
2,7
|
2,0
|
d + 0,3
|
0,2
|
|
0,6
|
3,5
|
1,2
|
0,8
|
2,4
|
3,5
|
2,5
|
5.5
|
2,4
|
1,5
|
3,3
|
2,4
|
d + 0,3
|
0,4
|
|
0,7
|
4
|
1,4
|
1,0
|
2,8
|
3,5
|
2,5
|
6,0
|
2,8
|
1,75
|
3,8
|
2,75
|
d + 0,3
|
0,4
|
|
0,75
|
4,5
|
1,5
|
1,0
|
3,0
|
4,0
|
2,5
|
7,0
|
3,0
|
1,9
|
4
|
2,9
|
d ± 0,3
|
0,4
|
|
0,8
|
5
|
1,6
|
1,2
|
3.2
|
4,0
|
2,5
|
8,0
|
3,2
|
2,0
|
4,2
|
3,0
|
d + 0,3
|
0,4
|
|
1
|
6; 7
|
2,0
|
1,5
|
4,0
|
6,0
|
4,0
|
10,0
|
4,0
|
2,5
|
5,2
|
3,7
|
d + 0,5
|
0,6
|
|
1,25
|
8
|
2,5
|
1,8
|
5,0
|
8,0
|
4,0
|
12,0
|
5,0
|
3,2
|
6,7
|
4,9
|
d + 0,5
|
0,6
|
|
1,5
|
10
|
3,0
|
2,0
|
6,0
|
9,0
|
4,0
|
13,0
|
6,0
|
3.8
|
7,8
|
5,6
|
d + 0,5
|
0,8
|
|
1,75
|
12
|
3,5
|
2,5
|
7,0
|
11.0
|
5,0
|
16,0
|
7,0
|
4,3
|
9,1
|
6,4
|
d + 0,5
|
1,0
|
|
2
|
14; 16
|
4,0
|
3,0
|
8,0
|
11,0
|
5,0
|
16,0
|
8,0
|
5,0
|
10,3
|
7,3
|
d + 0,5
|
1,0
|
|
2,5
|
18; 20; 22
|
5,0
|
3,5
|
10,0
|
12,0
|
6,0
|
18,0
|
10,0
|
6,3
|
13
|
9,3
|
d + 0,5
|
1,2
|
|
3
|
24; 27
|
6,0
|
4,0
|
12,0
|
15,0
|
7,0
|
22,0
|
12,0
|
7,5
|
15,2
|
10,7
|
d + 0,5
|
1,6
|
|
3,5
|
30; 33
|
7,0
|
5,0
|
14,0
|
17,0
|
8,0
|
25,0
|
14,0
|
9,0
|
17,7
|
12,7
|
d + 0,5
|
1,6
|
|
4
|
36; 39
|
8,0
|
6,0
|
16,0
|
19,0
|
9,0
|
28,0
|
16,0
|
10,0
|
20,0
|
14,0
|
d + 0,5
|
2,0
|
|
4,5
|
42; 45
|
9,0
|
6,0
|
18,0
|
23,0
|
11,0
|
33,0
|
18,0
|
11,0
|
23,0
|
16,0
|
d + 0,5
|
2,0
|
|
5
|
48; 52
|
10,0
|
7,0
|
20,0
|
26,0
|
12,0
|
37,0
|
20,0
|
12,5
|
26,0
|
18,5
|
d + 0,5
|
2,5
|
|
5,5
|
56; 60
|
11,0
|
8,0
|
22,0
|
28,0
|
13,0
|
40,0
|
22,0
|
14,0
|
28,0
|
20,0
|
d + 0,5
|
3,2
|
|
6
|
64; 68
|
12,0
|
9,0
|
24,0
|
28,0
|
13,0
|
42,0
|
24,0
|
15,0
|
30,0
|
21,0
|
d + 0,5
|
3,2
|
ПРИЛОЖЕНИЕ
Справочное
ДОПУСТИМЫЕ РАЗМЕРЫ ПРОТОЧЕК
Таблица 3
мм
|
Шаг резьбы P
|
Проточка
|
|
Узкая (g2
≈ 2,5P)
|
Широкая (g2
≈ 3,5P)
|
|
g1,
не менее
|
g2,
не более
|
g1
не менее
|
g2,
не более
|
|
0,2
|
0,25
|
0,5
|
0,45
|
0,7
|
|
0,25
|
0,25
|
0,6
|
0,55
|
0,9
|
|
0,3
|
0,3
|
0,75
|
0,6
|
1,05
|
|
0,35
|
0,4
|
0,9
|
0,7
|
1,2
|
|
0,4
|
0,5
|
1,0
|
0,8
|
1,4
|
|
0,45
|
0,5
|
1,1
|
1,0
|
1,6
|
|
0,5
|
0,5
|
1,25
|
1,1
|
1,75
|
|
0,6
|
0,6
|
1,5
|
1,2
|
2,1
|
|
0,7
|
0,8
|
1,75
|
1,5
|
2,45
|
|
0,75
|
0,9
|
1,9
|
1,6
|
2,6
|
|
0,8
|
0,9
|
2,0
|
1,7
|
2,8
|
|
1
|
1,1
|
2,5
|
2,1
|
3,5
|
|
1,25
|
1,5
|
3,2
|
2,7
|
4,4
|
|
1,5
|
1,8
|
3,8
|
3,2
|
5,2
|
|
1,75
|
2,1
|
4,3
|
3,9
|
6,1
|
|
2
|
2,5
|
5,0
|
4,5
|
7
|
|
2,5
|
3,2
|
6,3
|
5,6
|
8,7
|
|
3
|
3,7
|
7,5
|
6,7
|
10,5
|
|
3,5
|
4,7
|
9
|
7,7
|
12
|
|
4
|
5,0
|
10
|
9,0
|
14
|
|
4,5
|
5,5
|
11
|
10,5
|
16
|
|
5
|
6,5
|
12,5
|
11,5
|
17,5
|
|
5,5
|
7,5
|
14
|
12,5
|
19
|
|
6
|
8,0
|
15
|
14,0
|
21
|
ИНФОРМАЦИОННЫЕ ДАННЫЕ
1. РАЗРАБОТАН И ВНЕСЕН
Государственным комитетом СССР по стандартам
2. УТВЕРЖДЕН И ВВЕДЕН В ДЕЙСТВИЕ Постановлением
Государственного комитета СССР по стандартам от 11.12.86 № 3780
3. Стандарт полностью
соответствует СТ СЭВ 214-86
Стандарт полностью соответствует
международным стандартам ИСО 3508-76 и ИСО 4755-83
4. ВВЕДЕН ВПЕРВЫЕ
5. ССЫЛОЧНЫЕ
НОРМАТИВНО-ТЕХНИЧЕСКИЕ ДОКУМЕНТЫ
6. ПЕРЕИЗДАНИЕ 2006
г.
|
|