Крупнейшая бесплатная информационно-справочная система онлайн доступа к полному собранию технических нормативно-правовых актов РФ. Огромная база технических нормативов (более 150 тысяч документов) и полное собрание национальных стандартов, аутентичное официальной базе Госстандарта. GOSTRF.com - это более 1 Терабайта бесплатной технической информации для всех пользователей интернета. Все электронные копии представленных здесь документов могут распространяться без каких-либо ограничений. Поощряется распространение информации с этого сайта на любых других ресурсах. Каждый человек имеет право на неограниченный доступ к этим документам! Каждый человек имеет право на знание требований, изложенных в данных нормативно-правовых актах!

  


 

ГОСУДАРСТВЕННЫЙ СТАНДАРТ СОЮЗА ССР

ТРУБЫ ЧУГУННЫЕ

КАНАЛИЗАЦИОННЫЕ И ФАСОННЫЕ ЧАСТИ К НИМ  ОТВОДЫ

КОНСТРУКЦИЯ И РАЗМЕРЫ

ГОСТ 6942.9-80

ГОСУДАРСТВЕННЫЙ КОМИТЕТ СССР ПО ДЕЛАМ СТРОИТЕЛЬСТВА

Москва

РАЗРАБОТАНЫ Министерством промышленности строительных материалов СССР

ИСПОЛНИТЕЛИ

О.П. Михеев, канд. техн. наук (руководитель темы); В.И. Фельдман, канд., техн. наук; В.Н. Бехалов, канд. техн. наук

ВНЕСЕНЫ Министерством промышленности строительных материалов СССР

Зам. министра Н. П. Кабанов

УТВЕРЖДЕНЫ И ВВЕДЕНЫ В ДЕЙСТВИЕ Постановлением Государственного комитета СССР по делам строительства от 4 сентября 1980 г. № 137

ГОСУДАРСТВЕННЫЙ СТАНДАРТ СОЮЗА ССР

ТРУБЫ ЧУГУННЫЕ КАНАЛИЗАЦИОННЫЕ

И ФАСОННЫЕ ЧАСТИ К НИМ

ОТВОДЫ

Конструкция и размеры

Cast iron waste pipes and fittings.

Bends. Construction and dimensions

ГОСТ

6942.9-80

Взамен

ГОСТ 6942.10-69

ГОСТ 6942.11-69

ГОСТ 6942.12-69

и ГОСТ 6942.13-69

Постановлением Государственного комитета СССР по делам строительства от 4 сентября 1980 г. №137 срок введения установлен

с 01.01 1982 г.

Несоблюдение стандарта преследуется по закону

1. Настоящий стандарт распространяется на отводы к чугунным трубам, предназначенным для систем внутренней канализации зданий.

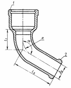
2. Конструкция и размеры отводов должны соответствовать указанным на чертеже и в табл. 1 и 2.

1 - раструб типа I по ГОСТ 6942.2-80; 2 - хвостовик по ГОСТ 6942.2-80

Таблица 1

Размеры в мм

Условный проход Dy

Код ОКП

l1

l2

R

Масса, кг

Код ОКП

l1

l2

R

Масса, кг

при a = 110°

при a = 120°

50

49 2521 2311

70

135

70

1,8

49 2521 2411

60

125

70

1,7

100

49 2522 2311

75

150

75

4,3

49 2522 2411

65

140

75

3,8

Таблица 2

Размеры в мм

Условный проход Dy

Код ОКП

l1

l2

R

Масса, кг

Код ОКП

l1

l2

R

Масса, кг

при a = 135°

при a = 150°

50

49 2521 2511

50

115

70

1,6

49 2521 2611

65

130

167

1,8

100

49 2522 2511

55

125

75

3,7

49 2522 2611

125

175

335

5,1

100Д

-

 

-

-

 

49 2522 2612

125

275

335

6,2

150

49 2523 2511

100

165

175

7,7

49 2523 2611

65

125

130

6,4

Примечание. Размеры и масса даны без учета антикоррозионного покрытия.

Пример условного обозначения отвода с a = 120° и Dy = 50 мм:

Отвод 0120°—50 ГОСТ 6942.9-80

То же, с a = 150° и Dy = 100Д мм:

Отвод 0150°—100Д ГОСТ 6942.9-80

3. Технические требования, правила приемки, методы контроля, маркировка, упаковка, транспортирование, хранение, гарантии изготовителя - по ГОСТ 6942.0-80.

 




ГОСТЫ, СТРОИТЕЛЬНЫЕ и ТЕХНИЧЕСКИЕ НОРМАТИВЫ.
Некоммерческая онлайн система, содержащая все Российские Госты, национальные Стандарты и нормативы.
В Системе содержится более 150000 файлов нормативно-технической документации, действующей на территории РФ.
Система предназначена для широкого круга инженерно-технических специалистов.

Рейтинг@Mail.ru Яндекс цитирования

Copyright © www.gostrf.com, 2008 - 2026