Крупнейшая бесплатная информационно-справочная система онлайн доступа к полному собранию технических нормативно-правовых актов РФ. Огромная база технических нормативов (более 150 тысяч документов) и полное собрание национальных стандартов, аутентичное официальной базе Госстандарта. GOSTRF.com - это более 1 Терабайта бесплатной технической информации для всех пользователей интернета. Все электронные копии представленных здесь документов могут распространяться без каких-либо ограничений. Поощряется распространение информации с этого сайта на любых других ресурсах. Каждый человек имеет право на неограниченный доступ к этим документам! Каждый человек имеет право на знание требований, изложенных в данных нормативно-правовых актах!

  


 

ГОСУДАРСТВЕННЫЙ СТАНДАРТ СОЮЗА ССР

ТРУБЫ ЧУГУННЫЕ

КАНАЛИЗАЦИОННЫЕ И ФАСОННЫЕ ЧАСТИ К НИМ

ТРОЙНИКИ ПРЯМЫЕ КОМПЕНСАЦИОННЫЕ

КОНСТРУКЦИЯ И РАЗМЕРЫ

ГОСТ 6942.13-80

 

ГОСУДАРСТВЕННЫЙ КОМИТЕТ СССР ПО ДЕЛАМ СТРОИТЕЛЬСТВА

Москва

 

РАЗРАБОТАНЫ Министерством промышленности строительных материалов СССР

ИСПОЛНИТЕЛИ

О.П. Михеев, канд. техн. наук (руководитель темы); В.И. Фельдман, канд., техн. наук; В.Н. Бехалов, канд. техн. наук

ВНЕСЕНЫ Министерством промышленности строительных материалов СССР

Зам. министра Н. П. Кабанов

УТВЕРЖДЕНЫ И ВВЕДЕНЫ В ДЕЙСТВИЕ Постановлением Государственного комитета СССР по делам строительства от 4 сентября 1980 г. № 137

 

ГОСУДАРСТВЕННЫЙ СТАНДАРТ СОЮЗА ССР

ТРУБЫ ЧУГУННЫЕ КАНАЛИЗАЦИОННЫЕ И ФАСОННЫЕ ЧАСТИ К НИМ ТРОЙНИКИ ПРЯМЫЕ КОМПЕНСАЦИОННЫЕ

Конструкция и размеры

Cast iron waste pipes and fittings. Compensation T-branches. Construction and dimensions

ГОСТ
942.13-80

 

Взамен
ГОСТ 6942.18-69

Постановлением Государственного комитета СССР по делам строительства от 4 сентября 1980 г. №137 срок введения установлен

с 01.01.1982 г.

Несоблюдение стандарта преследуется по закону

1. Настоящий стандарт распространяется на прямые компенсационные тройники к чугунным трубам, предназначенным для систем внутренней канализации зданий.

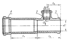
2. Конструкция и размеры прямых компенсационных тройников должны соответствовать указанным на чертеже и в таблице.

1 - раструб типа II по ГОСТ 6942.2-80; 2 - раструб типа I по ГОСТ 6942.2-80; 3 - хвостовик по ГОСТ 6942.2-80

Размеры в мм

Условный проход Dy

Код ОКП

l1

l2

l3

l4

Масса, кг

100

49 2522 3311

320

170

65

140

9,3

150

49 2523 3311

330

180

95

150

14,6

Примечание. Размеры и масса даны без учета антикоррозионного покрытия.

Пример условного обозначения прямого компенсационного тройника Dy = 100 мм, dy = 50 мм:

Тройник ТПК-100´50 ГОСТ 6942.13-80

3. Технические требования, правила приемки, методы контроля, маркировка, упаковка, транспортирование, хранение, гарантии изготовителя - по ГОСТ 6942.0-80.

 

 

 




ГОСТЫ, СТРОИТЕЛЬНЫЕ и ТЕХНИЧЕСКИЕ НОРМАТИВЫ.
Некоммерческая онлайн система, содержащая все Российские Госты, национальные Стандарты и нормативы.
В Системе содержится более 150000 файлов нормативно-технической документации, действующей на территории РФ.
Система предназначена для широкого круга инженерно-технических специалистов.

Рейтинг@Mail.ru Яндекс цитирования

Copyright © www.gostrf.com, 2008 - 2026