Крупнейшая бесплатная информационно-справочная система онлайн доступа к полному собранию технических нормативно-правовых актов РФ. Огромная база технических нормативов (более 150 тысяч документов) и полное собрание национальных стандартов, аутентичное официальной базе Госстандарта. GOSTRF.com - это более 1 Терабайта бесплатной технической информации для всех пользователей интернета. Все электронные копии представленных здесь документов могут распространяться без каких-либо ограничений. Поощряется распространение информации с этого сайта на любых других ресурсах. Каждый человек имеет право на неограниченный доступ к этим документам! Каждый человек имеет право на знание требований, изложенных в данных нормативно-правовых актах!

  


 

ГОСУДАРСТВЕННЫЙ СТАНДАРТ СОЮЗА ССР

ТРУБЫ ЧУГУННЫЕ

КАНАЛИЗАЦИОННЫЕ И ФАСОННЫЕ

ЧАСТИ К НИМ.

ТРОЙНИКИ ПРЯМЫЕ НИЗКИЕ

КОНСТРУКЦИЯ И РАЗМЕРЫ

ГОСТ 6942.14-80

ГОСУДАРСТВЕННЫЙ КОМИТЕТ СССР ПО ДЕЛАМ СТРОИТЕЛЬСТВА

Москва

РАЗРАБОТАНЫ Министерством промышленности строительных материалов СССР

ИСПОЛНИТЕЛИ

О.П. Михеев, канд. техн. наук (руководитель темы); В.И. Фельдман, канд. техн. наук; В.Н. Бехалов, канд. техн. наук

ВНЕСЕНЫ Министерством промышленности строительных материалов СССР

Зам. министра Н. П. Кабанов

УТВЕРЖДЕНЫ И ВВЕДЕНЫ В ДЕЙСТВИЕ Постановлением Государственного комитета СССР по делам строительства от 4 сентября 1980 г. № 137

ГОСУДАРСТВЕННЫЙ СТАНДАРТ СОЮЗА ССР

ТРУБЫ ЧУГУННЫЕ КАНАЛИЗАЦИОННЫЕ

И ФАСОННЫЕ ЧАСТИ К НИМ

ТРОЙНИКИ ПРЯМЫЕ НИЗКИЕ

Конструкция и размеры

Cast iron waste pipes and fittings.

Low branches. Construction and dimensions

ГОСТ

6942.14-80

Взамен

ГОСТ 6942.19-69

Постановлением Государственного комитета СССР по делам строительства от 4 сентября 1980 г. №137 срок введения установлен

с 01.01.1982 г.

Несоблюдение стандарта преследуется по закону

1. Настоящий стандарт распространяется на прямые низкие тройники к чугунным трубам, предназначенным для систем внутренней канализации зданий.

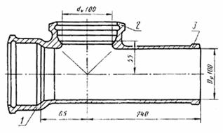
2. Конструкция и размеры прямых низких тройников должны соответствовать указанным на чертеже.

Масса тройника - 6,0 кг

1 - раструб типа I по ГОСТ 6942.2-80; 2 - раструб типа IV по ГОСТ 6942.2-80, 3 - хвостовик по ГОСТ 6942.2-80

Примечание. Размеры и масса даны без учета антикоррозионного покрытия.

Условное обозначение прямого низкого тройника:

Тройник ТН-100´100 ГОСТ 6942.14-80

3. Технические требования, правила приемки, методы контроля, маркировка, упаковка, транспортирование, хранение, гарантии изготовителя - по ГОСТ 6942.0-80.

 




ГОСТЫ, СТРОИТЕЛЬНЫЕ и ТЕХНИЧЕСКИЕ НОРМАТИВЫ.
Некоммерческая онлайн система, содержащая все Российские Госты, национальные Стандарты и нормативы.
В Системе содержится более 150000 файлов нормативно-технической документации, действующей на территории РФ.
Система предназначена для широкого круга инженерно-технических специалистов.

Рейтинг@Mail.ru Яндекс цитирования

Copyright © www.gostrf.com, 2008 - 2026