Крупнейшая бесплатная информационно-справочная система онлайн доступа к полному собранию технических нормативно-правовых актов РФ. Огромная база технических нормативов (более 150 тысяч документов) и полное собрание национальных стандартов, аутентичное официальной базе Госстандарта. GOSTRF.com - это более 1 Терабайта бесплатной технической информации для всех пользователей интернета. Все электронные копии представленных здесь документов могут распространяться без каких-либо ограничений. Поощряется распространение информации с этого сайта на любых других ресурсах. Каждый человек имеет право на неограниченный доступ к этим документам! Каждый человек имеет право на знание требований, изложенных в данных нормативно-правовых актах!

  


 

ГОСУДАРСТВЕННЫЙ СТАНДАРТ СОЮЗА ССР

ТРУБЫ ЧУГУННЫЕ

КАНАЛИЗАЦИОННЫЕ И ФАСОННЫЕ

ЧАСТИ К НИМ.

КРЕСТОВИНЫ ПРЯМЫЕ

КОНСТРУКЦИЯ И РАЗМЕРЫ

ГОСТ 6942.18-80

ГОСУДАРСТВЕННЫЙ КОМИТЕТ СССР ПО ДЕЛАМ СТРОИТЕЛЬСТВА

Москва

РАЗРАБОТАНЫ Министерством промышленности строительных материалов СССР

ИСПОЛНИТЕЛИ

О. П. Михеев, канд. техн. наук (руководитель темы); В. И. Фельдман, канд. техн. наук; В. Н. Бехалов, канд. техн. наук

ВНЕСЕНЫ Министерством промышленности строительных материалов СССР

Зам. министра Н. П. Кабанов

УТВЕРЖДЕНЫ И ВВЕДЕНЫ В ДЕЙСТВИЕ Постановлением Государственного комитета СССР по делам строительства от 4 сентября 1980 г. № 137

ГОСУДАРСТВЕННЫЙ СТАНДАРТ СОЮЗА ССР

ТРУБЫ ЧУГУННЫЕ КАНАЛИЗАЦИОННЫЕ

И ФАСОННЫЕ ЧАСТИ К НИМ

КРЕСТОВИНЫ ПРЯМЫЕ

Конструкция и размеры

Cast iron waste pipes and fittings.

Duble branches. Construction and dimensions

ГОСТ

6942.18-80

Взамен

ГОСТ 6942.24-69

Постановлением Государственного комитета СССР по делам строительства от 4 сентября 1980 г. №137 срок введения установлен

с 01.01.1982 г.

Несоблюдение стандарта преследуется по закону

1. Настоящий стандарт распространяется на прямые крестовины к чугунным трубам, предназначенным для систем внутренней канализации зданий.

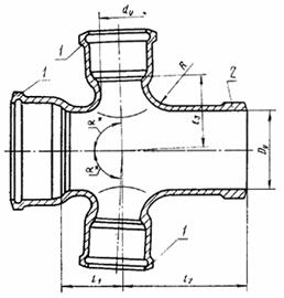
2. Конструкция и размеры прямых крестовин должны соответст­вовать указанным на чертеже и в таблице.

* a = 87°30' или 90°, при этом размер 87°30' является предпочтительным, а в крестовинах высшей категории качества - обязательным.

1 - раструбы типа I по ГОСТ 6942.2-80; 2 - хвостовик по ГОСТ 6942.2-80

Размеры в мм

Условный проход

Код ОКП

 

l1

 

l2

 

l3

 

R

 

Масса, кг

 

Dy

dу

50

50

49 2521 4111

70

130

70

40

3,5

100

50

100

49 2522 4111

49 2522 4112

75

95

160

170

90

100

40

45

6,5

8,8

150

50

100

49 2523 4111

49 2523 4112

40

70

155

190

95

95

-

-

7,2

10,3

Примечание. Размеры и масса даны без учета антикоррозионного покрытия.

Пример условного обозначения прямой крестовины Dy = 100 мм и dy = 50 мм:

Крестовина КП-100´50 ГОСТ 6942.18-80

3. Технические требования, правила приемки, методы контроля, маркировка, упаковка, транспортирование, хранение, гарантии изготовителя - по ГОСТ 6942.0-80.

 




ГОСТЫ, СТРОИТЕЛЬНЫЕ и ТЕХНИЧЕСКИЕ НОРМАТИВЫ.
Некоммерческая онлайн система, содержащая все Российские Госты, национальные Стандарты и нормативы.
В Системе содержится более 150000 файлов нормативно-технической документации, действующей на территории РФ.
Система предназначена для широкого круга инженерно-технических специалистов.

Рейтинг@Mail.ru Яндекс цитирования

Copyright © www.gostrf.com, 2008 - 2026