Крупнейшая бесплатная информационно-справочная система онлайн доступа к полному собранию технических нормативно-правовых актов РФ. Огромная база технических нормативов (более 150 тысяч документов) и полное собрание национальных стандартов, аутентичное официальной базе Госстандарта. GOSTRF.com - это более 1 Терабайта бесплатной технической информации для всех пользователей интернета. Все электронные копии представленных здесь документов могут распространяться без каких-либо ограничений. Поощряется распространение информации с этого сайта на любых других ресурсах. Каждый человек имеет право на неограниченный доступ к этим документам! Каждый человек имеет право на знание требований, изложенных в данных нормативно-правовых актах!

  


 

ГОСУДАРСТВЕННЫЙ СТАНДАРТ СОЮЗА ССР

ПЛИТЫ ПОДОКОННЫЕ
ЖЕЛЕЗОБЕТОННЫЕ

ТЕХНИЧЕСКИЕ УСЛОВИЯ

ГОСТ 6785-80

 

ГОСУДАРСТВЕННЫЙ КОМИТЕТ СССР
ПО ДЕЛАМ СТРОИТЕЛЬСТВА

Москва

РАЗРАБОТАН

Государственным комитетом по гражданскому строительству и архитектуре при Госстрое СССР

Министерством промышленности строительных материалов СССР Центральным научно-исследовательским и проектно-экспериментальным институтом промышленных зданий и сооружении (ЦНИИ-промзданий) Госстроя СССР

ИСПОЛНИТЕЛИ

А. Д. Шеренцис, канд. техн. наук (руководитель темы) В. Ф. Москвин; Л. Г. Пащевская; С. А. Каган, канд. техн. наук; Д. М. Лаковский, Г. М. Смилянский, канд. техн. наук; Ц. Б. Абрамович; В. И. Деньщиков; В. А. Хвостов

ВНЕСЕН Государственным комитетом по гражданскому строительству и архитектуре при Госстрое СССР

Зам. председателя С. Г. Змеул

УТВЕРЖДЕН И ВВЕДЕН В ДЕЙСТВИЕ Постановлением Государственного комитета СССР по делам строительства от 8 октября 1980 г. № 157

 

ГОСУДАРСТВЕННЫЙ СТАНДАРТ СОЮЗА ССР

ПЛИТЫ ПОДОКОННЫЕ
ЖЕЛЕЗОБЕТОННЫЕ

Технические условия

Reinforced concrete window boards. Specification

ГОСТ
6785-80

Взамен
ГОСТ 6785-69 и
ГОСТ 8484-71
в части типов и основных размеров плит

Постановлением Государственного комитета СССР по делам строительства от 8 октября 1980 г. № 157 срок введения установлен

с 01.01 1982 г.

Поправка, ИУС 12-1982.

Настоящий стандарт распространяется на подоконные железобетонные плиты, изготовляемые из тяжелого бетона, бетона на пористых заполнителях и плотного силикатного бетона и предназначенные для применения в жилых, общественных и производственных зданиях, а также во вспомогательных зданиях промышленных и сельскохозяйственных предприятий.

1. ТИПЫ, ОСНОВНЫЕ ПАРАМЕТРЫ И РАЗМЕРЫ

1.1. Плиты подразделяют на три типа:

ПОШ - из бетона на щебне из мрамора, с шлифованной мозаичной лицевой поверхностью;

ПОГ - из бетона на белом или цветном цементе, с глянцевой лицевой поверхностью;

ПОО - из бетона на цементном или известковом вяжущем, с гладкой поверхностью, предназначаемой под окраску.

Плиты высшей категории качества должны быть типов ПОШ или ПОГ.

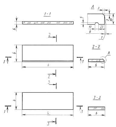
1.2. Форма и основные размеры плит для жилых, общественных и вспомогательных зданий должны соответствовать указанным на черт. 1 и приведенным в табл. 1, а для производственных зданий - указанным на черт. 2 и приведенным в табл. 2.

ПОДОКОННЫЕ ПЛИТЫ ДЛЯ ЖИЛЫХ, ОБЩЕСТВЕННЫХ И ВСПОМОГАТЕЛЬНЫХ ЗДАНИЙ

1 - вырез; 2 - срез торца; 3 - технологический уклон не более 3 мм

Черт. 1

ПОДОКОННЫЕ ПЛИТЫ ДЛЯ ПРОИЗВОДСТВЕННЫХ ЗДАНИЙ

1 - технологический уклон не более 2 мм

Черт. 2

Таблица 1

Типоразмер плиты

Основные размеры плиты, мм

Справочная масса плиты (из тяжелого бетона), кг

Длина l

Ширина b

Толщина h

ПО 7.15.45

700

150

45

12

ПО 8.15.45

850

14

ПО 10.15.45

1000

17

ПО 13.15.45

1300

22

ПО 14.15.45

1450

24

ПО 16.15.45

1600

150

27

ПО 19.15.45

1900

32

ПО 22.15.45

2200

37

ПО 25.15.45

2500

42

ПО 28.15.45

2800

47

ПО 7.20.45

700

200

16

ПО 8.20.45

850

19

ПО 10.20.45

1000

23

ПО 13.20.45

1300

29

ПО 14.20.45

1450

33

ПО 16.20.45

1600

36

ПО 19.20.45

1900

43

ПО 22.20.45

2200

50

ПО 25.20.45

2500

56

ПО 28.20.45

2800

63

ПО 7.25.45

700

250

20

ПО 8.25.45

850

24

ПО 10.25.45

1000

28

ПО 13.25.45

1300

37

ПО 14.25.45

1450

41

ПО 16.25.45

1600

45

ПО 19.25.45

1900

53

ПО 22.25.45

2200

62

ПО 25.25.45

2500

70

ПО 28.25.45

2800

79

ПО 7.35.45

700

350

28

ПО 8.35.45

850

33

ПО 10.35.45

1000

39

ПО 13.35.45

1300

51

ПО 14.35.45

1450

57

ПО 16.35.45

1600

63

ПО 19.35.45

1900

75

ПО 22.35.45

2200

87

ПО 25.35.45

2500

98

ПО 28.35.45

2800

110

ПО 7.45.45

700

450

35

ПО 8.45.45

850

43

ПО 10.45.45

1000

51

ПО 13.45.45

1300

66

ПО 14.45.45

1450

73

ПО 16.45.45

1600

81

ПО 19.45.45

1900

96

ПО 22.45.45

2200

113

ПО 25.45.45

2500

127

ПО 28.45.45

2800

142

Таблица 2

Типоразмер плиты

Основные размеры плиты, мм

Справочная масса плиты (из тяжелого бетона), кг

Длина l

Ширина b

Толщина h

ПО 3.10.35

300

100

35

3

ПО 5.10.35

500

4

ПО 3.15.35

300

150

4

ПО 5.15.35

500

7

ПО 12.15.35

1210

16

ПО 18.15.35

1820

24

ПО 20.15.35

2020

26

ПО 320.35

300

200

5

ПО 5.20.35

500

9

ПО 8.20.35

820

14

ПО 12.20.35

1210

21

ПО 18.20.35

1820

32

ПО 20.20.35

2020

35

ПО 8.25.35

820

250

18

ПО 12.25.35

1210

26

ПО 18.25.35

1820

40

ПО 20.25.35

2020

44

ПО 12.30.35

1210

300

32

ПО 18.30.35

1820

48

ПО 20.30.35

2020

53

ПО 12.40.35

1210

400

42

ПО 18.40.35

1820

63

ПО 12.50.35

1210

500

53

ПО 18.50.35

1820

80

Примечание к табл. 1 и табл. 2. Обозначение типоразмера плиты в таблицах дано без указания вида лицевой поверхности плиты.

1.3. В случаях, предусмотренных проектом жилого, общественного и вспомогательного зданий, плиты могут иметь:

лицевой профиль, отличающийся от указанного на черт. 1 (с валиком, капельником, закругленными углами);

вырезы в углах и срезы торцов;

стальные закладные изделия, не выходящие на лицевые поверхности, для крепления плит к стенам.

В случаях, предусмотренных проектом производственного здания, плиты могут иметь лицевой профиль, отличающийся от указанного на черт. 2 (с валиком, закругленными углами).

1.4. Плиты, при необходимости, изготовляют в двух вариантах исполнения: правом и левом - с закладным изделием или вырезом в углу (срезом торца), расположенными соответственно на правом или левом торце плиты.

1.5. Плиты обозначают марками в соответствии с ГОСТ 23009-78.

Марка плит состоит из буквенно-цифровых групп, разделенных дефисами.

Первая группа содержит обозначение типа плиты, номинальные габаритные размеры и, в случае необходимости, вариант исполнения плиты. Длину плиты указывают в дециметрах (значение длины округляют до целого числа), ширину - в сантиметрах, толщину - в миллиметрах. Буквами «пр» обозначают правый вариант исполнения плиты, буквой «л» - левый.

Во второй группе указывают вид бетона, обозначаемый буквами: Т - тяжелый бетон, П - бетон на пористых заполнителях, С - силикатный бетон.

В третью группу, в случае необходимости, включают дополнительные конструктивные характеристики плит (наличие закладных изделий, вырезов и т. п.), обозначаемые в марке арабскими цифрами или строчными буквами.

Пример условного обозначения (марки) плиты типа ПОШ, длиной 1210 мм, шириной 200 мм, толщиной 35 мм (типоразмера ПОШ 12.20.35) из тяжелого бетона:

ПОШ 12.20.35-Т

То же, плиты типа ПОГ длиной 1600 мм, шириной 250 мм, толщиной 45 мм (типоразмера ПОГ 16.25.45) из бетона на пористых заполнителях, имеющей закладные изделия:

ПОГ 16.25.45-П-д

То же, плиты типа ПОО длиной 1900 мм, шириной 350 мм, толщиной 45 мм (типоразмера ПОО 19.35.45) в правом варианте исполнения из силикатного бетона, имеющей вырез:

ПОО 19.35.45пр-С-1

2. ТЕХНИЧЕСКИЕ ТРЕБОВАНИЯ

2.1. Плиты следует изготовлять в соответствии с требованиями настоящего стандарта по рабочим чертежам, утвержденным в установленном порядке.

2.2. Плиты следует изготовлять в стальных формах, удовлетворяющих требованиям ГОСТ 18886-73.

Допускается изготовление плит в неметаллических формах, обеспечивающих соблюдение требований к качеству и точности изготовления плит, установленных настоящим стандартом.

2.3. Плиты должны быть прочными и, если в рабочих чертежах предусмотрено их испытание на прочность, должны выдерживать контрольные нагрузки.

2.4. Бетон

2.4.1. Прочность бетона плит должна соответствовать проектной марке по прочности на сжатие, указанной в рабочих чертежах, и быть не ниже М 200.

2.4.2. Для плит высшей категории качества партионный коэффициент вариации прочности бетона должен быть не более 9 %.

2.4.3. Поставку плит потребителю следует производить после достижения бетоном требуемой прочности, устанавливаемой по ГОСТ 18105-72 или ГОСТ 21217-75 в зависимости от величины нормируемой отпускной прочности и фактической однородности бетона.

Величина нормируемой отпускной прочности бетона должна назначаться и согласовываться в соответствии с ГОСТ 13015-75. При этом величина нормируемой отпускной прочности бетона в процентах от его проектной марки по прочности на сжатие должна быть не менее:

80 - в плитах из тяжелого бетона или бетона на пористых заполнителях при условии достижения бетоном требуемой прочности в возрасте 28 суток или ином возрасте, установленном проектом здания;

100 - в плитах из силикатного бетона.

2.4.4. Морозостойкость бетона плит должна соответствовать марке по морозостойкости, установленной рабочими чертежами проекта конкретного здания согласно требованиям главы СНиП II-21-75 в зависимости от климатических условий района строительства и указанной в заказе на изготовление плит.

2.4.5. Средняя плотность силикатного бетона в высушенном до постоянной массы состоянии должна быть не менее 1900 кг/м3.

2.4.6. Материалы, применяемые для приготовления бетона, должны удовлетворять требованиям государственных стандартов или утвержденных в установленном порядке технических условий и обеспечивать выполнение технических требований к бетону, установленных настоящим стандартом.

2.4.7. Плиты из бетона на пористых заполнителях должны иметь отделочный слой из тяжелого бетона толщиной не менее 15 мм.

2.5. Арматурные и закладные изделия

2.5.1. Плиты следует армировать сварными сетками из арматурной проволоки периодического профиля класса Вр - 1 по ТУ 14-4-659-75.

Для закладных изделий должна применяться углеродистая сталь класса С38/23 по ГОСТ 380-71 и арматурная сталь класса A - III по ГОСТ 5781-75.

2.5.2. Форма и размеры арматурных сеток и закладных изделий и их положение в плитах должны соответствовать указанным в рабочих чертежах.

2.5.3. Сварные арматурные сетки и стальные закладные изделия должны удовлетворять требованиям ГОСТ 10922-75.

2.5.4. Стальные закладные изделия плит должны иметь антикоррозионное покрытие, вид и техническая характеристика которого должны соответствовать установленным в проекте здания согласно требованиям главы СНиП II-28-73 и указанным в заказе на изготовление плит.

2.6. Точность изготовления плит

2.6.1. Отклонения фактических размеров плит от номинальных, указанных в рабочих чертежах, не должны превышать, мм:

по длине плиты                                                               ±6

по ширине плиты                                                            ±3

по толщине плиты                                                          ±2

2.6.2. Непрямолинейность профиля лицевой поверхности плиты не должна превышать, мм:

на 1 м длины плиты                                                         2

на всю длину плиты при длине плиты более 1м          3

на ширину плиты                                                             1

2.6.3. Неплоскостность лицевой поверхности плиты не должна превышать 3 мм.

2.6.4. Отклонения от проектного положения стальных закладных изделий не должны превышать, мм:

в плоскости плиты                                                           5

из плоскости плиты                                                         2

2.6.5. Отклонение от проектной толщины защитного слоя бетона до арматуры не должно превышать +3 мм.

2.7. Качество поверхностей и внешний вид плит

2.7.1. Внешний вид и качество поверхностей плит должны соответствовать установленным эталоном плиты.

Виды отделки плит должны соответствовать предусмотренным в настоящем стандарте и указанным в рабочих чертежах и заказе на изготовление плит.

2.7.2. На поверхностях плит не допускаются:

а) раковины, местные наплывы и впадины, околы бетона, размеры которых превышают указанные в табл. 3;

б) трещины в бетоне плит, за исключением местных поверхностных усадочных шириной не более 0,1 мм на нижней поверхности плит;

в) царапины, выцветы, жировые и ржавые пятна на лицевой поверхности плит.

2.7.3. Расположение мраморного щебня на лицевых шлифованных поверхностях плит должно быть равномерным в соответствии с эталоном плиты.

2.7.4. Околы бетона глубиной более 1 мм и длиной более 15 мм на 1 м длины ребра лицевых поверхностей плит высшей категории качества не допускаются.

Таблица 3

Характеристика бетонной поверхности

Предельно допускаемые размеры, мм

Вид

Категория по
ГОСТ 13015-75

раковин

местных наплывов (высота) и впадин (глубина)

околов бетона

Диаметр

Глубина

Глубина

Длина на 1 м ребра

Лицевая шлифованная или глянцевая

А1

0,5

0,5

0,5

2

30

Лицевая гладкая, предназначаемая под окраску

А2

1

1

1

5

50

Нелицевая, не видимая в условиях эксплуатации

А7

15

5

5

10

100

3. ПРАВИЛА ПРИЕМКИ

3.1. Приемку плит следует производить партиями. В состав партии входят плиты одного типа, изготовленные предприятием в течение не более одних суток по одной технологии из материалов одного вида и качества.

3.2. Приемку плит по показателям, обеспечивающим заданную рабочими чертежами прочность плит (прочность бетона на сжатие, классы и марки арматурной стали и стали закладных изделий, качество выполнения сварных соединений арматуры и закладных изделий, диаметр, количество и расположение арматуры, толщина защитного слоя бетона до арматуры), следует проводить по результатам контроля и испытаний в соответствии с требованиями, приведенными в разд. 4 настоящего стандарта, или по журналам входного и операционного контроля.

3.3. Приемку плит по показателям точности их изготовления, качества наружных поверхностей, контролируемым путем измерений, следует проводить путем выборочного контроля в соответствии с планом, указанным в табл. 4.

Таблица 4

Объем партии плит, шт.

Вид выборочного контроля по
ГОСТ 23616-79

Число плит в выборке

Браковочное число (минимальное число дефектных плит по одному и тому же показателю, при котором партия не принимается)

для первой выборки

для двух выборок

До 25

Одноступенчатый

5

1

-

26 - 90

Двухступенчатый

5

2

2

91 - 280

8

2

2

281 - 500

13

3

4

3.3.1. При выборочном контроле, в результате поштучной проверки плит, входящих в выборку, отдельно по каждому из проверяемых показателей должно быть выявлено число дефектных плит, не отвечающих требованиям настоящего стандарта.

Плиту следует считать дефектной, если она не удовлетворяет требованиям настоящего стандарта хотя бы по одному из проверяемых показателей.

3.3.2. При выборочном одноступенчатом контроле партию плит принимают, если в выборке нет дефектных плит.

3.3.3. При выборочном двухступенчатом контроле партию плит принимают по каждому из проверяемых показателей, если в первой выборке нет дефектных плит, и не принимают, не назначая второй выборки, если число плит по одному и тому же показателю равно или больше браковочного числа, указанного в табл. 4 для первой выборки.

Если число дефектных плит в первой выборке по проверяемому показателю меньше браковочного числа, указанного в табл. 4 для этой выборки, то делают вторую выборку, число плит в которой должно быть таким же, как в первой. Партию плит принимают по этому показателю, если суммарное число дефектных плит в двух выборках меньше браковочного числа, указанного в табл. 4 для двух выборок.

3.3.4. Приемку плит из партии, не принятой в результате выборочного контроля, следует проводить поштучно. При этом следует контролировать только по тем показателям, по которым партия не была принята.

3.4. Приемку плит по показателям, проверяемым путем осмотра и характеризующим соответствие внешнего вида плит установленному эталоном, следует проводить путем сплошного контроля с отбраковкой плит, имеющих дефекты по указанным показателям.

3.5. Оценку проектной марки и отпускной прочности бетона на сжатие следует проводить по ГОСТ 18105-72 или ГОСТ 21217-75 с учетом однородности прочности бетона.

3.6. В тех случаях, когда при проверке будет установлено, что отпускная прочность бетона плит не удовлетворяет требованиям, приведенным в п. 2.4.3, поставка плит потребителю не должна производиться до достижения ими прочности, соответствующей проектной марке бетона по прочности на сжатие.

3.7. Испытания бетона на морозостойкость следует проводить при освоении производства плит или изменении вида и качества материалов, применяемых для приготовления бетона, а также периодически при их изготовлении - не реже одного раза в шесть месяцев.

3.8. Оценку качества арматурных и закладных изделий следует производить по ГОСТ 10922-75.

3.9. Потребитель имеет право проводить выборочный или сплошной контроль плит в порядке, установленном настоящим стандартом.

По требованию потребителя предприятие-изготовитель обязано сообщить ему результаты лабораторных испытаний.

4. МЕТОДЫ КОНТРОЛЯ И ИСПЫТАНИЙ

4.1. Испытания плит на прочность следует проводить нагружением в случаях, если это предусмотрено рабочими чертежами, перед началом массового производства плит каждого типоразмера по схемам, приведенным в рабочих чертежах плит.

Контроль прочности плит следует проводить по ГОСТ 8829-77.

4.2. Прочность бетона на сжатие следует определять по ГОСТ 10180-78.

Отпускную прочность бетона следует определять неразрушающими методами по ГОСТ 17624-78, ГОСТ 21243-75, ГОСТ 22690.0-77 - ГОСТ 22690.4-77.

4.3. Морозостойкость бетона следует определять по ГОСТ 10060-76.

4.4. Среднюю плотность бетона следует определять по ГОСТ 12730.0-78 и ГОСТ 12730.1-78. Допускается определять среднюю плотность бетона плит по ГОСТ 17623-78.

4.5. Методы контроля и испытаний сварных арматурных и закладных изделий - по ГОСТ 10922-75.

4.6. Размеры, непрямолинейность, неплоскостность плит, положение стальных закладных изделий, толщину защитного слоя бетона до арматуры, а также качество поверхностей и внешний вид плит следует проверять по ГОСТ 13015-75.

5. МАРКИРОВКА, ХРАНЕНИЕ И ТРАНСПОРТИРОВАНИЕ

5.1. На нелицевой поверхности каждой плиты должны быть четко нанесены несмываемой краской по трафарету или с помощью резиновых штампов следующие маркировочные знаки:

товарный знак предприятия-изготовителя или его краткое наименование;

марка плиты;

дата изготовления плиты;

штамп технического контроля.

государственный Знак качества по ГОСТ 1.9-67 - на плиты высшей категории качества.

5.2. Каждая партия плит должна сопровождаться документом установленной формы, в котором должны быть указаны:

наименование и адрес предприятия-изготовителя;

номер и дата выдачи документа;

номер партии;

наименование и марки плит с указанием количества плит каждой марки;

дата изготовления плит;

проектная марка бетона по прочности на сжатие;

нормируемая отпускная прочность бетона в процентах от проектной марки по прочности на сжатие;

марка бетона по морозостойкости;

обозначение настоящего стандарта, а для плит высшей категории качества государственный Знак качества по ГОСТ 1.9-67.

При наличии дополнительных требований, оговоренных в заказе на изготовление плит, в документе приводят данные по этим требованиям.

5.3. Плиты следует хранить рассортированными по маркам и уложенными на нелицевое ребро лицевыми поверхностями вплотную одна к другой.

При укладке плит на складе следует обеспечивать возможность их захвата и свободного подъема для погрузки или монтажа.

5.4. Каждая плита должна опираться на деревянные инвентарные подкладки и прокладки толщиной 30 мм. Подкладки под нижний ряд плит следует укладывать по плотному, тщательно выровненному основанию. Прокладки между плитами по высоте штабеля располагаются одна над другой.

5.5. При погрузке, разгрузке, хранении и перевозке следует соблюдать меры, исключающие возможность повреждения плит.

Строповочные тросы и другие захватные приспособления, применяемые при погрузке, разгрузке и укладке плит, в местах соприкосновения их с плитами должны иметь мягкое покрытие.

5.6. Плиты при перевозке следует укладывать правильными рядами, на ребро, длинной стороной по направлению движения.

Каждый ряд плит должен укладываться на деревянные прокладки.

СОДЕРЖАНИЕ

 

 




ГОСТЫ, СТРОИТЕЛЬНЫЕ и ТЕХНИЧЕСКИЕ НОРМАТИВЫ.
Некоммерческая онлайн система, содержащая все Российские Госты, национальные Стандарты и нормативы.
В Системе содержится более 150000 файлов нормативно-технической документации, действующей на территории РФ.
Система предназначена для широкого круга инженерно-технических специалистов.

Рейтинг@Mail.ru Яндекс цитирования

Copyright © www.gostrf.com, 2008 - 2026