| |
ГОСТ 21924.1-84
МЕЖГОСУДАРСТВЕННЫЕ СТАНДАРТЫ
ПЛИТЫ
ЖЕЛЕЗОБЕТОННЫЕ
ПРЕДВАРИТЕЛЬНО-НАПРЯЖЕННЫЕ
ДЛЯ ПОКРЫТИЙ ГОРОДСКИХ ДОРОГ
ИПК ИЗДАТЕЛЬСТВО
СТАНДАРТОВ
Москва
МЕЖГОСУДАРСТВЕННЫЙ СТАНДАРТ
|
ПЛИТЫ ЖЕЛЕЗОБЕТОННЫЕ ПРЕДВАРИТЕЛЬНО-НАПРЯЖЕННЫЕ ДЛЯ ПОКРЫТИЙ ГОРОДСКИХ
ДОРОГ
Конструкция и размеры
Reinforced concrete prestressed slabs for
pavewents of city roads.
Structure and dimensions
|
ГОСТ
21924.1-84
|
Дата введения 01.01.85
1. Настоящий стандарт распространяется
на железобетонные предварительно напряженные плиты, изготовляемые из тяжелого
бетона и предназначенные для устройства покрытий постоянных и временных
городских дорог под автомобильную нагрузку Н-30 и Н-10, и устанавливает конструкцию этих плит.
Плиты
применяют для дорог в районах с расчетной температурой наружного воздуха
(средней наиболее холодной пятидневки района строительства по СНиП 2.01.01) до минус 40 °C включ.
При применении плит в климатическом подрайоне IVA должны учитываться дополнительные требования СНиП 2.03.01
к конструкциям, предназначенным для эксплуатации в этих условиях.
Допускается
применение данных плит для дорог в районах с расчетной температурой наружного
воздуха ниже минус 40 °C
при соблюдении требований, предъявляемых СНиП 2.03.01 к конструкциям,
предназначенным для эксплуатации в этих условиях.
(Измененная
редакция, Изм. № 1).
2. Форма и основные параметры плит - по ГОСТ 21924.0.
3. Технические показатели плит приведены
в табл. 1.
Таблица 1
|
Марка плиты
|
Класс бетона по прочности на сжатие
|
Объем бетона, м3
|
Напрягаемая арматура
|
Расход арматурной стали на плиту, кг
|
Площадь постели, м2
|
|
Поз.
|
Сечение
|
Длина позиции, мм
|
Общая
длина позиции, м
|
Арматура
|
Всего
|
|
Напрягаемая
|
Ненапрягаемая
|
|
На позицию
|
Общий
|
|
1П60.38-30AV
|
В30
|
3,14
|
H1
|
24Ø10AV
|
6000
|
144,00
|
88,85
|
148,79
|
30,72
|
179,51
|
22,5
|
|
Н4
|
18Ø12AV
|
3750
|
67,50
|
59,94
|
|
1П60.35-30AV
|
2,93
|
Н1
|
22Ø10AV
|
6000
|
132,00
|
81,44
|
137,38
|
30,44
|
167,82
|
21,0
|
|
Н5
|
18Ø12AV
|
3500
|
63,00
|
55,94
|
|
1П60.35-30AV
|
В22,5
|
Н1
|
22Ø10AV
|
6000
|
132,00
|
81,44
|
26,12
|
163,50
|
|
Н5
|
18Ø12AV
|
3500
|
63,00
|
55,94
|
|
1П60.30-30AV
|
В30
|
2,51
|
Н1
|
20Ø10AV
|
6000
|
120,00
|
74,04
|
121,99
|
30,16
|
152,15
|
17,9
|
|
Н6
|
18Ø12AV
|
3000
|
54,00
|
47,95
|
|
2П60.30-30AV
|
В22,5
|
Н1
|
20Ø10AV
|
6000
|
120,00
|
74,04
|
25,84
|
147,83
|
|
Н6
|
18Ø12AV
|
3000
|
54,00
|
47,95
|
|
1П60.19-30AV
|
В30
|
1,56
|
Н1
|
10Ø10AV
|
6000
|
60,00
|
37,02
|
37,02
|
70,38
|
107,40
|
11,2
|
|
1П60.18-30AV
|
1,46
|
67,48
|
104,50
|
10,4
|
|
2П60.18-30AV
|
В22,5
|
64,60
|
101,62
|
|
1ПБ60.18-30AV
|
В30
|
1,79
|
66,40
|
103,42
|
11,7
|
|
1ПББ55.20-30AV
|
1,76
|
Н2
|
5920
|
59,20
|
36,53
|
36,53
|
65,56
|
102,09
|
11,8
|
|
1ПТ55-30AV
|
1,34
|
Н3
|
5510
|
55,10
|
34,00
|
34,00
|
70,08
|
104,08
|
9,6
|
|
2ПТ55-30AV
|
В22,5
|
|
1П60.38-30АV
|
В30
|
3,14
|
Н7
|
24Ø12AIV
|
6000
|
144,00
|
127,87
|
209,55
|
30,72
|
240,27
|
22,5
|
|
1П6035-30АV
|
Н10
|
18Ø14AIV
|
3750
|
67,50
|
81,68
|
|
2,93
|
Н7
|
22Ø12AIV
|
6000
|
132,00
|
117,22
|
193,45
|
30,44
|
223,89
|
21,0
|
|
Н11
|
18Ø14AIV
|
3500
|
63,00
|
76,23
|
|
2П6035-30AV
|
В22,5
|
Н7
|
22Ø12AIV
|
6000
|
132,00
|
117,22
|
26,12
|
219,57
|
|
H11
|
18Ø14AIV
|
3500
|
63,00
|
76,23
|
|
1П6030-30AV
|
В30
|
2,51
|
Н7
|
20Ø12AIV
|
6000
|
120,00
|
106,56
|
171,90
|
30,16
|
202,06
|
17,9
|
|
Н12
|
18Ø14AIV
|
3000
|
54,00
|
65,34
|
|
2П6030-30AV
|
В22,5
|
Н7
|
20Ø12AIV
|
6000
|
120,00
|
106,56
|
25,84
|
197,74
|
|
Н12
|
18Ø14AIV
|
3000
|
54,00
|
65,34
|
|
1П60.19-30AV
|
В30
|
1,56
|
Н7
|
10Ø12AIV
|
6000
|
60,00
|
53,28
|
53,28
|
70,38
|
123,66
|
11,2
|
|
1П60.18-30AV
|
1,46
|
67,48
|
120,76
|
10,4
|
|
2П60.18-30AV
|
В22,5
|
64,60
|
117,88
|
|
|
1ПБ60.18-30AV
|
В30
|
1,79
|
66,40
|
119,68
|
11,7
|
|
1ПББ55.20-30AV
|
1,76
|
Н8
|
5920
|
59,20
|
52,57
|
52,57
|
65,56
|
118,13
|
11,8
|
|
1ПББ55.20-10AIV
|
Н13
|
10Ø10AIV
|
|
|
36,53
|
36,53
|
102,09
|
|
1ПТ55-30AIV
|
1,34
|
Н9
|
10Ø12AIV
|
5510
|
55,10
|
48,93
|
48,93
|
70,08
|
119,01
|
9,6
|
|
2ПТ55-30AIV
|
B22,5
|
|
|
|
|
|
|
|
|
|
|
Примечание. Расход напрягаемой арматуры и общий
расход арматуры на плиту приведен для условной длины стержней, равной длине плиты, и уточняется с учетом действительной длины напрягаемой арматуры, принимаемой в зависимости от
способа натяжения арматуры и конструкции
захватных устройств.
Для арматурной стали классов Ат-V, Ат-IV и Ат-IVC сечение напрягаемой арматуры, ее длину и расход следует
принимать такими же, как для арматурной стали соответственно классов А-V и А-IV.
При
применении в качестве напрягаемой арматуры термомеханически упрочненной
арматурной стали классов Ат-V,
Ат-IV и Ат-IVC
в марке плиты необходимо приводить обозначение этой арматуры вместо
соответственно А-V и А-IV.
(Измененная
редакция, Изм. № 1).
4. Плиты должны удовлетворять всем
требованиям ГОСТ 21924.0
и настоящего стандарта.
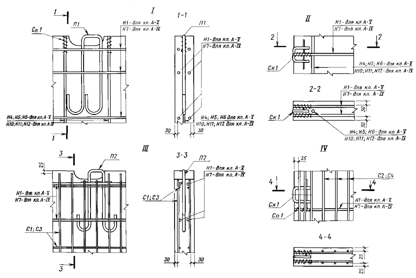
5. Армирование плит должно соответствовать
приведенному на черт. 1 - 8.

Черт. 1

Примечание. Размеры в скобках даны для плит П60.19.
Черт. 2

Черт. 3

Черт. 4

Черт. 5

Черт. 6

Черт. 7

Черт 8
Армирование
плит с напрягаемой арматурой из арматурной стали классов Ат-V, Ат-IV и
Ат-IVи с ненапрягаемой - из арматурной стали
класса Ат-IIIC
следует выполнять аналогично армированию арматурной сталью соответственно классов
А-V, А-IV и А-III.
Напрягаемую
арматуру из несвариваемой арматурной стали классов Ат-V и Ат-IV применяют в виде целых стержней без
сварных стыков.
Примечание. Допускается применение монтажных петель П1а и П2а взамен
петель соответственно П1 и П2.
6. Спецификация арматурных и монтажно-стыковых элементов приведена в табл. 2,
выборка арматурной стали для их изготовления на одну плиту - в табл. 3.
Таблица 2
|
Марка плиты
|
Арматурные сетки
|
Монтажные сетки
|
Скобы
|
Спирали
|
|
Марка
|
Число
|
Марка
|
Число
|
Марка
|
Число
|
Марка
|
Число
|
Марка
|
Число
|
Марка
|
Число
|
|
1П60.38-30AV,
|
1П60.38-30AIV
|
-
|
-
|
-
|
-
|
П1
|
4
|
-
|
-
|
Ск1
|
6
|
Сп1
|
84
|
|
1П60.35-30AV,
|
1П60.35-30AIV
|
80
|
|
2П60.35-30AV,
|
2П60.35-30AIV
|
-
|
-
|
|
1П60.30-30AV,
|
1П60.30-30AIV
|
Ск1
|
6
|
76
|
|
2П60.30-30AV,
|
2П60.30-30AIV
|
-
|
-
|
|
1П60.19-30AV,
|
1П60.19-30AIV
|
С1
|
2
|
С2
|
4
|
П2
|
Ск1
|
4
|
20
|
|
1П60.18-30AV,
|
1П60.18-30AIV
|
С3
|
С4
|
|
2П60.18-30AV,
|
2П60.18-30AIV
|
-
|
-
|
|
1ПБ60.18-30AV,
|
1ПБ60.18-30AIV
|
С1
|
С2
|
П2
|
2
|
П3
|
2
|
Ск1
|
4
|
|
1ПББ55.20-30AV,
|
С5
|
С6
|
-
|
-
|
4
|
|
1ПББ55.20-30AIV,
|
|
1ПББ55.20-10AIV
|
|
1ПТ55-30AV,
|
1ПТ55-30AIV,
|
С7
|
-
|
-
|
П2
|
4
|
-
|
-
|
-
|
-
|
|
2ПТ55-30AV,
|
2ПТ55-30AIV
|
Примечание. В плитах для постоянных дорог с пазами для
беспетлевого монтажа или с отверстиями для цангового захвата (п. 1.2 ГОСТ
21924.0) монтажные петли П1 (П1а) и П2 (П2а) заменяют скобами Ск1.
Таблица 3
кг
|
Марка плит
|
Арматурная сталь по ГОСТ 5781
|
Арматурная сталь по ГОСТ 6727
|
Всего
|
|
Класс А-III
|
Класс А-I
|
Класс Вр-I
|
|
Диаметр, мм
|
Итого
|
Диаметр, мм
|
Итого
|
Диаметр, мм
|
Итого
|
|
8
|
8
|
10
|
14
|
16
|
20
|
22
|
3
|
5
|
|
160.38-30AV,
|
-
|
-
|
-
|
1,50
|
-
|
3,42
|
-
|
19,92
|
24,84
|
5,88
|
-
|
5,88
|
30,72
|
|
160.38-30AIV
|
|
160.35-30AV,
|
|
5,60
|
5,60
|
30,44
|
|
160.35-30AIV
|
|
160.35-30AV,
|
0,60
|
-
|
20,52
|
26,12
|
|
160.35-30AIV
|
|
160.30-30AV,
|
1,50
|
3,42
|
24,84
|
5,32
|
5,32
|
30,16
|
|
160.30-30AIV
|
|
160.30-30AV,
|
0,60
|
-
|
20,52
|
25,84
|
|
160.30-30AIV
|
|
160.19-30AV,
|
18,40
|
18,40
|
-
|
1,20
|
-
|
2,28
|
4,04
|
-
|
17,52
|
1,40
|
33,06
|
34,46
|
70,38
|
|
160.19-30AIV
|
|
160.18-30AV,
|
17,28
|
17,28
|
31,28
|
32,68
|
67,48
|
|
160.18-30AIV
|
|
2П60.18-30AV,
|
0,60
|
-
|
14,64
|
32,68
|
64,60
|
|
2П60.18-30AIV
|
|
1ПБ60.18-30AV,
|
18,40
|
18,40
|
1,20
|
3,04
|
2,28
|
7,02
|
13,54
|
33,06
|
34,46
|
66,40
|
|
1ПБ60.18-30AIV
|
|
1ПББ55.20-30AV,
|
19,64
|
19,64
|
6,08
|
-
|
9,56
|
34,96
|
36,36
|
65,56
|
|
1ПББ55.20-30AIV
|
|
1ПББ55.20-10AIV
|
|
1ПТ55-30AV,
|
-
|
-
|
42,64
|
0,60
|
-
|
-
|
14,04
|
57,28
|
11,40
|
12,80
|
70,08
|
|
1ПТ55-30AIV,
|
|
2ПТ55-30AV,
|
|
1ПТ55-30AIV
|
Примечание.
При применении
арматурной стали класса Ат-IIIС по ГОСТ
10884 ее диаметр, расход стали следует принимать одинаковым
с арматурной сталью класса A-III.
5,
6. (Измененная редакция, Изм. № 1).
7. Форма и размеры арматурных и
монтажно-стыковых элементов - по ГОСТ 21924.3.
8. Значения напряжений в напрягаемой
арматуре, контролируемые по окончании натяжения на упоры, должны
соответствовать указанным в табл. 4.
Предельные отклонения напряжений не должны превышать при натяжении механическим
способом - 5 и + 10 %, а при натяжении электротермическим способом:
-
продольной арматуры при длине плиты:
6000 и 5920 мм - 88,2 МПа (900 кгс/см2),
5500 мм - 94,1 МПа (960 кгс/см2);
-
поперечной арматуры при ширине плиты:
3750 мм - 123,6 МПа (1260 кгс/см2),
3500 мм - 130,4 МПа (1330 кгс/см2),
3000 мм - 147,1 МПа (1500 кгс/см2).
Таблица 4
|
Напрягаемая
арматура
|
Марка плиты
|
Значения напряжений в напрягаемой арматуре, МПа (кгс/см2)
|
|
Продольная
|
1П60.38-30AV,
|
|
696 (7100)
|
|
1П60.35-30AV,
2П60.35-30AV,
|
|
1П60.30-30AV, 2П60.30-30AV,
|
|
1П60.19-30AV,
|
|
|
1П60.18-30AV, 2П60.18-30AV,
|
|
1ПБ60.18-30AV,
|
|
|
1ПББ55.20-30AV,
|
|
|
1П60.38-30AIV,
|
|
500 (5100)
|
|
1П60.35-30AIV,
2П60.35-30AIV,
|
|
1П60.30-30AIV, 2П60.30-30AIV,
|
|
1П60.19-30AIV,
|
|
|
1П60.18-30AIV, 2П60.18-30AIV,
|
|
1ПБ60.18-30AIV,
|
|
|
1ПББ55.20-30AIV,
|
|
|
1ПББ55.20-10AIV,
|
|
|
1ПТ55-30AV, 2ПТ55-30AV
|
690 (7040)
|
|
1ПТ55-30AIV, 2ПТ55-30AIV
|
494 (5040)
|
|
Поперечная
|
1П60.38-30AV
|
|
661 (6740)
|
|
1П60.38-30AIV
|
|
465 (4740)
|
|
1П60.35-30AV, 2П60.35-30AV
|
654 (6670)
|
|
1П60.35-30AIV, 2П60.35-30AIV
|
458 (4670)
|
|
1П60.30-30AV, 2П60.30-30AV
|
637 (6500)
|
|
1П60.30-30AIV, 2П60.30-30AV
|
441 (4500)
|
9. Значения контрольной нагрузки при
испытании плит по прочности и трещиностойкости приведены в табл. 5.
Таблица 5
|
Марка плиты
|
Контрольная нагрузка (без учета собственного веса плиты), кН (тс),
при испытании плит
|
Марка плиты
|
Контрольная нагрузка (без учета собственного веса плиты), кН
(тс), при испытании плит
|
|
по прочности
|
по трещиностойкости
|
по прочности
|
по трещиностойкости
|
|
1П60.38-30AV
|
173,5 (17,7)
|
95,1 (9,7)
|
1П60.38-30AIV
|
164,6 (16,8)
|
90,2(9,2)
|
|
1П60.35-300AV
|
157,8 (16,1)
|
87,2 (8,9)
|
1П60.35-30AIV
|
150,9 (15,4)
|
82,3
(8,4)
|
|
2П60.35-30AV
|
153,9
(15,7)
|
84,3 (8,6)
|
2П60.35-30AIV
|
147,0 (15,0)
|
80,4
(8,2)
|
|
1П60.30-30AV
|
145,0 (14,8)
|
79,4
(8,1)
|
1П60.30-30AIV
|
138,2
(14,1)
|
75,5 (7,7)
|
|
2П60.30-30AV
|
140,1
(14,3)
|
77,4 (7,9)
|
2П60.30-30AIV
|
134,3 (13,7)
|
73,5 (7,5)
|
|
1П60.19-30AV
|
73,5 (7,5)
|
40,2 (4,1)
|
1П60.19-30AIV
|
67,6
(6,9)
|
37,2 (3,8)
|
|
1П60.18-30AV
|
1П60.18-30AIV
|
|
2П60.18-30AV
|
72,5
(7,4)
|
39,2 (4,0)
|
2П60.18-30AIV
|
66,6 (6,8)
|
37,2(3,8)
|
|
1ПБ60.18-30AV
|
70,6 (7,2)
|
1ПБ60.16-30AIV
|
65,7
(6,7)
|
36,3
(3,7)
|
|
1ПББ55.20-30AV
|
77,4 (7,9)
|
43,1
(4,4)
|
1ПББ55.20-30AIV
|
71,5 (7,3)
|
39,2
(4,0)
|
|
1ПТ55-30AV
|
86,2 (8,8)
|
47,0 (4,8)
|
1ПББ55.20-10AIV
|
49,0 (5,0)
|
26,5
(2,7)
|
|
2ПТ55-30AV
|
84,3
(8,6)
|
46,1
(4,7)
|
1ПТ55-30AIV
|
79,4 (8,1)
|
73,5 (7,5)
|
|
2ПТ55-30AIV
|
77,4
(7,9)
|
43,1
(4,4)
|
10. Контрольная ширина раскрытия трещин
при испытании плит по трещиностойкости не должна превышать 0,1 мм.
ИНФОРМАЦИОННЫЕ ДАННЫЕ
1.
РАЗРАБОТАН И ВНЕСЕН Министерством
жилищно-коммунального хозяйства РСФСР
2.
УТВЕРЖДЕН И ВВЕДЕН В ДЕЙСТВИЕ
ПОСТАНОВЛЕНИЕМ Государственного комитета СССР по делам строительства от
30.09.83 № 210
3.
ВВЕДЕН ВПЕРВЫЕ
4.
ССЫЛОЧНЫЕ НОРМАТИВНО-ТЕХНИЧЕСКИЕ
ДОКУМЕНТЫ
5. ИЗДАНИЕ (январь 2002 г.) с Изменением № 1, утвержденным в
декабре 1987 г. (ИУС 5-88)
|
|