Крупнейшая бесплатная информационно-справочная система онлайн доступа к полному собранию технических нормативно-правовых актов РФ. Огромная база технических нормативов (более 150 тысяч документов) и полное собрание национальных стандартов, аутентичное официальной базе Госстандарта. GOSTRF.com - это более 1 Терабайта бесплатной технической информации для всех пользователей интернета. Все электронные копии представленных здесь документов могут распространяться без каких-либо ограничений. Поощряется распространение информации с этого сайта на любых других ресурсах. Каждый человек имеет право на неограниченный доступ к этим документам! Каждый человек имеет право на знание требований, изложенных в данных нормативно-правовых актах!

  


 

ГОСУДАРСТВЕННЫЙ СТАНДАРТ СОЮЗА ССР

Балки обвязочные железобетонные
для зданий промышленных
предприятий

Технические условия

ГОСТ 24893.0-81

ГосударственнЫЙ комитет СССР
по делам строительства

Москва

Разработаны Центральным научно-исследовательским и проектно-экспериментальным институтом промышленных зданий и сооружений (ЦНИИпромзданий) Госстроя СССР

ИСПОЛНИТЕЛИ

К. Ю. Полищук (руководитель темы);

Б. Ф. Васильев; Г. М. Смилянский, канд. техн. наук;

Т. Г. Кузнецова; Н. М. Ляндрес; В. И. Пименова

ВНЕСЕНЫ Центральным научно-исследовательским и проектно-экспериментальным институтом промышленных зданий и сооружений (ЦНИИпромзданий) Госстроя СССР

Директор Ю. Н. Хромец

УТВЕРЖДЕНЫ И ВВЕДЕНЫ в действие постановлением Государственного комитета СССР по делам строительства от 14 июля 1981 г. № 119

Переиздание (февраль 1988 г.) с Изменением № 1, утвержденным в апреле 1986 г. (ИУС № 8-86)

 

ГОСУДАРСТВЕННЫЙ СТАНДАРТ СОЮЗА ССР

Балки обвязочные железобетонные для зданий

промышленных предприятий

Технические условия

Reinforced concrete frame brace for industrial buildings. Specifications

ГОСТ
24893.0-81

Постановлением Государственного комитета СССР по делам строительства от 14 июля 1981 г. № 119 срок введения установлен

с 01.01 1983 г.

Настоящий стандарт распространяется на железобетонные обвязочные балки координационной длиной 6,0 м, изготовляемые из тяжелого бетона и бетона на пористых заполнителях, предназначаемые для применения в навесных каменных (из кирпича и легкобетонных камней) наружных и внутренних стенах, в том числе в местах перепада высот, производственных и вспомогательных зданий промышленных предприятий, включая здания с расчетной сейсмичностью 7-9 баллов.

Балки из тяжелого бетона предназначаются для применения в условиях воздействия неагрессивной, слабо- и среднеагрессивной газовой среды; балки из бетона на пористых заполнителях - в условиях воздействия неагрессивной и слабоагрессивной газовой среды.

1. Типы, основные параметры и размеры

1.1. Балки по форме поперечного сечения подразделяются на два типа:

БОП - прямоугольного сечения;

БОВ - с консольным выступом.

1.2. Балки типа БОП в зависимости от толщины опирающихся на них стен подразделяются на:

БОП25 шириной 250 мм - для стен толщиной 200-250 мм,

БОП38 шириной 380 мм - для стен толщиной 380-400 мм.

1.3. Форма и размеры балок должны соответствовать указанным в ГОСТ 24893.1-81.

1.4. Форма и размеры закладных изделий балок должны соответствовать указанным в ГОСТ 24893.2-81.

1.5. Расположение и марки дополнительных закладных изделий в балках, предназначаемых к установке над световыми проемами, должны соответствовать приведенным в ГОСТ 24893.1-81, а также указанным в рабочих чертежах проекта здания и в заказе на изготовление балок.

1.6. Балки следует обозначать марками в соответствии с ГОСТ 23009-78. Марка балок состоит из двух или трех буквенно-цифровых групп, разделенных дефисами.

Первая группа содержит обозначение типа балки и ширину балки в сантиметрах - для балок типа БОП.

Во второй группе указывают условное обозначение балок по несущей способности (арабские цифры 1, 2, 3) и вид бетона (Т - тяжелый бетон, П - бетон на пористых заполнителях).

В третьей группе, в случае необходимости, указывают дополнительные характеристики: проницаемость бетона (Н - нормальной проницаемости, П - пониженной); сейсмостойкость (С); стойкость к воздействию низких температур (М) - при строительстве в районах с расчетной зимней температурой наружного воздуха ниже минус 40 °С; дополнительные закладные изделия в балках, предназначаемых к установке над световыми проемами, обозначаемые буквой «д», и ширину проема в метрах.

Примеры условных обозначений (марок) балки:

а) типа БОП, шириной 250 мм, с условной несущей способностью 1, из облегченного бетона на пористых заполнителях для зданий с неагрессивной средой:

БОП25-1 П ГОСТ 24893.0-81

б) типа БОП, шириной 380 мм, с условной несущей способностью 2, из бетона на пористых заполнителях для стен зданий с расчетной сейсмичностью 8 баллов:

БОП38-2П-С ГОСТ 24893.0-81

в) типа БОП, шириной 250 мм, с условной несущей способностью 2, из бетона на пористых заполнителях, для стен зданий с расчетной сейсмичностью 8 баллов, с дополнительными закладными изделиями для крепления конструкции заполнения проема шириной 4,8 м:

БОП25-2П-Сд 4,8 ГОСТ 24893.0-81

г) типа БОП, шириной 380 мм, с условной несущей способностью 2, из бетона на пористых заполнителях, предназначаемая для стен зданий, возводимых в районах с расчетной зимней температурой минус 50 °С:

БОП38-2П-М ГОСТ 24893.0-81

1.7. Марки и технические показатели обвязочных балок должны соответствовать указанным в табл. 1 и 2.


Таблица 1

Технические показатели на одну обвязочную балку

№ п/п

Марка балки, изготовленной из бетона

Проектные усилия* в балке

Проектная марка бетона по прочности на сжатие

Расход материалов (справочный)

Масса балки, изготовленной из бетона, т (справочная)

Моменты М, кН×м (тс×м)

Расчетная поперечная сила, кН (тс)

тяжелого

на пористых заполнителях

в вертикальной плоскости при коэффициентах перегрузки

в горизонтальной плоскости при коэффициентах перегрузки

Бетон, м3

Сталь, кг

тяжелого

на пористых заполнителях

n > 1

n = 1

n > 1

n = 1

1

БОП25-1Т

БОП25-1П

66,7 (6,8)

59,8 (6,1)

16,7 (1,7)

15,2 (1,55)

48,1 (4,9)

М250÷М350**

0,87

78,8

2,2

1,75

2

БОП25-2Т

БОП25-2П

102,0 (10,4)

92,2 (9,4)

73,6 (7,5)

93,2

3

БОП25-3Т

БОП25-3П

125,6 (12,8)

125,6 (12,8)

91,2 (9,3)

101,8

4

-

БОП38-1П

98,1 (10,0)

89,3 (9,1)

70,6 (7,2)

1,32

98,3

-

2,65

5

-

БОП38-2П

153,0 (15,6)

139,3 (14,2)

110,9 (11,3)

118,1

6

-

БОП38-3П

189,3 (19,3)

172,6 (17,6)

137,3 (14,0)

144,9

7

БОВ-1Т

-

98,1 (10,0)

89,3 (9,1)

70,6 (7,2)

0,98

100,8

2,45

-

8

БОВ-2Т

-

153,0 (15,6)

139,3 (14,2)

110,9 (11,3)

120,6

9

БОВ-3Т

-

189,3 (19,3)

172,6 (17,6)

137,3 (14,0)

145,1

* Даны без учета собственного веса балки.

** См. п. 2.6.1 и табл. 3.

Таблица 2

Технические показатели на одну обвязочную балку для стен зданий с расчетной сейсмичностью 7 - 9 баллов

№ п/п

Марка балки, изготовленной из бетона

Расчетные сейсмические усилия

Проектная марка бетона по прочности на сжатие

Расход материала (справочный)

Масса балки, изготовленной из бетона, т (справочная)

тяжелого

на пористых заполнителях

в вертикальной плоскости

в горизонтальной плоскости

Моменты, кН·м (тс·м)

Поперечная сила, кН (тс)

Моменты, кН·м (тс·м)

Поперечная сила, кН (тс)

Бетон, м3

Сталь, кг

тяжелого

на пористых заполнителях

в пролете

на опоре

в пролете

на опоре

1

БОП25-1Т-С

БОП25-1П-С

50,0 (5,1)

-66,7 (-6,8)

64,7 (6,6)

8,8 (0,9)

10,8 (-1,1)

10,8 (1,1)

М250 ¸ М300*

0,87

96,8

2,2

1,75

2

БОП25-2Т-С

БОП25-2П-С

76,5 (7,8)

-102,0 (-10,4)

99,1 (10,1)

12,8 (1,3)

16,7 (-1,7)

16,7 (1,7)

105,8

3

БОП25-3Т-С

БОП25-3П-С

95,2 (9,7)

-126,5 (-12,9)

123,6 (12,6)

16,7 (1,7)

20,6 (-2,1)

19,6 (2,0)

124,8

4

-

БОП38-1П-С

73,6 (7,5)

-97,1 (-9,9)

95,2 (9,7)

12,8 (1,3)

-16,7 (-1,7)

15,7 (1,6)

1,32

114,9

-

2,65

5

-

БОП38-2П-С

115,8 (11,8)

-153,0 (-15,6)

151,0 (15,3)

19,6 (2,0)

-25,5 (-2,6)

24,5 (2,5)

136,0

6

-

БОП38-3П-С

142,2 (14,5)

-193,0 (-19,4)

185,4 (18,9)

24,5 (2,5)

-31,4 (-3,2)

30,4 (3,1)

173,9

7

БОВ-1Т-С

-

73,6 (7,5)

-91,7 (-9,9)

95,2 (9,7)

12,8 (1,3)

-16,7 (-1,7)

15,7 (1,6)

0,98

113,4

2,45

-

8

БОВ-2Т-С

-

115,8 (11,8)

-153,0 (-15,6)

151,0 (15,3)

19,6 (2,0)

-25,5 (-2,6)

24,5 (2,5)

136,0

9

БОВ-3Т-С

-

142,2 (14,5)

-193,0 (-19,4)

185,4 (18,9)

24,5 (2,5)

-31,4 (-3,2)

30,4 (3,1)

170,1

* См. п. 2.6.1 и табл. 3.


2. Технические требования

2.1. Балки следует изготовлять в соответствии с требованиями настоящего стандарта и технологической документации, утвержденной в установленном порядке, по чертежам, приведенным в ГОСТ 24893.1-81 и ГОСТ 24893.2-81.

2.2. Для изготовления балок типов БОП25 и БОП38, предназначаемых для стен отапливаемых зданий, должен применяться облегченный бетон на пористых заполнителях (керамзитобетон, аглопоритобетон, шунгизитобетон, шлакопемзобетон и бетон на естественных пористых заполнителях) средней плотности 1600-2000 кг/м3.

Для изготовления обвязочных балок типа БОВ, а также БОП25, предназначаемых для стен неотапливаемых зданий, должен применяться тяжелый бетон.

В обоснованных случаях допускается изготовление балок типа БОП25 только из тяжелого бетона или только из бетона на пористых заполнителях независимо от того, для стен каких зданий эти балки предназначаются - отапливаемых или неотапливаемых.

2.3. Балки должны изготовляться в стальных формах, удовлетворяющих требованиям ГОСТ 25781-83.

Допускается изготовлять балки в неметаллических формах, обеспечивающих соблюдение требований настоящего стандарта к качеству и точности изготовления балок.

2.4. Проектное положение арматурных изделий и толщину защитного слоя бетона следует фиксировать прокладками из плотного цементно-песчаного раствора или пластмассовыми фиксаторами. Применение стальных фиксаторов не допускается.

2.5. Материалы для приготовления бетона

2.5.1. Для приготовления бетона должны применяться портландцемент и шлакопортландцемент, соответствующие требованиям ГОСТ 10178-85.

2.5.2. Заполнители должны соответствовать требованиям ГОСТ 10268-80 для тяжелого бетона и ГОСТ 9757-83 для бетонов на пористых заполнителях, а также требованиям стандартов на конкретный вид заполнителя.

2.5.3. Максимальная крупность заполнителя не должна превышать 20 мм.

2.5.4. Песок для приготовления бетона должен соответствовать требованиям ГОСТ 8736-85.

2.5.5. Для улучшения технических свойств бетона должны применяться поверхностно-активные добавки: гидрофобизирующие, пластифицирующие и микропеногазообразующие по ГОСТ 24211-80.

Допускается применение комплексных добавок, проверенных в заводских условиях и обеспечивающих выполнение заданных технических свойств бетона.

2.5.6. Целесообразные добавки для конкретного вида бетона в заданных условиях строительства, время и способ введения добавок должны быть заданы в проекте здания и указаны в заказе на изготовление балок.

2.5.7. Для приготовления бетона для балок, предназначаемых к применению в зданиях с относительной влажностью внутреннего воздуха помещений свыше 75 %, а также в зданиях, возводимых во влажной климатической зоне СССР по СНиП 2.01.01-82, следует применять цементы с гидрофобизирующими добавками, соответствующие требованиям ГОСТ 10178-85.

Допускается применять цементы без гидрофобизирующих добавок при введении таких добавок во время приготовления бетона.

2.5.8. Для приготовления бетона балок, предназначаемых для эксплуатации в агрессивных сульфатных средах, а также для зданий, возводимых на побережьях северных морей и в районах с расчетной зимней температурой минус 40 °С и ниже, должны применяться гидрофобизированные сульфатостойкий портландцемент и сульфатостойкий портландцемент с минеральными добавками, соответствующие требованиям ГОСТ 22266-76.

2.6. Бетон

2.6.1. Фактическая прочность бетона балок (в проектном возрасте и отпускная) должна соответствовать требуемой, назначаемой по ГОСТ 18105-86 в зависимости от нормируемой прочности бетона и от показателя фактической однородности прочности бетона.

Нормируемая прочность бетона устанавливается в проекте здания по табл. 3 (с учетом коэффициентов условий работы и требований СНиП 2.03.01-84) и указывается в заказе на изготовление балок.

Таблица 3

Назначение

Расчетная зимняя температура наружного воздуха

Проектная марка бетона по прочности на сжатие

тяжелого

на пористых заполнителях

1. Наружные стены зданий, кроме расположенных в климатическом подрайоне IVA*

Ниже минус 40 °С

Ниже минус 20 °С до минус 40 °С

Минус 20 °С и выше

М350

М300

М250

М300

М300

М250

2. Наружные стены зданий, расположенных в климатическом подрайоне IVA, не защищенные от солнечной радиации

-

М300

М300

3. Внутренние стены зданий

Ниже минус 40 °С

М300

М250

Минус 40 °С и выше

М250

М250

* По СНиП 2.01.01-82.

2.6.2. Морозостойкость и водонепроницаемость бетона должны соответствовать маркам, установленным в проекте здания согласно требованиям СНиП 2.03.01-84 в зависимости от режима эксплуатации балок и климатических условий района строительства и указанным в заказе на изготовление балок.

2.6.3. Бетон на пористых заполнителях должен иметь плотную структуру. Объем межзерновых пустот в уплотненной смеси бетона не должен превышать 3 %.

2.6.4. Показатели проницаемости бетона балок, предназначаемых для применения в условиях воздействия агрессивной газовой среды, а также материалы для приготовления этого бетона, должны соответствовать установленным в проекте здания согласно требованиям СНиП 2.03.11-85 для заданной степени агрессивного воздействия газовой среды.

2.6.5. Влажность бетона на пористых заполнителях при отпуске балок потребителю должна быть не более 13 % по объему бетона.

2.7. Поставку балок потребителю следует производить после достижения бетоном требуемой отпускной прочности (п. 2.6.1).

Значение нормируемой отпускной прочности бетона балок принимают равным 70% марки по прочности на сжатие. При поставке балок в холодный период года значение нормируемой отпускной прочности бетона может быть повышено, но не более 90 % марки по прочности на сжатие. Значение нормируемой отпускной прочности бетона принимают по проектной документации на конкретное здание в соответствии с требованиями ГОСТ 13015.0-83.

2.8. Поставка балок с отпускной прочностью ниже прочности, соответствующей его проектной марке, производится при условии, что изготовитель гарантирует достижение бетоном прочности, соответствующей его проектной марке, определяемой по результатам контрольных испытаний образцов в возрасте не менее 28 сут или неразрушающими методами на балках.

2.9. Арматурные изделия

2.9.1. Балки следует армировать сварными каркасами и сетками из стержней горячекатаной гладкой арматуры класса А-I и периодического профиля класса А-III по ГОСТ 5781-82.

Марки арматурной стали должны приниматься с учетом условий возведения и эксплуатации конструкций согласно СНиП 2.03.01-84.

Классы и марки стали арматурных изделий балок должны быть указаны в проекте здания и в заказе на изготовление балок.

2.9.2. Сварные арматурные изделия должны соответствовать требованиям ГОСТ 10922-75.

2.9.3. Обнажение арматуры не допускается.

2.9.4. Монтажные петли должны изготовляться из горячекатаной гладкой арматурной стали класса А-I марок ВСт3сп2 и ВСт3пс2 по ГОСТ 5781-82.

Сталь марки ВСт3пс2 не допускается применять для изготовления монтажных петель в балках, предназначаемых для подъема и монтажа при температуре минус 40 °С и ниже.

2.9.5. Для закладных изделий балок, предназначаемых к эксплуатации в районах с расчетной зимней температурой до минус 40 °С включительно, должна применяться углеродистая сталь по ГОСТ 380-71.

Марки прокатной стали следует принимать с учетом действующей на закладное изделие нагрузки и условий эксплуатации балок согласно СНиП 2.03.01-84.

При расчетных зимних температурах района строительства ниже минус 40 °С до минус 65 °С включительно марки стали для закладных изделий балок следует назначать по СНиП II-23-81.

Марки стали должны быть указаны в проекте здания и в заказе на изготовление балок.

2.9.6. Закладные изделия следует изготовлять, применяя контактную рельефную или дуговую автоматическую сварку. Сварные соединения должны выполняться в соответствии с ГОСТ 14098-85.

Допускается изготовлять закладные изделия, применяя ручную дуговую сварку электродами типа Э42А-Ф.

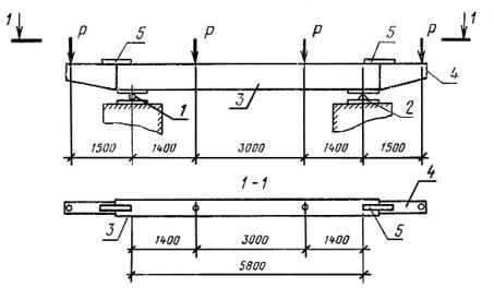
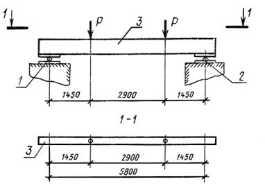
2.10. Балки при испытании путем нагружения на прочность, жесткость и ширину раскрытия трещин по приведенным схемам опирания и загружения балок на черт. 1 и 2 должны выдерживать контрольные нагрузки:

по табл. 1 обязательного приложения 2 - для стен зданий без учета сейсмических воздействий (черт. 1);

по табл. 2 обязательного приложения 2 - для стен зданий с расчетной сейсмичностью 7-9 баллов (черт. 2).

1 - подвижная опора; 2 - неподвижная опора; 3 - балка

Черт. 1

1 - подвижная опора; 2 - неподвижная опора; 3 - балка; 4 - стальная консоль; 5 - стыковая накладка (4 и 5 - по расчету)

Черт. 2

2.11. Точность изготовления

2.11.1. Отклонения фактических размеров балок от проектных не должны превышать, мм:

по длине..................................... ±6

по ширине.................................. ±5

по высоте................................... +5

по размерам полки.................... ±3

2.11.2. Отклонение от прямолинейности реального профиля поверхности балок в любом сечении на длине 2 м (местная непрямолинейность) не должно превышать 3 мм.

2.11.3. Непрямолинейность профиля боковых поверхностей балки на всей длине не должна превышать 6 мм.

2.11.4. Отклонение от перпендикулярности (неперпендикулярность) смежных поверхностей балок (например, торцовых и боковых), характеризуемое отклонением угла между торцовой и боковой поверхностями от прямого угла (90°), выраженное в линейных единицах на заданном размере поперечного сечения (В - ширина, h - высота), не должно превышать 0,01 проверяемого размера В или h.

2.11.5. Отклонения от проектного положения стальных закладных изделий, расположенных в соответствии с проектом в одном уровне с поверхностью бетона, не должны превышать, мм:

в плоскости поверхности балки............................ 10

из плоскости поверхности балки.......................... 3

2.11.6. Отклонение от проектной толщины защитного слоя бетона не должно превышать ±5 мм.

2.11.7. (Исключен, Изм. № 1).

2.12. Качество поверхностей и внешний вид балок

2.12.1. (Исключен, Изм. № 1).

2.12.2. На поверхности балок не допускаются:

трещины, за исключением единичных местных поверхностных усадочных и технологических трещин шириной не более 0,15 мм;

обнажение арматуры;

жировые и ржавые пятна.

Размеры раковин, местных наплывов и впадин на бетонных поверхностях и околов бетона ребер не должны превышать указанных в табл. 4.

Таблица 4

Вид поверхности

Категория поверхности

Предельно допустимые размеры, мм

раковин

местных наплывов (высота) и впадин (глубина)

околов бетона

Диаметр

Глубина

Глубина

Длина на 1 м ребра

Лицевая, предназначенная под окраску

А3

3

2

2

5

50

Лицевая неотделываемая

А6

6

3

3

5

50

Нелицевая, невидимая в условиях эксплуатации

А7

15

5

5

10

100

2.12.3. Требуемая категория поверхностей должна быть указана в проекте здания и в заказе на изготовление балок.

2.12.4. Открытые поверхности балок, предназначенных для работы в условиях воздействия агрессивной среды, должны соответствовать категории поверхности не ниже А3.

2.12.5. Монтажные петли и открытые поверхности стальных закладных изделий должны быть очищены от наплывов бетона или раствора.

2.12.6. Открытые поверхности стальных закладных изделий должны иметь антикоррозионное покрытие, вид и техническая характеристика которого должны соответствовать установленным проектом здания согласно требованиям СНиП 2.03.11-85 и указанным в заказе на изготовление балок.

2.12.7. Бетонные поверхности балок, предназначаемых для эксплуатации во влажных строительно-климатических зонах СССР, а также для помещений с влажным и мокрым режимом, должны быть гидрофобизированы.

Для гидрофобизации поверхностей следует применять кремний - органические гидрофобизаторы и другие, вид и технические характеристики которых должны быть указаны в проекте и в заказе на изготовление балок.

2.12.8. Для поверхностей балок, подлежащих защитно-антикоррозионной окраске, гидрофобизация поверхности должна производиться до нанесения слоя окраски.

2.12.9. Отделка поверхностей балок должна соответствовать указанной в проекте и в заказе на изготовление балок.

2.13. Балки высшей категории качества должны удовлетворять дополнительным требованиям, указанным ниже.

Коэффициент вариации прочности бетона в партии...............................................................................

не более 9 %

Морозостойкость бетона................................

марка по морозостойкости выше на 10 % и более от указанной в проекте

Влажность бетона............................................

не более 90 % от указанной в п. 2.6.5

Контрольная нагрузка.....................................

только с плюсовыми отклонениями по сравнению с указанной в табл. 1, 2 приложения 2

Величина раскрытия трещин при нормативной нагрузке.....................................

не более указанной в табл. 1, 2 приложения 2

Отклонения фактических размеров от проектных, мм, не более:

 

по длине балки.................................................

±5

по ширине балки..............................................

±4

по высоте балки...............................................

±4

по размерам полки..........................................

±3

Отклонения от проектного положения стальных закладных, изделий, мм, не более:

 

в плоскости поверхности балки.....................

5

из плоскости поверхности балки...................

2

Качество поверхностей, качество и вид отделки.............................................................

не должны иметь усадочных трещин и должны иметь отделку боковых (лицевых) поверхностей без отклонения от эталона

3. Правила приемки

3.1. Приемку балок следует производить партиями в соответствии с требованиями ГОСТ 13015.1-81 и настоящего стандарта.

3.2. Испытания балок по прочности, жесткости и трещиностойкости нагружением следует проводить перед началом массового их изготовления и в дальнейшем - при изменении технологии изготовления балок, вида и качества применяемых материалов.

3.3. Балки по показателям морозостойкости и водонепроницаемости бетона, пористости уплотненной смеси бетона на пористых заполнителях (объему межзерновых пустот) следует принимать по результатам периодических испытаний, которые проводят не реже:

на морозостойкость - одного раза в 6 мес;

на водонепроницаемость - одного раза в 3 мес;

на пористость - одного раза в 1 мес.

3.4. Балки по показателям прочности бетона (марке бетона по прочности на сжатие и отпускной прочности), влажности бетона на пористых заполнителях, соответствия арматурных и закладных изделий требованиям ГОСТ 24893.1-81, прочности сварных соединений, точности геометрических параметров, толщины защитного слоя бетона до арматуры, ширины раскрытия усадочных и других поверхностных технологических трещин, категории бетонной поверхности следует принимать по результатам приемо-сдаточных испытаний.

3.5. Приемку балок по показателям, проверяемым осмотром: по внешнему виду, правильности нанесения маркировочных надписей и знаков, по наличию закладных изделий и монтажных петель, а также по наличию и качеству защитных покрытий от коррозии, - следует проводить сплошным контролем с отбраковкой балок, имеющих дефекты по указанным показателям.

3.6. Приемку балок по показателям точности геометрических параметров, толщины защитного слоя бетона до арматуры, категории бетонной поверхности, контролируемых путем измерений, следует осуществлять по результатам одноступенчатого выборочного контроля.

4. Методы контроля и испытаний

4.1. Размеры балок, непрямолинейность профиля наружных боковых поверхностей, неперпендикулярность смежных поверхностей, положение монтажных петель, закладных изделий, толщину защитного слоя бетона, качество поверхностей и внешний вид следует проверять по ГОСТ 13015-75.

4.2. Прочность бетона на сжатие следует определять по ГОСТ 10180-78 на серии образцов, изготовленных из бетонной смеси рабочего состава и хранившихся в условиях, установленных ГОСТ 18105-86.

Отпускную прочность бетона следует определять неразрушающими методами по ГОСТ 17624-87, ГОСТ 22690.0-77 ¸ ГОСТ 22690.4-77, ГОСТ 21243-75.

4.3. Морозостойкость бетона следует определять по ГОСТ 10060-87 на серии образцов, изготовленных из бетонной смеси рабочего состава.

4.4. Водонепроницаемость бетона балок следует определять по ГОСТ 12730.0-78 и ГОСТ 12730.5-84 на серии образцов, изготовленных из бетонной смеси рабочего состава.

4.5. Объем межзерновых пустот в уплотненной смеси бетона на пористых заполнителях следует определять по ГОСТ 10181.0-81 и ГОСТ 10181.3-81.

4.6. Среднюю плотность бетона следует определять по ГОСТ 12730.0-78 и ГОСТ 12730.1-78.

Допускается определять среднюю плотность бетона по ГОСТ 17623-87.

4.7. Влажность бетона на пористых заполнителях следует определять для каждой партии балок по ГОСТ 12730.2-78.

4.8. Методы контроля и испытаний сварных арматурных и закладных изделий - по ГОСТ 10922-75.

4.9. Испытания балок нагружением следует проводить по ГОСТ 8829-85.

5. Маркировка, хранение и транспортирование

5.1. Маркировка балок - по ГОСТ 13015.2-81. Маркировочные надписи и знаки следует наносить на нелицевой верхней поверхности каждой балки.

5.2. Требования к документу о качестве балок, поставляемых потребителю, - по ГОСТ 13015.3-81.

Дополнительно в документе о качестве балок должны быть приведены марки бетона по морозостойкости и водонепроницаемости, а также вид материала, примененного для гидрофобизации поверхности балок (если эти показатели приведены в заказе на изготовление балок).

5.3. Транспортировать и хранить балки следует в соответствии с требованиями ГОСТ 13015.4-84 и настоящего стандарта.

Балки следует хранить в штабелях, уложенных в рабочем положении с параллельным расположением в каждом ряду не менее двух балок.

5.4. При хранении и транспортировании каждую балку следует опирать на деревянные инвентарные прокладки толщиной 80 мм и шириной не менее 100 мм, устанавливаемые на расстоянии 100 мм от торцов балки. Подкладки под нижний ряд балок следует укладывать на плотное тщательно выровненное основание.

Прокладки между балками по высоте штабеля следует располагать одна над другой.

5.5. При транспортировании балки следует укладывать правильными рядами в рабочем положении длинной стороной по направлению движения и надежно закреплять, предохраняя их от смещения.

Высота штабеля при транспортировании должна быть не более трех рядов балок по высоте.

5.6. При погрузке, транспортировании, разгрузке и хранении балок должны приниматься меры, исключающие возможность повреждения и загрязнения балок, а также увлажнения их сверх установленных пределов.

6. Гарантии изготовителя

6.1. Изготовитель должен гарантировать соответствие поставляемых балок требованиям настоящего стандарта при соблюдении транспортными организациями правил транспортирования, а потребителем - условий применения и хранения балок, установленных настоящим стандартом.

6.2. Гарантийный срок хранения и эксплуатации балок, в течение которого изготовитель обязан устранить обнаруженные потребителем скрытые дефекты, - один год с даты отгрузки балок потребителю.

Скрытыми дефектами следует считать такие дефекты, которые не могли быть обнаружены при приемочном контроле балок потребителем и выявились в процессе их транспортирования, подготовки к монтажу, монтажа и эксплуатации.

Приложение 1

Справочное


Таблица 1

Данные для подбора обвязочных балок по несущей способности

Тип (типоразмер) балки

Условное обозначение балки по несущей способности

Материал и толщина стены, мм

Допускаемая высота кладки (H и Hк) и проема (Н0), м, по черт. 3 схемы стены

Расчетная ветровая нагрузка, Н/м (кгс/м), при коэффициентах перегрузки

без проемов

с проемами при кладке в летних и зимних условиях

с ленточным остеклением при кладке в летних и зимних условиях

при кладке в летних условиях Н, не более

при кладке в зимних условиях Н, не более

ширина проема 3,0 м

ширина проема 4,8 м

Н, не более

Hк, не более

Н0, не менее

Н, не более

Hк, не более

Н0*, не менее

Н, не более

Hк, не более

Н0*, не менее

n = 1

n > 1

БОП25

1

Кирпич - 250

6,6

2,4

3,0

1,2

1,8

4,8

1,2

3,6

9,0 (6,6)

1,2 (1,8)

7,8 (4,8)**

3370 (344)

3630 (372)

2

11,4

4,2

6,0

1,8

4,2

9,0

1,8

7,2

14,4

1,8

12,6

3

-

5,4

8,4

1,8

6,6

10,8

1,8

7,8

-

-

-

1

Легкобетонные камни (блоки) - 190 (200)

10,2

3,6

4,2

1,2

3,0

7,2

1,2

6,0

13,8 (10,2)

1,2 (1,8)

12,6 (8,4)

3370 (344)

3630 (372)

2

-

6,0

9,0

1,8

7,2

13,8

1,8

12,0

-

-

-

3

-

 

 

 

 

 

 

 

 

 

 

БОП38, БОВ

1

Кирпич - 380

6,0

2,4

3,0

1,2

1,8

4,8

1,2

3,6

9,0 (6,6)

1,2 (1,8)

7,8 (4,8)*

3370 (344)

3630 (372)

2

-

4,2

6,0

1,8

4,2

9,0

1,8

7,2

14,4

1,8

12,6

3

-

5,4

8,4

1,8

6,6

10,8

1,8

7,8

-

-

-

1

Легкобетонные камни (блоки) - 390 (400)

6,0

2,7

3,6

1,2

2,4

5,4

1,2

4,2

10,2 (7,2)

1,2 (1,8)

9,0 (5,4)

3370 (344)

3630 (372)

2

-

4,8

7,2

1,8

5,4

10,2

1,8

8,4

15,6

1,8

13,8

3

-

6,0

9,6

1,8

7,8

12,6

1,8

10,8

-

-

-

* С промежуточным креплением ленточного остекления к колоннам каркаса через 3,0 м по высоте.

** В скобках даны значения H и H0 при высоте слоя кладки над балкой до проема Hк = 1,8 м.

Примечание. Принятая в расчетах средняя плотность кирпичной кладки gк = 1800 кг/м3, легкобетонных камней (блоков) gб = 1600 кг/м3.

Таблица 2

Данные для подбора обвязочных балок по несущей способности для зданий с расчетной сейсмичностью 7-9 баллов

Тип (типоразмер) балки

Условное обозначение балки по несущей способности

Материал и толщина стены, мм

Допускаемая высота кладки (H и Hк) и проема (Н0), м, по черт. 3 схемы стены

Расчетная ветровая нагрузка, Н/м (кгс/м), при коэффициентах перегрузки

без проемов

с проемами при кладке в летних и зимних условиях

с ленточным остеклением при кладке в летних и зимних условиях

при кладке в летних условиях Н, не более

при кладке в зимних условиях Н, не более

ширина проема 3,0 м

ширина проема 4,8 м

Н, не более

Hк, не более

Н0, не менее

Н, не более

Hк, не более

Н0*, не менее

Н, не более

Hк, не более

Н0*, не менее

n = 1

n > 1

БОП25...-С

1

Кирпич - 250

6,0

2,4

3,0

1,2

1,8

4,8

1,2

3,6

9,0 (6,6)

1,2 (1,8)

7,8 (4,8)**

3370 (344)

3630 (372)

2

 

4,2

6,0

1,8

4,2

9,0

1,8

7,2

-

-

-

3

 

5,4

8,4

1,8

6,6

-

-

-

-

-

-

1

Легкобетонные камни (блоки) - 190 (200)

6,0

3,6

4,2

1,2

3,0

7,2

1,2

6,0

10,2

1,8

8,4

3370 (344)

3630 (372)

2

-

6,0

9,0

1,8

7,2

-

-

-

-

-

-

3

-

-

-

-

-

-

-

-

-

-

-

БОП38...-С, БОВ...-С

1

Кирпич - 380

6,0

2,4

3,0

1,2

1,8

4,8

1,2

3.6

9,0 (6,6)

1,2 (1,8)

7,8 (4,8)

3370 (344)

3630 (372)

2

-

4,2

6,0

1,8

4,2

9,0

1,8

7.2

-

-

-

3

-

5,4

8,4

1,8

6,6

-

-

-

-

-

-

1

Легкобетонные камни (блоки) - 390 (400)

6,0

2,7

3,6

1,2

2,4

5,4

1,2

4,2

10,2 (7,2)

1,2 (1,8)

9,0 (5,4)**

3370 (344)

3630 (372)

2

-

4,8

7,2

1,8

5,4

10,2

1,8

8,4

-

-

-

3

-

6,0

9,6

1,8

7,8

-

-

-

-

-

-

* С промежуточным креплением ленточного остекления к колоннам каркаса через 3,0 м по высоте.

** В скобках даны значения H и H0 при высоте слоя кладки над балкой до проема Hк = 1,8 м.

Примечания:

1. Кладка для стен зданий с расчетной сейсмичностью 7-9 баллов должна быть не ниже 2-й категории по СНиП II-7-81 и иметь гибкие связи с каркасом здания.

2. При расчетной сейсмичности 7 и 8 баллов высоты кладки принимаются такими же, как для зданий без учета сейсмичности по табл. 1.


а) глухая стена (без проемов)

б) с проемом

в) с проемами

г) с ленточным остеклением

Н - полна высота слоя кладки над балкой; Нк - высота слоя кладки над балкой до проема; Н0 - полная высота проемов в пределах высоты слоя кладки Н; h1, h2, …, hn - высоты проемов, расположенных в пределах высоты слоя кладки H , где i = 1, 2, …, n

Черт. 3

Приложение 2

Обязательное

Данные по испытанию обвязочных балок нагружением

Таблица 1

Значения контрольных нагрузок, прогибов и ширины раскрытия трещин балок при испытании

Марка балки

Контрольная нагрузка по проверке прочности в виде сосредоточенных грузов P, кН (тс), по схеме черт. 1

Контрольная нагрузка в виде сосредоточенных грузов P, кН (тс), по схеме черт. 1

Контрольный прогиб в середине пролета балки fк, см

Контрольная ширина раскрытия трещин ак, мм

С = 1,4

С = 1,6

при проверке трещиностойкости

при проверке жесткости

БОП25-1Т

БОП25-1П

63,8 (6,5)

68,7 (7,0)

45,6 (4,65)

45,6 (4,65)

1,1

0,15

БОП25-2Т

БОП25-2П

99,1 (10,1)

112,8 (11,5)

69,7 (7,1)

69,7 (7,1)

1,6

0,20

БОП25-3Т

БОП25-3П

114,8 (11,7)

131,5 (13,4)

86,3 (8,8)

86,3 (8,8)

1,7

0,20

БОП38-1Т

БОП38-1П

95,2 (9,7)

108,9 (11,1)

66,7 (6,8)

66,7 (6,8)

1,5

0,20

БОП38-2Т

БОП38-2П

148,1 (15,1)

168,7 (17,2)

104,0 (10,6)

104,0 (10,6)

1,9

0,20

БОП38-3Т

БОП38-3П

183,4 (18,7)

221,7 (22,6)

129,5 (13,2)

129,5 (13,2)

2,1

0,20

БОВ-1Т

БОВ-1П

95,2 (9,7)

108,9 (11,1)

66,7 (6,8)

66,7 (6,8)

1,5

0,20

БОВ-2Т

БОВ-2П

148,1 (15,1)

168,7 (17,2)

104,0 (10,6)

104,0 (10,6)

1,9

0,20

БОВ-3Т

БОВ-3П

183,4 (18,7)

221,7 (22,6)

129,5 (13,2)

129,5 (13,2)

2,1

0,20

Примечания:

1. Величины контрольных нагрузок указаны без учета массы балки.

2. Величина коэффициента С принимается в зависимости от возможного характера разрушения балки согласно ГОСТ 8829-85.

Таблица 2

Значения контрольных нагрузок, прогибов и ширины раскрытия трещин балок предназначенных для зданий с расчетной сейсмичностью 7-9 баллов

Марка балки

Контрольная нагрузка по проверке прочности в виде сосредоточенных грузов P, кН (тс), по схеме черт. 2

Контрольная нагрузка в виде сосредоточенных грузов P, кН (тс), по схеме черт. 2

Контрольный прогиб в середине пролета балки fк, см

Контрольная ширина раскрытия трещин ак, мм

С = 1,4

С = 1,6

при проверке трещиностойкости

при проверке жесткости

БОП25-1Т-С

БОП25-1П-С

56,9 (5,8)

64,7 (6,6)

40,7 (4,15)

40,7 (4,15)

1,0

0,15

БОП25-2Т-С

БОП25-2П-С

86,3 (8,8)

99,1 (10,1)

61,8 (6,3)

61,8 (6,3)

1,2

0,20

БОП25-3Т-С

БОП25-3П-С

106,9 (10,9)

122,6 (12,5)

76,5 (7,8)

76,5 (7,8)

1,5

0,20

БОП38-1Т-С

БОП38-1П-С

82,4 (8,4)

94,2 (9,6)

58,9 (6,0)

58,9 (6,0)

1,1

0,20

БОП38-2Т-С

БОП38-2П-С

130,5 (13,3)

148,1 (15,1)

93,2 (9,5)

93,2 (9,5)

1,3

0,20

БОП38-3Т-С

БОП38-3П-С

160,9 (16,4)

183,4 (18,7)

114,8 (11,7)

114,8 (11,7)

1,6

0,20

БОВ-1Т-С

БОВ-1П-С

82,4 (8,4)

94,2 (9,6)

58,9 (6,0)

58,9 (6,0)

1,1

0,20

БОВ-2Т-С

БОВ-2П-С

130,5 (13,3)

148,1 (15,1)

93,2 (9,5)

93,2 (9,5)

1,3

0,20

БОВ-3Т-С

БОВ-3П-С

160,9 (16,4)

183,4 (18,7)

114,8 (11,7)

114,8 (11,7)

1,6

0,20

Примечания:

1. Величины контрольных нагрузок указаны без учета массы балки.

2. Величина коэффициента С принимается в зависимости от возможного характера разрушения балки согласно ГОСТ 8829-85.

3. При измерении контрольного прогиба fк в середине пролета балки консолей по схеме черт. 2 прикладывается нагрузка, равная 1/4 P.

СОДЕРЖАНИЕ

 

 




ГОСТЫ, СТРОИТЕЛЬНЫЕ и ТЕХНИЧЕСКИЕ НОРМАТИВЫ.
Некоммерческая онлайн система, содержащая все Российские Госты, национальные Стандарты и нормативы.
В Системе содержится более 150000 файлов нормативно-технической документации, действующей на территории РФ.
Система предназначена для широкого круга инженерно-технических специалистов.

Рейтинг@Mail.ru Яндекс цитирования

Copyright © www.gostrf.com, 2008 - 2026