Крупнейшая бесплатная информационно-справочная система онлайн доступа к полному собранию технических нормативно-правовых актов РФ. Огромная база технических нормативов (более 150 тысяч документов) и полное собрание национальных стандартов, аутентичное официальной базе Госстандарта. GOSTRF.com - это более 1 Терабайта бесплатной технической информации для всех пользователей интернета. Все электронные копии представленных здесь документов могут распространяться без каких-либо ограничений. Поощряется распространение информации с этого сайта на любых других ресурсах. Каждый человек имеет право на неограниченный доступ к этим документам! Каждый человек имеет право на знание требований, изложенных в данных нормативно-правовых актах!

  


 

ГОСУДАРСТВЕННЫЙ СТАНДАРТ РОССИЙСКОЙ ФЕДЕРАЦИИ

ИЗВЕЩАТЕЛИ ОХРАННЫЕ ЗВУКОВЫЕ
ПАССИВНЫЕ ДЛЯ БЛОКИРОВКИ ОСТЕКЛЕННЫХ
КОНСТРУКЦИЙ В ЗАКРЫТЫХ ПОМЕЩЕНИЯХ

Общие технические требования
и методы испытаний

ГОСТ Р 51186-98

ГОССТАНДАРТ РОССИИ

Москва

Содержание

1 Область применения

2 Нормативные ссылки

3 Определения

4 Общие технические требования

4.2 Функциональные требования

4.3 Требования к электропитанию извещателей

4.4 Требования устойчивости к воздействию внешних факторов

4.5 Воздействие внешних факторов при транспортировании

4.6 Требования электромагнитной совместимости

4.7 Напряженность поля радиопомех, создаваемых извещателем

4.8 Требования безопасности

4.9 Требования к конструкции

4.10 Требования к надежности

4.11 Требования к документации, прилагаемой к извещателям

5 Методы испытаний

5.1 Условия и средства испытаний

5.2 Функциональные испытания

5.3 Испытания на влияние изменения напряжения электропитания извещателей

5.4 Испытания извещателей на устойчивость к воздействию внешних факторов

5.5 Испытания извещателей на воздействие условий транспортирования по 4.5

5.6 Испытания на электромагнитную совместимость по 4.6

5.7 Испытания извещателей на безопасность по 4.8

5.8 Проверка требований к конструкции извещателей по 4.9

ПРИЛОЖЕНИЕ А (обязательное) Средства испытаний

Предисловие

1 РАЗРАБОТАН Научно-исследовательским центром «Охрана» (НИЦ «Охрана») Всероссийского научно-исследовательского института противопожарной обороны (ВНИИПО) МВД России

ВНЕСЕН Техническим комитетом по стандартизации ТК 234 «Технические средства охраны, охранной и пожарной сигнализации»

2 ПРИНЯТ И ВВЕДЕН В ДЕЙСТВИЕ Постановлением Госстандарта России от 10 июля 1998 г. № 287

3 ВВЕДЕН ВПЕРВЫЕ

4 ПЕРЕИЗДАНИЕ

ГОСУДАРСТВЕННЫЙ СТАНДАРТ РОССИЙСКОЙ ФЕДЕРАЦИИ

ИЗВЕЩАТЕЛИ ОХРАННЫЕ ЗВУКОВЫЕ ПАССИВНЫЕ ДЛЯ БЛОКИРОВКИ ОСТЕКЛЕННЫХ КОНСТРУКЦИЙ В ЗАКРЫТЫХ ПОМЕЩЕНИЯХ

Общие технические требования и методы испытаний

Alarm sonic passive glass break detectors for use in buildings. General technical requirements and methods of tests

ГОСТ Р
51186-98

Дата введения 1999-07-01

1 Область применения

Настоящий стандарт распространяется на применяемые в системах охранной сигнализации пассивные звуковые извещатели для блокировки остекленных конструкций (далее - извещатели), устанавливаемые в закрытых помещениях и обнаруживающие разрушение от механического удара плоского листового стекла марок М4-М8 по ГОСТ 111 и/или защитного стекла классов А1-А3 по ГОСТ Р 51136 при попытке нарушителя проникнуть в помещение через остекленную конструкцию.

Настоящий стандарт распространяется на вновь разрабатываемые и модернизируемые извещатели.

Настоящий стандарт устанавливает общие технические требования к извещателям и методы их испытаний.

Стандарт не распространяется на извещатели специального назначения.

(Измененная редакция, Изм. № 1).

2 Нормативные ссылки

В настоящем стандарте использованы ссылки на следующие стандарты:

ГОСТ 12.1.004-91 Система стандартов безопасности труда. Пожарная безопасность. Общие требования

ГОСТ 12.1.030-81 Система стандартов безопасности труда. Электробезопасность. Защитное заземление, зануление

ГОСТ 12.1.038-82 Система стандартов безопасности труда. Электробезопасность. Предельно допустимые значения напряжений прикосновения и токов

ГОСТ 12.2.007.0-75 Система стандартов безопасности труда. Изделия электротехнические. Общие требования безопасности

ГОСТ 27.301-95 Надежность в технике. Расчет надежности. Основные положения

ГОСТ 27.410-87 Надежность в технике. Методы контроля показателей надежности и планы контрольных испытаний на надежность

ГОСТ 111-2001 Стекло листовое. Технические условия

ГОСТ 4784-97 Алюминий и сплавы алюминиевые деформируемые. Марки

ГОСТ 12090-80 Частоты для акустических измерений. Предпочтительные ряды

ГОСТ 12997-84 Изделия ГСП. Общие технические условия

ГОСТ 14254-96 (МЭК 529-89) Степени защиты, обеспечиваемые оболочками (Код IP)

ГОСТ 16122-87 Громкоговорители. Методы измерения электроакустических параметров

ГОСТ 16123-88 (МЭК 268-4-72) Микрофоны. Методы измерений электроакустических параметров

ГОСТ 17187-81 Шумомеры. Общие технические требования и методы испытаний

ГОСТ 20403-75 Резина. Метод определения твердости в международных единицах (от 30 до100 IRHD)

ГОСТ 21128-83 Системы электроснабжения, сети, источники, преобразователи и приемники электрической энергии. Номинальные напряжения до 1000 В

ГОСТ 23262-88 Системы акустические бытовые. Общие технические условия

ГОСТ 27484-87 (МЭК 695-2-2-80) Испытания на пожароопасность. Методы испытаний. Испытания горелкой с игольчатым пламенем

ГОСТ Р 52161.1-2004 (МЭК 60335-1:2001) Безопасность бытовых и аналогичных приборов. Часть 1. Общие требования

ГОСТ 27924-88 (МЭК 695-2-3-84) Испытания на пожароопасность. Методы испытаний. Испытания на плохой контакт при помощи накальных элементов

ГОСТ 28198-89 (МЭК 68-1-88) Основные методы испытаний на воздействие внешних факторов. Часть 1. Общие положения и руководство

ГОСТ 28199-89 (МЭК 68-2-1-74) Основные методы испытаний на воздействие внешних факторов. Часть 2. Испытания. Испытание А: Холод

ГОСТ 28200-89 (МЭК 68-2-2-74) Основные методы испытаний на воздействие внешних факторов. Часть 2. Испытания. Испытание В: Сухое тепло

ГОСТ 28203-89 (МЭК 68-2-6-82) Основные методы испытаний на воздействие внешних факторов. Часть 2. Испытания. Испытание Fc и руководство: Вибрация (синусоидальная)

ГОСТ 28236-89 (МЭК 68-3-1-74) Основные методы испытаний на воздействие внешних факторов. Часть 3. Дополнительная информация. Раздел 1. Испытания на холод и сухое тепло

ГОСТ Р 50009-2000 Совместимость технических средств электромагнитная. Технические средства охранной сигнализации. Требования и методы испытаний

ГОСТ Р 50775-95 (МЭК 839-1-1-88) Системы тревожной сигнализации. Часть 1. Общие требования. Раздел 1. Общие положения

ГОСТ Р МЭК 60065-2002 Аудио-, видео- и аналогичная электронная аппаратура. Требования безопасности

ГОСТ 26342-84 Средства охранной, пожарной и охранно-пожарной

ГОСТ Р 51136-98 Стекла защитные многослойные. Общие технические условия

ГОСТ Р 52435-2005 Технические средства охранной сигнализации. Классификация. Общие технические требования и методы испытаний

(Измененная редакция, Изм. № 1).

3 Определения

В настоящем стандарте в дополнение к терминам, приведенным в ГОСТ Р 50775, применены следующие термины с соответствующими определениями:

3.1 стеклянный лист: Плоское листовое стекло, закрепленное в строительной конструкции.

3.2 разрушение стеклянного листа: Воздействие на стеклянный лист механического удара, вызывающее образование трещин и выпадение осколков.

3.3 пассивный звуковой извещатель: Извещатель, предназначенный для дистанционного обнаружения разрушения стеклянного листа путем регистрации звуковых колебаний в помещении, генерируемых стеклом при его разрушении под воздействием механического удара, и для формирования извещения о тревоге.

3.4 дальность действия извещателя: Расстояние от извещателя до самой удаленной точки на охраняемой поверхности стеклянного листа;

максимальная дальность действия извещателя: Дальность действия извещателя, отрегулированного на максимальную чувствительность.

3.5 чувствительность извещателя: Граничное значение контролируемого звукового сигнала, при достижении которого извещатель должен формировать извещение о тревоге.

3.6 охраняемая площадь: Площадь поверхности стеклянного листа, контролируемого извещателем, при разрушении которого извещатель формирует извещение о тревоге с заданной вероятностью обнаружения разрушения стеклянного листа;

минимальная охраняемая площадь: Минимальная площадь поверхности стеклянного листа, контролируемого извещателем, при разрушении которого извещатель формирует извещение о тревоге с заданной вероятностью обнаружения разрушения стеклянного листа.

3.7 рабочее положение извещателя: Положение извещателя при установке на охраняемом объекте, указанное в эксплуатационной документации на извещатель конкретного типа.

3.8 рабочая частота извещателя: Частота (частоты) звукового сигнала, селектируемая извещателем для распознавания разрушения стеклянного листа.

3.9 прибор - регистратор извещений: Прибор, фиксирующий извещение о тревоге при испытаниях и осуществляющий его визуальную индикацию.

3.10 звуковой сигнал: Звуковые колебания - колебательные движения частиц упругой среды под действием переменного возмущения.

3.11 синусоидальный звуковой сигнал: Гармоническое звуковое колебание с произвольной начальной фазой и постоянными или медленно меняющимися амплитудой и частотой.

3.12 широкополосный звуковой сигнал: Стационарный случайный звуковой сигнал с нулевым средним значением и с нормальным распределением мгновенных значений звукового давления.

3.13 белый шум: По ГОСТ 16122.

3.14 сигнал дискретного спектра: По ГОСТ 16123.

3.15 тестовый сигнал: Звуковой сигнал, значения параметров которого соответствуют применяемому в извещателе методу обработки звукового сигнала, возникающего при разрушении стеклянного листа.

3.16 звуковое давление: Разность между мгновенными значениями звукового давления при сжатии и разрежении среды в заданной точке.

3.17 уровень звукового давления: Величина, определяемая как двадцать десятичных логарифмов отношения измеряемого звукового давления к его нулевому уровню (2·10-5 Па) и выражаемая в децибелах.

3.18 уровень помех: По ГОСТ 16123.

3.19 излучатель: По ГОСТ 16123.

3.20 излучающее отверстие: По ГОСТ 16122.

3.21 рабочая плоскость излучения: По ГОСТ 16122.

3.22 рабочий центр излучения: По ГОСТ 16122.

3.23 рабочая ось излучения: По ГОСТ 16122.

3.24 микрофон: По ГОСТ 16123.

3.25 измерительный микрофон: По ГОСТ 16123.

3.26 регулятор чувствительности (дальности действия) извещателя: Составная часть извещателя, позволяющая изменять его чувствительность в пределах, обеспечивающих установку минимальной (максимальной) дальности действия извещателя в условиях эксплуатации.

3.27 вспомогательное тестовое устройство: Устройство, имитирующее типичный звуковой сигнал, возникающий при разрушении стеклянного листа.

3.28 пропуск извещения о тревоге: Сохранение нормального состояния извещателя (невыдача извещения о тревоге) при разрушении стеклянного листа или воздействии сигнала от вспомогательного тестового устройства.

3.29 шлейф охранной сигнализации: По ГОСТ 26342

(Введен дополнительно, Изм. № 1).

4 Общие технические требования

4.1 Извещатели должны быть изготовлены в соответствии с требованиями ГОСТ Р 50775, ГОСТ Р 52435 настоящего стандарта и технических условий на извещатели конкретных типов.

(Измененная редакция, Изм. № 1).

4.2 Функциональные требования

4.2.1 Рабочая частота

Рабочая частота (частоты) извещателей должна быть выбрана из диапазона 31,5-16000 Гц по ГОСТ 12090.

Номинальные значения рабочих частот и допускаемые отклонения от этих значений должны быть установлены в технических условиях на извещатели конкретных типов.

4.2.2 Чувствительность

Чувствительность извещателей характеризуется минимальным для формирования извещения о тревоге уровнем звукового давления на рабочей частоте (частотах), соответствующим уровню, возникающему при разрушении стеклянного листа.

(Измененная редакция, Изм. № 1).

4.2.3 Дальность действия

Значение максимальной дальности действия извещателей должно быть выбрано из ряда: 3; 4,5; 6; 7,5; 9; 10,5; 12; 13,5; 15 м.

Номинальные значения дальности действия и допускаемые отклонения от этих значений должны быть установлены в технических условиях на извещатели конкретных типов.

4.2.4 Вероятность обнаружения извещателями разрушения стеклянного листа Вероятность обнаружения извещателями разрушения стеклянного листа должна быть не менее 0,9.

4.2.5 Помехозащищенность при механическом ударе по стеклянному листу

Извещатели не должны выдавать извещение о тревоге при неразрушающем ударе по стеклянному листу, т.е. при ударе массой (0,39±0,01) кг и энергией (1,9±0,1) Дж.

4.2.6 Помехозащищенность при звуковой помехе

4.2.6.1 Извещатели не должны выдавать извещение о тревоге при воздействии на них синусоидального звукового сигнала (сигналов) с несущей частотой, соответствующей рабочей частоте извещателей, длительностью (3±1) с, создающего в месте расположения чувствительного элемента извещателей уровень звукового давления (65±1) дБ.

4.2.6.2 Извещатели не должны выдавать извещение о тревоге при воздействии на них широкополосного звукового сигнала со спектральной характеристикой белого шума длительностью (3±1) с, создающего в месте расположения чувствительного элемента извещателя уровень звукового давления (65±1) дБ.

4.2.7 Время готовности извещателей к работе

Извещатели должны быть готовы к работе по истечении не более 60 с после их включения.

4.2.8 Извещение о тревоге

Извещатели должны формировать извещение о тревоге в результате разрушения стеклянного листа с последующим восстановлением нормального состояния или с фиксацией состояния тревоги (без последующего восстановления нормального состояния).

Длительность извещения о тревоге, формируемого извещателями с восстановлением нормального состояния, - не менее 2 с.

4.2.9 Время восстановления нормального состояния извещателей

Извещатели с восстановлением нормального состояния после выдачи извещения о тревоге должны вернуться в нормальное состояние не более чем через 30 с.

Переход в нормальное состояние извещателей с фиксацией состояния тревоги должен быть осуществлен принудительными мерами, установленными в технических условиях на извещатели конкретных типов.

4.2.10 Минимальная охраняемая площадь

Значение минимальной охраняемой площади должно быть не более 0,1 м2 и установлено в технических условиях на извещатели конкретных типов.

(Введен дополнительно, Изм. № 1).

4.3 Требования к электропитанию извещателей

4.3.1 Электропитание извещателей осуществляется от:

- источников питания постоянного тока;

- сети переменного тока;

- шлейфа сигнализации приемно-контрольного прибора.

4.3.2 Номинальное значение напряжения электропитания извещателей с питанием от источников постоянного тока должно соответствовать ГОСТ 21128 и быть установлено в технических условиях на извещатели конкретных типов, при этом предпочтительным является значение напряжения 12 В.

Извещатели должны соответствовать требованиям настоящего стандарта при изменении напряжения электропитания от минус 15 % до плюс 25 % его номинального значения.

4.3.3 Номинальное значение напряжения электропитания извещателей с питанием от сети переменного тока частотой 50 Гц должно соответствовать ГОСТ 21128 и быть установлено в технических условиях на извещатели конкретных типов.

Извещатели должны соответствовать требованиям настоящего стандарта при изменении напряжения электропитания в диапазоне, установленном в технических условиях на извещатели конкретных типов.

4.3.4 Номинальное значение напряжения электропитания извещателей с питанием от шлейфа сигнализации приемно-контрольного прибора должно быть установлено в технических условиях на извещатели конкретных типов.

Извещатели должны соответствовать требованиям настоящего стандарта при изменении напряжения электропитания в диапазоне, установленном в технических условиях на извещатели конкретных типов.

4.3.5 При снижении напряжения электропитания ниже значения, установленного в 4.3.2, извещатели должны формировать извещение о тревоге или неисправности.

4.4 Требования устойчивости к воздействию внешних факторов

4.4.1 Сухое тепло (повышенная рабочая температура среды)

Извещатели должны сохранять работоспособное состояние при воздействии повышенной рабочей температуры среды 40°С.

4.4.2 Холод (пониженная рабочая температура среды)

Извещатели должны сохранять работоспособное состояние при воздействии пониженной рабочей температуры среды 5°С.

4.4.3 Повышенная влажность воздуха

Значение повышенной влажности воздуха, при которой извещатели должны сохранять работоспособное состояние, должно быть установлено в технических условиях на извещатели конкретных типов.

4.4.4 Синусоидальная вибрация

Извещатели должны сохранять работоспособное состояние при воздействии синусоидальной вибрации с ускорением 0,981 м/с2 (0,1 g) при частотах от 10 до 55 Гц.

4.4.5 Механический удар

Извещатели должны сохранять работоспособное состояние при нанесении по ним ударов со скоростью (1,5±0,125) м/с и энергией (1,9±0,1) Дж.

4.5 Воздействие внешних факторов при транспортировании

Извещатели в упаковке должны выдерживать при транспортировании:

а) транспортную тряску с ускорением 30 м/с2 при частоте ударов от 10 до 120 в минуту или 15000 ударов;

б) температуру окружающей среды от минус 50°С до плюс 50°С;

в) относительную влажность воздуха (95±3) % при температуре 35°С.

4.6 Устойчивость извещателей к воздействию электромагнитных помех

Требования устойчивости извещателей к воздействию электромагнитных помех - по ГОСТ Р 50009.

Степени жесткости испытаний для каждого предъявляемого к извещателям требования ГОСТ Р 50009 устанавливают в технических условиях на извещатели конкретных типов, но не ниже второй

(Измененная редакция, Изм. № 1).

4.6.1 (Исключен, Изм. № 1).

4.6.2 (Исключен, Изм. № 1).

4.6.3 (Исключен, Изм. № 1).

4.6.4 (Исключен, Изм. № 1).

4.6.5 (Исключен, Изм. № 1).

4.6.6 (Исключен, Изм. № 1).

4.7 Индустриальные радиопомехи, создаваемые извещателем

Индустриальные радиопомехи, создаваемые извещателем, - по ГОСТ Р 50009.

(Измененная редакция, Изм. № 1).

4.8 Требования безопасности

4.8.1 Требования безопасности - по ГОСТ Р 50775 и настоящему стандарту.

4.8.2 Класс извещателей по способу защиты человека от поражения электрическим током должен соответствовать ГОСТ 12.2.007.0 и быть установлен в технических условиях на извещатели конкретных типов.

4.8.3 Значение электрической прочности изоляции извещателей должно соответствовать ГОСТ 12997 и быть установлено в технических условиях на извещатели конкретных типов.

4.8.4 Значение электрического сопротивления изоляции цепей извещателей должно соответствовать ГОСТ 12997 и быть установлено в технических условиях на извещатели конкретных типов.

4.9 Требования к конструкции

4.9.1 Извещатели должны состоять из чувствительного элемента (одного или нескольких микрофонов) и устройства обработки сигналов (процессора), расположенных в одном или разных корпусах.

(Измененная редакция, Изм. № 1).

4.9.2 Защита соединительных линий

При размещении чувствительного элемента в отдельном корпусе извещателей электрические линии, соединяющие чувствительный элемент с процессором, следует рассматривать как часть извещателей. При нарушении этих линий (обрыве, коротком замыкании), препятствующем прохождению сигнала, процессор должен обеспечивать выдачу извещения о тревоге не позднее чем через 10 с после возникновения указанных нарушений.

(Измененная редакция, Изм. № 1).

4.9.3 Конструкцией извещателей может быть предусмотрен регулятор (регуляторы) чувствительности (дальности действия).

4.9.4 Конструкцией извещателей могут быть предусмотрены индикатор извещения о тревоге и вспомогательные индикаторы в соответствии с числом рабочих частот извещателей.

4.9.5 Защита от вскрытия

Конструкцией извещателей может быть предусмотрено встроенное устройство, обеспечивающее формирование извещения о тревоге при попытке несанкционированного доступа к органам управления извещателей, клеммам подключения внешних электрических цепей и элементам фиксации.

4.9.6 Конструкция извещателей должна обеспечивать степень защиты оболочки корпуса по ГОСТ 14254, выбираемую из ряда: IP30, IP33, IP34, IP40, IP41, IP44.

4.9.7 Конструкция извещателей должна обеспечивать их надежное закрепление при установке для эксплуатации.

4.9.8 Интерфейс

Извещатели должны иметь на выходе электронный ключ, открытый в нормальном состоянии и закрытый в состоянии тревоги, или контакты реле, замкнутые в нормальном состоянии и размыкающиеся в состоянии тревоги. В обоснованных случаях параметры интерфейса могут отличаться от указанных и должны быть установлены в технических условиях на извещатели конкретных типов.

Для извещателей с электропитанием от шлейфа сигнализации приемно-контрольных приборов параметры интерфейса должны быть установлены в технических условиях на извещатели конкретных типов.

(Измененная редакция, Изм. № 1).

4.10 Требования к надежности

Средняя наработка на отказ извещателей в нормальном состоянии - не менее 60000 ч.

Для неремонтируемых извещателей средняя наработка до отказа извещателя в нормальном состоянии - не менее 100000 ч.

В обоснованных случаях для неремонтируемых извещателей допускается устанавливать среднюю наработку до отказа в нормальном состоянии не менее 60000 ч.

(Измененная редакция, Изм. № 1).

4.11 Требования к документации, прилагаемой к извещателям

Требования к документации, прилагаемой к извещателям, - по ГОСТ Р 50775 и настоящему стандарту.

В документации на извещатели должны быть указаны следующие дополнительные данные:

- диапазон толщин контролируемого стеклянного листа в соответствии с ГОСТ 111;

- минимальные размеры (площадь) контролируемого стеклянного листа;

- марка контролируемого стеклянного листа в соответствии с ГОСТ 111;

- виды контролируемых остекленных конструкций и особенности закрепления в них стекол (при их наличии).

4.12 Требования к маркировке - по 6.1.2 ГОСТ Р 50775 и техническим условиям на извещатели конкретных типов.

Требования к упаковке, хранению и комплектности извещателей должны быть установлены в технических условиях на извещатели конкретных типов.

5 Методы испытаний

5.1 Условия и средства испытаний

5.1.1 Нормальные условия

Все испытания, если их условия не установлены для отдельных методов испытаний, проводят в нормальных климатических условиях по ГОСТ 28198.

Примечание - Если до начала испытаний извещатели находились в климатических условиях, отличных от нормальных, то перед испытаниями их следует выдержать в нормальных климатических условиях не менее 4 ч, если иное время не установлено в технических условиях на извещатели конкретных типов.

5.1.2 При испытаниях извещателей уровень шума в помещении не должен быть более 55 дБ в диапазоне частот 31,5-16000 Гц.

Примечание - Допускается проводить измерения с использованием полосовых октавных фильтров по ГОСТ 17187. При этом уровень шума в каждой полосе из вышеуказанного диапазона частот не должен быть более 55 дБ.

(Измененная редакция, Изм. № 1).

5.1.3 Перед испытаниями и во время испытаний по 4.2.3, 4.2.4, 4.2.5, 4.2.8 (после неразрушающих воздействий на стеклянный лист) необходимо проводить, по меньшей мере, визуальный контроль целостности стеклянного листа (отсутствие видимых трещин, сколов и т.п.).

5.1.4 Измерительные приборы и вспомогательные устройства, используемые при проведении испытаний извещателей, должны соответствовать требованиям приложения А.

Примечание - Требования к испытательному оборудованию и средствам измерений, не приведенным в приложении А, должны быть установлены в технических условиях на извещатели конкретных типов.

5.2 Функциональные испытания

5.2.1 Испытания проводят в соответствии со структурной схемой, представленной на рисунке 1, в специальных акустических камерах на рабочих частотах, установленных в технических условиях на извещатели конкретных типов. В процессе испытаний с помощью источника звукового сигнала в месте расположения чувствительного элемента извещателя формируют тестовый сигнал со значениями параметров, установленными в технических условиях на извещатели конкретных типов.

Для извещателей с регулятором чувствительности испытание данного параметра следует осуществлять для двух крайних значений, устанавливаемых регулятором.

Извещатели должны формировать извещение о тревоге при включении тестового сигнала с числом воздействий согласно таблице 1. Допускаемое число пропусков извещений о тревоге должно соответствовать указанному в таблице 1.

Таблица 1

Число извещателей

Число воздействий тестового сигнала 1)

Допускаемое число пропусков извещений о тревоге

1

16

0

2

8

0

4

4

0

8

2

0

13

2

1

16

1

0

26

1

1

52

1

2

1) При испытаниях по 5.2.2 и 5.2.3 - число испытуемых стеклянных листов.

Рисунок 1 - Структурная схема установки для испытаний рабочей частоты, чувствительности и помехозащищенности извещателя при звуковой помехе

Примечание - Рабочий центр излучения излучателя 5 должен быть на расстоянии от отражающей поверхности не менее чем 1,5 м, от извещателя 4 - от 0,1 до 0,25 м. Расстояние от извещателя 4 до измерительного микрофона 1 устанавливают от 0,001 до 0,005 м.

(Измененная редакция, Изм. № 1).

5.2.2 Испытание дальности действия извещателей по 4.2.3

Испытания извещателей следует проводить в помещении, размеры которого позволяют измерять максимальную дальность действия, но не менее 6×5×3 м.

Испытания проводят с разрушением стеклянного листа.

Между извещателями и стеклянным листом не должно быть предметов, препятствующих распространению звуковых колебаний.

Марка, класс защиты, толщина и размеры сторон стеклянного листа должны соответствовать установленным в технических условиях на извещатели конкретных типов.

Примечание - Если в технических условиях на извещатели конкретных типов установлено два вида стекла, соответствующих разным стандартам, указанным в разделе 1, то испытания этих извещателей следует проводить отдельно для каждого вида стекла

На рисунке 2 показан пример схемы закрепления стеклянного листа толщиной (6±1) мм, размерами сторон (1000±50) мм. Показанные на рисунке монтажные уголки прокладывают резиновыми прокладками шириной (10±3)мм, толщиной (4±1) мм, твердостью (50±10) международных единиц IRHD по ГОСТ 20403. Боковые поверхности стеклянного листа должны быть прочно зафиксированы в раме и не соприкасаться с ней.

Перед испытаниями производят установку дальности действия с помощью регулятора чувствительности и вспомогательных тестовых устройств (если это требуется в соответствии с техническими условиями на извещатели конкретных типов).

В процессе испытаний выходные цепи извещателя должны быть соединены с прибором - регистратором извещений.

В процессе испытаний наносят разрушающий удар стальным шаром по центру стеклянного листа (рисунок 3). Для этого стальной шар массой (2±0,1) кг, подвешенный на нити длиной () мм, следует отклонить по вертикали на угол (90-5)° без провисания нити в плоскости, перпендикулярной к плоскости стекла, и отпустить. После разрушения стеклянного листа прибор-регистратор должен зафиксировать формирование извещателями извещения о тревоге по 4.2.8.

Примечание - Если после удара стальным шаром отсутствует разрушение стеклянного листа с выпадением осколков (при образовании только трещин) и отсутствует формирование извещателями извещения о тревоге, то допускается наносить дополнительные удары стальным шаром в другие участки того же стеклянного листа. При этом площадь разрушаемого фрагмента стеклянного листа должна быть равна или больше минимальной охраняемой площади поверхности стеклянного листа, контролируемого извещателями.

(Измененная редакция, Изм. № 1).

5.2.3 Испытание извещателей на вероятность обнаружения разрушения стеклянного листа по 4.2.4

Испытания проводят по методике 5.2.2 при числе извещателей, установленном в таблице 1.

Допускается проводить испытание при разрушающих воздействиях на одном или поочередно на нескольких стеклянных листах в соответствии с таблицей 1. Допускаемое число пропусков извещений о тревоге должно соответствовать указанному в таблице 1.

Допускается проводить испытание при неразрушающих воздействиях поочередно на одном или нескольких стеклянных листах в соответствии с таблицей 1. Допускаемое число пропусков извещений о тревоге должно соответствовать установленному в таблице 1.

Рисунок 2 - Схема закрепления стеклянного листа площадью 1 м2

Рисунок 3 - Схема испытаний дальности действия и помехозащищенности извещателей при механическом ударе по стеклу

(Измененная редакция, Изм. № 1).

5.2.4 Испытания извещателей на помехозащищенность при механическом ударе по стеклянному листу по 4.2.5

Условия проведения испытаний - в соответствии с 5.2.2, при этом извещатели с регулятором чувствительности перед испытаниями должны быть отрегулированы на максимальную чувствительность.

По стеклянному листу наносят неразрушающие удары резиновым шаром (рисунок 3) массой (0,39±0,01) кг, твердостью (60±5) международных единиц IRHD по ГОСТ 20403 и энергией удара (1,9±0,1) Дж. Для этого резиновый шар, подвешенный на нити длиной (0,50±0,01) м, следует отклонить по вертикали на угол (90-5)° без провисания нити в плоскости, перпендикулярной к плоскости стекла, и отпустить. В процессе испытаний наносят 10 ударов с интервалом между каждым ударом не менее 5 с. При этом извещатели не должны формировать извещение о тревоге.

5.2.5 Испытание извещателей на помехозащищенность при звуковой помехе по 4.2.6 Испытания извещателей проводят в соответствии со структурной схемой, представленной на рисунке 1.

Перед испытаниями извещатели с регулятором чувствительности должны быть отрегулированы на максимальную чувствительность.

В процессе испытаний извещатели не должны формировать извещение о тревоге.

5.2.5.1 При испытаниях извещателей на устойчивость к воздействию звуковой помехи по 4.2.6.1 формируют импульсный звуковой сигнал с несущей частотой, соответствующей рабочей частоте извещателей, длительностью (3±1) с, с огибающей прямоугольной формы, который создает в месте расположения чувствительного элемента извещателей уровень звукового давления (65±1) дБ.

При испытании извещателей, имеющих не менее двух рабочих частот, формируют импульсный звуковой сигнал дискретного спектра с указанными параметрами.

5.2.5.2 При испытаниях извещателей на устойчивость к воздействию звуковой помехи по 4.2.6.2 формируют звуковой сигнал со спектральной характеристикой белого шума длительностью (3±1) с, который создает в месте расположения чувствительного элемента извещателей уровень звукового давления (65±1) дБ.

5.2.6 Испытание готовности извещателей к работе по 4.2.7

Методика проведения испытания должна быть установлена в технических условиях на извещатели конкретных типов.

5.2.7 Испытание извещателей на формирование извещения о тревоге по 4.2.8

Проверку длительности извещения о тревоге для извещателей с восстановлением их нормального состояния проводят при разрушении стеклянного листа по 5.2.2. Испытание проводят путем контроля интерфейса - измерением с помощью секундомера временного интервала между моментами перехода извещателя в состояние тревоги и возвращения его в нормальное состояние.

5.2.8 Испытание времени восстановления нормального состояния извещателей по 4.2.9 Метод испытания устанавливают в технических условиях на извещатели конкретных типов.

Допускается совмещать данное испытание с проведением испытаний чувствительности извещателей.

(Измененная редакция, Изм. № 1).

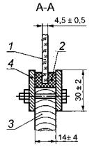
5.2.9 Испытание минимальной охраняемой извещателем площади стеклянного листа по 4.2.10

Испытание извещателей проводят по методике 5.2.3, используя стеклянный лист толщиной (4,5±0,5) мм и размерами сторон (314±2) мм.

На рисунке 4 показан пример закрепления стеклянного листа минимальной площади в сопрягающую конструкцию, которая устанавливается в станину, показанную на рисунке 2».

1 - стеклянный лист; 2 - резиновая прокладка; 3 - древесно-стружечная плита или фанера площадью 1 м2; 4 - монтажные рамы

Рисунок 4 - Схема закрепления стекла минимальной площади в сопрягающую конструкцию

(Введен дополнительно, Изм. № 1).

5.3 Испытания на влияние изменения напряжения электропитания извещателей

5.3.1 Испытания извещателей на соответствие требованиям 4.3.2-4.3.4

Устанавливают номинальное значение напряжения электропитания извещателей и определяют их чувствительность в соответствии с 5.2.1.

Значение чувствительности извещателей должно соответствовать требованиям 4.2.2.

Устанавливают значение напряжений электропитания извещателей на (15±2) % ниже его номинального значения и определяют чувствительность извещателей в соответствии с 5.2.1. Аналогично проводят испытание при повышении значения напряжения электропитания извещателей на (25±2) % относительно его номинального значения.

Значение чувствительности извещателей не должно выходить за пределы, установленные в технических условиях на извещатели конкретных типов.

5.3.2 При испытании извещателей на соответствие требованиям 4.3.5 значение напряжения электропитания снижают до установленного в технических условиях на извещатели конкретных типов. При этом извещатели должны формировать извещение о тревоге или неисправности.

Допускается совмещать данное испытание с испытаниями извещателей на воздействие пониженного напряжения электропитания по 4.3.2.

5.4 Испытания извещателей на устойчивость к воздействию внешних факторов

5.4.1 Условия проведения испытаний

Испытания извещателей на устойчивость к воздействию внешних факторов проводят в климатической камере на включенных извещателях и, если это специально не установлено в методике испытаний, - на извещателях, отрегулированных на максимальную чувствительность. В ходе испытаний регулирование чувствительности извещателя не проводят.

Проверка чувствительности извещателей должна быть проведена до и после воздействия на них внешнего фактора в соответствии с 5.2.1.

5.4.2 Испытание извещателей на устойчивость к воздействию сухого тепла (повышенной рабочей температуры среды) по 4.4.1

Испытания проводят в соответствии с ГОСТ 28200 (испытание Bd), ГОСТ 28236 и настоящим стандартом.

Извещатели помещают в климатическую камеру, температуру в которой повышают до 40°С со скоростью (1-0,5)° С/мин. Извещатели выдерживают при этой температуре с погрешностью +3°С в течение 2 ч, затем извлекают из камеры и не позднее чем через 5 мин проводят измерение чувствительности в соответствии с 5.2.1.

Значение чувствительности извещателей должно соответствовать требованиям 4.2.2.

5.4.3 Испытание извещателей на устойчивость к воздействию холода (пониженной рабочей температуры среды) по 4.4.2

Испытания проводят в соответствии с ГОСТ 28199 (испытание Ad), ГОСТ 28236 и настоящим стандартом.

Извещатели помещают в климатическую камеру, температуру в которой понижают до 5°С со скоростью (1-0,5)° С/мин. Извещатели выдерживают при этой температуре с погрешностью ±3°С в течение 2 ч, затем извлекают из камеры и не позднее чем через 5 мин проводят измерение чувствительности в соответствии с 5.2.1.

Значение чувствительности извещателей должно соответствовать требованиям 4.2.2.

5.4.4 Испытание извещателей на устойчивость к воздействию повышенной влажности воздуха по 4.4.3

Извещатели помещают в климатическую камеру, температуру в которой повышают со скоростью (1-0,5)° С/мин до температуры, установленной в технических условиях на извещатели конкретных типов. Извещатели выдерживают при этой температуре с погрешностью ±3°С в течение 2 ч. Влажность воздуха повышают со скоростью 0,5 %/мин до значения, установленного в технических условиях на извещатели конкретных типов, и поддерживают ее с погрешностью ±3 %. Извещатели выдерживают в этих условиях в течение 48 ч, затем извлекают из климатической камеры и не позднее чем через 5 мин проводят измерение чувствительности в соответствии с 5.2.1.

Значение чувствительности извещателей должно соответствовать требованиям 4.2.2.

5.4.5 Испытание извещателей на устойчивость к воздействию синусоидальной вибрации по 4.4.4 Испытания проводят в соответствии с ГОСТ 28203 и настоящим стандартом. Извещатели закрепляют на вибростенде последовательно в трех взаимно перпендикулярных положениях. Устанавливают частоту вибрации 10 Гц при ускорении 0,981 м/с2. Изменяя частоту вибрации со скоростью не более 1,5 Гц/мин, в в течение 30 мин* проводят испытание извещателей в каждом из трех взаимно перпендикулярных положений. Затем извещатели снимают с вибростенда и проводят визуальный осмотр и измерение чувствительности в соответствии с 5.2.1.

После испытаний извещатели не должны иметь видимых повреждений, а их чувствительность должна соответствовать требованиям 4.2.2.

Значения контролируемых параметров извещателей и допустимые отклонения от них до и после испытания должны быть установлены в технических условиях на извещатели конкретных типов.

* Время испытаний указано для каждого направления вибрации

(Измененная редакция, Изм. № 1).

5.4.6 Испытание извещателей на устойчивость к воздействию механического удара по 4.4.5 Извещатели устанавливают на твердое основание и закрепляют с помощью обычно используемых для этого элементов крепления. Включают электропитание извещателей и по их корпусу наносят удары молотком, изготовленным из алюминиевого сплава марки Д1 по ГОСТ 4784 с энергией (1,9±0,1) Дж и со скоростью (1,5±0,125) м/с по одному в каждом из двух выбранных направлений, параллельных поверхности крепления извещателей при их установке для эксплуатации.

Точки приложения ударов должны быть установлены в технических условиях на извещатели конкретных типов.

После испытаний извещатели не должны иметь видимых повреждений, а их чувствительность должна соответствовать требованиям 4.2.2.

Значения контролируемых параметров извещателей и допустимое отклонение от них до и после испытания должны быть установлены в технических условиях на извещатели конкретных типов.

5.5 Испытания извещателей на воздействие условий транспортирования по 4.5

5.5.1 Испытание извещателей на воздействие транспортной тряски по 4.5 (перечисление а) Извещатели в транспортной упаковке закрепляют в соответствии с манипуляционными знаками на вибростенде. Испытания проводят при следующих значениях параметров:

- число ударов в минуту от 10 до 120;

- максимальное ускорение 30 м/с2;

- продолжительность воздействия 2 ч

или 15000 ударов с максимальным ускорением 30 м/с2.

После испытания проводят визуальный осмотр и определяют чувствительность извещателей. Извещатели не должны иметь видимых признаков повреждения, а их чувствительность должна соответствовать требованиям 4.2.2.

5.5.2 Испытание извещателей на воздействие пониженной температуры среды при транспортировании по 4.5 (перечисление б)

Извещатели в транспортной упаковке помещают в климатическую камеру, температуру в которой понижают до минус 50°С. Указанную температуру в климатической камере поддерживают с погрешностью ±3°С в течение 6 ч. Затем температуру в климатической камере повышают до (20±5)°С и выдерживают извещатели в этих условиях в течение 2 ч. По истечении указанного времени извещатели извлекают из климатической камеры, распаковывают и выдерживают в нормальных условиях в течение 6 ч.

После испытания проводят визуальный осмотр и определяют чувствительность извещателей.

Извещатели не должны иметь видимых признаков повреждения, а их чувствительность должна соответствовать требованиям 4.2.2.

5.5.3 Испытание извещателей на воздействие повышенной температуры среды при транспортировании по 4.5 (перечисление б)

Извещатели в транспортной упаковке помещают в климатическую камеру, температуру в которой повышают до 50°С и поддерживают ее с погрешностью ±3°С в течение 6 ч. По истечении указанного времени извещатели извлекают из климатической камеры, распаковывают и выдерживают в нормальных условиях в течение 6 ч.

После испытания проводят визуальный осмотр и определяют чувствительность извещателей.

Извещатели не должны иметь видимых признаков повреждения, а их чувствительность должна соответствовать требованиям 4.2.2.

5.5.4 Испытание извещателей на воздействие повышенной влажности воздуха при транспортировании по 4.5 (перечисление в)

Извещатели в транспортной упаковке помещают в климатическую камеру, в которой устанавливают относительную влажность воздуха (95±3) % при температуре (35±3)°С. Извещатели выдерживают в этих условиях в течение 48 ч. По истечении указанного времени извещатели извлекают из климатической камеры, распаковывают и выдерживают в нормальных условиях в течение 6 ч.

После испытания проводят визуальный осмотр и определяют чувствительность извещателей.

Извещатели не должны иметь видимых признаков повреждения, а их чувствительность должна соответствовать требованиям 4.2.2.

5.6 Испытания на электромагнитную совместимость

(Измененная редакция, Изм. № 1).

5.6.1 Испытания устойчивости извещателей к воздействию электромагнитных помех по 4.6

Методы испытаний устанавливают в технических условиях на извещатели конкретных типов в соответствии с установленными степенями жесткости по ГОСТ Р 50009.

(Измененная редакция, Изм. № 1).

5.6.2 Испытания на соответствие нормам индустриальных радиопомех, создаваемых извещателем, по 4.7.

Испытания проводят по ГОСТ Р 50009

(Измененная редакция, Изм. № 1).

5.6.3 (Исключен, Изм. № 1).

5.6.4 (Исключен, Изм. № 1).

5.6.5(Исключен, Изм. № 1).

5.6.6 (Исключен, Изм. № 1).

5.6.7 (Исключен, Изм. № 1).

5.7 Испытания извещателей на безопасность по 4.8

5.7.1 Испытания извещателей на электробезопасность по 4.8.1 проводят в соответствии с СНиП 12-03-99, ГОСТ 12.1.030, 12.1.038, ГОСТ Р МЭК 60065, ГОСТ Р 52161.1 и техническими условиями на извещатели конкретных типов.

Испытания извещателей на пожарную безопасность по 4.8.1 проводят в соответствии с ГОСТ 12.1.004, ГОСТ Р МЭК 60065-2002, ГОСТ 27484 и ГОСТ 27924.

(Измененная редакция, Изм. № 1).

5.7.2 Проверку извещателей по способу защиты человека от поражения электрическим током по 4.8.2 проводят в соответствии с ГОСТ Р 52161.1.

(Измененная редакция, Изм. № 1).

5.7.3 Испытания электрической прочности и сопротивления изоляции извещателей по 4.8.3 и 4.8.4 следует проводить в соответствии с ГОСТ 12997.

Извещатели считают выдержавшими испытание электрической прочности изоляции, если в течение 1 мин после приложения напряжения не произошло пробоя или перекрытия изоляции.

Извещатели считают выдержавшими испытание на сопротивление изоляции, если измеренное значение их сопротивления изоляции равно установленному в технических условиях на извещатели конкретных типов или превышает его.

Примечание - Электрические цепи, подлежащие испытаниям, точки приложения испытательного напряжения и подключения средств измерений сопротивления изоляции устанавливают в технических условиях на извещатели конкретных типов.

5.8 Проверка требований к конструкции извещателей по 4.9

5.8.1 Проверку требований к конструкции извещателей по 4.9.1, 4.9.3, 4.9.4, 4.9.7 проводят визуально.

5.8.2 Испытание защиты соединительных линий извещателей по 4.9.2

Метод испытания устанавливают в технических условиях на извещатели конкретных типов.

5.8.3 Испытание защиты от вскрытия извещателей по 4.9.5

При наличии средств, обеспечивающих защиту извещателей от вскрытия, их корпус вскрывают с помощью обычно используемых для этих целей инструментов таким образом, чтобы получить доступ к органам управления извещателей, клеммам подключения внешних электрических цепей и элементам закрепления при установке извещателей при эксплуатации.

Средства, обеспечивающие защиту извещателей от вскрытия, должны сформировать извещение о тревоге прежде, чем указанные органы управления, клеммы и элементы станут доступными.

Испытания следует повторить, используя нож или отвертку, пытаясь не затронуть средства защиты от вскрытия и не повредить извещатели.

5.8.4 Проверка требований к оболочке извещателей по 4.9.6

Проверку степени защиты оболочки извещателей проводят в соответствии с ГОСТ 14254.

5.8.5 Методику контроля параметров интерфейса по 4.9.8 устанавливают в технических условиях на извещатели конкретных типов.

5.9 Испытания извещателей на надежность по 4.10

Методику определения значения средней наработки на отказ устанавливают в соответствии с ГОСТ 27.301 и ГОСТ 27.410 в технических условиях на извещатели конкретных типов.

5.10 Проверку требований к технической документации по 4.11 и к маркировке по 4.12 проводят по 6.1.2 ГОСТ Р 50775.

Проверку требований к упаковке и комплектности извещателей по 4.12 проводят визуальным осмотром и сличением с чертежами.

5.11 Методику проверки требований к хранению по 4.12 устанавливают в технических условиях на извещатели конкретных типов.

ПРИЛОЖЕНИЕ А
(обязательное)

Средства испытаний

А.1 Генератор дискретного спектра (ГДС)

ГДС должен соответствовать требованиям ГОСТ 16122.

Примечание - ГДС используют в качестве источника сигнала (по рисунку 1) при испытаниях чувствительности, рабочей частоты и помехозащищенности извещателей при звуковой помехе, а также контроле чувствительности при проведении других испытаний.

А.2 Генератор шумовых сигналов низкочастотный (ГШН)

ГШН должен соответствовать требованиям ГОСТ 16122 в части, касающейся белого шума.

Примечание - ГШН используют в качестве источника сигнала (по рисунку 1) при проведении испытаний по 5.2.5.2.

А.3 Усилитель мощности (УМ)

Неравномерность амплитудно-частотной характеристики УМ - не более 1,0 дБ.

УМ должен обеспечивать напряжение на излучателе, превышающее требуемое не менее чем на:

0,5 дБ - при синусоидальном сигнале,

10 дБ - при широкополосном (шумовом) сигнале.

При этом коэффициент гармонических искажений не должен превышать 2 %.

Требования к модулю полного выходного сопротивления и уровню собственного шума на выходе УМ - по ГОСТ 16122.

УМ должен быть снабжен защитой от появления на его выходе постоянной составляющей сигнала и низкочастотных переходных процессов.

Примечание - В качестве УМ может быть использован выходной усилитель источника сигнала (ГДС, ГШН) при условии выполнения вышеперечисленных требований.

A.4 Излучатель (для создания звукового давления)

Излучатель должен иметь одно излучающее отверстие. Характеристики излучателя должны быть обеспечены для расстояния 1), при котором проводят испытания извещателей. Частотная характеристика - не хуже группы сложности 0 по ГОСТ 23262. Коэффициент гармонических искажений при требуемом для испытаний уровне звукового давления - не более 10 %.

Примечание - При испытаниях извещателей допускается использовать излучатель, имеющий несколько излучающих отверстий.

А.5 Измерительный микрофон

Измерительный микрофон, являющийся приемником звукового давления, должен соответствовать требованиям ГОСТ 16123.

А.6 Шумомер

Шумомер должен быть не ниже 2-го класса по ГОСТ 17187.

А.7 Секундомер

Цена деления секундомера - не более 0,2 с, предел измерения - не менее 60 с, погрешность измерения - не более 0,02 с на каждую секунду.

1) Расстояние измеряют от рабочего центра излучателя до места расположения чувствительного элемента извещателя.

Ключевые слова: охранная сигнализация, системы охранной сигнализации, охранный извещатель, пассивный звуковой извещатель, блокировка остекленных конструкций, общие технические требования, методы испытаний, термины, закрытые помещения

(Измененная редакция, Изм. № 1).

 




ГОСТЫ, СТРОИТЕЛЬНЫЕ и ТЕХНИЧЕСКИЕ НОРМАТИВЫ.
Некоммерческая онлайн система, содержащая все Российские Госты, национальные Стандарты и нормативы.
В Системе содержится более 150000 файлов нормативно-технической документации, действующей на территории РФ.
Система предназначена для широкого круга инженерно-технических специалистов.

Рейтинг@Mail.ru Яндекс цитирования

Copyright © www.gostrf.com, 2008 - 2026